工程力学 单辉祖 第12章 习题
- 格式:ppt
- 大小:951.00 KB
- 文档页数:13
工程力学课后习题答案单辉祖著工程力学课后习题答案(单辉祖著)在学习工程力学这门课程时,课后习题的练习与答案的参考对于巩固知识、加深理解起着至关重要的作用。
单辉祖所著的《工程力学》一书,以其严谨的逻辑和丰富的内容,成为众多学子学习工程力学的重要教材。
下面,我们将为您详细呈现这本教材的课后习题答案。
首先,让我们来谈谈第一章的习题。
在这部分中,主要涉及到静力学的基本概念和受力分析。
例如,有一道题是关于一个简单的支架结构,要求画出其受力图。
对于这道题,我们需要明确各个构件之间的连接方式,判断是固定铰支座、活动铰支座还是其他约束类型,然后根据力的平衡条件,准确地画出每个构件所受到的力。
答案中,我们清晰地标注了各个力的大小、方向和作用点,并且通过合理的布局,使受力图易于理解。
第二章的习题重点围绕平面汇交力系和平面力偶系展开。
其中,有一道计算题要求计算多个力在某一点的合力。
在解答这道题时,我们首先将每个力分解为水平和垂直方向的分力,然后分别计算水平和垂直方向上的合力,最后通过勾股定理求出总的合力大小和方向。
答案的给出过程中,每一步的计算都有详细的说明,让学习者能够清晰地看到解题的思路和方法。
第三章的内容是平面任意力系。
这一章的习题难度有所增加,涉及到力系的简化、平衡方程的应用等。
比如,有一道题是求解一个复杂结构在给定载荷下的支座反力。
解题时,我们先对力系进行简化,找到主矢和主矩,然后根据平衡方程列出方程组,通过求解方程组得到支座反力的大小和方向。
答案中不仅给出了最终的结果,还展示了求解方程组的具体步骤和计算过程,方便学习者对照检查自己的解题过程。
第四章是空间力系。
这部分的习题对于空间想象力和数学运算能力有一定的要求。
例如,有一道题要求计算空间力在坐标轴上的投影以及对某点的矩。
在解答时,我们需要运用空间直角坐标系的知识,通过三角函数等方法求出投影的大小,再根据矩的定义计算出对某点的矩。
答案中会详细说明投影和矩的计算过程,并且配以适当的图示,帮助学习者更好地理解空间力系的概念。
2-2解:(1) 取节点C 为研究对象,画受力图,注意AC 、BC 都为二力杆,(2) 列平衡方程:12140 sin 600530 cos6005207 164 oy ACo x BC AC AC BC F F F F F F F F F N F N=⨯+-==⨯--=∴==∑∑ AC 与BC 两杆均受拉。
2-3解:(1) 取整体ABCD 为研究对象,受力分析如图,画封闭的力三角形:(2) 由力三角形得211 1.1222D A D D A F F FF F BC AB AC F F F F F =====∴===2-4解:(1) 研究AB ,受力分析并画受力图:(2) 画封闭的力三角形:xFDDF F AF DF deF相似关系:B A F F FCDE cde CD CE ED∆≈∆∴== 几何尺寸:11 22CE BD CD ED =====求出约束反力:12010 22010.4 245arctan 18.4B A o oCE F F kNCDED F F kN CDCECD α=⨯=⨯==⨯=⨯==-=2-6解:(1) 取DE 为研究对象,DE 为二力杆;F D = F E(2) 取ABC 为研究对象,受力分析并画受力图;画封闭的力三角形:'15166.7 23A D E F F F F N ===⨯= 2-7解:(1)取铰链B 为研究对象,AB 、BC 均为二力杆,画受力图和封闭力三角形;FFF BCF AB1BC F =(2) 取铰链C 为研究对象,BC 、CD 均为二力杆,画受力图和封闭力三角形;22cos302o CB F F F ==由前二式可得:121222120.61 1.634BC CB F F F F F F or F F ==∴===2-9 解:(1) 取整体为研究对象,受力分析,AB 、AB 、AD 均为二力杆,画受力图,得到一个空间汇交力系; (2) 列平衡方程:0 cos 45 cos 4500 cos 6000 sin 60sin 45sin 450o o x AC AB o yAD o o o zAD AC AB F F F F F F FF F F =⨯-⨯==-==--=∑∑∑解得:2 1.2 0.735 4AD AC AB AD F F kN F F F kN ===== AB 、AC 杆受拉,AD 杆受压。
习题12-3图 习题12-2图习题12-4图 第12章 杆类构件的静载强度设计12-1 关于弯曲问题中根据][max σσ≤进行强度计算时怎样判断危险点,有如下论述,试分析哪一种论述正确。
(A )画弯矩图确定M max 作用面。
(B )综合考虑弯矩的大小与截面形状;(C )综合考虑弯矩的大小、截面形状和尺寸以及材料性能; (D )综合考虑梁长、载荷、截面尺寸等。
正确答案是 C 。
12-2 悬臂梁受力如图所示,若截面可能有图示四种形式,中空部分的面积A 都相等,试分析哪一种形式截面梁的强度最高。
正确答案是 A 。
12-3 铸铁T 字形截面悬臂梁,受力如图所示,其中力F P 作用线沿铅垂方向。
若保证各种情况下都无扭转发生,即只产生弯曲,试判断图示四种放置方式中哪一种使梁有最高的强度。
正确答案是 B 。
12-4 图示四梁中q 、l 、W 、][σ均相同。
试判断下面关于其强度高低的结论中哪一个是正确的。
(A )强度:图a >图b >图c >图d ; (B )强度:图b >图d >图a >图c ; (C )强度:图d >图b >图a >图c ; (D )强度:图b >图a >图d >图c 。
正确答案是 B 。
解:2amax 81ql M =2bmax 401ql M =2cmax 21ql M = 2dmax 1007ql M =12-5 图示四梁中F P 、l 、W 、][σ均相同,不考虑轴力影响。
试判断关于它们强度高低的下述结论中哪一个是正确的。
(A )强度:图a =图b =图c =图d ; (B )强度:图a >图b >图d >图c ; (C )强度:图b >图a >图c >图d ; (D )强度:图b >图a >图d >图c 。
l q PF=3231ABM )(o M(a)习题12-5题习题12-6题32l M P /F 31(d-1)lM P /F 21AB(c-1)lM P /F 10351BA 10351 (b-1) l M P /F 41AB 41 (a-1) 正确答案是 B 。
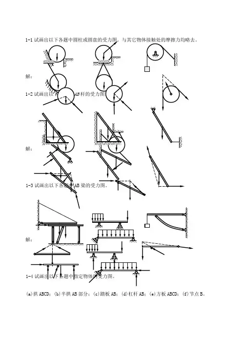
1-1试画出以下各题中圆柱或圆盘的受力图。
与其它物体接触处的摩擦力均略去。
解:1-2试画出以下各题中AB杆的受力图。
A(BF((W(AW(F(F(F(FW(AW(F(c)(a)解:1-3试画出以下各题中AB 梁的受力图。
解:(e)BB(a)B(b)(c)F B(a)(c)F (b)(d)(e)FWA1-4 试画出以下各题中指定物体的受力图。
(a) 拱ABCD ;(b) 半拱AB 部分;(c) 踏板AB ;(d) 杠杆AB ;(e) 方板ABCD ;(f) 节点B 。
解:(d)D(e)F Bx(a)(b)(c)(d)(e)W(f)(a)D(b)B(c)BF DF CBF ABF BC1-5 试画出以下各题中指定物体的受力图。
(a) 结点A,结点B;(b) 圆柱A和B及整体;(c) 半拱AB,半拱BC及整体;(d) 杠杆AB,切刀CEF及整体;(e) 秤杆AB,秤盘架BCD及整体。
解:(a)(b)(c)(c)(d)ATFBAF(b)D(e)(d)(e)2-2 杆AC 、BC 在C 处铰接,另一端均与墙面铰接,如图所示,F 1和F 2作用在销钉C 上,F 1=445N ,F 2=535N ,不计杆重,试求两杆所受的力。
解:(1) 取节点C 为研究对象,画受力图,注意AC 、BC 都为二力杆,(2) 列平衡方程:’CBF 1F12140 sin 600530 cos6005207 164 o y AC o x BC AC AC BC F F F F F F F F F N F N=⨯+-==⨯--=∴==∑∑ AC 与BC 两杆均受拉。
2-3 水平力F 作用在刚架的B 点,如图所示。
如不计刚架重量,试求支座A 和D 处的约束力。
解:(1) 取整体ABCD 为研究对象,受力分析如图,画封闭的力三角形:(2)211 1.1222D A D D A F F FF F BC AB AC F FF F F =====∴===2-4 在简支梁AB 的中点C 作用一个倾斜45o 的力F ,力的大小等于20KN ,如图所示。
2-2解:(1) 取节点C 为研究对象,画受力图,注意AC 、BC 都为二力杆,(2) 列平衡方程:12140 sin 600530 cos6005207 164 o y AC o x BC AC AC BC F F F F F F F F F N F N=⨯+-==⨯--=∴==∑∑ AC 与BC 两杆均受拉。
2-3解:(1) 取整体ABCD 为研究对象,受力分析如图,画封闭的力三角形:(2)211 1.1222D A D D A F F FF F BC AB AC F F F F F =====∴===2-4解:(1) 研究AB ,受力分析并画受力图:(2) 画封闭的力三角形:相似关系:B A F F FCDE cde CD CE ED∆≈∆∴==Q 几何尺寸:11 22CE BD CD ED =====求出约束反力:F FDF F AF DFF BF A dce12010 22010.4 45arctan 18.4B A o oCE F F kNCDED F F kN CDCECD α=⨯=⨯==⨯===-=2-6解:(1) 取DE 为研究对象,DE 为二力杆;F D = F E(2) 取ABC 为研究对象,受力分析并画受力图;画封闭的力三角形:'15166.7 23A D E F F F F N ===⨯= 2-7解:(1)取铰链B 为研究对象,AB 、BC 均为二力杆,画受力图和封闭力三角形;1BC F =(2) 取铰链C 为研究对象,BC 、CD 均为二力杆,画受力图和封闭力三角形;22cos302o CB F F F ==由前二式可得:121222120.61 1.63BC CB F F F F F or F F ==∴===2-9 解:(1) 取整体为研究对象,受力分析,AB 、AB 、AD 均为二力杆,画受力图,得到一个空间汇交力系;(2) 列平衡方程:F B D A F33F F BCBCF ABF 1CF CDF 2F CB F CD0 cos 45 cos 4500 cos 6000 sin 60sin 45sin 450o o x AC AB o yAD o o o zAD AC AB F F F F F F FF F F =⨯-⨯==-==--=∑∑∑解得:2 1.2 0.735 AD AC AB AD F F kN F F kN ===== AB 、AC 杆受拉,AD 杆受压。
工程力学课后习题答案单辉祖著工程力学是一门重要的基础学科,对于理解和解决工程中的力学问题具有关键作用。
单辉祖所著的《工程力学》教材涵盖了丰富的知识点和各类习题。
下面,我们将为您提供一份详细的课后习题答案。
在第一章静力学基础中,我们首先遇到的是力的基本概念和受力分析。
比如习题中要求画出某个物体的受力图,我们需要明确各个力的作用点、方向和大小。
对于常见的约束类型,如光滑接触面、铰链约束等,要准确判断其所提供的约束力的方向。
在第二章平面力系中,重点是合力与分力的计算以及力系的平衡问题。
例如,通过力的多边形法则或解析法来求解多个力的合力。
在处理力系平衡问题时,要正确列出平衡方程,根据已知条件求解未知量。
第三章空间力系的习题相对复杂一些。
涉及到空间力在坐标轴上的投影、空间力对轴之矩等知识点。
解题时需要建立合适的坐标系,将空间力分解为各个坐标轴方向的分量,然后进行计算。
第四章摩擦的习题主要围绕静摩擦力和动摩擦力的分析。
要注意静摩擦力的取值范围以及动摩擦力的计算公式。
通过具体的实例,判断物体是否达到滑动状态,从而正确计算摩擦力的大小和方向。
第五章点的运动学中,需要掌握点的位置、速度和加速度在直角坐标系和自然坐标系下的描述和计算。
通过给定的运动方程,求导得出速度和加速度的表达式。
第六章刚体的简单运动,重点是刚体的平动和定轴转动。
对于平动,刚体上各点的速度和加速度相同;对于定轴转动,要熟悉角速度、角加速度与线速度、线加速度之间的关系。
第七章点的合成运动是一个难点。
需要区分动点、动系和定系,运用速度合成定理和加速度合成定理求解问题。
在解题过程中,要正确画出速度平行四边形和加速度矢量图。
第八章刚体的平面运动,要掌握平面运动刚体的角速度和角加速度的计算,以及用基点法、瞬心法求平面图形上各点的速度和加速度。
第九章动力学普遍定理包括动量定理、动量矩定理和动能定理。
通过对物体的受力分析,结合运动学方程,运用这些定理求解动力学问题。
工程力学(静力学与材料力学)单祖辉 谢传峰合编课后习题答案1-1试画出以下各题中圆柱或圆盘的受力图。
与其它物体接触处的摩擦力均略去。
解:1-2 试画出以下各题中AB 杆的受力图。
(a)(b)c)(d)A(e) A(a)(b) A(c)A(d)A(e)工程力学 静力学与材料力学 (单辉祖 谢传锋 著) 高等教育出版社 课后答案 解:1-3 试画出以下各题中AB 梁的受力图。
(d)(e)BB(a)B(b)(c)F B(a)(c)F (b)解:1-4 试画出以下各题中指定物体的受力图。
(a) 拱ABCD ;(b) 半拱AB 部分;(c) 踏板AB ;(d) 杠杆AB ;(e) 方板ABCD ;(f) 节点B 。
解:(a)F (b)W(c)(d)D(e)F Bx(a)(b)(c)(d)D(e)W(f)DBF D1-5 试画出以下各题中指定物体的受力图。
(a) 结点A ,结点B ;(b) 圆柱A 和B 及整体;(c) 半拱AB ,半拱BC 及整体;(d) 杠杆AB ,切刀CEF 及整体;(e) 秤杆AB ,秤盘架BCD 及整体。
(d)FC(e)WB(f)F FBC(c)(d)(b)e)解:(a)(b)(c)(d)(e)ATF BAFCAA C’CDDC’B2-2 杆AC 、BC 在C 处铰接,另一端均与墙面铰接,如图所示,F 1和F 2作用在销钉C 上,F 1=445 N ,F 2=535 N ,不计杆重,试求两杆所受的力。
解:(1) 取节点C 为研究对象,画受力图,注意AC 、BC 都为二力杆,(2) 列平衡方程:12140 sin 600530 cos 6005207 164 o y AC o x BC AC AC BC F F F F F F F F F N F N=⨯+-==⨯--=∴==∑∑ AC 与BC 两杆均受拉。
2-3 水平力F 作用在刚架的B 点,如图所示。
如不计刚架重量,试求支座A 和D 处的约束力。
1-1(a)拱ABCD;(b)半拱AB部分;(c)踏板AB;(d)杠杆AB;(e)方板ABCD;(f)节点B。
1-5(a)A和AB,半拱BC及整体;(d)杠杆AB,切刀CEF及整体;(e)秤杆AB,秤盘架BCD及整体。
解:(b)2-2杆AC、BC在C处铰接,另一端均与墙面铰接,如图所示,F1和F2作用在销钉C上,F1=445N,F=535N,不计杆重,试求两杆所受的力。
2解:(1)取节点C AC、BC都为二力杆,(2)列平衡方程:AC与BC2-3水平力F作用在刚架的B点,如图所示。
如不计刚架重量,试求支座A和D处的约束力。
解:(1)(2)2-4在简支梁20KN,如图所示。
若梁的自重不计,试求两支座的约束力。
解:(1)研究AB(2)相似关系:几何尺寸:求出约束反力:2-6如图所示结构由两弯杆ABC和DE构成。
构件重量不计,图中的长度单位为cm。
已知F=200N,试求支座A和E的约束力。
解:(1)取DE(2)取ABC2-7在四连杆机构ABCD F2,机构在图示位置平衡。
试求平衡时力F1和F2解:(1)取铰链B为研究对象,AB、BC均为二力杆,画受力图和封闭力三角形;(2)取铰链C、CD由前二式可得:2-9三根不计重量的杆AB,AC,AD在A点用铰链连接,各杆与水平面的夹角分别为450,,450和600,如图所示。
试求在与O D平行的力F作用下,各杆所受的力。
已知F=0.6kN。
解:(1)(2)解得:AB、AC杆受拉,AD杆受压。
3-1已知梁AB上作用一力偶,力偶矩为M,梁长为l,梁重不计。
求在图a,b,c三种情况下,支座A和B的约束力解:(a)列平衡方程:(b)受力分析,画受力图;A、B处的约束力组成一个力偶;列平衡方程:(c)受力分析,画受力图;A、B处的约束力组成一个力偶;列平衡方程:3-2在题图所示结构中二曲杆自重不计,曲杆AB上作用有主动力偶,其力偶矩为M,试求A和C点处的约束力。
解:(1)取BC为研究对象,受力分析,BC为二力杆,画受力图;(2)取AB3-3M1=500Nm,M2=125Nm cm。
第一章 绪 论题号 页码1-3.....................................................................................................................................................1 1-5.. (1)(也可通过左侧题号书签直接查找题目与解)1-3 图示矩形截面杆,横截面上的正应力沿截面高度线性分布,截面顶边各点处的正应力均为max σ=100MPa ,底边各点处的正应力均为零。
试问杆件横截面上存在何种内力分量,并确定其大小。
图中之C 点为截面形心。
题1-3图解:由题图所示正应力分布可以看出,该杆横截面上存在轴力N F 和弯矩z M ,其大小分别为200kN N 10002m)0400m 100.0(Pa)10100(212156max N =×=××××==..A σFmkN 333m N 10333m)1000(N)10200(6161)32(33N N ⋅=⋅×=×××==−=...h F h h F M z1-5 板件变形如图中虚线所示。
试求棱边AB 与AD 的平均正应变以及A 点处直角BAD 的切应变。
第二章轴向拉压应力与材料的力学性能题号页码2-1 (1)2-3 (2)2-5 (2)2-7 (3)2-9 (4)2-10 (4)2-15 (5)2-16 (6)2-18 (7)2-21 (8)2-22 (9)(也可通过左侧题号书签直接查找题目与解)2-1试画图示各杆的轴力图。
题2-1图解:各杆的轴力图如图2-1所示。
图2-12-3 图示轴向受拉等截面杆,横截面面积A =500mm 2,载荷F =50kN 。
试求图示斜截面m -m 上的正应力与切应力,以及杆内的最大正应力与最大切应力。
第一章 绪论思 考 题1) 现代力学有哪些重要的特征?2) 力是物体间的相互作用。
按其是否直接接触如何分类?试举例说明。
3) 工程静力学的基本研究内容和主线是什么? 4) 试述工程力学研究问题的一般方法。
第二章刚体静力学基本概念与理论习题2-1 求图中作用在托架上的合力F R 。
2-2 已知F 1=7kN ,F 2=5kN, 求图中作用在耳环上的合力F R 。
2-3 求图中汇交力系的合力F R 。
习题2-1图12030200N F4560F 习题2-2图2-4 求图中力F 2的大小和其方向角α。
使 a )合力F R =1.5kN, 方向沿x 轴。
b)合力为零。
2-5二力作用如图,F 1=500N 。
为提起木桩,欲使垂直向上的合力为F R =750N ,且F 2力尽量小,试求力F 2的大小和α角。
2-6 画出图中各物体的受力图。
(b)x453=30N =20N=40N A x45600N 2=700N0N 习题2-3图 (a )F 1习题2-4图F 12习题2-5图(b)(a )2-7 画出图中各物体的受力图。
(c)(d)(e)(f) (g) 习题2-6图(a)ACD2-8 试计算图中各种情况下F 力对o 点之矩。
(b)(d)习题2-7图P(d)(c)(a ) CA2-9 求图中力系的合力F R 及其作用位置。
2-10 求图中作用在梁上的分布载荷的合力F R 及其作用位置。
习题2-8图习题2-9图( a )1F 3 ( b )F 3F 2( c)1F /m( d )F 32-11 图示悬臂梁AB 上作用着分布载荷,q 1=400N/m ,q 2=900N/m, 若欲使作用在梁上的合力为零,求尺寸a 、b的大小。
第三章 静力平衡问题习 题3-1 图示液压夹紧装置中,油缸活塞直径D=120mm ,压力p =6N/mm 2,若α=30︒, 求工件D 所受到的夹紧力F D 。
( b )q ( c )习题2-10图B习题2-11图3-2 图中为利用绳索拔桩的简易方法。
1-1试画出以下各题中圆柱或圆盘的受力图。
与其它物体接触处的摩擦力均略去。
解:1-2试画出以下各题中AB杆的受力图。
A(BF((W(AW(F(F(F(FW(AW(F(c)(a)解:1-3试画出以下各题中AB 梁的受力图。
解:(e)BB(a)B(b)(c)F B(a)(c)F (b)(d)(e)FWA1-4 试画出以下各题中指定物体的受力图。
(a) 拱ABCD ;(b) 半拱AB 部分;(c) 踏板AB ;(d) 杠杆AB ;(e) 方板ABCD ;(f) 节点B 。
解:(d)D(e)F Bx(a)(b)(c)(d)(e)W(f)(a)D(b)B(c)BF DF CBF ABF BC1-5 试画出以下各题中指定物体的受力图。
(a) 结点A,结点B;(b) 圆柱A和B及整体;(c) 半拱AB,半拱BC及整体;(d) 杠杆AB,切刀CEF及整体;(e) 秤杆AB,秤盘架BCD及整体。
解:(a)(b)(c)(c)(d)ATFBAF(b)D(e)(d)(e)2-2 杆AC 、BC 在C 处铰接,另一端均与墙面铰接,如图所示,F 1和F 2作用在销钉C 上,F 1=445N ,F 2=535N ,不计杆重,试求两杆所受的力。
解:(1) 取节点C 为研究对象,画受力图,注意AC 、BC 都为二力杆,(2) 列平衡方程:’CBF 1F12140 sin 600530 cos6005207 164 o y AC o x BC AC AC BC F F F F F F F F F N F N=⨯+-==⨯--=∴==∑∑ AC 与BC 两杆均受拉。
2-3 水平力F 作用在刚架的B 点,如图所示。
如不计刚架重量,试求支座A 和D 处的约束力。
解:(1) 取整体ABCD 为研究对象,受力分析如图,画封闭的力三角形:(2)211 1.1222D A D D A F F FF F BC AB AC F FF F F =====∴===2-4 在简支梁AB 的中点C 作用一个倾斜45o 的力F ,力的大小等于20KN ,如图所示。