集体土地上房屋征收流程图
- 格式:docx
- 大小:77.49 KB
- 文档页数:2
农村土地征收流程十个步骤涉及农村土地征收,拆迁方需要完成以下四个流程,否则将容易涉嫌程序违法违规;1、发布征地公告由县或市级国土资源局在被征收土地所在地的村范围内发布征地通告,告知被征土地的村集体经济组织和村民;征地范围、面积、补偿方式、补偿标准、安置途径以及征地用途等;通告后抢栽、抢种的农作物或者抢建的建筑物不列入补偿范围;律师提醒:该点要注意公告的发布主体,只有上述规定的机关单位才有权发布;在实际的拆迁中,后期因公告主体不合格而引起的诉讼也有很多现实案件,这是被征收拆迁人要尤为关注的点;2、征询村民意见,组织听证由县或市级国土资源局会同所在的乡镇政府,就征地通告的内容征询村集体经济组织和农民的意见,有不同意见的应记录在案,根据村委会或村民提出的意见分别处理并协调解决;对补偿标准、安置途径、补偿方式有异议的,应告知被征地相对人有权提出听证申请,并依法组织听证;国土资源局应将村民对征收土地的意见和听证的材料作为报批的必备材料归档上报;律师提醒:发表个人意见,要求听证是公民很重要的政治权利,尤其是在拆迁中,被征收拆迁人更应该着重行使权利;很多农民因为不知道或是不注重听证的权利,才让自己的房屋上利益糊里糊涂被侵占了;3、地籍调查和地上附着物登记由县或市级国土资源局会同被征收土地的所有权人、使用权人实地调查被征土地的四至边界、土地用途、土地面积,地上附着物种类、数量、规格等,并由国土资源局现场填制调查表一式三份,由国土资源局工作人员和所有权人、使用权人共同确认无误后签字;国土资源局应将所有权人、使用权人签字的材料作为报批的必备材料归档上报;律师提醒:这里就开始涉及到被征收拆迁农民要签字的地方了;对于土地及其地上符着物的登记是对后期确定拆迁补偿的一个重要参考,这个环节农民在签字的时候一定要慎重,一定要保证所登记造册的每一个字都与事实相符,切记不要出现“空白协议”的情况;4、拟订“一书四方案”组卷上报审批由县或市级国土资源局根据征询、听证、调查、登记情况,按照审批机关对报批材料的要求拟订“一书四方案”即:“建设用地说明书,农用地转用方案,补充耕地方案,征收土地方案,供应土地方案;”并组卷向有批准权的机关报批;5、征用土地公告征用土地的市、县人民政府应当在收到省或国务院征用土地批准文件之日起10个工作日内在被征地所在村进行征用土地公告;征用土地公告的内容:征地批准机关、批准文号、批准时间和批准用途;征用土地的所有权人、位置、地类和面积;征地补偿标准和农业人员安置途径;办理征地补偿登记的期限、地点;律师提醒:公告以及后面的相关方案,是拆迁行政机构实施拆迁行动的依据;也就是说拆迁行政单位的一切拆迁行为都要围绕着公告和方案展开;这也会是拆迁维权的重要依据,被拆迁的农民首先一定要对公告有专业和深入的理解,其次就是无论是公告还是方案,一定要留有备份最好能有原件,以备后期作证据使用;6、征地补偿安置方案公告县或市级国土资源局根据省或国务院征用土地批准文件批准的征用土地方案在征用土地公告之日起45日内以村为单位拟订征地补偿、安置方案并予以公告;征地补偿、安置方案公告内容:被征用土地的位置、地类、面积;地上附着物和青苗的种类、数量;需要安置的农业人口的数量;土地补偿费的标准、数额、支付对象和支付方式;安置补助费的标准、数额、支付对象和支付方式;地上附着物和青苗的补偿标准和支付方式;农业人员的具体安置途径;其他有关征地补偿、安置的具体措施;被征地农村集体经济组织、农村村民或者其他权利人对征地补偿、安置方案有不同意见的或者要求举行听证会的,应当在征地补偿、安置方案公告之日起10个工作日内向县或市级国土资源局提出;县或市级国土资源局应当研究被征地农村集体经济组织、农村村民或者其他权利人对征地补偿、安置方案的不同意见;对当事人要求听证的,应当举行听证会;确需修改征地补偿、安置方案的,应当依照有关法律、法规和批准的征用土地方案进行修改;律师提醒:这是关系到被拆迁人切实利益最重要的环节;该环节适用到被拆迁者个人身上,提醒被拆迁人一定要对自己的土地及地上附着物的实际价值有个整体的把握;再者,就是要积极行使自己的权利,听证会对于被拆迁人来说,在整个拆迁过程中都是很重要的一个维权措施;7、报批征地补偿安置方案县或市级国土资源局将公告后的土地补偿、安置方案,连同被征地农村集体经济组织、农村村民或者其他权利人的意见及采纳情况报市、县人民政府审批;8、批准征地补偿安置方案市、县政府将征求意见后的征地补偿安置方案批准批准后,并报省国土资源厅备案,并交由市、县国土资源行政主管部门组织实施;9、土地补偿登记被征地农村集体经济组织、农村村民或者其他权利人应当在征用土地公告规定的期限内持土地权属证书土地承包合同到指定地点办理征地补偿登记手续;被征地农村集体经济组织、农村村民或者其他权利人未如期办理征地补偿登记手续的,其补偿内容以市、县国土资源行政主管部门的调查结果为准;10、实施补偿安置方案和交付土地按规定支付征地补偿安置费,被征地单位和个人按期交付土地;责令交出土地决定,阻挠国家建设征用土地的,由县级以上国土资源部门责令交出土地,拒不交出土地的,申请人民法院强制执行;以上是农村集体土地的征收程序,希望对各被拆迁农民有帮助作用;杨再坤律师简介,男,1981年生人,资深律师,毕业于中国政法大学国际法学院,国际经济法硕士研究生,曾就职于大型央企中国核工业集团、金葵花资本、北京高达资产管理有限公司等高管,主管风控法务,具有丰富金融、法务、风控实务经验,后专职于律师事务所,先后任职于广大律师事务所、海科律师事务所等并担任高级合伙人, 2017年组建杨再坤律师团全国企业拆迁维权中心,并担任首席律师,团队成员主要来之北大、法大、人大等着名高校,成员履历涵盖公安、法院、检查院、政府法制办、大型金融集团高层等,全国范围先后办理数百大型法律案件,尤其在征地拆迁、房产、行政诉讼、集团民商事和金融疑难诉讼案件具有丰富经验,能够给客户提供一站式整套解决方案;团队成员具有深厚的法学功底和理论素养,先后编写多本实务书如行政案件操作规程、拆迁实务和案例评析、拆迁500问;。
征地程序及流程图(一)报批前程序一是征地告知。
《国务院关于深化改革严格土地管理的决定》(国发〔2004〕28号)规定:在征地依法报批前,要将拟征地的用途、位置、补偿标准、安置途径告知被征地农民。
国土资源部《关于完善征地补偿安置制度的指导意见》(国土资发〔2004〕238号)规定:在征地依法报批前,当地国土资源部门应将拟征地的用途、位置、补偿标准、安置途径等,以书面形式告知被征地农村集体经济组织和农户。
在告知后,凡被征地农村集体经济组织和农户在拟征土地上抢栽、抢种、抢建的地上附着物和青苗,征地时一律不予补偿。
二是现状调查及确认。
《国务院关于深化改革严格土地管理的决定》(国发〔2004〕28号)中规定:对拟征土地现状的调查结果须经被征地农村集体经济组织和农户确认;确有必要的,国土资源部门应当依照有关规定组织听证。
三是征询意见,组织征地听证。
国土资源部《关于完善征地补偿安置制度的指导意见》(国土资发〔2004〕238号)中规定:在征地依法报批前,当地国土资源部门应告知被征地农村集体经济组织和农户,对拟征土地的补偿标准、安置途径有申请听证的权利。
当事人申请听证的,应按照《国土资源听证规定》(国土资源部令第22号)规定的程序和有关要求组织听证。
四是征地材料的组织、审核及上报。
市县国土资源行政主管部门根据征地情况调查结果和市县人民政府拟定的征地补偿标准、安置方案,以及建设项目的相关材料,依法拟定农用地转用方案、补充耕地方案、征收土地方案和供地方案,编制建设用地呈报说明书(简称:一书四方案),经过县级人民政府初步审核同意后,由县级人民政府正式行文报批。
(二)征地的审核和报批市县人民政府上报的征地材料,由省(自治区、直辖市)国土资源部门受理,并进行审核。
凡是征地材料齐全、征地程序合法、征地补偿标准符合法律规定、安置方案已经确认,市县人民政府已经出具说明材料的,报请省级人民政府审批。
须报国务院批准的,由省(自治区、直辖市)人民政府审查后报请国务院批准。
土地征收程序第一步:发布征地通告由县或市级国土资源局在被征收土地所在地的村范围内发布征地通告,告知被征土地的村集体经济组织和村民:征地范围、面积、补偿方式、补偿标准、安置途径以及征地用途等。
通告后抢栽、抢种的农作物或者抢建的建筑物不列入补偿范围。
第二步:征询村民意见由县或市级国土资源局会同所在的乡镇政府,就征地通告的内容征询村集体经济组织和农民的意见,有不同意见的应记录在案,根据村委会或村民提出的意见分别处理并协调解决。
对补偿标准、安置途径、补偿方式有异议的,应告知被征地相对人有权提出听证申请,并依法组织听证。
国土资源局应将村民对征收土地的意见和听证的材料作为报批的必备材料归档上报。
第三步:地籍调查和地上附着物登记由县或市级国土资源局会同被征收土地的所有权人、使用权人实地调查被征土地的四至边界、土地用途、土地面积,地上附着物种类、数量、规格等,并由国土资源局现场填制调查表一式三份,由国土资源局工作人员和所有权人、使用权人共同确认无误后签字。
国土资源局应将所有权人、使用权人签字的材料作为报批的必备材料归档上报。
第四步:拟订“一书四方案”组卷上报审批由县或市级国土资源局根据征询、听证、调查、登记情况,按照审批机关对报批材料的要求拟订“一书四方案”即:“建设用地说明书,农用地转用方案,补充耕地方案,征收土地方案,供应土地方案。
”并组卷向有批准权的机关报批。
第五步:征用土地公告征用土地的市、县人民政府应当在收到省或国务院征用土地批准文件之日起10个工作日内在被征地所在村进行征用土地公告。
征用土地公告的内容:征地批准机关、批准文号、批准时间和批准用途;征用土地的所有权人、位置、地类和面积;征地补偿标准和农业人员安置途径;办理征地补偿登记的期限、地点。
第六步:征地补偿安置方案公告县或市级国土资源局根据省或国务院征用土地批准文件批准的《征用土地方案》在征用土地公告之日起45日内以村为单位拟订征地补偿、安置方案并予以公告。
第一章土地征收的一般程序根据国务院《国务院关于深化改革严格土地管理的决定》(国发【2004】28号)、国土资源部《关于印发〈关于完善征地补偿安置制度的指导意见〉的通知》(国土资发[2004]238号)文件中及新《土地管理法》第47条的规定。
1、土地现状调查和社会稳定风险评估县级以上地方人民政府应对拟征土地的权属、地类、面积以及地上附着物权属、种类、数量等现状进行调查。
并进行征地的社会稳定风险评估。
2、征地公告在征地依法报批前,征收范围、土地现状、征收目的、补偿标准、安置方式和社会保障等在拟征收土地所在的乡(镇)和村、村民小组范围内公告至少三十日,听取被征地的农村集体经济组织及其成员、村民委员会和其他利害关系人的意见。
在告知后,凡被征地农村集体经济组织和农户在拟征土地上抢栽、抢种、抢建的地上附着物和青苗,征地时一律不予补偿。
反过来说,被征地的农民在没有被告知的情况下在拟征土地上新建附着物等并不违法。
3、征询意见,组织征地听证征地公告发布后,征地单位应当听取被征地的农村集体经济组织及其成员、村民委员会和其他利害关系人的意见。
多数被征地的农村集体经济组织成员认为征地补偿安置方案不符合法律、法规规定的,县级以上地方人民政府应当组织召开听证会,并根据法律、法规的规定和听证会情况修改方案。
4、办理补偿登记,签订补偿、安置协议拟征收土地的所有权人、使用权人应当在公告规定期限内,持不动产权属证明材料办理补偿登记。
县级以上地方人民政府应当组织有关部门测算并落实有关费用,保证足额到位,与拟征收土地的所有权人、使用权人就补偿、安置等签订协议;个别确实难以达成协议的,应当在申请征收土地时如实说明。
5、征地文件审核报批市县人民政府上报的征地材料,由省(自治区、直辖市)国土资源厅(局)受理并进行审核,报请省级人民政府审批。
须报国务院批准的,由省(自治区、直辖市)人民政府审查后报请国务院批准。
我国有权批准征地的机关只有国务院和省(自治区、直辖市)人民政府。
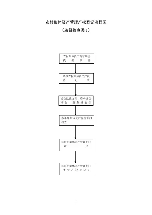
农村集体资产管理产权登记流程图(监督检查类1)
农村财务管理工作流程图(监督检查类2)
农村集体土地承包管理工作流程图(监督检查类3)
农民负担监督管理工作流程图(监督检查类4)
专业合作组织建设流程图(行政确认类1)
农村集体资产管理违法责任追究流程图
(行政处罚类1)
农村财务管理违法责任追究流程图(行政处罚类2)
农村集体土地承包违法责任追究流程图
(行政处罚类3)
农民负担监督管理违法责任追究流程图
(行政处罚类4)
动物防疫违法责任追究流程图(行政处罚类5)
畜禽及畜禽产品防疫检疫、技术服务、宠物
门诊收费工作流程图
(行政征收类1)
农村承包土地纠纷调解流程(行政调解类1)。
村集体土地流转工作流程图
说明:1、村集体拟定流转方案:由全体村班子参加讨论,拟定出土地流转的面积、流转方式、年限和缴款方式,评估土地的价格作为标底等,做好会议记录,全体参会人员签名。
2、召开村民代表会议;土地属经联社所有的,要有半数以上代表参加,土地属合作社的,要有三分之二的户代表参加,会上由社长公布流转方案,由村民代表充分讨论,经归纳修改后,由村民代表表决,占到会人数三分之二以上同意的,本方案通过并签名确认。
3、公布已表决的方案:在村公众地方,村务公开栏张榜公布,接受村民监督。
4、土地流转服务中心:对村集体提交来的流转方案形成的程序是否规范、流转内容是否真实和合理、手续是否完善等进行审核,并作出是否同意代理流转的批复。
与村集体签订土地流转委托书,确定土地流转中心的代理地位和工作责任。
通过网络等发布流信息。
在委托权限内进行初步的洽谈,以公开投标方式进行土地流转的,协助做好公开投标的准备工作,协助流转过程的手续。
签订土地流转合同。
对整个流转过程的资料进行整理、装订归档。
前期部手续流程一、房屋征收手续国有土地上房屋征收与补偿程序↓↓↓↓↓↓↓↓↓回迁区土地证办理一、征地手续流程(集体土地变成国有土地)1,土地局耕保科提供组卷批次号2.政府同意旧村改造的批复3.规划局的选址意见书4.发改委立项、核准证5.界定图平面图6.测绘报告7.收回旧土地证8.耕地需报政府申请用地指标9、组完的征地卷报区土地局,由区土地局报市局市局报省厅批复审批程序桥西国土局经办人→科长→局长→市局耕保科→主管局长→局长→报政府二、划拨方案报市政府批复1、申请2、省厅征地批复3、划拨方案4、征地卷市局耕保科经办人→主管局长→局长→报政府三、签订划拨合同1、申请2、宗地界址图3、缴纳征地管理费凭证4、划拨方案批复文件5、宗地规划设计条件6、营业执照(机构代码证)、法人身份证明及委托书等有效证件审批程序市国土局利用科经办人→科长→主管副局长→局长四、划拨土地证办理1、填写地籍调查表包括:区地籍科实际现场测量,四邻及土地勘测单位到场,填写地籍调查法人证明书、指界委托书。
2、填写国有土地权证申请表3、法人身份证明4、委托书5、宗地图6、土地划拨合同7、征地管理费缴纳凭证8、政府关于划拨方案的批复审批程序市国土局地籍科经办人→科长→主管局长→局长出让区土地证手续流程一、网上办理土地出让合同 10个工作日(出让)1、申请2、成交确认书3、招拍挂公告和须知4、宗地界址图(3份)5、土地出让价款缴款凭证6、出让方案批复文件7、宗地规划设计条件8、营业执照(机构代码证)、法人身份证明及委托书等有效证件9、交地协议10、土地评估报告11、承诺的开发总额12、两种用途以上的规划部门确定每中用途的土地面积13、与房管部门签订的保证性用房协议审批程序市国土局的利用科经办人→科长→主管局长→局长二、出让合同上报市政府批复 10个工作日三、政府批复后办理土地证 10个工作日1、填写地籍调查表包括:区地籍科实际现场测量,四邻及土地勘测单位到场,填写地籍调查法人证明书、指界委托书。
集体土地上房屋征收流程国土可委托街道或征收办(有征收职能的)实施,但注意征收实施主体的统 一性由市,县级国土部门在被征收土地所在地的村范围内发布征地通告,告知 被征地村集体经济组织和村民:征地范围、补偿方式,安置途径及征地用 途。
由市,县级国土部门会同所在地乡镇政府,就征地内容征询村集体和村民 意见。
国土应当将村民对征地的意见和听证的材料作为报批的必备材料上 报。
对补偿标准和安置途径,补偿方式有意见的应当告知被征地人有权提 出听证申请,并依法组织听证。
国土部门组织下,由有资质的勘测单位负责。
立项发布拟征地公告 征询村民意见地籍调查和地上 附着物登记“公共利益”立项,确需征收房属的各项建设活动,应当符合国民经济和 社会发展规划、土地利用总体规划,城乡规划和专项规划。
保障性安居 工程建设,旧城区改建的,应当纳入市县级国民经济和社会发展年度计 划(参照国有土地)。
征收办、发改委、城区开发公司或其他国有公司制作项目方 案,做可行性预测,报国土、规划,环保等相关职能部门审 批。
由市、县级国土部门会同被征收土地的所有权人、使用权人实地调查被 征收土地的四周边界、土地用途、土地面积,地上附着物种类、数量等 并由国土部门现场填制调查表由相关上述人员签字确认。
将签字确认后 的材料作为报批的必备材料归档上报。
实地界定土地使用范围、测定界址位置、调绘土地利用现状,计算用地面 积,为国土资源行政主管部门用地审批和地籍管理等提供科学、准确的基 础资料而进行的技术服务性工作。
土地勘测界定国土可委托街道或征收办(有征收职能的)实施。
拟定一书四方案 并上报审批由市、县级国土部门根据征询、听证、调查、登记情况,按照审批机关 对报批材料的要求拟定一书四方案,即“建设用地说明书、农用地转用 方案、补充耕地方案、征收土地方案、供应土地方案”并组卷向有批准 权的机关申清报批。
由市县级国土部门向省人民政府申请建设用地审批,涉及基本农田等法律 规定特殊情形的,由国务院批准。
县、市人民政府国土部门根据批准的征收土地方案对土地所有权人,使用 权人及地上附着物等进行进一步核实, 在征用土地公告之日起45日内制 定征地补偿、安置及地上附着物拆迁等具体的方案并公告。
征地补偿安置 方案公告内容包括:被征用土地的位置,地类,面积。
地上附着物和青苗 的种类,数量。
需要安置的农业人口数量。
土地补偿费的标准和数额、支 付对象和方式、安置补助费的标准,数额、支付对象和支付方式,地上附 着物和青苗的补偿标准和支付方式,农业人员的具体安置途径。
其他有关 农民的意见,有意见的应当在公告之日起10个工作日内向国土部门提出, 要求听证的,应当举行听证会。
对征地补偿和安置方案确需修改和补充 的,依法进行修改。
市县级人 民政府的国土资源部门将公告后的土地补偿、安置方案, 连同被征地农村集体经济组织和村民的意见及采纳情况报市县级人民政府 审批。
市县级人民政府将征求意见后的征地补偿安置方案批准后,报省国土 资源厅备案,并交由市县级国土部门组织实施。
房屋征收部门拟定征收补偿方案,报市县级人民政府。
市县级人民政府应 当组织有关部门对征收补偿方案进行论证并予以公布,征求公众意见。
征 求意见期限不得少于30日。
市县级人民政府作出房屋征收决定后应当及时公告。
公告应当载明征收补 偿(实施)方案和行政复议。
行政诉讼权利等事项。
土地征收报批征收土地公告征地补偿安置方案的报批 及公告(批前/批后)征收土地依法定程序批准后在收到省或国务院批文之日起 10 个工作日 内,由市、县级人民政府在当地予以公告。
征收土地公告的内容包括征 地批准机关、批准文号、批准时间、批准用途,征用土地的所有权人、 位置、地类和面积,征地补偿标准和农业人员安置途径、办理补偿登记 的期限、地点。
被征收土地的所有权人和使用权人应当在公告规定期限 内,持土地权属证书到当地人民政府土地行改主管部门办理征堆补情登 记。
土地补偿登记征地补偿安 置方案实施被征地村集体、村民或者其他权利人应当在征用土地公告规定的期限内到指定地点办理征地补偿登记手续井签订土地补偿协议。
清理土地和实施征收土地。
控规定支付各项费用后,被征地单位和个人 按期交付土地。
县、市人民政府土地行政主管部门组织有关单位对被征 收的土地进行清理。
房屋补偿安置方案的报批 及公告房屋征收调查登记对征收范围内的房屋权属、区位、用途、建筑面积等情况组织调查登 记,被征收人应当予以配合,根据调查信息,(包括但不限于房屋证 书、违章搭建),相关部门进行联合审查,征收部门将调结果在房屋征 收范围内向被征收人进行公布。
如有条件,并进行分户告知。
房地产价格评估机构由被征收人协商选定,协商不成的,通过多数决定、 随机选定等方式确定。
房地产价格评估机构应当独立、客观。
公正地开展 房屋征收评估工作,评估报告作出后,应送达被征收人并告知复核的权 利,如有漏项或错误,应予更正并再次送达。
在征收补偿方案确定的签约期内达不成补偿协议的,市县级国土部门应当 对补偿决定方案进行审查,将补偿决定方案送达被征收人。
被征收人应当 自补偿决定方案送达之日起十五日内,提出意见井选择补偿方式。
送达补 偿决定方案时应当书面告知被征收人,其逾期不选择补偿方式的,补偿方 式由补偿决定确定。
仍达不成协议的,或者被征收人房屋所有权不明确的情形下,由市县级国 土部门作出征收补偿决定,并在房屋征收范围内公告。
作出征收补偿决定前,应作出听证告知书,给予合理期限内(5 个工作日) 的陈述申辩权利。
被征收人要求听证的,应组织听证会,并在 7 日前告知 听证时间、地点等事宜,做好听证记录并予以公布。
被征收人拒不履行交地决定,也未在法定期限内申请行政复议或提起行政 诉讼的。
在前述行政诉讼期限(6个月)届满之日起三个月内,申请 人民法院强制执行,在申请强制执行前,应当催告被征收人履行义务,催 告书送达十日后仍未履行的,正式启动申请司法强制手续。
评估机构的选择 房屋价格的评估征收补偿安置 方案实施作出征收补偿决定通知被征收人选择房屋征收补偿安置方案(包括货币和产权置换方案), 根据被征收人选择的方案,签订房屋征收补偿安置协议。
被征收人符合住房保障条件的,作出房屋征收决定的市县级人民政府应 当优先给予住房保障。
在实施过程中,应做好搬迁与临时安置的方案,并保证专项资金充足。
作出交地决定以书面形式催告被征收人选择征收补偿方案,经催告后被征收人仍拒绝 签订协议的,作出交出土地决定听证告知书(听证时间内容同前项作出 征收补偿决定前的听证)。
作出责令限期交出土地决定,给予合理腾空期限。
申请司法强制国有土地上房屋征收流程房屋征收与补偿主体:市县级人民政府 组织实施者:市县级人民政府确定的房屋征收部门 房屋征收部门:1.市县级人民政府专门设立的;2现有的部门-住建局 房屋征收实施单位:房屋征收部门将具体工作委托征 收实施单位(协助调查、登记,协助编制方案,协助 进行政策宣传、解释,与被征收人协商,协助组织征 求意见,听证,论证,公示以及组织拆迁等)房屋征收部门对房屋征收范围内房屋的权属、区位、用途、建筑面积以及 租赁和用益物权等情况组织调查,依据调查结果,拟定征收补偿方案。
可由征收主体自行进行社会稳定风险评估或委托第三方进行,从项目合法 性、合理性、可行性和可控性几方面进行综合论证。
房屋征收决定涉及被征收人数量较多的,应当经政府常务会议讨论决定。
作出房屋征收决定前,征收补偿费用应当足额到位,专户存储,专款专 用。
在对房屋进行确权调查时,应根据房屋权属证书、对未经登记的建筑进行 调查、认定和处理。
对认定为合法建筑和未超过批准期限的临时建筑的、 应当给予补偿;对认定为违法建筑和超过批准期限的临时建筑的,不予补 偿。
征收前提拟征收范围 内情况调查拟定征收补 偿方案社会稳定风险评估 政府常务会议 资金保障公共利益需要(为保障国家安全、促进国民经济和社会发展等): 1.国防和外交的需要; 2.由政府组织实施的能源、交通、水利等基础设施建设的需要; 3.由政府组织实施的科技、教育、文化,卫生、体育、环境和资源保护,防 灾减灾、文物保护,社会福利,市政公用算公共事业的需要; 4.由政府组织实施的保障性安居工程建设的需要; 5.由政府依照城乡规划法有关规定组织实施的对危房集中、基础设施落后等 地段进行旧城区改建的需要; 6.其他。
(以上应符合国民经济和社会发展规划,土地利用总体规划、城乡规划和专 项规划。
保障性安居工程建设,旧城区改建,应当纳入市县级国民经济和社 会发展年度计划。
)房屋征收部门拟定征收补偿方案,报市县级人民政府。
征收补偿方案内容包 括拟征收范围,补偿方式及奖励、征收评估,保障被征收人居住条件等内容市县级人民政府组织有关部门对拟定的征收补偿方案进行论证并予以公布。
征求公众意见(不少于30日)。
论证内容包括需用地的建设项目是否符合国 民经济和社会发展规划、土地利用总体观划,城乡规划和专项规划,房屋征 收范围是否科学合理,征收补偿方案是否公平等。
市县级人民政府组织有关部门对拟定的征收补偿方案进行论证井予以公布, 征求公众意见(不少于30日)。
论证内容包括需用地的建设项目是否符合国民 经济和社会发展规划,土地利用总体规划,城乡规划和专项规划,房屋征收 范围是否科学合理,征收补偿方方案是否公平等。
市县级人民政府应当将征常意见情况和根据公众意见修改的情况及时公 布。
因旧城区改建用要征收房屋,多数被征收入认为征收补偿方案不符合 本条例规定的,市县级人民政府应当组织由被征收人和公众代表参加的听 证会,并根据听证会情况修改方案。
征收公告市县级人民政府作出房屋征收决定后及时公告。
公告应当载明征收补偿方 案和行政复议,行政诉讼权利等事项。
市县级人民政府及房屋征收部门做好房屋征收与补偿的宣传、解释工作。
房屋征收部门或征收实施部门复核征收公告前的调查登记结果,建立档 案,做到一户一档。
房屋征收部门、被征收人及其他参与调查登记的单位 应当对调查结果签字认可。
调查确定无误后,在房屋征收范围内公布。
征收登记调 查情况公布被征收人对该房屋征收决定不服的,可以依法申请申请行政复议,也可以 依法提起行政诉讼。
评估机构选择由被征收人协商选定,协商不成的,通过多数决定、随机选定等方式确定通知被征收人选择补偿安置方案(包括和货币和产权置换方案),根据被 征收人选择的方案,签订房屋征收补偿安置协议。
被征收人符合住房保障条件的,作出房屋征收决定的市县级人民政府应当 优先给予住房保障。
因征收房量造成搬迁的,房屋征收部门应当向被征收人支付搬迁费,选择 房屋产权调换的,产权调换房屋交付前,房屋征收部门应当向被征收人支 付临时安置费或者提供周转用房。