房屋征收工作流程图精选.
- 格式:doc
- 大小:21.00 KB
- 文档页数:2
(2)F1.1M用地单位生产运行科土地管理岗位按照《拆迁补偿协议书》、《拆迁现场认定书》,计算拆迁费用,计划经营科成本管理员、科长、单位主管领导审核拆迁费用的准确性。
(3)F1.2M生产运行处土地管理科地籍管理岗位对用地单位提交的拆迁补偿协议中拆迁费用的准确性进行审核。
2)F:拆迁未签定有效的协议。
(1)FK1用地单位计划经营科、生产运行科按照地方政府部门的拆迁批复文件或“拆迁许可证”,与被拆迁单位签订《拆迁补偿协议》。
(2)F2.1M用地单位计划经营科、生产运行科按照地方政府部门的拆迁批复文件或“拆迁许可证”,与被拆迁单位签订《拆迁补偿协议》。
(3)F2.2M生产运行处土地管理科科长和主管领导审核《拆迁补偿协议书》。
3)F:拆迁费用管理报表信息不准确,不完整。
(1)F3.1M生产运行处土地管理科土地管理岗位及时登记拆迁费用管理台账,核查拆迁费用管理报表信息是否完整、准确。
3.流程步骤
4.流程接口
MP02.01.08.02 关联交易封闭结算。
(被征收人自收到分户评估报告10日内)
(评估公司自收到书面异议、书面复核申请10日内)
(被征收人自收到复核报告10日内)
(评估专家委员会自收到鉴定申请10日内)
上户查勘 (附表五) 估价师现场答疑(7天) 评估公司向房屋征收部门提交分户初步结果公示(附表8) 征收部门粘贴分户初步结果(拍照留存) 对评估结果有异议
有错及时修改,重新公示
三级复核报告,确认评估价值 编制分户征收评估报告 向征收部门提交整体报告、分户报告 整体报告、分户报告盖章、签字 被征收人签收 征收部门向被征收人转交分户报告、送达回执(附表9) 共有产权人签收 送达见证人 无异议 有异议
复核评估 书面异议 书面回复
评估结果有变动,重新出具评估报告 评估公司有技术错误,应改正错误,评估公司重新出具评估报告 评估结果没变动,书面告知复核评估申请人
向评估专家委员会申请鉴定
评估公司无技术错误,维持评估报告 对评估报告进行审核,出具书面鉴定意见。
设计宽度与红线不对的与设计单位沟通后补征地
征地拆迁流程图
——
——
项目征地拆迁动员大会
县召开征地拆
迁动员大会
与地方征迁办签订挖红线沟协议
设计院 红线放样 县征迁办向
拆迁户告知
挖红线沟
国土部门
进行勘测定界
设计单位出具拆迁统计表、工程量清单
实物指标调查、 核实、确认
与地方政府签订征地拆迁包干协议
与杆线单位签订协议
起草征地拆迁补偿安置方案并经县政府批准 地方征迁办与被征地方签订补偿协议 按协议支付征地拆迁费用 督促、检查、落实 征迁及标线迁移进度
协调解决存在问题
发布迁坟公告移栽树木等
实施征地拆迁、杆线迁移
交地
复核红线面积
(获得土地批文后)施工队进场清表
开工 建设 施 工
红线放样;委托地方征迁办签订开挖协议 督促、检查、落实征地拆迁情况 设计院放边线、中
线、打中桩、边桩
数界牌桩、土地批准、施工队进场
隔离栅施工
施工 结束
签订协议实施征地拆迁
有疑问的分别与设计代表沟通、与业主
沟通按实际数量更正确认
设计、地方征迁办、项目征迁办、业主四方调查、核对、确认征地地类、征拆量等 地方征拆办挖红线沟
用施工断面图复核用地面积 设计单位、业主、监理单位、当地政府人员现场核实补征地及遗漏征地。
农村征地工作流程图一、征地前准备工作受领任务接收资料制定征地工作方案组织落实业务培训召开四会发布征地公告受领任务、收集征地项目要件:(1)征地红线图(2)市政府批文(含通知)(3)区政府转文(4)勘界报告(1)现场勘察明确征地范围、摸清基本情况(2)拟定征地工作方案、组建工作班子,明确负责人,确定调查登记人员(3)拟报区政府征地公告(4)确定安置房源地址、面积召开征地前动员会,组织政策培训及警示教育、严格纪律开好四会,做好宣传(1)发布张贴征地公告(2)部门工作会(3)镇村社干部工作会议,推荐社员代表(4)社员代表会(5)社员大会(6)公布举报电话调查登记资料整理汇总集体研究相关事宜汇总资料数据公示二、调查登记公示调查登记五个要求:(1)要求采取3+1的组织机构(2)要求实测平面图(3)要求入户调查户籍及家庭情况、产权征、实测等登记(4)要求被调查人员及相关人员签字,注明日期(5)要求登记资料清晰当天移给专人(1)实测资料汇总、输入微机,计算补偿金额,输出补偿表(2)发现问题,进行复核(3)汇总调查资料及数据提交单位主要领导或分管领导审阅组织有关单位(1)推荐拟定农转非人员名单(2)调查城市人员住房情况、拟定住房安置人员初步名单及方案(3)拟定参保人员名单(4)编号征地经费测算报告(1)对登记汇总资料和农转非人员名单进行公示、张贴、接受群众监督(2)同时对登记资料进行复查或复核、更正收集被告征地村(居委会)、社的意见三、实施补偿安置拟定征地补偿安置方案报批补偿安置方案和转非人员实施补偿安置督促拆迁(1)依据征地拆迁调查资料和公示情况,草拟征地补偿安置方案并进行张贴公示(2)张贴听证告知通知,需要举行听证的,依法申请组织听证(3)督查安置房源落实情况(4)确定过渡费发放标准、时间(1)《征地拆迁、补偿、安置方案》经修改后报区人民政府批准(2)会审转非人员名单,报送公安部门审批(3)督促安置房选址建设等(1)发出补偿安置通知(2)签订补偿安置协议(3)现场办理拆迁补偿(4)会同社保局办理农转非人员社保手续(5)发放个人应得安置补助费(6)委托评估公司对企业设备等进行评估(7)办理住房安置(8)组织安置对象选房入住发出拆迁通知,拆除房屋、处理青苗构附着物四、处理遗留问题总结归档专题研究会依法处置遗留问题总结结算资料归档由征地部门根据征地项目中的政策未涵盖特殊问题、实施补偿具体问题、来信来访及群众举报,组织相关部门专题研究对无正当理由,拒不接受补偿,不拆除房屋及附属设施的拆迁户,经反复工作无果的,由征地实施单位报土地行政主管部门,并依法申请人民法院强制执行统计该项目各种数据,总结工作情况,编制上报征地费用做结算报告,报请审计、监察部门审查征地红线图、市政府批文、区政府转文、登记资料、补偿资料、农转非人员及住房安置名单以及需要归档的资料整理归档。
政府确定的建设项目组织实施单位。
向房屋征收部门提出启动房屋征收程序。
保障性安居工程建设、旧城区改建项目说明房屋征收范围和符合公共利益的具体情形。
提交发展改革、国土资源、城乡规划等部门出具的建设项目符合国民经济和社会发展规划、土地利用总体规划、城乡规划和专项规划的证明文件。
除提交前项证明文件外,还应当提交发展改革部门出具的建设项目纳入国民经济和社会发展年度计划的证明文件。
房屋征收部门审查后,报市、县级人民政府。
市县级人民政府决定启动征收程序后,应当确定房屋征收范围,并进行公布。
对房屋征收的合法性、合理性、可行性、可控性以及征收补偿费用保障、风险化解措施、应急处置预案等内容进行评估论证,形成社会稳定风险评估报告。
房屋征收涉及人数较多的,应当经政府常务会议讨论。
征收部门将限制事项(征收范围公布后不得在房屋征收范围内实施新建、扩建、改建房屋和改变房屋用途等不当增加补偿费用的行为)书面通知城乡规划、国土资源等有关部门暂停办理相关手续,期限最长不得超过一年。
房屋征收部门对征收范围内的房屋调查登记并公示,如对结果有异议,市、县人民政府应当组织有关部门及时进行复核、处理。
房屋征收部门拟定征收补偿方案,报市、县人民政府。
市、县人民政府组织有关部门对补偿方案进行论证并在房屋征收范围内予以公示,期限不得少于三十日。
如因旧城区改建,超过半数被征收人不认可征收补偿方案的,市、县人民政府应当组织听证会,并根据听证会情况修改方案。
征收补偿费用应当足额到位、专户存储、专款专用。
公布征收补偿方案征求意见情况和根据公众意见修改情况。
房屋征收部门将分户初步评估结果向被征收人公示,期限不得少于五日。
被征收人在法定期限内不复议也不诉讼,又不搬迁的,政府应当催告当事人履行搬迁,催告书送达十日后仍不搬迁的,可以自被征收人的法定起诉期限届满之日起三个月内,向被征收房屋所在地的人民法院申请强制执行。
对复核结果有异议的,应当自收到复核结果之日起十日内向设区的市房地产价格评估专家委员会申请鉴定。
房屋征收工作流程二
房屋征收工作流程
第一步:家庭宣传
1、宣讲征收政策法规、征收补偿方案、该项目补偿安置的优惠政策等。
2.调查了解被征地人的家庭、人员和主要社会关系。
3.调查了解房屋基本情况。
4.宣传和解释评估事项。
第2步:家庭评估
1、联系被征收人,组织评估人员入户评估,全程参与评估。
了解评估方式、标准、房屋和评估物件等基本情况。
2.组织被征地人确定估价。
3、收集评估过程中需提交政策技术组研究的问题。
4、督促评估机构及时出具初评结果,并对初评结果进行核实审查。
5.工作组将初步评估结果表分发给每个家庭。
6、被征收人对初评结果有异议的,组织评估机构上户现场复核并进行解说。
第三步是进入房屋讨论征地补偿安置事宜,并签署协议。
1.与被征地人充分沟通。
2、根据评估报告和商谈结果,签订征收补偿安置协议,由被征收人提供身份证及银行账号等,收回房屋权属证原件。
3.签订征地补偿协议时,注意填写签订时间。
4、建立工作小组征收补偿统计表,并将已签订的征收补偿协
建议及时提交综合协调小组登记审核。
第四步、房屋搬迁腾空验收
1.动员被征地人按时搬迁,协助被征地人解决搬迁过程中的问题。
2、由宣讲组进行初步验收后,向房屋拆除组提交验收申请。
3、房屋拆除工作组现场验收并填制腾空验收单。
4、协助财务组结算奖励并通知被征收人领取奖金。
二。
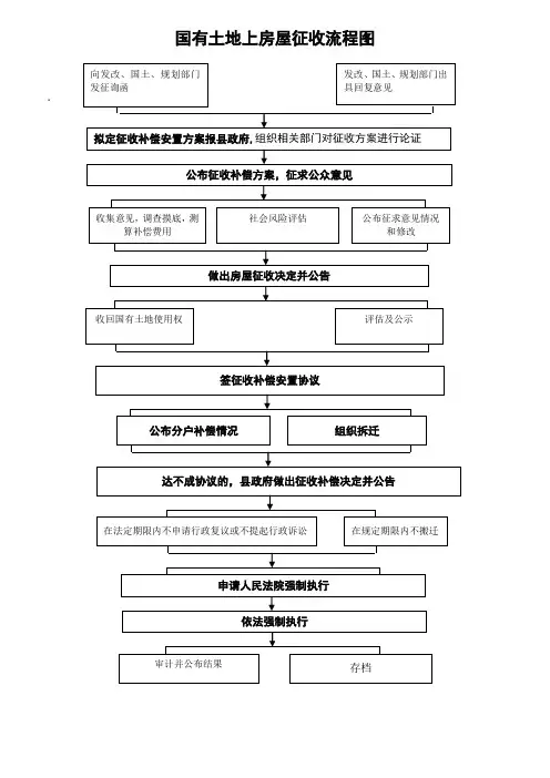
国有土地上房屋征收流程图 .
收集意见,调查摸底,测算补偿费用 公布征求意见情况
和修改 做出房屋征收决定并公告
签征收补偿安置协议
拟定征收补偿安置方案报县政府,组织相关部门对征收方案进行论证 向发改、国土、规划部门
发征询函
公布征收补偿方案,征求公众意见
公布分户补偿情况 达不成协议的,县政府做出征收补偿决定并公告
在法定期限内不申请行政复议或不提起行政诉讼 审计并公布结果 依法强制执行
存档
发改、国土、规划部门出具回复意见
社会风险评估 收回国有土地使用权 组织拆迁 评估及公示
在规定期限内不搬迁 申请人民法院强制执行。