检验科质量管理体系工作流程图
- 格式:doc
- 大小:57.50 KB
- 文档页数:4
检验科工作流程图住院病人就诊检验流程门诊病人就诊检验流程检验科不合格标本处理流程.检验科各岗位日常工作流程图生化室岗位日常工作流程图.免疫室岗位日常工作流程图.血液组岗位日常工作流程图常规室体液组岗位日常工作流程图血凝分析岗位日常工作流程图骨髓细胞分析岗位日常工作流程图.微生物室岗位日常工作流程图.HIV抗体筛查室岗位日常工作流程图检验科废物处置流程检验科生化室临检室 微生物 1.废弃血液标本、尿液、加样枪尖、针头等,各类医用后用品等 2.废弃仪器试剂包、实验室质控品等3.一次性手套、口罩、帽子等。
1.废弃的血液 、血清、清洗液等2.一次性吸管、加样枪尖、微量吸管、表抗等试剂条等3.实验室质控品等4.一次性使用的口罩、帽子、手套等5.传染病患者或者疑似传染病患者产生的生活垃圾等 6微量吸管、一次性吸管以及移液器头等 7.使用后一次性医疗用品及医疗器械等 8.化学试剂等1.被检患者血液污染的棉签、一次性试管等物品2. 各个仪器使用后的废液等。
3.血图片,各类染色分片4.废弃的体夜(如尿液、胸腹水、穿刺液等)、粪便等。
1各个仪器使用后的废液等。
2.各种化学废液1.病原体培养基、标本和菌种、毒种等 2.结核等传染病人的标本等 3.一次性用品、棉签、衣、帽、试管等 4.接种生化反应管等黄色利器盒用防渗漏的专用桶加入2000mg /L 的含氯消毒剂浸泡24小时后倒入下水道 每日由科室工作人员负责收集、分类、高压消毒出科前工作人员与保洁人员一起核实并填写《医疗废物转交登记表》医院医疗废物暂存地(专业人员负责管理)医疗废物集中处理机构由产生废物的实验室负责 免疫室 黄色包装袋每日由专人用密闭容生活 垃圾1.一般废物、家居及办公废物、剩余饭菜、果皮果核、罐头盒、饮料瓶、手纸、包装纸等2.使用后,未被病人血液、体液、排泄物污染的的各种玻璃制品等医 疗 废 物环卫部门 设置的普通垃圾筒、箱黑色代经专用管道排入医院污水处理系统废液医疗废物处理流程医疗废物产生地.采血室岗位日常工作流程图。
检验科质量安全管理制度及流程文件编号:LFKER -18~01第A版编制:审核:批准:生效日期:2018年1月1日市凯尔锐医院院检验科目录检验科质量与安全管理小组职责检验科质量与安全管理小组成员:组长:维华成员:莹婕岳亭如检验科质量与安全管理小组职责1、全面负责本科室的医疗质量、医疗安全与持续改进2、根据本科室的实际情况制定《质量手册》,拟出程序文件,标准化操作规程;制定及修订本科室的质控工作制度、人员岗位职责;3、在医务科和医院医疗质量管理委员会的指导下,定期或不定期、对本科室医疗质量进行检查,每次对查出的问题及整改措施都要详细记录。
督促本科室工作人员执行各项规章制度和操作规。
4、对科室的质量控制进行检查和考核,分析科室质控数据、临床反应情况、质量缺陷问题,查找质量隐患。
5、经常到临床科室听取其对检验科各方面的要求和建议,及时改进和加强检验工作中存在的问题,提高检验质量,满足临床诊疗工作的需要。
具体职责分工:维华:负责科室医疗质量与安全管理莹婕:协助主任负责科室医疗质量与安全管理实验室室质控规则室质控是实验室部对所有影响检测质量的各个环节进行系统控制,目的是控制本实验室常规工作的精密度,提高常规工作前后的一致性。
室质控品的选择质控品应当选用与人血清基质相同、分析物含量均一、无传染危险性、稳定性好、瓶间差小、有较可靠的靶值或预期结果等。
我室目前常规开展了生化、血液学.一、质控品的保存和使用购买回质控品后,严格按照要求保存,并做好标识。
使用时应根据实验用量,有规律、有计划地对其融解,不要一次融解过多。
冰冻状态融化使用时,应轻轻摇匀,切忌剧烈振摇。
未用完部分可在4℃冰箱保存,避免反复冻融。
另外,在实验过程中应当尽量减少质控血清在室温的放置时间,加样完毕后及时收回放进冰箱。
只有这样才能保证质控血清各成分相对稳定,从而使监测实验结果的精确性得到保证。
二、均值和质控限的确定在开始室质控时,首先要确定质控图的均值和质控限,将质控品应与常规标本一起测定。
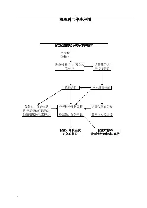
.检验科工作流程图各实验组接收各类标本并核对当天检验标本贴条码编号并离心调整各类仪器运行状理标检验分室内质量控危急值、疑难结果分析核准质控及检记录仪器有关参进行复查做好记录并数室内质控结果验结果,做好登记通知临床医生或护士检验、审核签发检验后标本双签名报告按要求处理标本、存放..住院病人就诊检验流程医生申请检验项目申请、填写检验申请输入电脑网络各类穿护士工作站填写患者标刺液等识、抽血、上费用血液大小便穿刺标本按要求处理嘱病人按按有关要求采取血液样求留取标检验科各实验组签收具体实验组进行检验各实验组检验后签发报告单送回各病房并签收..门诊病人就诊检验流程病人持就诊卡医生填写检验申请单病人持就诊卡到收费处交费大小便其它检验项目血液标本检验到相应实验组留取病人留取标本病人凭检验单到门诊采血室采血(按项目要求),瞩病人取报告时间体液实验室或相关部门各实验组检验后并各实验组检测后签发报告单核对签发报告患者取报告患者取报告到医生处诊疗..检验科不合格标本处理流程不合格标本登记后退不合格标本记录后,通知申请科室重新留取回重新留取重新留取后,各实验组检验后并核对签发报告病房检验单每天下午返回病房分取13门诊检验单:血液每天下午点30体液其它按检验人员提示取..检验科各岗位日常工作流程图生化室岗位日常工作流程图审核签发报告单发出生化室,送至检验报告发单处病房报告单送往各个病区..如临床医生对患者结果有疑问或反馈意见时,生化室工作人员要及时查找原因和处理,并做出合理解释,处理不了的要报告室组长,再由室组长报告科主任。
免疫室岗位日常工作流程图如临床医生对患者结果有疑问或反馈意见时,免疫室工作人员要及时查找原因和处理,并做出合理解释,处理不了要报告室组长,再由室组长报告科主任。
..血液组岗位日常工作流程图打印出的检验报告单上,并记录方可发出。
审核签发报告单送至检验报告发单处病房报告送往各个病区如临床医生对患者结果有疑问或反馈意见时,常规室工作人员要及时查找原因和处理,并做出合理解释,处理不了的要报告室组长,再由室组长报告科主任。
检验科工作流程图住院病人就诊检验流程门诊病人就诊检验流程检验科不合格标本处理流程.检验科各岗位日常工作流程图生化室岗位日常工作流程图.免疫室岗位日常工作流程图.血液组岗位日常工作流程图常规室体液组岗位日常工作流程图血凝分析岗位日常工作流程图骨髓细胞分析岗位日常工作流程图.微生物室岗位日常工作流程图.HIV抗体筛查室岗位日常工作流程图检验科废物处置流程检验科生化室临检室 微生物 1.废弃血液标本、尿液、加样枪尖、针头等,各类医用后用品等 2.废弃仪器试剂包、实验室质控品等3.一次性手套、口罩、帽子等。
1.废弃的血液 、血清、清洗液等2.一次性吸管、加样枪尖、微量吸管、表抗等试剂条等3.实验室质控品等4.一次性使用的口罩、帽子、手套等5.传染病患者或者疑似传染病患者产生的生活垃圾等 6微量吸管、一次性吸管以及移液器头等 7.使用后一次性医疗用品及医疗器械等 8.化学试剂等1.被检患者血液污染的棉签、一次性试管等物品2. 各个仪器使用后的废液等。
3.血图片,各类染色分片4.废弃的体夜(如尿液、胸腹水、穿刺液等)、粪便等。
1各个仪器使用后的废液等。
2.各种化学废液1.病原体培养基、标本和菌种、毒种等 2.结核等传染病人的标本等 3.一次性用品、棉签、衣、帽、试管等 4.接种生化反应管等黄色利器盒用防渗漏的专用桶加入2000mg /L 的含氯消毒剂浸泡24小时后倒入下水道 每日由科室工作人员负责收集、分类、高压消毒出科前工作人员与保洁人员一起核实并填写《医疗废物转交登记表》医院医疗废物暂存地(专业人员负责管理)医疗废物集中处理机构由产生废物的实验室负责 免疫室 黄色包装袋每日由专人用密闭容生活 垃圾1.一般废物、家居及办公废物、剩余饭菜、果皮果核、罐头盒、饮料瓶、手纸、包装纸等2.使用后,未被病人血液、体液、排泄物污染的的各种玻璃制品等医 疗 废 物环卫部门 设置的普通垃圾筒、箱黑色代经专用管道排入医院污水处理系统废液医疗废物处理流程医疗废物产生地.采血室岗位日常工作流程图。