维护返修服务流程图和说明
- 格式:doc
- 大小:45.50 KB
- 文档页数:2
维修服务作业流程图
◎维修人员安全操作规程
1. 维修人员必须持证上岗,严谨持证人员进行维修、安装工作。
2. 在维修电器、线路时,应根据具体环境选择合适的配件和配电方式。
3. 安装电器、线路必须在线路间使用硬质塑料凳绝缘物品进行保护,以防破坏。
4. 严谨乱用铜丝、铁丝代替熔断器的熔丝。
5. 不准在维修时乱拉电先或接入过多或功率较大的用电设备。
6. 登高作业必须使用安全的登高工具,不准违规操作,保护用具与梯子等接地部分必须安装绝缘材料。
◎维修备用材料管理规定
1. 维修人员根据阶段工作用料的具体情况,做出维修备用材料计划表上报维修组。
2. 维修组经综合办公室批准后,持“领料单”到仓库领材料。
3. 备用裁量的存放、验收、使用登记严格执行中心有关规定。
4. 必须按实际工作量分配备用材料,严禁浪费。
5. 每阶段工作完成后,有维修人员将备用材料使用情况写出明细表上报维修组一份、
中心仓库一份。
6 .。
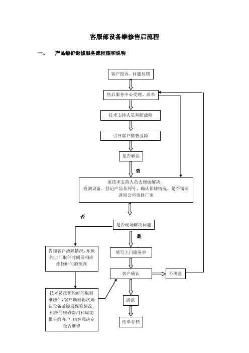
客服部设备维修售后流程一、产品维护返修服务流程图和说明二、保修注意事项1.如维修的设备有相应销售合同的要求,依据销售合同上维修条例进行保修时间的确认及维修费用的核算,如通过零售渠道销售的商品,自售出之日起7日内,出现国家三包所规定的功能性故障时,您可以选择退货、换货或者维修;当同样的情况出现在第8日至第15日内时,您可以换货或者维修;同样的情况出现超过15天,您只能在一年保修期内享受免费保修。
超过一年保修期的,根据检修情况收取费用。
一般情况下,由买方负责邮费。
2.未经授权的维修、误用、疏忽、滥用、事故、改动和不正确的安装所造成的损坏不在保修范围内。
3.技术员填写多媒体设备故障检测表时应注意的事项:技术员应尽可能将故障现象描述简洁明白清楚,单位、设备名称、设备型号、检测数量、系列号等资料一定要写清楚。
4. 客服助理每周依据如下设备维修进度表同采购部门合作汇总设备维修情况及进度,以做好设备维修的登记及维修情况的反馈,便于客户查询设备维修情况。
三、保修承诺如果客户的返修要求在保修期之内,同时也在保修范围之内,应免费为客户维修,就如同对待新客户一样,做到积极、准时、服务好。
如果客户的返修要求不在保修期或保修范围之内,也应立即回应。
耐心的向客户说明,力求找出一个客户满意的解决方案。
四、费用说明视具体维修情况而定五、检测后和客户沟通说明事项1、说明故障原因、所换配件,对非保修的要说明所需费用并征求同意。
2、(非保修)如果这次是首次功能性维修,之前可能因为有其它故障而某些功能没有检测,可能在维修完以后,再次检查时还会有之前没有检查到的故障,我们会维修完成后再次检测并和您联系。
但不对这些未知的故障负责。
六、返修完成后和客户说明事项1、说明维修情况及检测情况。
确认客户所说的故障完全排除。
2、维修安装后,请客户作全面检查,如果发现有其它我们没有检查出来的问题,请客户多多理解并配合,及时发回重新维修。
3、因为电子元件的损坏是随机的,相同的故障可能会在今后的某个时间随时再现,希望客户能理解。
维修工作流程图
1.业主(住户)维修工作流程图
用户报修(电话、书面)
物业助理填写维修工作单
维修领班填写业主维修登记表后派工
维修人员实施维修工作
维修完毕,请住户验收
并在维修工作单上签字
将维修工作单交给维修领班
维修领班填写业主维修登记表物业助理根据维
修工作单回访
回访结果反馈
给维修领班处理
结束
2.公共设施维修养护工作流程图
工程主管制定维修养护计划各工种按计
划分别实施
工程主管或领
班到现场检查
各工种做好
完工记录
工程主管审核完工
记录并归档保存。
维护部工作流程图.doc
一、路段机电维护中心故障申报处理流程图
二、返修设备处理流程图
三、路段机电维护中心仓库备品备件处理流程图
四、路段机电维护中心新增工程量申报流程图
五、路段机电维护中心申请备件采购流程图一、路段机电维护中心故障申报处理流程图
附件、
机电系统故障处理记录表
地点:故障位置:系管(设备操作人员):发生时间:20 年月日时分
修复时间:20 年月日时分维护组:维护人:负责人:
附、机电系统检查维护记录表
检查维护地点:时间:20 年月日时
维护部门(公司):维护人:记录人:负责人:
江西路通公司机电设备维护记录表
二、返修设备处理流程图
机电设备维修申请报告单
业主单位:景婺黄高速公路分中心报告单编号:
三、路段机电维护中心仓库备品备件处理流程图
四、路段机电维护中心新增工程量申报流程图
五、路段机电维护中心申请备件采购流程图
附一、
柴油发电机保养记录表路段:景婺黄
机组编号:
附二、
景婺黄高速公路收费系统机电设备维护保养记录表站名:保养日期:
附三、
江西路通公司机电设备保养记录表。
维修工作流程图
客服中心值班
员接到报修
客服部负责《房屋维修登记表》登记,并将需维修项以微信发送至工程主管处
(5分钟)
由工程主管填写《维修单
》并指派工程维修师傅
(5分钟)
工程维修员无特殊情况时,30
分钟内到达现场进行处理
(30分钟)
维修完成后,对维修单由报修
人签字确认
(当天内)
《维修单》由工程主管负责收集
整理,第二天汇总后交至客服部
(次日)
客服部接收《维修单》后,在《房屋维修登记表》中进行更新,要求回访比例不得少于20%,填写回访结果,完成进行归档
备注:
1、需维修项由客服部负责收集,当班客服需按照《房屋设施零星维修记录表》内各项登记完整,五分钟之内将维修信息发送至工程主管处。
2、工程部主管负责接收维修信息,5分钟内根据需维修内容合理安排维修工作(包括人数、工具等)。
3、工程维修员无特殊情况,30分钟内到达现场进行处理,处理过程中将维修前、维修后照片发至项目大群中并附简单文字说明(维修内容,企业名称等),维修完成后需由保修人在《维修单》上签字评价。
4、工程主管负责收集当日《维修单》,汇总后第二天交至客服部。
5、客服部接收《维修单》,在《房屋维修登记表》中进行更新,要求回访比例不得少于20%,填写回访结果,完成进行归档。
6、如维修内容由报修人发至企业微信群,客服部负责跟进维修进度,维修完成后在工作微信群截取照片进行反馈。
维修工作流程图W/G-001
ZHPMA/0 1/2
一、维修全过程
1、按规定/商定期间带齐工具、材料用品到达现场,进门前,必要先摁门铃或敲门(每次轻敲不超过三下)。
2、待顾客开门后,用规范语言阐明来意。
征得顾客批准后,方可进门。
3、先向顾客询问状况及规定,然后仔细检查需维修某些,判断维修难易限度,预计工时及所需材料后,按公司统一规定收费原则,向顾客阐明应收多少费用,待顾客确认后方可进行维修。
4、维修过程中,如非必要,不得积极与顾客交谈,不得随意到维修现场以外房间参观。
5、维修竣工并清洁现场后,礼貌地提请顾客验收,待其确认后,再请其支付商定费用,并请顾客在派工单上订立意见和姓名。
6、维修中和离开时,均不得食用顾客饮料、食品、香烟等,不得收受顾客礼物、小费。
7、接过顾客支付维修费用、派工单后,必要向顾客致辞谢。
8、离开顾客房屋时,须使用规范语言与住户告别,返回维修班或按上述规定进行下一种维修项目。
维修工作流程图 W/G-001
ZHPM A/0 2/2
二、维修工作流程图
一
般 维 修。
报修、维修作业流程图1. 围适用于客服中心的客户报修与公共设施维修工作得到及时处理。
2. 控制目标1) 规客户报修处理程序,促进管理服务中的不合格服务及时得到纠正,以提高管理服务质量、报修处理及时、降低返修率。
2) 及时、准确地传递报修信息,为提供方便、快捷、优质的维修服务提供保障。
3. 职责3.1 客服中心前台接待:1) 作为接待报修的第一责任人;2) 负责接收与反馈客户在维修方面的投诉及派工单、维保单的发放、消单、中间协调、维修、跟进、回访、收费;3) 负责数据统计等工作。
3.2 客户服务部主管:1) 掌握每日维修工单的完成情况和完成质量及收费、回访情况;2) 负责组织协调客户报修与维修服务之间的中间环节与投诉处理。
3.3 工程维护部:1) 负责现场查看和鉴别客户的维修责任、围、信息反馈;2) 对于工程遗留整改问题,负责整个维修过程的监督、检查和验收。
3.4 工程维护部主管:1) 掌握每日派工单或维保单的完成情况和完成质量;2) 指导与监管本部门各班组负责及时、高质量完成.4.作业流程图5. 作业规程5.1 基本要求:5.1.1 登记报修:不缺项,详细认真,转呈及时;5.1.2 报修处理及时有效。
5.2.1 无偿报修1) 报修的围尚属于保修期围公共区域的设施设备,公共场所工程遗留问题的报修处理工作。
2) 住宅室报修的部位属于保修期围,非人为装修或破坏造成的,工程遗留问题的报修处理工作。
5.2.2 有偿报修:有偿性的报修分为有偿性的家庭报修和有偿性的公共区域报修。
1) 有偿性的家庭报修是指报修的围隶属客户家庭的设施设备,及其日常生活物品的报修处理工作。
费用收取方式如下:a) 零星维修可由维修人维修完工后收取维修费用;b) 维修完工后可有业主到前台缴纳维修费用;c) 经客户确认后大额维修费用(500 元以上)签订简单协议,提前收取维修费用,客服人员凭交款凭证开具《维修派工单》;2) 有偿性的公共区域报修是指保修期过后公共区域的设施设备,公共场所的报修处理工作。
售后服务管理办法返修产品处理流程1. 简介售后服务是指客户购买产品后,在保修期内遇到故障或需进行维修时,企业提供的一系列售后支持和服务。
而返修产品是指客户将购买的产品退回企业进行维修或更换的产品。
为了确保售后服务质量和提高客户满意度,制定并执行规范的返修产品处理流程至关重要。
2. 返修产品处理流程2.1 提交返修申请客户拨打售后服务,告知产品故障或需要维修。
客服人员记录客户提供的产品信息、故障描述等,并为客户开具返修申请单。
客服人员告知客户返修申请的处理时间和方式。
客户将返修申请单发送至指定的返修处理部门。
2.2 返修产品评估返修处理部门收到返修申请单后,核对申请单上的产品信息和故障描述。
返修处理部门对产品进行初步评估,确认故障是否在保修范围内。
如果故障在保修范围内,返修处理部门继续评估产品的维修难度和所需材料。
返修处理部门根据评估结果,决定是否接受返修申请。
如果返修申请被接受,返修处理部门将通知客户并安排产品的返修流程。
2.3 返修产品处理返修处理部门接收到返修产品后,进行产品信息记录,并核对产品与返修申请单上的信息是否一致。
返修处理部门对产品进行详细评估,确定需要进行的维修工作和所需材料。
返修处理部门按照既定标准和流程进行维修操作,确保产品质量。
维修完成后,返修处理部门进行产品测试和质量检查,以确保产品无故障。
如果产品经过测试和检查合格,返修处理部门将通知客户取回修好的产品或进行产品更换。
2.4 反馈和记录返修处理部门与客户联系,确认客户对维修结果的满意度。
如果客户对维修结果不满意,返修处理部门应及时处理客户的抱怨或投诉,并提供合理解决方案。
返修处理部门将返修产品的处理情况和客户满意度记录在售后服务管理系统中。
售后服务负责人定期分析返修产品的处理情况和客户满意度,制定改进措施。
3. 结论制定并执行规范的返修产品处理流程对于提高售后服务质量和客户满意度至关重要。
通过提交返修申请、返修产品评估、返修产品处理以及反馈和记录等流程,企业能够更好地管理售后服务过程,并不断改进和提升售后服务的质量。
1. 围适用于客服中心的客户报修与公共设施维修工作得到及时处理。
2. 控制目标1) 规客户报修处理程序,促进管理服务中的不合格服务及时得到纠正,以提高管理服务质量、报修处理及时、降低返修率。
2) 及时、准确地传递报修信息,为提供方便、快捷、优质的维修服务提供保障。
3. 职责3.1 客服中心前台接待:1) 作为接待报修的第一责任人;2) 负责接收与反馈客户在维修方面的投诉及派工单、维保单的发放、消单、中间协调、维修、跟进、回访、收费;3) 负责数据统计等工作。
3.2 客户服务部主管:1) 掌握每日维修工单的完成情况和完成质量及收费、回访情况;2) 负责组织协调客户报修与维修服务之间的中间环节与投诉处理。
3.3 工程维护部:1) 负责现场查看和鉴别客户的维修责任、围、信息反馈;2) 对于工程遗留整改问题,负责整个维修过程的监督、检查和验收。
3.4 工程维护部主管:1) 掌握每日派工单或维保单的完成情况和完成质量;2) 指导与监管本部门各班组负责及时、高质量完成.4.作业流程图5. 作业规程5.1 基本要求:5.1.1 登记报修:不缺项,详细认真,转呈及时;5.1.2 报修处理及时有效。
5.2.1 无偿报修1) 报修的围尚属于保修期围公共区域的设施设备,公共场所工程遗留问题的报修处理工作。
2) 住宅室报修的部位属于保修期围,非人为装修或破坏造成的,工程遗留问题的报修处理工作。
5.2.2 有偿报修:有偿性的报修分为有偿性的家庭报修和有偿性的公共区域报修。
1) 有偿性的家庭报修是指报修的围隶属客户家庭的设施设备,及其日常生活物品的报修处理工作。
费用收取方式如下:a) 零星维修可由维修人维修完工后收取维修费用;b) 维修完工后可有业主到前台缴纳维修费用;c) 经客户确认后大额维修费用(500 元以上)签订简单协议,提前收取维修费用,客服人员凭交款凭证开具《维修派工单》;2) 有偿性的公共区域报修是指保修期过后公共区域的设施设备,公共场所的报修处理工作。
产品返修管理办法文件编号:制订部:品质部版本版次:A/0生效日期:文件类别:三级文件此文件为市XXX部管理文件,未经许可,不得影印,违者必究。
目的为了使本公司返修品尽快处理,并制定有效的纠正/预防措施,且针对顾客投诉回复,从而提高产品质量,保证公司的信誉。
1.围适用于所有客户返修退回的开关电源、模组、系统卡、HUB板等公司生产的产品。
3.职责3.1 物控部:负责返修板的分类保管,返修计划的安排,并跟进计划达成。
3.2 生产部:返修组负责领物料、修理、测试、返修计划的落实并做好相关记录。
3.3研发部:负责产品整改方案、软硬件、物料方面的不良原因分析及提出纠正/预防措施,控制同类问题再次发生3.4工程部:负责分析不良原因及制定工艺问题的有效纠正/预防措施,控制后续同类问题的再次发生。
3.5品质部:负责返修品的抽样检验和统计返修品不良原因,提出纠正/预防措施.3.6业务部:负责顾客投诉信息的收集,售后服务效果的跟踪,顾客退回的分类管理。
3.7客服部:负责返修物品经品质测试合格后,尽快返回客户。
4.定义按照公司保修政策对产品进行保修5.作业容5.1.1 业务员回收的返修物品确保是在保修期,若超出返修期要由业务经理审核。
5.1.2 如超出返修期的、维修要收费的需业务与客户沟通,采购部和财务部协助报价5.1.3超出保修期的数量与费用,每月初对上月的进行统计,由生产部、客服部进行统计,销售部确认5.1.4 客服部跟进返修品的维修进度,敦促物控部进行物料安排,并在客户指定的时间维修OK,归还客户,此项业务员监督。
5.1.5 业务员返修物品时须将产品分类整理,需在《返修产品作业流程表》上简单描述产品故障问题点,以便测试维修方便。
5.1.6 仓管员将业务员退回返修产品的数量、型号、规格,进行入帐登记,仓管入帐后,及时通知返修组领板维修。
5.1.7 返修组返修时间控制在3天以,根据返修数量的多少,维修时间进行相应调整,但必须控制在7天以。
维修工作流程Maintenance Work Flow机械设备部MECH2014年07月July, 2014维修流程介绍Introduction of Maintenance Process维修业务工作流程Maintenance business work flow:●年/季/月(1+3)计划维修工作流程Work flow for annual /quarterly/monthly (1+3) planned maintenance●日常故障维修工作流程Daily failure maintenance work flow●非计划维修工作流程Unplanned maintenance work flowFREP所有维修工作都是按照这三个工作流程开展的。
All maintenance works of FREP are carried out according to these three work flows.年/季/月度计划维修工作流程图变更项目申请调整项目/概算Work Flow Diagram for Annual/Quarterly/Monthly Planned Maintenance维修工作流程图备注:1.一般设备不必注明交付工期,由计划员根据SDD及资源情况进行排序。
2. 维修计划员在成本测算及制订施工资源需求时,应参考相关合同及相关定额。
Maintenance Work Flow Diagram操作人员PCL/MCL/总调非计划维修工作流程图MCLBTMOperator PCL/MCL/Shif t Superintendent Work flow Diagram for Unplanned MaintenanceMCLBTM工作流程说明Explanation on Work Process一、年度/月度计划维修工作流程Annual/Quarterly/Monthly Planned Maintenance Work Process1. 年度维修计划由年度大型维修项目及常规预防性维修项目、改良性项目、大修项目等组成。
售后服务流程图: 一、首先您需要填写《维护返修申请表》。
当您(含经销商、集成商、用户)反馈出现设备故障时,或在当地销售服务机构无法排
除故障情况下,必须首先填写《维护返修申请表》(非常重要)电子文档,并将电子文档发
到就近售后服务中心专用邮箱。
我们将在1个工作日内给您回复处理意
见。
填表时应注意的事项:
1.应尽可能将故障现象描述简洁明白清
楚,邮寄地址、收件人、电话等资料一定要写
清楚。
对于未填表或表中“用户填写项”填写不
完整,并擅自将故障设备直接寄到公司的,导
致不能及时维修的,其责任由用户自行承担。
2.我们的正常维修周期是从售后服务中
心收到设备次日起5个工作日。
对维修时间或
其它方面有特殊要求的,务必填写清楚,特殊
要求的可能要另外收费。
因维修款未及时到帐
的将不受5个工作日维修期的约束。
3.如确定购买时间不足一年或超过一年
的,请在“保内”或“保外”栏涂黑。
4.维修编号由售后服务经理填写,您今
后查询只需要报维修编号就可以了。
5.您务必要获的维修编号后,才能将您
的故障设备按新大陆所在售服中心提供的地
址邮寄。
二、我们有三种送修方式,您在设备寄修前应
该注意的事项:
1.为保证维修速度,我们建议直接将《维
护返修申请表》发到就近的售后服务中心专用
邮箱,我们将在1个工作日内得到处理。
我们
在对故障现象清楚明白并确认需要寄修的,我
们将会通过电话或邮件告知诉您维修编号并
准备寄设备。
2.为避免延长维修时间,您寄修设备必须采用速递的方式,请勿通过邮政包裹或货运,并在寄出设备后在合理的时间应尽量通过委托承运单位查询或直接来电确认。
3.在您手续完整且无欠费情况下,如因情况特殊我们无法保证在5个工作日内完成对故障设备的维修,我们将及时与您协商合理的解决办法。
4.特别提醒您寄设备前,保存数据并移除不必要的配件如数据线,以免不慎丢失。
5.寄修包裹外应粗笔写明维修编号。
三、维修费用说明。
正常情况下产品保修期自购买之日起壹年,这期间因我们产品质量问题而引起的故障维修是免费的,包括我们寄回的运费。
人为的损坏或保管不善导致的设备维修我们将合理收费。
如需收费,我们将填写《维修费用通知单》传真通知确认。
得到您的传真确认后,请及时办理维修费汇款手续,并将汇款底单传真给售服中心,以免影响维修期。
因为我们要确认收到维修款后才能给邮寄设备!
四、设备修复寄出事项
我们将根据您在《维护返修申请表》上填写的地址将维修好的设备连同《维修报告》及时寄出,寄出后我们将电话或邮件的方式通知您及时查收设备。
如未及时收到请及时与我们联系。