选课系统数据流及数据字典
- 格式:doc
- 大小:433.50 KB
- 文档页数:10
学籍管理系统的数据字典和数据流图一、数据字典数据字典是学籍管理系统中各个数据项的定义和描述,它包含了系统中所使用的数据的名称、含义、长度、数据类型、取值范围等信息,以及数据之间的关系。
下面是学籍管理系统的数据字典:1. 学生信息表(Student)- 学号(StudentID):学生的惟一标识符,字符型,长度为10。
- 姓名(Name):学生的姓名,字符型,长度为20。
- 性别(Gender):学生的性别,字符型,长度为2,取值范围为男或者女。
- 年龄(Age):学生的年龄,整型,长度为2。
- 班级(Class):学生所在的班级,字符型,长度为10。
- 地址(Address):学生的家庭地址,字符型,长度为50。
2. 课程信息表(Course)- 课程编号(CourseID):课程的惟一标识符,字符型,长度为10。
- 课程名称(CourseName):课程的名称,字符型,长度为20。
- 学分(Credit):课程的学分,浮点型,长度为4,取值范围为0-10。
- 授课教师(Teacher):授课教师的姓名,字符型,长度为20。
3. 成绩信息表(Score)- 学号(StudentID):学生的学号,字符型,长度为10。
- 课程编号(CourseID):课程的编号,字符型,长度为10。
- 成绩(Grade):学生在该课程中的成绩,浮点型,长度为4,取值范围为0-100。
二、数据流图数据流图是学籍管理系统中数据流动的图形化表示,它展示了系统中各个功能模块之间的数据流动和处理过程。
下面是学籍管理系统的数据流图:1. 主界面(Main Interface)- 输入:用户登录信息- 输出:学生信息、课程信息、成绩信息2. 学生信息管理模块(Student Information Management)- 输入:学生信息、操作指令- 输出:学生信息、操作结果- 处理:添加学生信息、修改学生信息、删除学生信息、查询学生信息3. 课程信息管理模块(Course Information Management)- 输入:课程信息、操作指令- 输出:课程信息、操作结果- 处理:添加课程信息、修改课程信息、删除课程信息、查询课程信息4. 成绩信息管理模块(Score Information Management)- 输入:成绩信息、操作指令- 输出:成绩信息、操作结果- 处理:录入成绩、修改成绩、删除成绩、查询成绩5. 数据库(Database)- 输入:学生信息、课程信息、成绩信息- 输出:学生信息、课程信息、成绩信息- 处理:存储学生信息、存储课程信息、存储成绩信息通过以上的数据字典和数据流图,学籍管理系统可以实现对学生信息、课程信息和成绩信息的管理和查询功能。
数据流图与数字字典下面的例子是实现一个计算机综合教务管理系统,完成班级信息管理,学生信息管理,课程信息管理和学生选课管理等功能。
本系统的用户分为超级用户和普通用户两类,超级用户负责系统维护,包括对班级信息,学生个人信息,课程信息的录入,修改,查询,删除等。
普通用户即选课学生则只具有为自己选课的权限。
下面给出部分数据流图和数据字典作为示例。
(1) 学生选课系统简单的上下文信息流图如图(2)学生选课第一层次数据流图下面是学生选课申请的数据流图,作为第一层数据流图,(3)数据字典中数据项和数据流的描述数据项名:学生编号说明:标识每个学生身份类型: CHAR长度: 8别名:学号取值范围:970000-979999数据流名:选课申请说明:由学生个人信息,欲选课程信息组成选课申请来自过程:无流至过程:身份验证数据结构:学生个人信息欲选课的课程信息数据结构:学生个人信息说明:说明了学生的个人情况。
组成:帐号密码数据存储:上课时间信息说明:说明了每门课的上课时间,一门课可以有多个上课时间,同一时间可以有多门课程在上课。
输出数据流:课程上课时间数据描述:课程编号上课时间数量:每学期200-300个存取方式:随机存取处理过程:身份验证说明:对学生输入的帐号,密码进行验证,确定正确,得到相应的学生编号。
输入:学生帐号;密码;选课的课程编号。
输出:学生编号;选课的课程编号程序提要说明:o 对输入的学生个人信息,检查学号和密码是否正确?o 对身份正确的学生检查要选修的课程是否允许?o 检查是否正确返回信息。
学籍管理系统的数据字典和数据流图一、数据字典数据字典是学籍管理系统中用于描述和定义数据的工具,它包含了系统中所有数据项的详细信息,包括数据项的名称、含义、数据类型、长度、取值范围等。
下面是学籍管理系统的数据字典示例:1. 学生信息表(Student)- 学号(StudentID):字符型,长度为10,用于唯一标识学生的学号。
- 姓名(Name):字符型,长度为20,记录学生的姓名。
- 性别(Gender):字符型,长度为2,记录学生的性别。
- 年龄(Age):整型,记录学生的年龄。
- 班级(Class):字符型,长度为10,记录学生所在的班级。
2. 课程信息表(Course)- 课程编号(CourseID):字符型,长度为10,用于唯一标识课程的编号。
- 课程名称(CourseName):字符型,长度为50,记录课程的名称。
- 学分(Credit):浮点型,记录课程的学分。
- 授课教师(Teacher):字符型,长度为20,记录授课教师的姓名。
3. 成绩信息表(Score)- 学号(StudentID):字符型,长度为10,用于关联学生信息表中的学号。
- 课程编号(CourseID):字符型,长度为10,用于关联课程信息表中的课程编号。
- 成绩(Grade):整型,记录学生在某门课程中的成绩。
二、数据流图数据流图是学籍管理系统中用于描述数据流动和处理的图形工具,它展示了系统中不同模块之间的数据流动以及数据的处理过程。
下面是学籍管理系统的数据流图示例:1. 学生信息管理模块- 输入:学生信息(学号、姓名、性别、年龄、班级)- 处理:验证输入的学生信息的合法性,如学号是否已存在,年龄是否符合要求等。
- 输出:学生信息的录入结果,如成功或失败的消息。
2. 课程信息管理模块- 输入:课程信息(课程编号、课程名称、学分、授课教师)- 处理:验证输入的课程信息的合法性,如课程编号是否已存在,学分是否符合要求等。
选课系统的UML的环境图,数据流图,结构图,数据库设计,程序流程图选课系统⼀(1)环境图教务处提供教师信息和学⽣信息和推荐课表。
学⽣进⾏教学质量评价后,⽅可进⼊系统选课,系统⾸先提供给学⽣⼀个推荐课表,学⽣根据实际情况选择对应的课程。
选定后,系统显⽰具体学科上课时间和教师教室信息,学⽣选课完成后,可以查看⾃⼰的课表。
若选择情况有误,可点击退选进⾏修改。
学⽣选课完成后,教务系统根据课程容量随机选择选课学⽣。
学⽣再根据选定课程情况进⾏退补选。
选课结束后学⽣可查询并打印课表。
学期末进⾏考试,教师输⼊学⽣成绩,学⽣可进⼊系统查询成绩。
教秘输出:教师信息学⽣信息教学计划学⽣输⼊:教师质量评价所选课程输出:最终课表推荐课表( 教师信息教室信息) 成绩教师输⼊:学⽣成绩图1 选课系统的环境图(2)⼀层数据流图对选课系统进⾏分解,从⼤的⽅⾯分解为教务管理,预选课,正选课,成绩管理系统4部分,得到⼀层数据流图,选修课程图2 选课系统⼀层数据流图图3.1选课的⼆层数据流图教学计划验证信息课程信息⽤户名密码学⽣成绩图3.2教务管理的⼆层数据流图图图4.1登录的三层数据流图⼆数据字典 1.数据流词条(a )数据流名:选修课程简述:学⽣根据学分和上学期成绩选修课程。
组成:选择的课程=课程名+教师信息+教室信息+考试时间+学分+选课⼈数来源:学⽣去向:选课流通量:闲时:50 忙时:200峰值:400(b)数据流名:教师信息简述:教秘在给出推荐课表的同时给出教师信息,输⼊到教务管理并保存到推荐课表中。
组成:教师信息=教师编号+教师姓名+教师职称+性别+所教授的课程来源:教秘去向:教务管理流通量:闲时:30 忙时:100峰值:1502.加⼯词条(a)加⼯名:正选课编号:1.2简述:学⽣根据预选课课表再进⾏正选课,根据课程情况和学分限制选择跨专业课程,对不满意的进⾏补退选。
教务管理对选修课程的⼈数进⾏限制,取消没有达到⼈数最低要求的那些课程,并在选课结束后进⾏公布。
学籍管理系统的数据字典和数据流图1. 数据字典数据字典是学籍管理系统中用于描述数据元素和数据结构的工具。
它包含了系统中所使用的各种数据项的定义、属性和关系。
下面是学籍管理系统的数据字典示例:1.1 学生信息表(Student)- 学号(StudentID):学生的唯一标识符,采用数字形式。
- 姓名(Name):学生的姓名,采用字符串形式。
- 性别(Gender):学生的性别,采用枚举类型(男、女)。
- 年龄(Age):学生的年龄,采用数字形式。
- 班级(Class):学生所在的班级,采用字符串形式。
- 联系方式(Contact):学生的联系方式,采用字符串形式。
1.2 课程信息表(Course)- 课程编号(CourseID):课程的唯一标识符,采用数字形式。
- 课程名称(CourseName):课程的名称,采用字符串形式。
- 学分(Credit):课程的学分,采用数字形式。
- 授课教师(Teacher):课程的授课教师,采用字符串形式。
1.3 成绩信息表(Grade)- 学号(StudentID):学生的唯一标识符,采用数字形式。
- 课程编号(CourseID):课程的唯一标识符,采用数字形式。
- 成绩(Score):学生在该课程中的成绩,采用数字形式。
2. 数据流图数据流图是学籍管理系统中用于描述数据流动和处理过程的工具。
它由外部实体、数据流、处理过程和数据存储组成,用于展示系统中的数据流动和处理逻辑。
下面是学籍管理系统的数据流图示例:2.1 学生信息管理流程- 外部实体:教务处- 数据流:学生信息- 处理过程:学生信息录入、学生信息修改、学生信息查询- 数据存储:学生信息表2.2 课程信息管理流程- 外部实体:教务处- 数据流:课程信息- 处理过程:课程信息录入、课程信息修改、课程信息查询- 数据存储:课程信息表2.3 成绩信息管理流程- 外部实体:教务处- 数据流:成绩信息- 处理过程:成绩信息录入、成绩信息修改、成绩信息查询- 数据存储:成绩信息表3. 数据字典和数据流图的关系数据字典和数据流图是学籍管理系统中两个重要的工具,它们之间存在着密切的关系。
学生选课系统数据流图一、引言学生选课系统是为了方便学生在大学期间选择课程而设计的一种信息管理系统。
本文将以数据流图的形式来描述学生选课系统的功能和数据流动。
二、系统概述学生选课系统主要包括学生信息管理、课程信息管理、选课管理和成绩管理等模块。
学生可以通过系统查询课程信息、进行选课和退课操作,并查看自己的成绩。
三、数据流图下面是学生选课系统的数据流图,包括了系统的各个功能模块和数据流动的过程。
1. 学生信息管理模块学生信息管理模块用于管理学生的个人信息,包括学生的学号、姓名、性别、年龄等。
该模块接收来自学生的个人信息输入,并将其存储到学生信息数据库中。
2. 课程信息管理模块课程信息管理模块用于管理课程的相关信息,包括课程编号、课程名称、授课教师、上课时间、上课地点等。
该模块接收来自教务处的课程信息输入,并将其存储到课程信息数据库中。
3. 选课管理模块选课管理模块用于学生选课和退课的操作。
学生可以通过该模块查询可选课程列表,并选择自己感兴趣的课程进行选课。
选课管理模块接收学生的选课请求,并将其发送到选课信息数据库中进行处理。
同时,该模块还会将选课结果反馈给学生,包括选课成功或失败的提示。
4. 成绩管理模块成绩管理模块用于记录学生的课程成绩和计算学生的绩点。
该模块接收来自教师的成绩录入,并将成绩信息存储到成绩信息数据库中。
学生可以通过该模块查询自己的成绩和绩点情况。
四、数据流图说明1. 输入流- 学生个人信息输入:学生在注册或更新个人信息时输入的相关数据。
- 课程信息输入:教务处或教师输入的课程相关信息。
2. 输出流- 选课结果反馈:选课管理模块将选课结果反馈给学生,包括选课成功或失败的提示。
- 学生成绩和绩点查询结果:成绩管理模块将学生的成绩和绩点查询结果反馈给学生。
3. 数据存储- 学生信息数据库:用于存储学生的个人信息。
- 课程信息数据库:用于存储课程的相关信息。
- 选课信息数据库:用于存储学生的选课信息。
学生选课系统数据流图一、引言学生选课系统是现代教育管理系统中的重要组成部份,它为学生提供了便捷的选课服务。
本文将详细介绍学生选课系统的数据流图,包括系统的输入、输出、处理和存储。
二、数据流图的基本概念数据流图是一种图形化的工具,用于描述系统中的数据流动和处理过程。
它由数据流、处理器、数据存储和外部实体四个基本元素组成。
数据流图可以匡助我们更好地理解系统的功能和交互过程。
三、数据流图的层次结构为了更好地组织和描述学生选课系统的功能,我们将数据流图分为三个层次:0层数据流图、1层数据流图和2层数据流图。
1. 0层数据流图0层数据流图是对学生选课系统整体功能的概括性描述。
它包括以下主要元素:- 学生:学生是系统的主要用户,他们通过系统进行选课和查询课程信息。
- 选课系统:选课系统是学生进行选课的平台,它接收学生的选课请求,并返回选课结果。
- 课程信息:课程信息是系统存储的课程相关数据,包括课程名称、授课教师、上课时间等。
- 选课结果:选课结果是系统返回给学生的选课结果,包括选课成功或者失败的信息。
2. 1层数据流图1层数据流图对0层数据流图中的主要功能进行了详细描述。
它包括以下主要元素:- 学生管理:学生管理功能主要包括学生信息的录入、修改和删除。
- 课程管理:课程管理功能主要包括课程信息的录入、修改和删除。
- 选课管理:选课管理功能主要包括学生选课和退课的处理。
- 查询功能:查询功能主要包括学生查询课程信息和选课结果的功能。
3. 2层数据流图2层数据流图对1层数据流图中的功能进一步细化和描述。
它包括以下主要元素:- 学生信息录入:学生信息录入功能包括学生基本信息的录入,如学号、姓名、性别等。
- 学生信息修改:学生信息修改功能允许学生修改已录入的个人信息。
- 学生信息删除:学生信息删除功能允许学生删除已录入的个人信息。
- 课程信息录入:课程信息录入功能包括课程基本信息的录入,如课程名称、授课教师、上课时间等。
学籍管理系统的数据词典和数据流图一、数据流图:
管理人员
学教学生师生基基选本本课信信信息息息
教院师系
授基
课本
信信
息息
教师讲课信息
教师
学生选课信息
学籍管
理查问选课信息
学生
教师讲课信息
学
院课
系
程信信息息生
信
息
学生基本信息
教师信息
课程信息
院系信息
二、数据词典:
1.
名称:系
又名:无
描绘:院系的基本信息
构成:系={系号(dno)+系名(dna)+系负责人(deo)+专业数(dso)};地点:院系信息、学籍管理
2
名称:教师
又名:无
描绘:教师的基本信息
构成:教师={工号(gh)+姓名(xm)+性别(xb)+职称(zc)+工龄(gl)+
出生年代(csrq)+基本薪资(jbgz)};
地点:教师信息、学籍管理、教师讲课信息
3
名称:学生
又名:无
描绘:学生的基本信息
构成:学生={学号(xh)+姓名(xm)+性别(xb)+年纪(nl)};地点:学生信息、学籍管理、学生选课信息
4
名称:课程
又名:无
描绘:课程的基本信息
构成:课程= {课程代号(kcdh)+课程名( kcm)+课时数( kss)+必修课( bxk)
+学分(xf)};
地点:课程信息、学籍管理、教师讲课信息。
学生选课系统数据流图引言概述:学生选课系统是现代教育管理中不可或者缺的一部份,它通过数据流图的方式来描述系统中的各个组成部份之间的数据流动和处理过程。
本文将详细介绍学生选课系统的数据流图,包括系统的输入、输出以及各个功能模块之间的数据流动。
一、系统输入1.1 学生信息输入学生选课系统首先需要获取学生的基本信息,包括学生的姓名、学号、性别、年级等。
这些信息通过学生自己或者教务部门输入到系统中。
1.2 课程信息输入学生选课系统还需要获取课程的相关信息,包括课程名称、课程编号、授课教师、上课时间、上课地点等。
这些信息通常由教务部门或者相关教师输入到系统中。
1.3 学生选课意向输入学生选课系统还可以提供学生选课意向的输入功能,学生可以根据自己的兴趣和需求,选择自己希翼选修的课程。
这些选课意向可以作为系统的输入,用于后续的选课分配和排课。
二、系统输出2.1 选课结果输出学生选课系统会根据学生的选课意向和系统的规则,进行选课分配和排课。
选课结果将会以文本或者图形的形式输出给学生,告知他们已经成功选修的课程以及对应的上课时间和地点。
2.2 课程成绩输出学生选课系统还可以输出学生的课程成绩,包括平时成绩、考试成绩、总评成绩等。
这些成绩可以作为学生学业发展的参考依据,也可以用于学生绩点的计算和学业评价。
2.3 学生选课统计输出学生选课系统还可以输出学生选课的统计信息,包括选课人数、选课比例、热门课程等。
这些统计信息可以为教务部门提供参考,匡助他们进行教学资源的合理配置和课程的优化调整。
三、数据流动3.1 学生信息流动学生的基本信息在系统中流动,可以用于学生选课的验证和身份识别。
这些信息可能会在选课过程中被多个模块使用,例如选课分配模块、排课模块等。
3.2 课程信息流动课程的相关信息在系统中流动,可以用于学生选课的展示和选择。
这些信息可能会在选课过程中被多个模块使用,例如选课分配模块、排课模块等。
3.3 选课结果流动选课结果在系统中流动,可以用于学生选课结果的输出和展示。
学生选课系统数据流图一、引言学生选课系统是一个用于管理学生选课过程的信息系统。
通过该系统,学生可以浏览课程信息、选择感兴趣的课程,并提交选课申请。
教务处可以审核学生的选课申请,并将学生的选课结果记录在系统中。
本文将详细描述学生选课系统的数据流图,包括系统的各个功能模块以及数据流和数据存储。
二、数据流图的符号说明1. 实体(Entity):表示与系统交互的外部对象,如学生、教务处等。
2. 过程(Process):表示系统执行的操作或功能模块,如选课申请审核、课程信息管理等。
3. 数据流(Data Flow):表示数据在系统中的流动,如学生选课申请、课程信息等。
4. 数据存储(Data Store):表示系统中的数据存储位置,如学生选课记录、课程信息数据库等。
三、学生选课系统数据流图学生选课系统的数据流图可以分为以下几个功能模块:1. 学生选课功能模块该功能模块主要包括学生浏览课程信息、选择课程和提交选课申请等操作。
- 学生浏览课程信息:学生可以通过系统界面浏览可选的课程信息。
系统从课程信息数据库中读取课程信息,并将其显示给学生。
- 学生选择课程:学生可以在系统界面中选择感兴趣的课程。
学生选择的课程信息将传递给选课申请提交过程。
- 提交选课申请:学生在选择完课程后,可以提交选课申请。
选课申请将包含学生的个人信息和所选课程的信息。
选课申请将发送给选课申请审核过程。
2. 选课申请审核功能模块该功能模块主要包括教务处审核学生选课申请、记录选课结果等操作。
- 审核选课申请:教务处接收到学生提交的选课申请后,进行审核。
教务处将根据学生的选课情况和学校的选课规定,决定是否批准学生的选课申请。
- 记录选课结果:教务处审核完学生的选课申请后,将选课结果记录在系统中。
选课结果将包括学生的个人信息、所选课程的信息以及审核结果。
3. 课程信息管理功能模块该功能模块主要包括课程信息的添加、修改和删除等操作。
- 添加课程信息:教务处可以在系统中添加新的课程信息。
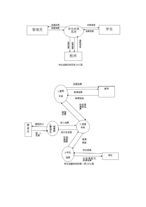
数据字典数据流条目学生模块名称:学生信息来源:学生去向:在线选课简述:按其信息进行选课组成:学号+姓名+课程名名称:课程信息来源:课程报名表去向:报名简述:处理录入的信息组成:课程号+课程名+教师名名称:统计信息来源:报名去向:学生报名表简述:统计后的信息组成:学生学号+姓名+课程名名称:查询课程信息来源:学生去向:成绩查询简述:传递查询条件组成:课程号+课程名名称:查询条件来源:成绩查询去向:成绩单简述:查询所要课程的相关成绩组成:学号+课程号+课程名名称:回显成绩来源:成绩查询去向:成绩单简述:查询所要课程的相关成绩组成:课程号+课程名+成绩名称:回显成绩来源:学生去向:成绩查询简述:查询所要课程的相关成绩组成:课程号+课程名+成绩教师模块名称:课程来源:教师去向:查询课表简述:所开设课程的查询组成:课程号+课程名名称:课程来源:查询课表去向:课程表简述:所开设课程的查询组成:课程号+课程名名称:学生信息来源:学生去向:成绩录入简述:输入学生信息,进行成绩录入组成:学号+姓名+课程名名称:课程及个人信息来源:教师去向:申请开课简述:教师所开某门课程的信息组成:课程号+课程名+教师名名称:排课结果来源:查询课表去向:教师简述:教师所开某门课程的信息显示组成:课程名+班级+人数名称:课程单来源:申请开课去向:开课单简述:课程的信息组成:课程号+课程名+教师名+班级名称:成绩单来源:成绩录入去向:成绩存储库简述:学生成绩信息组成:课程号+课程名+学生名+班级+成绩管理员模块数据流名称:录入学生,教师信息来源:管理员去向:管理信息简述:按照各用户条件对其信息进行修改组成:学生信息+教师信息+班级信息+课程信息数据流名称:修改学生教师信息来源:各管理信息去向:用户信息库简述:用户操作数据后存入用户库中的信息组成:编号+用户信息数据流名称:录入及修改班级,课程信息来源:班级,课程管理去向:选课信息库简述:用户操作数据后存入选课信息库中的信息组成:学号+课程号+成绩数据流名称:原始课程班级信息来源:选课信息库去向:课程管理简述:查询原始信息,及防止冲突组成:编号+课程名+教室号+人数数据流名称:排课结果来源:课程管理去向:管理员简述:查询原始信息,及防止冲突组成:课程号+课程名+教室号+人数数据处理条目编号:1.1名称:成绩查询输入流:成绩查询条件输出流:查询条件简述:对其成绩进行查询处理:按查询条件进行回显编号:1.3名称:报名输入流:学生信息,课程信息输出流:统计信息简述:填写学生相关信息处理:编号:1.2.1名称:查询课程信息输入流:排课信息,通知,教师反馈,修改的选课信息输出流:课程信息简述:对所选课程进行处理处理:将其信息添加到学生报名表中编号:1.2.2名称:进行选课输入流:课程信息,无冲突输出流:冲突简述:对所选课程进行处理处理:将其信息添加到学生报名表中编号:1.2.3名称:退选输入流:无输出流:增加选课信息,删除选课信息简述:对有冲突的课程进行重选或删除处理:将其信息删除到学生报名表中编号:2.1名称:查询课表输入流:课程输出流:课表简述:对课表及排课的处理处理:防止课程的冲突编号:2.2名称:申请开课输入流:课程及个人信息输出流:课程单简述:申请教室,申请开的课程处理:查看教室及课程的信息编号:2.3名称:成绩录入输入流:学生信息输出流:成绩单简述:对学生成绩进行管理处理:成绩的录入及更新编号:4.1.1名称:编排课程输入流:有冲突输出流:课程信息,教室占用信息,院系信息,教师,排课,备份课程简述:整体进行课程安排处理:安排教室,并防止冲突编号:4.1.2名称:备份课程表输入流:备份课表,课表信息输出流:无简述:备份课表处理:无编号:4.1.3名称:检测排课冲突输入流:排课信息输出流:无简述:检测所排课程是否有冲突处理:无编号:4.2名称:班级管理输入流:登陆,选课信息库输出流:选课信息库简述:对学校的教室进行安排处理:安排教室,并防止冲突编号:4.3名称:管理教师信息输入流:登陆,用户信息库输出流:用户信息库简述:教师信息相关处理处理:信息的添加,更新编号:4.4名称:学生信息管理输入流:登陆,用户信息库输出流:用户信息库简述:学生信息相关处理处理:信息的添加,更新。
学生成绩管理系统数据流程图及数据字典学生成绩管理系统数据流程图F1信息数据库学生信息P3录入、修改 S3教务处删除 S1学生成绩单成绩单成绩P1 单P1、P2 P4统计汇总学生信息 S2管理员P1选课、上课各科成绩 P2考核 F2成绩数据库P3查询成绩学生信息 P1选课、上课 S2管理员 S1学生各科成绩P2考核F1信息数据库学生信息 P1录入、修改删除各科成绩成绩单 S1管理员 S2教务P2统计汇总处F2成绩数据库数据流程图基本符号数据流数据处理数据文件的存储数据源或目的地学生成绩管理系统数据字典数据项数据项编号:1001 数据项名称:学生编号数据类型:字符型长度:11位取值范围:“00000000000”—“99999999999”说明:唯一标识每个学生、且不能重复数据存储数据文件的编号:F1 名称:学生信息表组成:学号+姓名+性别+系部班级关键字:学号、姓名记录数:5000左右说明:登记学生信息数据文件的编号:F2 名称:学生选课表组成:学号+姓名+系部班级+课程编号+课程名称关键字:姓名、课程名称记录数:5000左右说明:学生选课课程信息存储数据文件的编号:F3 名称:学生成绩表组成:学号+姓名+系部班级+课程名称+成绩关键字:学号、成绩记录数:5000左右说明:存放学生各科考试成绩学生成绩管理系统决策树下面是赠送的保安部制度范本,不需要的可以编辑删除!!!!谢谢!保安部工作制度一、认真贯彻党的路线、方针政策和国家的法津法觃,按照####年度目标的要求,做好####的安全保卫工作,保护全体人员和公私财物的安全,保持####正常的经营秩序和工作秩序。
二、做好消防安全工作,认真贯彻“预防为主”的方针,教育提高全体人员的消防意识和防火知识,配备、配齐####各个楼层的消防器材,管好用好各种电器设备,确保####各通道畅通,严防各种灾害事故的发生。
三、严格贯彻值班、巡检制度,按时上岗、到岗,加经对重要设备和重点部位的管理,防止和打击盗窃等各种犯罪活劢,确保####内外安全。
学生选课系统数据流图引言概述:学生选课系统是现代教育管理中不可或者缺的一部份。
它通过数据流图的方式展示了系统中数据的流动和处理过程,匡助学校和学生更好地管理和选择课程。
本文将详细介绍学生选课系统数据流图的结构和功能。
一、学生选课系统数据流图的基本结构1.1 输入流程:- 学生信息输入:学生通过系统输入个人信息,包括姓名、学号、年级等。
- 课程信息输入:教务处或者教师将课程信息录入系统,包括课程名称、课程编号、授课教师等。
- 学生选课信息输入:学生根据自己的需求选择课程,并将选课信息输入系统。
1.2 处理流程:- 学生选课审核:系统首先对学生选课信息进行审核,判断是否符合选课规则,如是否有时间冲突等。
- 课程安排:系统根据学生选课信息和课程信息,生成每一个学生的课程安排,包括上课时间、上课地点等。
- 学生选课结果反馈:系统将学生选课结果反馈给学生,告知是否成功选课。
1.3 输出流程:- 学生选课结果输出:系统将学生选课结果输出给学生,包括成功选课的课程信息和上课安排。
- 教务处报表输出:系统生成选课报表,包括每门课程的选课人数、选课情况统计等,供教务处进行统计和分析。
二、学生选课系统数据流图的功能2.1 学生信息管理:- 学生信息录入:学生通过系统输入个人信息,方便学校管理学生信息。
- 学生信息查询:学校和教师可以通过系统查询学生的个人信息,了解学生的学籍情况。
2.2 课程信息管理:- 课程信息录入:教务处或者教师将课程信息录入系统,方便学生选择课程。
- 课程信息修改:教务处或者教师可以通过系统修改课程信息,如调整授课时间、地点等。
2.3 选课管理:- 选课规则设置:学校可以通过系统设置选课规则,如限制每一个学生选课门数、限制时间冲突等。
- 选课结果查询:学生可以通过系统查询自己的选课结果,了解自己成功选课的课程和上课安排。
三、学生选课系统数据流图的优势3.1 提高效率:学生选课系统通过自动化处理选课流程,减少了人工操作,提高了选课效率。
学生选课系统数据流图一、引言学生选课系统是现代教育管理系统中的重要组成部份,它通过计算机技术和网络通信技术,为学生提供了方便快捷的选课服务。
本文将按照学生选课系统的功能和流程,设计相应的数据流图,以便更好地理解和分析系统的运行原理。
二、数据流图的构成数据流图是一种图形化的工具,用于描述信息系统中数据的流动和处理过程。
它由一系列符号和箭头组成,表示数据的流动方向和处理过程。
在学生选课系统中,主要包括以下几个重要的构成部份:1. 实体(Entity):表示系统中的各种外部实体,如学生、教师、课程等。
实体通常用矩形框表示。
2. 数据流(Data Flow):表示数据在系统中的流动过程,如学生选课请求、课程信息等。
数据流通常用箭头表示。
3. 过程(Process):表示对数据进行处理的过程,如选课、评分等。
过程通常用圆角矩形框表示。
4. 数据存储(Data Store):表示数据在系统中的存储位置,如学生信息、课程表等。
数据存储通常用平行四边形表示。
三、学生选课系统数据流图的设计根据学生选课系统的功能和流程,我们可以设计出以下的数据流图:1. 学生选课系统总体数据流图学生选课系统总体数据流图是对整个系统的总体描述,它包括了学生选课的整个过程。
下面是一个简化的示例:(图示)在该数据流图中,学生通过选课请求将选课信息发送给系统,系统根据学生的选课请求进行处理,并将选课结果返回给学生。
2. 学生选课请求数据流图学生选课请求数据流图是对学生选课请求的详细描述,它包括了学生选课的具体流程。
下面是一个简化的示例:(图示)在该数据流图中,学生通过选课请求将选课信息发送给系统,系统首先验证学生的身份和选课资格,然后根据学生的选课要求和课程信息进行匹配,最后生成选课结果并返回给学生。
3. 课程信息管理数据流图课程信息管理数据流图是对课程信息管理过程的详细描述,它包括了课程信息的录入、修改和查询等操作。
下面是一个简化的示例:(图示)在该数据流图中,教师通过课程信息管理界面将课程信息录入系统,系统将课程信息存储在数据存储中,并提供查询和修改功能供教师使用。
管理信息系统-教务系统分析,数据字典,流程图第1章前⾔在学校,教务管理⼯作是⾮常重要的⼀项⼯作,它负责整个学校的⽇常教学安排,学⽣的学籍管理等等。
以前都是⼈⼯进⾏操作。
随着学校规模扩⼤,教务处的教务管理⼯作量⼤⼤加重。
随着计算机应⽤的发展,教务⼯作者急切希望能够将⼤部分繁琐的⼯作交由计算机来处理,减轻⼈⼯的压⼒并提⾼⼯作效率。
近年来,随着社会对⼈才需求的不断提⾼,以培养⼈才为根本⽬标的教育教学活动正在进⾏前所未有的改⾰,因此对教学管理提出来了更⾼的要求。
⽤传统的⼈⼯⽅法进⾏愈来愈多的教务管理⼯作,不但效率低下,⽽且容易出错,浪费⼤量的⼈⼒财⼒。
为了提⾼教务⼯作的效率,很多单位、部门、公司都曾着⼿开发了教务管理软件,但由于各⾼校具体情况不同,管理⽅法也存在很⼤差异,很难做出⼀套各⾼校普遍实⽤的教务管理软件。
鉴于此,依据我校具体设置、管理⽅法,以教学计划和师⽣管理为核⼼,制作⼀套实⽤性强的教务管理系统就显得⼗分重要了,从⽽以技术的现代化,使我校教学管理向科学化、合理化、规范化推进。
第7章系统概述系统特点随着教育的发展,学校的教育⽅针政策逐渐改变:学⽣⾃主选择专业及专业⽅向与课程的选修机制、实验预约、成绩审核、学分制等管理⽅式的改⾰向传统管理软件提出了新的挑战。
⾼校教务管理⼯作是⾼等教育中的⼀个极为重要的环节,是整个院校管理的核⼼和基础。
⾯对种类繁多的数据和报表,⼿⼯处理⽅式已经很难跟上现代化管理的步伐,教务管理系统的出现较好地解决了⼀些问题。
教务系统有以下这些特点:(1)⾼效性。
加快了信息发布速度,减少了⼈⼒的开销,缩短了从采集到发布的时间周期,⽽且由于管理周期缩短和⼈⼒开销的减少,可以在⾼校信息化中获得更多的好处。
(2)⾼实⽤性。
由于教务管理⼯作不同于其它⾏业的管理⼯作,管理软件在市场上没有专业的管理软件;找软件开发公司单独开发软件所需费⽤⼜太⾼,⾄少需要⼏千元,并且实⽤性不强,⽇后的维护升级等问题也不易解决。
改进后
上图为改进前er图
课程—(m:1)—》学生:
课程—(1:1)-》教室
课程-(1:1)-》教师
数据字典
学生=学号+登录密码+学生姓名+性别+班号
课程=课程编号+课程名称+学时数+学分+上课地点+上课时间+上课教师教师=教室编号+教师名称+教师职称+上课时间+上课地点+课程名称
教室=教室编号+课程名称+课程时间+上课教师+容纳人数+多媒体情况
数据流条目
学生模块
名称:学生信息
来源:学生
去向:在线选课
简述:按其信息进行选课
组成:学号+姓名+课程名
名称:课程信息
来源:课程报名表
去向:报名
简述:处理录入的信息
组成:课程号+课程名+教师名
名称:统计信息
来源:报名
去向:学生报名表
简述:统计后的信息
组成:学生学号+姓名+课程名
名称:查询课程信息
来源:学生
去向:成绩查询
简述:传递查询条件
组成:课程号+课程名
名称:查询条件
来源:成绩查询
去向:成绩单
简述:查询所要课程的相关成绩
组成:学号+课程号+课程名
名称:回显成绩
来源:成绩查询
去向:成绩单
简述:查询所要课程的相关成绩
组成:课程号+课程名+成绩
名称:回显成绩
来源:学生
去向:成绩查询
简述:查询所要课程的相关成绩
组成:课程号+课程名+成绩
教师模块
名称:课程
来源:教师
去向:查询课表
简述:所开设课程的查询
组成:课程号+课程名
名称:课程
来源:查询课表
去向:课程表
简述:所开设课程的查询
组成:课程号+课程名
名称:学生信息
来源:学生
去向:成绩录入
简述:输入学生信息,进行成绩录入组成:学号+姓名+课程名
名称:课程及个人信息
来源:教师
去向:申请开课
简述:教师所开某门课程的信息
组成:课程号+课程名+教师名
名称:排课结果
来源:查询课表
去向:教师
简述:教师所开某门课程的信息显示
组成:课程名+班级+人数
名称:课程单
来源:申请开课
去向:开课单
简述:课程的信息
组成:课程号+课程名+教师名+班级
名称:成绩单
来源:成绩录入
去向:成绩存储库
简述:学生成绩信息
组成:课程号+课程名+学生名+班级+成绩
管理员模块
数据流名称:录入学生,教师信息
来源:管理员
去向:管理信息
简述:按照各用户条件对其信息进行修改
组成:学生信息+教师信息+班级信息+课程信息
数据流名称:修改学生教师信息
来源:各管理信息
去向:用户信息库
简述:用户操作数据后存入用户库中的信息组成:编号+用户信息
数据流名称:录入及修改班级,课程信息
来源:班级,课程管理
去向:选课信息库
简述:用户操作数据后存入选课信息库中的信息组成:学号+课程号+成绩
数据流名称:原始课程班级信息
来源:选课信息库
去向:课程管理
简述:查询原始信息,及防止冲突
组成:编号+课程名+教室号+人数
数据流名称:排课结果
来源:课程管理
去向:管理员
简述:查询原始信息,及防止冲突
组成:课程号+课程名+教室号+人数
数据处理条目
编号:1.1
名称:成绩查询
输入流:成绩查询条件
输出流:查询条件
简述:对其成绩进行查询
处理:按查询条件进行回显
编号:1.3
名称:报名
输入流:学生信息,课程信息
输出流:统计信息
简述:填写学生相关信息
处理:
编号:1.2.1
名称:查询课程信息
输入流:排课信息,通知,教师反馈,修改的选课信息输出流:课程信息
简述:对所选课程进行处理
处理:将其信息添加到学生报名表中
编号:1.2.2
名称:进行选课
输入流:课程信息,无冲突
输出流:冲突
简述:对所选课程进行处理
处理:将其信息添加到学生报名表中
编号:1.2.3
名称:退选
输入流:无
输出流:增加选课信息,删除选课信息简述:对有冲突的课程进行重选或删除处理:将其信息删除到学生报名表中
编号:2.1
名称:查询课表
输入流:课程
输出流:课表
简述:对课表及排课的处理
处理:防止课程的冲突
编号:2.2
名称:申请开课
输入流:课程及个人信息
输出流:课程单
简述:申请教室,申请开的课程
处理:查看教室及课程的信息
编号:2.3
名称:成绩录入
输入流:学生信息
输出流:成绩单
简述:对学生成绩进行管理
处理:成绩的录入及更新。