筹资与投资管理流程图
- 格式:xls
- 大小:111.50 KB
- 文档页数:6
*****产业创业投资基金投资管理操作流程(暂行)二○○九年十月二十二日目录第一章投资决策权限第二章投资决策的操作流程第三章投资后管理第四章风险管理前言为了使*****创业投资基金的运作规范化、科学化、专业化,根据*****产业创业投资基金(以下简称“有限合伙基金”)的有限合伙协议、**创业投资基金管理有限公司(以下简称“基金管理公司”)的公司章程,特制定本办法,以规范、指导有关投资运营工作事宜。
第一章投资决策权限第一条投资管理部1、负责项目搜集、项目初步筛选(直观筛选)、项目调查、项目再筛选(一般筛选)、项目评估。
2、将通过初选、评估的拟直接投资项目的相关材料上报基金管理公司总经理办公会审议。
3、根据基金管理公司总经理办公会意见,组织、协调有限合伙基金投资决策委员会独立确定的两个以上相关领域投资专家,对拟直接投资项目进行评审,并提出书面评审意见。
第二条风险控制部建立并根据“风险评估指标体系”,会同投资管理部、综合财务部以及相关财务、法律咨询部门,对(拟)直接投资项目在投资决策、投资后管理过程中的各个阶段的风险,进行系统的调查、分析、评估,并提出相应的建议。
第三条基金管理公司总经理1、主持基金管理公司总经理办公会,对通过投资管理部筛选和评估的拟直接投资项目进行审议,并将通过基金管理公司总经理办公会审议的拟直接投资项目,报请有限合伙基金投资决策委员会独立确定的两个以上相关领域投资专家评审。
2、根据投资管理部、风险控制部对拟直接投资项目的建议,以及相关领域投资专家对拟直接投资项目提出的书面评审意见,对拟直接投资项目提出否决建议,或提出投资建议,并报有限合伙基金投资决策委员会审批。
3、经有限合伙基金以及基金管理公司授权,基金管理公司总经理负责签署经有限合伙基金投资决策委员会批准的直接投资项目的有关合同和协议。
4、负责执行和实施经有限合伙基金投资决策委员会批准的直接投资计划和方案。
第四条有限合伙基金投资决策委员会1、负责选聘有关领域投资专家对投资管理部上报的拟直投项目进行评审。
投资管理流程图 人力资源 投资项目实施 党委会批准立项 子公司对投资项目的投资决定或决议 项目投资方案 项目建议书 财务分析意见 法律意见书 有关合作协议草案 其他文件 投发部 项目建议书
法律办 财务部 总经理办公会 投资项目评审论证 党委会 决策 董事会 表决 政府安排投资项目
(集团决策报政府职能部门审批) 临时项目
审计部 总经理办公会
组织实施
纪检监察
储备项目
中介机构论证
(必要时)
国资委备案
项目储备 立项 可行性论证 党委会决策 董事会表决 国资委备案 总经办评审。
投资业务操作流程第一章总则第一条为加强投资管理,规范投资行为,防范投资风险,提高投资资产质量和经营效益,促进投资工作规范化、制度化和科学化,根据国家有关法律法规和《投资管理基本制度》,制定本流程。
第二条本流程是公司办理投资业务必须遵循的基本规则,是规范投资业务运作程序的基本依据。
第三条投资业务操作遵循审投分离的原则,实行第一责任人和投资环节责任人制度。
第四条投资必须坚持以下原则:1、投资自主经营、自担风险的原则,不受任何单位和个人的干涉,不得接受任何单位和个人强令融资。
2、“安全性、流动性、效益性”协调统一的原则。
3、以服务中小企业为宗旨,坚持“小额、流动、分散”的投资原则。
第二章投资程序第五条投资业务的基本程序:客户申请→受理与调查→审查→审议与审批→与客户签订合同→投资款发放→投后管理→投资收回。
从申请到受理不得超过1个工作日;投资调查原则上不超过3个工作日;审查原则上不超过2个工作日;审批原则上不超过2个工作日;审批后的投资款须当日发放。
第六条投资业务流程:(一)受理与调查。
客户向市场部提出融资申请,市场部受理并进行初步认定,对符合基本条件的投资业务进行调查,调查结束后将调查材料送审查人审查。
(二)审查。
审查人对市场部提交的调查材料进行审查,提出审查意见,报评审会审议。
(三)审议与审批。
评审会审议后,有权审批人根据审议结果进行审批。
(四)总经理审批后,市场部与客户签订相关合同,完善相关手续后发放投资款,负责各项投后管理工作。
第三章项目投资责任人第七条项目投资业务管理实行第一责任人和投资环节主责任人制度。
第八条项目负责人为第一责任人;项目调查主责任人对投资业务投前调查的真实性负责;审查主责任人对投资业务审查的合规合法性和审查结论负责;审批主职责人对投资业务的审批负责;第一责任人对投资业务发生后监管、本息收回和债权保全负责。
第九条主责任人界定。
市场部负责人为调查主责任人和投后管理主责任人,参与调查人员为次要责任人;风控部门负责人为审查主责任人;评审会和总经理为审批主责任人。
企业内部控制流程——筹资9.1 筹资与授权审批控制9.1.1 筹资业务管理流程1.筹资业务管理流程与风险控制图筹资业务管理流程与风险控制 不相容责任部门/责任人的职责分工与审批权限划分 业务风险 总经理 如果筹资活动违反国 家法律、法规,可能 遭受外部处罚、经济 损失和信誉损失或资 金冗余及债务结构不 合理,就可能造成筹 资成本过高 4 资金回收 如果债务过高、资金 安排不当、不能按期 偿债、资金管理不当 等,就会造成资金流 失或因筹资记录不真 实, 而使得账实不符、 筹资成本信息不真实 如果 《筹资分析报告》 未经适当审批或超越 授权审批,可能产生 重大差错或舞弊、欺 诈行为而使企业遭受 损失 结束 审批 准 审核 审核 审批 准 审核 审核 5 签订《借款 协议》 归还金融 机构本息 6 筹资账务 处理 7 8 编制《筹资 分析报告》 8 筹资考核 D3 D2 审批 准 审核 审核 财务总监 财务部经理 财务部 开始 1 编制 《筹资计划》 筹资主管 段 阶2 执行《筹资 计划》 3 资金分配D12.筹资业务管理流程控制表筹资业务管理流程控制 控制事项 详细描述及说明 1.财务部每年根据下年度初步资金预算及有关资金安排预测资金使用情况,编制筹资计 划报财务部经理、财务总监审核并报总经理审批 2.筹资主管根据筹资计划办理与相关金融机构的借款或融资业务手续,借款合同或融资 D1 合同的签订必须经总经理审批 3.筹资主管根据投资计划或各所属单位的资金使用计划,做好内部资金分割使用管理工 阶 作,并签订《分割使用协议》 段 4.财务部根据内部资金《分割使用协议》做好各所属单位资金及利息的回收工作 控 5.财务部与金融机构签订《借款协议》 ,做好借款本息的核对与管理工作,报财务部经理、 制 D2 财务总监审核并由总经理审批通过后,归还金融机构的本息 6.财务部根据审核后的相关会计凭证做好账务处理工作 7.筹资主管根据资金使用状况及金融市场的变化编制《筹资分析报告》 ,报财务部经理、 D3 财务总监审核并报总经理审批 8.财务部经理定期或不定期对筹资主管的筹资工作进行考核,并将考核意见上报总经理 相 关 规 范 应建 规范 参照 规范 筹资业务偿付控制制度 筹资决策审批过程书面记录制度 《企业会计准则—基本准则》 《企业内部控制应用指引》 筹资计划 文件资料 借款协议 筹资分析报告 责任部门 及责任人 财务部 财务经理、筹资主管、总经理、财务总监9.1.2 筹资授权批准流程1.筹资授权批准流程与风险控制图筹资授权批准流程与风险控制 不相容责任部门/责任人的职责分工与审批权限划分 业务风险 总经理 如果筹资授权未以授 权书为准,而是逐级 授权、口头通知,可 能产生重大差错或舞 弊、欺诈行为,从而 使企业遭受损失 指导 开始 1 拟定《筹资 业务授权书》 2 全权负责 筹资活动 3 负责具体的 筹资活动 4 编制《筹资 预算》 《筹 与 资方案》 如果筹资活动不符合 《公司法》和《证券 法》规定,可能使企 业遭受外部处罚、经 济损失和信誉损失 否 合理 如果筹资记录错误, 可能造成债务和筹资 成本信息不真实,从 而增加筹资管理成本 结束 7 记录并 保存结果 D3 是 6 审批 准 审核 D1 财务总监 财务部经理 筹资主管 相关部门 段 阶5 分析筹资 活动收益 D22.筹资授权批准流程控制表筹资授权批准流程控制 控制事项 1.总经理拟定《筹资业务授权书》 2.总经理授权财务部经理全权负责筹资活动 D1 3.财务部经理授权筹资主管负责具体的筹资活动,包括编制《筹资预算》与《筹资方案》 4.筹资主管编制《筹资预算》 ,并针对具体筹资程序或筹资活动制定筹资方案,财务部经 阶 段 控 制 D2 理进行相应的指导 5. 《筹资预算》和《筹资方案》得到财务总监的审核和总经理的审批后,企业应聘请法律 顾问和财务顾问共同对该项筹资活动对未来净收益增加的可能性及筹资方式的合理性进 行审核 6.如果《筹资预算》和《筹资方案》不合理,筹资主管应对筹资预算和筹资方案重新修 订;如果合理,应及时保管资料并执行《筹资预算》和《筹资方案》 7.筹资主管负责以书面形式记录审核结果,并特别注明筹资的执行程序及应当办理的各 D3 项手续,以便于今后修改 相 关 规 范 应建 规范 参照 规范 筹资授权批准管理制度 筹资决策审批过程书面记录制度 《企业会计准则—基本准则》 《企业内部控制应用指引》 《筹资业务授权书》 文件资料 《筹资预算》 《筹资方案》 责任部门 及责任人 财务部 总经理、财务总监、财务部经理、筹资主管 详细描述及说明9.2筹资决策与审批控制9.2.1 筹资决策管理流程1.筹资决策管理流程与风险控制图筹资决策管理流程与风险控制 不相容责任部门/责任人的职责分工与审批权限划分 业务风险 总经理 如果《筹资计划》没 有依据上期预算的 完成情况编制, 可能 导致筹资决策失误, 进而造成企业负债 过多, 增加财务风险 审批 准 审核 审核 1 编制 《筹资计划》 执行《筹资 计划》 3 编制《筹资 分析报告》 4 提出筹资业 务管理建议 审批 准 如果筹资活动的效益 未与筹资人员的绩效 挂钩,则会导致筹资 决策责任追究时无法 落实到具体的部门及 人员 结束 5 筹资考核 D3 审核 审核 2 提供账务 处理的凭证 开始 D1 财务总监 财务部经理 筹资主管 筹资专员 段 阶如果 《筹资分析报告》 未经适当审批或超越 授权审批,可能造成 企业经济负担 审批 准 审核 审核D22.筹资决策管理流程控制表筹资决策管理流程控制 控制事项 详细描述及说明 1.财务部筹资主管每年根据公司下年度的利润预算、投资计划及有关资金安排预测公司 D1 阶 段 控 制 D2 的自由资金和长短期融资规模,编制《筹资计划》 ,按规定权限报批后执行2.筹资专员将相关凭证给财务部相关人员进行账务处理 3.筹资主管根据公司资金状况和金融业务市场的变化编制《筹资分析报告》 4.提出筹资业务管理建议,报送财务部经理、财务总监和总经理审核、审批 D3 5.筹资主管负责对筹资活动的执行进行考核,提出考核建议并进行考评 筹资决策流程管理制度相 关 规应建 筹资决策责任追究制度 规范 筹资方案制定办法 参照 《企业内部控制应用指引》 《企业会计准则—基本准则》 《筹资计划》范 规范文件资料 《筹资分析报告》 责任部门 及责任人 财务部 总经理、财务总监、财务部经理、筹资主管、筹资专员9.2.2 重大筹资方案审批流程1.重大筹资方案审批流程与风险控制图重大筹资方案审批流程与风险控制 不相容责任部门/责任人的职责分工与审批权限划分 业务风险 董事会 如果筹资方案 的选择没有考 虑企业的经营 需要,筹资结构 安排就会不合 理,筹资收益会 少于筹资成本, 可能造成企业 到期无法偿还 利息 总经理 财务总监 筹资主管 开始 1 编写两种 以上《筹资 方案》 2 审核并选择 最优方案 3 组织评估 小组 4 组织进行 初步分析 5 筹资成本和 风险评估 6 编制《方案 可行性报告》 7 确定筹资 方案 8 选择筹资 对象 D2 协调 D1 政府主管部门 相关部门 段 阶未 通 过 审批 通 过如果筹资没有 考虑筹资成本 和风险评估等 因素,可能产生 重大差错、舞弊 或欺诈行为,从 而使企业遭受 损失 如果筹资决策 失误,可能造成 企业资金不足、 资金冗余或债 务结构不合理 审批 审核未 通 过 审批 通 过配合D3结束2.重大筹资方案审批流程控制表重大筹资方案审批流程控制 控制事项 详细描述及说明 1.筹资主管编写两种以上的《筹资方案》 ,并报财务总监审核 2.财务总监审核并选择最优方案,并将选出的最优方案报总经理审批;如果无法选出最 D1 优方案,则将《筹资方案》返回筹资主管,重新对《筹资方案》进行修改 3. 《筹资方案》经总经理审批后,由财务总监组织评估小组对《筹资方案》进行评估 阶 4.评估小组综合考虑筹资成本和风险评估等因素,编制《筹资方案风险评估报告》并对 段 D2 控 5.评估小组对筹资方案中的筹资成本和风险进行评估,相关部门进行协调 制 6.财务总监编制《方案可行性报告》 ,并报总经理审核、董事会审批,相关部门予以配合 7. 《方案可行性报告》得到总经理审批后,财务总监确定最终的筹资方案,并报政府主管 D3 部门进行审批 8.筹资主管根据通过的《筹资方案》开展筹资工作,选择筹资对象 相 关 规 范 应建 《筹资方案制定办法》 规范 参照 规范 《企业内部控制应用指引》 《企业会计准则—基本准则》 《筹资方案》 文件资料 《方案可行性报告》 《筹资方案风险评估报告》 责任部门 及责任人 财务部、政府主管部门、相关部门 总经理、财务总监、筹资主管 筹资方案进行比较分析。
公司投融资项目操作流程图
客户:提交《委托投融资申请登记
表》和融资所需基本资料
否决初审
受理
邀请客户来访洽谈
否决到企业实地调查/风险评估
补充资料
否决分管总经理:复审
董事会讨论/投融资受理确认
签订正式投融资合同
落实资金到位
注:公司关于时间的说明:
1、收到企业《委托投融资申请登记表》后,两个小时内电话回访操作可行性;
2、收到企业基本齐全投融资资料后,两个工作日内完成初审给出电话受理回复;
3、自初步受理到完全确定投融资受理,在5个工作日内完成。
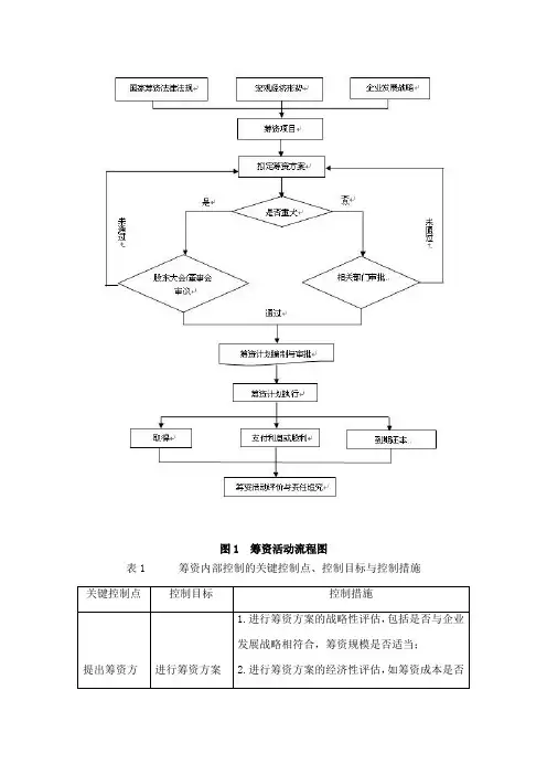
图1 筹资活动流程图
表1 筹资内部控制的关键控制点、控制目标与控制措施关键控制点控制目标控制措施
提出筹资方进行筹资方案1.进行筹资方案的战略性评估,包括是否与企业发展战略相符合,筹资规模是否适当;
2.进行筹资方案的经济性评估,如筹资成本是否
用 4.加强债务偿还和股利支付环节的监督管理;
5.评价筹资活动过程,追究违规人员责任。
图2 投资活动业务流程图
表2 投资业务的关键风险控制点、控制目标和控制措施
表3 资金运营内部控制的关键风险控制点、控制目标及控制措施。