工艺方案及设备选型管理规定
- 格式:docx
- 大小:49.28 KB
- 文档页数:8
项目部机械设备、工器具管理制度范本替换词(无含首先、其次、另外、总之、最后等分段语句):1. 引言本制度旨在规范项目部机械设备和工器具的管理,保障施工工艺的顺利进行,提高施工效率和质量。
2. 设备管理职责2.1 项目经理项目经理负责对项目部机械设备和工器具进行统一管理,确保设备的正常使用和维护。
2.2 设备管理员设备管理员负责设备的入库、出库以及日常巡检和维护工作,确保设备的安全和有效使用。
2.3 施工班组施工班组负责设备的使用和保管,确保设备按照规定使用和归还。
3. 设备管理流程3.1 设备采购3.1.1 项目经理根据项目需要编制设备采购计划,并提交给相关部门审批。
3.1.2 采购部门负责根据采购计划进行设备的公开招标或选择合适的供应商进行采购。
3.1.3 设备采购后,采购部门将设备交由设备管理员进行入库登记,并标注设备的名称、型号、数量和购买日期等信息。
3.2 设备领用3.2.1 施工班组负责根据施工需要向项目经理提出设备领用申请。
3.2.2 项目经理在审批通过后,将设备领用单交由设备管理员进行设备的出库登记,并记录设备的领用日期和归还日期。
3.3 设备使用和保管3.3.1 施工班组在领用设备后,应按照施工要求正确使用设备,并严格按照设备的使用说明书进行操作。
3.3.2 施工班组应定期对设备进行巡检和维护,并及时上报设备故障或异常情况。
3.3.3 施工班组负责设备的保管,确保设备的安全和完好无损。
3.3.4 施工班组在使用完设备后,应及时归还设备,并由设备管理员进行设备的入库登记。
3.4 设备维修和报废3.4.1 设备维修应由设备管理员负责安排维修人员进行维修,并记录设备维修的情况和维修时间等信息。
3.4.2 对于无法修复的设备,设备管理员应按照规定程序进行报废,报废设备应标示明确并进行安全处理。
4. 设备员工培训4.1 设备管理员应定期组织机械设备和工器具的使用培训,内容包括设备的正确使用方法、常见问题解决方法等。
工艺和设备变更管理规定一、前言为确保企业生产设备和工艺的产出质量稳定,提高企业管理水平,防止变更工艺和设备对生产安全和品质生产取得不利影响,需要建立工艺和设备变更管理规定。
本文将对工艺和设备变更管理流程、变更策略、变更评估、变更实施等方面进行规定,以保障企业正常运作。
二、工艺和设备变更管理流程1.需求申请:生产部门或项目组提出工艺或设备变更的需求申请,需包含更改的原因、工艺或设备的认真说明和变更方案等信息。
2.评估策划:产品技术部门或设备维护人员组织评估并确定是否需要进行工艺或设备更改,并进行工艺或设备变更方案的编制。
3.变更审批:企业领导或相关部门负责人进行变更方案的审批。
4.变更执行:设备维护和修理人员为设备变更供给支持;生产部门进行工艺更改的执行。
5.验收确认:企业领导或相关部门负责人对工艺或设备变更进行验证,并确认变更是否成功执行。
三、变更策略1.变更管理应围绕源头掌控,即产品的设计、设备选型及工艺的订立。
2.变更应依照设计变更、设备更换、工艺调整的步骤实施。
3.变更风险评估应在变更实施前进行。
4.变更方案应与现有工艺和设备的品质标准相符合,同时充足新标准及市场要求。
四、变更评估1.评估范畴:包括产品、工艺、设备、工装等。
2.评估内容:对变更的必要性、安全性、经济性、可用性等进行综合评价。
3.评估方法:可采纳风险评估、经济分析以及实际试验等方法。
五、变更实施1.考虑需要动员多部门、多人员共同完成,需订立认真的实施计划。
2.实施过程中应定期进行变更情况反馈和实施效果评价。
六、变更监控与掌控1.订立变更计划前,应进行全面的风险分析和评估,并严格按计划执行。
2.严格执行变更流程,严格依照标准和程序操作,防范变更过程中可能发生的问题和风险。
3.对变更实施过程中的问题和异常情况,应立刻进行调查,并适时矫正,以确保生产安全和品质。
七、总结本文对工艺和设备变更管理规定进行了阐述,对企业建立完善的工艺和设备变更管理流程,提高管理水平、规避安全问题,具有肯定的引导意义。
工艺、设备安全管理制度范文一、目的和依据该工艺、设备安全管理制度的目的是为了保障企业工艺过程和设备的安全性,防止事故和灾害的发生,并减少人身伤害和财产损失。
本制度的依据包括相关国家法律法规、标准和规范,以及企业的实际情况和安全管理需求。
二、适用范围该管理制度适用于企业的所有工艺过程和设备,无论其规模大小和产品种类。
三、管理职责1. 企业负责人:负责制定并组织实施工艺、设备安全管理制度,并确保其有效运行;对工艺、设备安全管理工作进行监督检查,及时纠正和改进;为工艺、设备安全管理提供必要的资源和支持。
2. 安全管理部门(或安全负责人):负责组织制定和宣传工艺、设备安全管理制度;负责对工艺、设备进行安全评估和监督检查;及时处理和报告工艺、设备安全事故。
3. 相关部门负责人:负责制定并组织实施本部门的工艺、设备安全管理制度;对本部门的工艺、设备进行安全监督和检查;配合安全管理部门的工作,及时改进安全管理工作。
四、工艺、设备安全管理的基本要求1. 安全意识:所有从事工艺过程和操作设备的员工都应具备安全意识,熟悉安全操作规程和紧急措施,并严格按照规定执行。
2. 安全培训:企业应定期开展安全培训,包括工艺、设备的安全操作和紧急救援等方面的知识,确保员工具备必要的安全知识和技能。
3. 设备维护和检修:企业应定期对工艺设备进行维护和检修,确保其运行状态良好,不存在安全隐患。
4. 安全管理制度:企业应建立健全工艺、设备安全管理制度,包括安全操作规程、紧急救援预案、事故报告制度等。
5. 安全防护设施:企业应配备必要的安全防护设施,如防护栏、消防设备等,以确保员工的人身安全。
六、工艺、设备安全管理的措施和方法1. 危险源辨识与评估:对工艺过程和设备进行全面的危险源辨识和评估,并根据评估结果采取相应的措施进行控制和管理。
2. 紧急救援预案:制定紧急救援预案,明确各种紧急情况下的应急处理措施和责任分工,确保在事故发生时能够迅速有效地进行救援和处置。
工艺设计及设备选型方案一、前言在制造业中,工艺设计及设备选型是至关重要的环节,直接关系到产品质量、生产效率以及成本控制。
本文将就工艺设计及设备选型的相关内容进行探讨。
二、工艺设计1. 工艺设计的定义及重要性工艺设计是指对产品的生产过程进行规划和设计,包括工艺路线、工序安排、操作方法、工装设计等。
良好的工艺设计能够提高生产效率,降低成本,提高产品质量。
2. 工艺设计的原则•简单易行:工艺设计应尽量简化生产过程,减少不必要的工序,提高生产效率。
•可行性:工艺设计要考虑生产设备、人力资源、原材料等方面的限制,保证工艺的实施。
•稳定性:工艺设计要求稳定可靠,能够在长期生产中保持一致的质量水平。
•经济性:工艺设计要符合成本控制原则,尽可能降低生产成本。
3. 工艺设计的步骤1.产品分析:对产品进行详细分析,确定生产工艺的基本要求。
2.工艺路线设计:确定生产工艺的流程和顺序。
3.工序安排:确定各工序的操作方法、所需时间和人力资源等。
4.工装设计:设计所需的工装、治具等辅助工具。
三、设备选型方案1. 设备选型的重要性设备选型是工艺设计的重要组成部分,选择适合的设备能够提高生产效率,降低维护成本,保证产品质量。
2. 设备选型的考虑因素•生产需求:根据产品生产需求确定设备的规格、产能等。
•技术要求:设备应符合产品的技术要求,具备必要的功能和性能。
•维护成本:考虑设备的维护成本,选择易于维护和保养的设备。
•环保要求:选择符合环保标准的设备,降低对环境的影响。
3. 设备选型的步骤1.确定需求:明确生产需求,包括产能、技术要求等。
2.调研市场:调研市场上的设备供应商,获取各种设备的技术参数和价格信息。
3.比较分析:比较各种设备的技术性能、价格、售后服务等方面的差异。
4.选型决策:根据各种因素综合考虑,做出最终的设备选型决策。
四、总结工艺设计及设备选型是制造业中的重要环节,对产品质量和生产效率有着直接影响。
通过合理的工艺设计和设备选型方案,可以提高生产效率,降低成本,提高产品质量,从而使企业更具竞争力。
采矿工艺管理采矿工艺管理指的是对于采矿过程中的工艺环节进行全面管理的过程。
其主要目的是通过合理的工艺设计、技术指导、操作管理、设备维护等多个方面的综合管理,提高采矿的生产效率,降低生产成本,提高质量与安全水平。
一、工艺设计:工艺设计是采矿工艺管理的基础;因此需要在项目前期进行详细地工艺设计。
工艺设计主要包括对矿石特性分析,工艺方案设计,设备选型等。
首先,需要对矿石进行详细地分析,比如矿石的种类、性质、质量等多方面的因素;其次根据采矿的特点制定合适的工艺方案,包括选矿过程、流程以及所采用的设备等;最后,根据工艺流程选型合适的设备,包括振动筛、磁选机等用于物理选矿,以及浮选机等用于化学选矿。
二、技术指导:技术指导能够在采矿工艺管理过程中起到重要的作用。
需要专业的技术人员为生产操作提供技术支持及指导,以提高生产效率。
技术指导包括以下几个方面:对生产操作规程进行指导;引入先进的技术和设备,以提高生产的效率;对矿山人员进行培训,并加强技术交流和经验分享,以提高整个采矿团队的技术实力。
三、操作管理:操作管理主要是对采矿生产中的操作过程进行全方位的管理与监控。
包括对采矿生产过程的控制,对矿工的协调与管理以及对基础设施的维护等。
操作管理应该注意以下几点:首先,对操作人员进行培训,提高其操作技能和责任意识;其次,制定操作规程,严格执行,以确保生产过程的稳定和安全;最后,加强对设备的维护,保证运行的正常和稳定。
四、设备维护:设备维护和维修是采矿工艺管理中非常重要的一部分。
设备的保养维护,可以大幅度降低生产成本,提高设备的使用寿命。
设备维护应该注意以下几点:首先,对设备进行定期巡检并及时记录设备状态;其次,加强设备的清洁,及时发现和排除设备的故障和隐患;最后,及时更换损坏或过期的零部件,维护设备的正常运转。
五、总结:采矿工艺管理实际上是整个采矿过程中非常重要的一部分,在采矿过程中,仅有对采矿工艺管理的全面考虑,并进行合理的优化和调整,才能够为企业带来更高的经济效益。
大型机械设备管理办法一、引言大型机械设备在现代工业中起着至关重要的作用。
为了确保机械设备的正常运行,提高生产效率和质量,保障员工安全,制定一套科学有效的大型机械设备管理办法是至关重要的。
本文将深入探讨大型机械设备管理的相关问题。
二、设备购置与选型1. 要制定一套明确的设备购置流程,包括需求分析、设备选型、采购方案以及采购合同签订等环节。
2. 组织专业人员进行设备选型,考虑设备性能指标、质量信誉、售后服务等方面的因素。
3. 提倡采购环保、节能型设备,推动绿色生产。
三、设备验收与入库管理1. 建立严格的设备验收标准,确保设备的质量和性能达到要求。
2. 设立专门的验收小组,由专业人员进行验收,确保验收结果客观、准确。
3. 报告验收结果,并按规定程序进行设备入库。
四、设备安装与调试1. 严格按照设备说明书和设计要求进行设备安装。
2. 制定详细的设备安装方案,确保安装过程安全可靠。
3. 对设备进行严格的调试,保证设备正常运行和性能稳定。
五、设备运行与维护1. 按照设备使用手册要求进行设备操作。
2. 建立设备运行记录,定期进行设备巡检和维护,确保设备处于良好的工作状态。
3. 提倡设备故障预防,定期进行设备检修,更换磨损部件,延长设备使用寿命。
六、设备安全与事故处理1. 制定设备操作安全规程,对操作人员进行培训,强化安全意识。
2. 建立安全警示标识,设立安全防护设施,加强安全管理。
3. 建立事故预防机制,制定应急预案,确保在设备事故发生时能够及时、有效地处理。
七、设备更新与淘汰1. 根据设备运行状况和市场需求,制定设备更新计划。
2. 对老化、损坏或技术落后的设备进行淘汰和报废。
3. 积极推行设备资源回收和利用,降低对环境的影响。
八、设备管理评估与改进1. 定期对设备管理情况进行评估和检查,及时发现和解决问题。
2. 强化设备管理改进意识,开展技术创新和管理创新,提高设备管理水平。
3. 建立设备管理信息系统,实现设备管理的信息化和智能化。
第一章工艺及设备方案选型根据台州南污水处理站设计进出水水质及各污染物的去除率要求可见,污水、处理站处理工艺需满足污染物高去除率的要求,选取工艺时需重点关注CODcr -N、TN和TP等污染物的去除。
NH3第一节工艺方案选型的原则本项目污水处理工艺的选择遵循以下原则:1.严格遵照国家及地区环保部门有关法律、法规。
2.采用适宜的处理工艺,最大程度的发挥本项目的社会效益、经济效益、环境效益。
3.污水处理工艺力求技术先进可靠、经济合理、操作简单、高效节能、在确保污水处理效果的前提下,最大限度的减少工程投资和日常运行费用。
4.选择国内外先进、可靠、高效、运行管理方便、维护维修简便的水处理专用设备。
5.污水处理工程在整体布局合理与周围环境相协调的前提下,全面做到结构紧凑、工艺流畅。
6.在建设范围内,污水站总平面布置要符合总体规划,减少占地面积并且要与周围景观环境相协调,并合理预留将来的发展用地。
7.污水处理工艺有一定的抗冲击负荷能力,既能短时间适应水量冲击负荷也能适应水质的冲击负荷。
第二节工艺方案选型与介绍、BOD5、SS的去除率要求较高,同时要求能够脱氮除磷。
本项目对污水CODcr因此,本项目应选用对脱磷除氮具有较好效果的生物处理工艺。
脱氮除磷工艺的类型和实施方式多种多样,各有千秋,其适用范围和应用的边界条件也存在一定的差异,在实际应用中需要因地制宜,灵活掌握。
目前,常用的比较典型的污水脱氮除磷工艺主要有:各种氧化沟工艺,A2O 工艺,SBR工艺及MBR工艺等。
从上述各工艺的机理看,每个工艺各具特点,均可实现除磷脱氮,根据本项目污水处理站的处理规模及出水水质要求,结合本项目选用处理工艺特点及当地的实际情况,应选用技术先进且成熟可靠的污水处理工艺,从上述诸多工艺中筛选出氧化沟工艺、A2O工艺及MBR工艺作为本项目的比选方案,进行比较,从中确定推荐方案。
招标文件中,未选氧化沟工艺主要是考虑氧化沟工艺占地面积较大,不适用小规模污水处理站,本站选用A2O+MBR工艺,主要考虑以下因素。
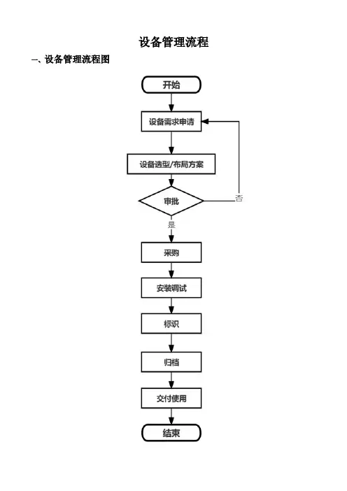
设备管理流程一、设备管理流程图
二、设备管理流程
1.设备需求申请
生产车间根据生产需要和产品工艺要求提出设备需求。
2.设备选型及布局方案
生产部应根据产品工艺要求和公司发展经营目标以及设备的泛用性对设备进行选型,同时根据生产车间现场空间当前布局制定设备布局方案。
3.审批
生产主管填写设备需求申请表和编制设备选型及布局方案,经生产经理审核后交总经理审批,若审批不通过,则根据总经理意见进行修改重新提交审批,直至通过。
4.采购
审批通过后,生产主管填写设备采购单,注明设备型号规格等功能参数,提交给采购部进行采购。
5.安装调试
设备到厂后,生产部组织设备按照布局方案进行安装,协同厂家进行设备调试,同时培训设备操作、维护保养,完成后方可投入生产。
6.标识
设备调试完成后,应粘贴设备标识牌,标识牌信息应有设备编号、设备状态、特种设备标识、负责人、操作人等信息。
7.归档
将设备资料交综合部和财务部进行资料归档。
8.交付使用
移交给生产车间投入生产。
设备选型购置封存报废制度模版一、背景随着科技的发展和公司业务的扩大,我们的公司需要购置各种设备来支持生产和办公工作。
然而,设备的选型、购置、封存和报废都需要一套规范的制度来管理,以确保公司资产的安全和有效利用。
本制度旨在规范设备选型、购置、封存和报废的流程和要求,为公司的设备管理提供明确的指导。
二、设备选型1. 设备选型的目标是根据公司的实际需求,选择性能合适、价格合理、质量可靠的设备。
2. 选型工作由设备管理部门负责,该部门应根据相关部门的需求和技术要求,进行市场调研和性能评估,为公司提供选型建议。
3. 设备选型建议应包括设备的基本参数、性能指标、价格等信息,并给出选型原因和推荐供应商。
三、设备购置1. 设备购置的目标是确保设备的合理采购和资金的合理开支。
2. 设备购置工作由设备管理部门负责,该部门应按照公司的采购规定,与供应商进行谈判和协商,确保设备的质量和价格。
3. 设备购置合同应明确设备的型号、数量、价格和交付时间等重要条款,并由相关部门负责人签字确认。
4. 设备购置费用应由财务部门核实并进行预算控制,确保合理开支。
四、设备封存1. 设备封存的目标是保护长期不使用的设备,以防止设备的损坏和盗窃。
2. 设备封存工作由设备管理部门负责,该部门应按照公司的封存规定,对长时间不使用或暂时闲置的设备进行封存。
3. 设备封存应将设备的状态、型号、封存时间等信息记录在设备管理系统中,并采取相应的保护措施,如封存标识、密封、防尘等。
五、设备报废1. 设备报废的目标是处理长时间未使用或损坏无法修复的设备,以减少资产的闲置和浪费。
2. 设备报废工作由设备管理部门负责,该部门应按照公司的报废规定,对符合报废条件的设备进行处理。
3. 设备报废应将设备的状态、型号、报废时间等信息记录在设备管理系统中,并根据公司规定的程序进行处置,如回收、出售、捐赠等。
4. 设备报废时需要注意保护设备中的敏感信息,并确保设备的安全销毁或清除。
设备管理标准1 主题内容及适用范围本标准规定了设备管理的职责分工、前期管理、日常管理、后期管理和检查考核。
本标准适用于公司设备管理。
2 设备管理的职责分工2.1 技术部负责提出设备的选型方案,下达设备购置清单。
2.2 生产部负责公司设备的订购、维修、安装调试、备品、配件的采购。
2.3 后勤服务部负责厂房建筑设施的管理和维修。
2.4 生产部、车间负责对操作工人、维修工人和技术工人进行设备操作、维护保养的教育,考核发证,定期组织检查评比,以提高设备效率,降低故障停机台时,确保设备正常运转。
2.5 质量安全部负责质量检测设备、器具的管理与维修。
3 设备前期管理规定3.1 设备选型3.1.1 选型依据:适用、耐用、易修、效率高、复杂工序尽可能选择先进控制设备,厂家尽可能统一。
3.1.2 由主管技术副经理召集技术部、生产部与有关车间负责人共同讨论定案,技术部长作好会议记录,选型后拟定申购计划,经审批后向生产部下达设备购置清单,内容包括型号、生产厂家、参考价。
3.1.3 设备因选型不当,造成损失(包括资金损失)属于设备选型事故,按设备事故处理规定执行,其它问题,由责任人逐月承担购置设备贷款利息。
3.2 设备的购置3.2.1 设备购置由生产部负责,按照《设备购置清单》联系货源,货源与清单有不符之处与技术部商谈处理。
3.2.2 购进设备发现质量问题,应及时向售方反映。
属于购方费用,由公司承担,对于因玩忽职守,造成损失的,由责任人100%承担。
3.3 设备进厂验收3.3.1 验收人员:设备管理人员、技术部工艺员、机修人员。
3.3.2 随机附件经按清单清点后,由设备管理员与使用单位办理交付手续,随机技术文件由设备管理员收集管理。
3.3.3 验收中发现设备质量问题,由设备管理员以书面形式向生产部反映,由定购人员负责处理。
3.3.4 安装调试:由生产部组织车间根据技术部设计的平面布置图及技术要求进行安装调试,然后按《设备合格证》检验其各种技术要求并作好记录,作为存档的第一手资料,未达到出厂技术要求,由订货单位负责处理。
石化工程施工标准引言:石化工程是指石油、化工、天然气等领域中的相关工程项目,规模庞大,技术要求严苛。
为了确保石化工程的安全、高效、可持续发展,需要制定一系列的施工标准。
本文将从设计、施工方案、工艺流程、设备选型、施工管理、安全环保等方面,介绍石化工程施工的相关规范和标准。
一、设计标准1.1 设计概念和目标石化工程的设计应基于现有的技术水平和实际需求,确保项目的可行性和经济性。
设计标准应包含合理的产能规划、安全性要求、运营成本、环保要求等。
1.2 工程布局设计工程的布局应符合安全、高效的原则,确保设备之间的合理布置和通道的设置。
布局设计应考虑到设备的运行维护和人员进出的安全性,并合理规划道路、管道等配套设施。
1.3 设备选型和配套设计根据工艺流程和工程设计要求,选择符合国家标准的设备,并考虑其能耗、产能、安全性等因素。
设备的选型应综合考虑性能、价格、供货周期等因素,并确保与相关配套设施的协调。
二、施工方案规范2.1 施工准备工作施工前的准备工作包括场地平整、场地勘察、基础设施建设、材料采购、人员配备等。
准备工作应按照规定程序进行,确保施工过程的安全性和顺利进行。
2.2 施工组织和管理施工组织应根据工程特点、施工进度和安全环保要求,制定合理的施工方案和施工进度表。
施工过程中应加强对合同约定的合规性监督,确保工程按时、质量合格的完成。
2.3 施工质量控制工程施工应按照相关标准进行,施工过程中要严格控制施工质量,确保施工结果符合设计要求和规范标准。
施工质量控制包括工艺过程控制、材料质量控制、施工工序验收等。
三、工艺流程规范3.1 工艺流程设计根据产品的特点和市场需求,制定合理的工艺流程。
工艺流程设计应满足产品质量要求,从而确保产品的市场竞争力。
3.2 生产操作规范生产操作规范应根据工艺流程和产品特点制定,包括操作步骤、操作顺序、操作要点等。
操作规范应确保操作的安全性、稳定性和高效性。
四、设备选型和安装规范4.1 设备选型标准根据工艺流程和产品要求,选择符合国家标准的设备。
工艺管理方案绪论工艺管理是一种在制造和生产过程中进行控制和监督的重要工作。
具有合理的工艺管理方案,可以有效提高工艺效率,降低生产成本,提升产品质量,满足客户需求,促进企业的可持续发展。
本文将重点介绍一种有效的工艺管理方案,帮助企业实现高效、可持续的制造生产。
一、工艺流程优化1. 工艺流程分析:通过对现有的工艺流程进行详细的分析和评估,确定每个环节的作用和影响因素。
重点关注生产效率低下、能耗高、质量问题较多的环节。
2. 工艺改造:根据工艺流程分析的结果,对存在问题的环节进行改造和优化。
优化工艺流程,降低生产成本,提高产品质量和生产效率。
3. 工艺参数控制:通过对关键工艺参数进行监测和控制,确保每个步骤都能按照设计要求进行,减少因参数波动引起的产品质量问题。
二、设备管理1. 设备选型:根据产品的生产需求和工艺要求,选取适合的设备。
考虑设备的性能、质量、价格等因素,做出合理的选择。
2. 设备维护:建立完善的设备维护制度,定期对设备进行检查、保养和维修,确保设备的正常运转和延长使用寿命。
3. 设备更新:根据生产需求的变化和技术进步的要求,及时更新设备,提高生产效率和产品质量。
三、人员培训和管理1. 培训计划:制定全面的培训计划,包括新员工入职培训、操作技能培训、质量意识培养等,提高员工的专业素质和技能水平。
2. 岗位责任制:建立健全的岗位责任制度,明确员工的职责和权利,提高工作效率和责任感。
3. 奖惩机制:建立激励机制和惩罚机制,激励表现优秀的员工,同时对违反规定和不达标的员工进行处罚,建立良好的工作氛围。
四、质量管理1. 质量检验:建立完善的质量检验制度,对原材料和成品进行严格的检测和抽样检验,确保产品质量符合标准要求。
2. 不良品处理:建立不良品处理流程,及时对不合格产品进行处置和追踪分析,找出问题产生的原因,并采取相应措施防止再次发生。
3. 持续改进:建立质量改进机制,通过收集反馈信息和数据分析,进行持续改进,提高产品质量和客户满意度。
SMT生产管理规范一、引言SMT(表面贴装技术)是一种现代电子创造技术,广泛应用于电子产品的生产过程中。
为了保证SMT生产的高效性和质量稳定性,制定一套科学合理的SMT生产管理规范是非常重要的。
本文将详细介绍SMT生产管理规范的各个方面,包括设备管理、材料管理、工艺管理和质量管理等。
二、设备管理1. 设备选型:根据生产需求和产品特性,选择适合的SMT设备,包括贴片机、回流焊炉、印刷机等。
设备应具备稳定的性能和高效的生产能力。
2. 设备维护:定期对设备进行维护保养,包括清洁、润滑、调整等。
确保设备的正常运行和长期稳定性。
3. 设备校准:定期对设备进行校准,确保设备的精度和准确性。
校准包括校准温度、速度、压力等参数。
4. 设备故障处理:建立设备故障处理流程,及时处理设备故障,减少生产中断时间。
三、材料管理1. 材料采购:与可靠的供应商建立长期合作关系,确保材料的质量和供应的稳定性。
采购材料时要注意材料的规格、封装和包装等要求。
2. 材料接收:对接收的材料进行检验,包括外观检查、尺寸测量、功能测试等。
合格的材料才干进入生产环节。
3. 材料存储:建立合理的材料存储区域,保持材料的干燥、防尘和防静电。
材料应按照规定的存放位置进行分类存储。
4. 材料使用:根据生产计划和产品要求,合理使用材料,避免浪费和过期。
四、工艺管理1. 工艺流程:制定详细的工艺流程,包括贴片顺序、焊接温度曲线、印刷厚度等。
工艺流程应经过验证,确保生产的稳定性和一致性。
2. 工艺参数:确定合适的工艺参数,包括贴片速度、焊接时间、印刷压力等。
工艺参数应根据产品特性和要求进行调整和优化。
3. 工艺记录:对每一次生产过程进行记录,包括工艺参数、设备状态、材料批次等。
工艺记录有助于追溯和问题排查。
4. 工艺改进:定期评估和改进工艺流程,根据生产数据和质量反馈,优化工艺参数,提高生产效率和产品质量。
五、质量管理1. 质量控制点:在生产过程中设立关键的质量控制点,对关键工序进行监控和检验。
工艺、设备安全管理制度范本一、总则1. 为了保障人员安全和设备正常运行,制定并实施本工艺、设备安全管理制度。
2. 本制度适用于公司内所有工艺和设备的安全管理。
二、安全责任1. 公司负有保障工艺和设备安全的责任,包括但不限于提供安全培训、检查设备状况、及时处理设备故障等。
2. 工艺和设备使用单位要严格遵守国家和行业规定的安全要求,建立健全安全管理制度,并明确安全管理人员的职责。
三、工艺安全管理1. 工艺安全管理人员要进行定期安全检查和维护,及时发现并消除安全隐患,确保工艺设备的正常使用。
2. 工艺操作人员必须经过相应的培训合格后方可操作设备,且要严格按照操作规程执行,禁止擅自改变工艺参数。
3. 工艺变更或新工艺的实施前,必须进行安全评估,确保工艺变更不会对设备的安全运行产生影响。
四、设备安全管理1. 设备安全管理人员要进行设备运行情况的定期检查,发现设备故障时要及时报修,并做好维修、保养等工作。
2. 设备使用单位要建立设备档案,并定期对设备进行维护记录和维修记录的完整性进行审核。
3. 设备维修人员要具备相应的技能和经验,且要对维修过程中的安全风险进行评估,确保维修过程的安全。
五、应急措施1. 针对可能出现的事故、故障等情况,公司应制定相应的应急预案,并进行定期演练,以提高应对紧急情况的能力。
2. 发生重大安全事故时,公司要立即启动应急预案,组织人员进行紧急疏散,并报告相关部门进行协助处理。
六、安全培训1. 新进员工要进行入职安全培训,明确工艺与设备的安全操作规程和要求,确保其具备相应的安全意识。
2. 定期组织安全培训活动,提高员工的安全意识和应急处理能力。
3. 公司要组织安全知识竞赛和演练活动,以增强员工对安全管理的重视和参与度。
七、安全监督1. 公司要设立专门的安全监督机构,负责对工艺和设备的安全管理进行全面监督和检查,并及时提出整改意见。
2. 工艺和设备使用单位要积极配合安全监督人员的工作,并及时整改存在的安全问题。
设备选型管理规定1 目的为保证所购置的设备能够满足生产工艺的需求,符合市场供应行情,达到技术上先进、经济上合理,生产上适用,以及符合可行性、维修性、操作性和能源供应等要求,特制定本规定。
2 适用范围本规定适用于公司所属各单位,以及为其提供服务的承包商。
3 应用领域本规定应用于公司所属各单位所有设备的选型环节。
4 职责4.1技术部职责负责根据项目技术工艺,通过设计和计算,提出设备在设计环节以及在理论分析环节对设备选型的要求,提供详实的技术参数,并报总经理审批。
4.2生产安全部职责负责根据项目生产的实际工况,通过对现场生产需求的把控,提出设备在生产环节以及在操作环节对设备选型的要求,提供详实的生产运行参数。
4.3设备部职责4.3.1负责根据设备本身的工作原理及结构,通过对设备本身的了解,提出设备在运行环节以及在维修环节对设备选型的要求,并根据技术参数和生产运行参数初步选定设备的型号。
4.3.2负责组织本规定的编制与修订,并对本规定提供辅导和审核。
4.3.3负责设备监造工作。
4.4办公室职责负责根据技术部、生产安全部和设备部提出的要求,按照本规定对市场进行充分的调研,规范采购工作,包括供应商的选择、供应商资质的确认、收集资料档案,制定选购方案,并提供给相关部门、协调监造验收等工作。
4.5财务管理组职责负责对办公室制定的选购方案进行监督和审核,并给出合理化建议。
5 选型原则5.1生产上适用所选购的设备应与本企业扩大生产规模或促进成果转化等需求相适应,发挥其投资效果。
应具有性能/价格比率的优势,不盲目地追求最高性能,应根据生产的需求配置适当的处理性能,同时考虑今后产量增加的情况。
5.2技术上先进在满足生产需要的前提下,要求其性能指标保持先进水平,以利提高项目的标准和延长其技术寿命,能够以更先进的技术获得更高的性能,同时设备必须是同类市场上公认的领先产品,并且该体系有着良好的未来发展,能够随时适应技术发展和业务发展变化的需求。
工艺方案及设备选型管理规定
工艺方案及设备选型管理规定
1范围
本规定规定了公司新工业园区建设中的工艺方案、设备(包括仪器、仪表)调研、选型等程序。
2引用文件
下列文件中的有关条款通过引用而成为本规程的条款。
凡注日期或版次的引用文件,其后的任何修改(不包括斟误的内容)或修订版本都不适用于本规程,但提倡使用本规程的各方探讨使用其最新版本的可能性。
凡不注日期或版次的引用文件,其最新版本适用于本规程。
(无)
3目的
为规范工业园建设中的工艺技术方案、设备论证、选型工作流程、报批程序,确
保工艺技术方案、设备选型工作受控、高效开展,特制定本办法。
4职责
4.1工艺装备组
a)负责组织各专业组及设备使用部门进行工艺方案、设备的调研、选型工作;
b)各专业组负责所属工艺领域的工艺方案、设备的分析论证和调研和选型工作;
c)各专业组负责组织技术协议拟制、会签和报批工作;
d)工艺装备组组长会签工艺方案,设备技术协议;审核设备的调研、选型相关文件。
4.2物资采购组
a)参与工艺方案、设备的分析论证、调研和选型工作;
b)参与推荐供应商、协助进行技术协议的编制。
4.3消防安全和监督组
根据需要参与工艺方案、设备的分析论证、调研和选型工作。
4.4使用部门负责人
负责审核技术协议,设备立项表。
4.5技术中心
从技术改造项目管理角度实施管理,负责审查技术协议,设备立项表。
4.6领导组
负责审批设备立项表。
4.7高新二期项目组
负责涉及高新二期项目的工艺技术方案、设备的调研、立项、审批工作
5组织机构
6要求和程序6.1工艺方案、设备分析论证
6.1.1各专业组对工艺方案进行分析论证,根据项目进度和实际需求,2011年11月30日集团公司批准的设备方案分批次提出设备需求计划(明确调研完成日期、技术
协议和立项表签订日期、预计设备到货日期等关键节点)。
6.1.2未列入2011年11月30日集团公司批准的设备清单的设备,需单独注明并在适当的时候补充调整报告、履行报批程序。
6.1.3各专业组根据进度计划,邀请供应商到厂交流、网络收集信息或根据以往的经验确定技术方案、设备选型。
与供应商交流时必须通知物资采购组、安全消防和监督组以及技术中心、设备使用部门相关人员参与。
6.1.4公司交流或其他渠道仍不能确定工艺、设备方案的,各专业组可到供应商处或其用户处进行考察,流程是:填写《设备考察申请表》、确定实地考察要点、时间- 物资采购组、安全消防和监督组以确认是否需要参与一技术中心审核-工艺装备组审批—填写《出差申请表》—领导组批准。
6.1.5考察应充分考虑经济性和高效性,
6.1.6实施考察后续填写《设备考察记录表》和相关资料报工艺装备组,考察资料必须明确说明《设备考察申请表》提出的调研内容的结果。
6.1.7考察费用报销需经工艺装备组审核- 技术中心备案-领导组审批,并符合公司
《国内差旅费用报销管理办法》的规定。
6.2设备选型
6.2.1单价5万元(含5万元)以上的通用设备或非标设备在调研、考察完毕后,工艺设备组需编制《设备选型报告》。
6.2.2设备选型报告应包括以下内容:
a)设备主要作用;
b)本次采购设备的配置及其供应商的要求;
c)入围供应商的状况:企业特点、市场表现、技术实力、制造检测能力,产品
技术先进性。
623《设备选型报告》报批流程:各专业组拟制一使用部门负责人审核-工艺装备组组长会签一技术中心审查-分管公司领导审批。
6.2.4
625单价低于5万元的设备,可不编制《设备选型报告》,直接进入立项程序。
6.2.6供应商不足3家的,需编制《两家独家采购报告》说明原因,拟制(工艺设备组)-事业部部长审核-物资采购组、工艺装备组会签-总经理批准-消防安全与监督组备案。
6.3设备立项
6.3.1设备立项包括
a)拟制、批准设备购买申请报告;
b)填写设备立项表;
c)拟制、批准并签订技术协议。
6.3.2设备购买申请报告审批流程:
拟制(工艺装备组)-审核(使用部门负责人)-会签(工艺装备组组长、消防安全与监督组、人经部)—审查(技术中心审查)—批准(领导组)。
6.3.3技术协议审批流程:
拟制(工艺装备组)-审核(使用部门负责人)-会签(工艺装备组组长、消防安全与监督组)-审查(技术中心)-批准(杨品开总助)。
该审批流程各部门具体职责详见附录7。
6.3.4设备立项表审批流程:
拟制(工艺装备组)-审核(使用部门负责人)-会签(工艺装备组组长、消防
安全与监督组、人经部)f 审查(技术中心审查)f 批准(领导组)
635批准后的技术协议原件由申请人保存,立项表原件由技术中心保存,复印件给相关部门作为物资采购、货款支付、设备验收的依据。
7编号规则
7.2编号方法如下:
序列号
业务组(陶瓷、机电、汽配、检测、公用、电镀六类)
所属项目(工业园、高新二期、工业园待定三类)
年号
例:2010年陶瓷事业部申请的第一台工业园设备,所有该设备的文件编号为:
2010-工业园-陶瓷-001。
7.3编号由工艺装备组(技术中心指定人员)统一编号8考核
8.1设备未按期签订技术协议,扣责任人200〜500元
8.2设备未按期招投标,扣责任人200〜500兀。
8.3设备未按期安装到位,扣责任人300〜500元。
9相关文件
附录1 《设备考察申请表》
附录2 《设备考察记录表》
附录3 技术协议模板
附录4 《项目购置设备、仪表(软件)申请立项表》附录5 《设备选型报告》
附录6 《两家独家采购报告》
附录7 《技术协议审批流程各部门具体职责》
THANKS !!!
致力为企业和个人提供合同协议,策划案计划书,学习课件等等
打造全网一站式需求
欢迎您的下载,资料仅供参考。