便利店标准采购业务流程图
- 格式:doc
- 大小:71.89 KB
- 文档页数:29
e家e友便利连锁店一般业务管理总流程最新范本,供参考!e家e友便利连锁店新供应商商品引进流程最新范本,供参考!e家e友便利连锁店旧供应商新商品引进流程不同意新品资料单转交店长采购主管下新品订单,并通知运营部经理最新范本,供参考!e家e友便利连锁店联营及代销供应商引进流程e 家e 友便利连锁店新商品转正流程最新范本,供参考!未退货通知e 家e 友便利连锁店供应商分析淘汰流程最新范本,供参考!通知:采购部、财务 部、营运部、信息部■* 该供应商转正f ------------------------ \财务部结清 崎「供应商余款’采购部书面填报各 厂家特别费用清单通知采购及总经理e家e友便利连锁店租赁结算流程最新范本,供参考!e家e友便利连锁店联营供应商结算流程最新范本,供参考!e家e友便利连锁店代销结算流程最新范本,供参考!e家e友便利连锁店购销(先货后款)结算流程最新范本,供参考!e家e友便利连锁店购销(先款后货)结算流程e家e友便利连锁店类别单品数量管理流程e家e友便利连锁店赠品送货流程采购部、店面--------------------- 执行商品进货流程1、录入商品验收单2、手工填制赠品收货单一式两联,收、付货双方代表收货部签字后自留一联,另一联返供货商。
3、执行商品入卖场流程4、赠品入赠品库1、根据用途,从赠品库中提出赠品,组织发放。
2、未发放完的赠品,视具体情况上报有关领导批准后,可移交行政库、供货商或转为自营商品出售。
e家e友便利连锁店场内、场外促销活动流程i供应商自行举办的活动:2、公司举办的活动:e家e友便利连锁店场内、场外促销活动流程。
1、采购订单模块供应链--→采购管理--→采购订单--→采购订单(新增)(黄色抬头部分为必填项,填完整采购项目,包括供应商、物料名称、数量、金额等)--→采购订单下方选择相应的主管、部门、业务员--→保存--→审核2、外购入库单模块供应链--→采购管理--→采购订单--→采购订单(维护)--→确定--→找到对应的采购订单--→按住ctrl键选择该采购订单的全部物料--→下推--→生成外购入库--→生成--→校正确认实际入库数量、金额--→填写批号(批号为1)、收料仓库(材料库)--→外购入库单下方保管、负责人、部门、验收、业务员填写完整--→保存--→审核点击“下推”生成外购入库单修改、保存、审核。
3、采购发票模块供应链--→采购管理--→外购入库--→外购入库单(维护)--→确定--→找到对应的外购入库单--→按住ctrl键选择该外购入库单的全部物料--→下推--→生成购货发票(专用)或购货发票(普通)--→生成--→对应发票内容,确认系统采购发票是否与纸质发票内容明细一致--→保存--→审核找到对应外购入库单,选定全部物料,下推,生成购货发票。
确认、保存、审核。
4、存货模块入库核算供应链--→仓库管理--→验收入库--→外购入库单-新增--→双击选单号,选中需要核算的购货发票--→核算--→费用分配模式--→按数量分配--→分配--→核算5、生成采购入库凭证操作步骤(有疑问,待确认)供应链--→凭证管理--→生成凭证--→采购发票(发票直接生成)--→重设--→确定--→在实际价凭证模板中选中对应的发票,点击下拉菜单,找到外购入库--→生成凭证点击重设,选择相应采购发票,按单生成凭证。
6、领料出库操作供应链--→仓储管理--→领料发货--→生产领料(新增)--→填写领料单(领料部门、用途、发料仓库、物料代码、批号、数量等)--→保存--→审核供应链--→存货核算--→出库核算--→材料出库核算--→下一步--→结转本期所有物料--→下一步--→查看报告查看是否有出现红字部分,有红字部分说明核算不正确;未出现红字部分,则说明核算正确--→完成--→存货核算--→凭证管理--→生成凭证--→生产领用--→重设--→确定--→在实际价凭证模板中选中对应的生产领料单,点击下拉菜单,找到生产领料--→生成凭证领料发货材料出库查看报告查看是否有出现红字部分,有红字部分说明核算不正确;未出现红字部分,则说明核算正确--→完成--→存货核算--→凭证管理--→生成凭证--→生产领用--→重设--→确定在实际价凭证模板中选中对应的生产领料单,点击下拉菜单,找到生产领料--→生成凭证7、产成品入库操作供应链--→仓库管理--→验收入库--→产品入库(新增)--→填写产品入库单--→(交货单位、收货仓库、物料代码、实收数量、保管、验收等)--→保存--→审核供应链--→存货核算--→入库核算--→自制入库核算--→核算供应链--→存货核算--→凭证管理--→生成凭证--→产品入库--→重设--→确定--→在实际价凭证模板中选中对应的产品入库,点击下拉菜单,找到产品入库--→生成凭证1).填写入库单2).核算3).生成凭证9、销售订单模块供应链--→销售管理--→销售订单--→销售订单(新增)--→填写销售订单(购货单位、选单号、部门、业务员、主管)--→保存--→审核10、销售出库模块供应链--→销售管理--→销售订单--→销售订单(维护)--→选单---下推生成销售出库单--→保存--→审核11、销售发票模块供应链--→销售管理--→销售出库--→销售出库单(维护)---选单---下推,生成销售专用发票。
采购部常用工作(含新店开业)流程图大全
一、采购部常规工作流程图(23个流程)
1、采购部新品引入流程图
2、采购部一次性商品引入流程图
3、采购部自采合同申报签批流程
4、采购部特权订货审批流程图
5、采购部调拨商品流程图
7、采购部系统资料维护(修改)流程图
8、采购采购收入(合同费用)收取流程图
10、采购部市场调查流程图
11、采购部海报商品申报、海报制作流程图
13、特殊陈列道具(堆头、花车、端架)进场申请审批流程图
15、供应商年度评估流程图
16、供应商清场流程图
17、年节特殊合同申请及审批流程图
18、普通不可退商品申请退货审批流程图
19、配送中心申请退货流程图
20、跨省(跨区)商品返配申请及审批流程图
21、进口统采商品审批流程图
22、生鲜部门统采商品申请及审批流程
23、自有品牌商品开发及配送审批流程
二、采购部新店开业常规工作流程图(表)(8个流程)
2、新店商品配置流程图
3、新店租赁(联营)专柜审批流程图
4、新店商品促销选品流程图
5、新店开业商品资料录入及维护流程工作表
6、新店海报商品选品、审批、下单、配送流程图
7、市场部(企划部)新店开业工作流程表
8、新店促销员管理流程(采购口)
--THE END--。
一般业务管理总流程新供应商新商品引进流程备注:试销期规定(1)常规商品试销期30天(2)电器类商品试销期60天(3)特殊商品另订旧供应商新商品引进流程联营及代销扣点供应商引进流程新商品转正流程供应商分析淘汰流程租赁结算流程联营供应商结算流程代销结算流程购销(先货后款)结算流程购销(先款后货)结算流程类别单品数量管理流程(没讨论)赠品送货流程场内、场外促销活动流程1、供应商自行举办的活动:2、公司举办的活动:订货管理作业流程备注:1、商品到货率要求不低于60%,办公室助理每月30日查供应商平均到货率,未达到到货率要求,按20元一家处罚采购员。
2、七天内未到货收货部原单返回超市办公室助理处,同时处罚采购员20元一家(如未能提出合理的客观原因)。
3、卖场同一种商品连续两周缺货,采购员处罚20元(1)采购员已下单未到货(2)卖场未下单,卖场员工处罚5元/个,主管5元/个(如未能提出合理的客观原因)。
备注:1、录入组每晚查询调价到期商品明细2、如有已到期商品,录入员打印商品明细表交营运部签收3、营运部当晚更换标签4、如有价格差异,查明原因后承担相应责任并处以5元/个罚款采购订货流程价格牌管理流程标价牌要求:1、一货一签。
2、货签对位.3、端架商品最少一层一签.4、堆头商品一个堆头一个POP,最多不超过2个POP。
5、标价牌位置统一放至商品左上角.POP统一高度,位置正上方。
6、标签颜色规定正常商品(蓝色)促销商品(黄色)堆头正常商品(大蓝)堆头促销商品(大黄)新品(绿色)海报商品(蓝色)进口商口(绿色)每日特价(红色)7、所有标签不得下架,缺货商品必须加缺货标示.流程一(新品):流程二(卖场申请标签):退换货流程。
对顾客所填写的订货单进行编辑(处理1),不合格的订货单交给业务员,合格的订货单进行确认(处理2),新客户的订货单在查阅顾客资料以后进行新顾客数据的登陆(处理3),确定客户订单后,查阅配件库存情况,若订货可以满足,则开具发货单并修改库存(处理4),将处理结果存储到销售历史中,若订货无法满足,则将订货单暂存并存储,对照暂存订货单(处理5)后,通知采购部门。
(1)画出业务流程图
(2)画出数据流程图
(3)将处理1前后局部数据流程图转化成模块结构图,并说明转化类型。
1
(2)数据流程图,每个处理2分
事务型(4分)。
三、收货流程图备注:1、收货必须遵守“先退货后收货的原则”2、收货员收获过程必须遵守“认真仔细,实事求是”的原则。
3、收货时抽查出质量、日期不符合要求的商品,包装影响销售的商品当场退货。
4、如果出现商品临时调价,及时通知采购和经理,及时调增价格接货验收核实商品信息供应商、领班、接货员共同清点核对数目,接货员详细记录保质期等信息 验收单经过经理,交接到信息管理员,录入系统验收单录入信息系统核采购入库子系统操作基本同POS子系统。
每添加一条商品采购信息,填入列表,结算入库时显示总金额,写入数据库。
检测商品号的有效性。
采购入库子系统(界面)采购入库(需要权限:采购员)采购员只能采购数据库中已存在的商品。
对每种采购的商品输入采购的商品编号,采购数量,和采购价格,这些商品的信息和采购的信息显示在列表中,结算入库后列表清空,并将数据写入数据库。
填写采购信息添加到列表写入数据库综合管理子系统提供管理人员各种管理的入口。
(1)商品及库存管理商品及库存管理(需要权限:管理人员)1. 引入新商品:填写商品的名称,规格,供应商和售价,将商品引入超市。
添加后的商品库存量为0,需要采购。
供应商或规格不同的同名商品,应作为不同的商品对待。
2. 商品查询:可以根据商品的名称,供应商,库存量进行查询,并可以查看所有商品的信息列表。
显示的信息包括编号,名称,规格,供应商和库存量。
3. 删除商品:只能删除库存量为0的商品,表明不再引进此商品。
支持批量删除。
4. 修改商品信息:在商品信息列表中选择一行,对其基本信息进行修改。
填写商品信息写入数据库填写正确?否是填写查询信息搜索数据库显示结果查询全部选择删除对象更新数据库更新显示结果多记录删除是否选择修改对象更新数据库更新显示结果修改信息(3)采购管理(3)采购管理销售管理(需要权限:管理人员)对历史的销售记录进行查看。
可以按商品编号,商品名称或日期进行查询,也可以列出所有的销售记录。
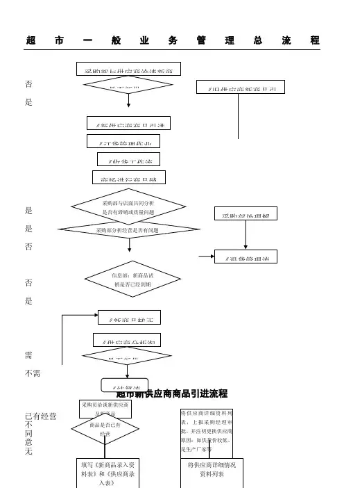
超市一般业务管理总流程
是
否
否
是
需
超市新供应商商品引进流程
已有经营
不 同 意
无
超市旧供应商新商品引进流程
同意
超市联营及代销供应商引进流程
同意
不同意
同意
超市新商品转正流程
第一次
未
退
货
通
知
超市供应商分析淘汰流程
通知采购及总经
理
超市租赁结算流程
超市联营供应商结算流程
是
是是
否
超市代销结算流程
超市购销(先货后款)结算流程
无
否
是有权限金额之内
超市购销(先款后货)结算流程
超市类别单品数量管理流程
不 妥
同 意
差异 较大
不合理
超市赠品送货流程
超市场内、场外促销活动流程
1、供应商自行举办的活动:
2、公司举办的活动:。
商品订货一、订货流程图店长生成手工订单晚班班长生成系统订单是否增加订货品项,订货数量二、下单流程1.店长早上上班检查前一天销售情况,按销售情况做好今天的下货手工订单,必须在下班前完成.(1)A类产品要货量检查A类产品的现有库存,根据库存要货,要求A类产品在店面的库存是销量的1.5倍(2)B类产品要货量1.货架上的商品数量存货在15个左右的不需要增加库存。
2.货架上的商品数量存货不足10的需增加至15个的库存量。
(3)C类产品要货量C类产品以满足货架数量,保持陈列饱满即可,不允许在门店有积压库存。
2.店长下班前把下货手工订单交接给当班班长(1)店长在下班前把做好的手工订单交接给当班班长,交接注意事项,让该当班班长与晚班班长交接。
3晚班班长根据现有订单在订单上增加需要补充的品项及数量.(1)晚班班长在凌晨5——7点前把店长的手工订单生成系统订单。
(2)生成系统订单后检查是否需要追加下货品项和下货数量,一并录入到系统订单内,保证满足在配送周期内不出现缺货,断货现象。
4.晚班班长在交接班前审核单据。
5.晚班交班后,由早班当班前上传数据.备注: 1、以编码为准;2、饮料下货以整件为最小单位.3、晚班班长需注意特殊情况增加要货数量;4、晚班班长完成并审核上传要货单,确认已上传成功后,方可下班;三、门店直送商品下单流程1.店长按现有库存提前做好门店直下商品的订单;2.店长做好订单以后,按照直下供应商周期表电话联系供应商下货;门店直下供应商:产品名称周期蒂丽雪斯、谷末豆浆每日全华商、绿太行周一、周四冰祥、皇马雪中原、贸恒发周一蛋品、思念水饺八桂书店随机烟草局固定周期备注:根据门店直下供货商的产品不同,按照办公室制定的门店下货周期表下货;四、突发事件解决方案1、网络不通、vpi无法连接时:导出要货单——拷贝U盘内——找网络发送配送中心2、断电时:手工订货单传真至配送中心或电话给仓库。
采购工作流程图采购工作流程图通常包括以下环节:采购需求确认、供应商筛选、询价比较、合同洽谈、采购订单确认、采购执行、收货验收、发票结算、质量评估和供应商绩效评估。
流程图如下:【采购需求确认】1. 部门内部提交采购需求。
2. 采购部门收到需求后进行确认,核实需求是否合理及其相关技术规格。
3. 确认通过后进入下一环节。
【供应商筛选】1. 采购部门根据需求的特点和相关的市场状况,筛选出合适的供应商。
2. 与供应商联系,了解其产品质量、价格、交货能力等相关信息。
3. 对供应商进行初步评估,排除不符合要求的供应商。
4. 确定合适的供应商后,进入下一环节。
【询价比较】1. 采购部门向合适的供应商发送询价函或询价电话,要求提供产品报价。
2. 收到供应商报价后,采购部门根据价格、交货期、售后服务等因素进行比较和评估。
3. 综合考虑各项因素,选择最有利的供应商。
【合同洽谈】1. 采购部门与选定的供应商进行合同洽谈,确定商品的品种、规格、数量、价格、质量标准、交付期限、付款方式等。
2. 双方协商并达成一致后签订正式合同。
【采购订单确认】1. 采购部门根据合同内容生成采购订单,并将其发送给供应商。
2. 供应商收到采购订单后进行确认,与采购部门核对订单内容,并回复确认。
3. 双方确认一致后,进入下一环节。
【采购执行】1. 采购部门与供应商保持密切联系,跟进采购订单的执行情况。
2. 对于特殊情况的处理,采购部门与供应商进行协商并研究解决方案。
【收货验收】1. 采购部门收到供应商送来的货物后,进行验收。
2. 检查货物的数量、质量、包装等是否满足要求。
3. 如有问题,及时与供应商协商解决,确保货物质量。
【发票结算】1. 采购部门根据收货情况,与供应商核对发票。
2. 如核对无误,进行发票结算。
【质量评估】1. 采购部门对所购买的产品进行质量评估。
2. 根据评估结果,与供应商进行沟通反馈以改进产品质量。
【供应商绩效评估】1. 采购部门对供应商的绩效进行评估。
连 锁 超 市 采 购 部 作 业 流 程一般业务管理总流程否是《仓库管理作业流程》【最新资料,Word 版,可自由编辑!】是否新供应商 采购部与供应商洽谈新商品引进 《旧供应商新商品引进流程》 《新供应商商品引进流程》 《订货管理作业流程》《收货工作流程》是 是 否 否 否是是需不需 新供应商新商品引进流程已有经营不 同 意无合同管理流程备注:试销期规定(1)常规商品试销期30天 (2)电器类商品试销期60天 (3)特殊商品另订旧供应商新商品引进流程不同 意同意联营及代销扣点供应商引进流程不 同意同意录入组录入: 1、新供应商资料 2、新商品资料 3、设定商品状态注:录入组二十四小时内录入完成,原始资料及电脑打印供应商商品明细表于次日十点前返回 《合同管理流程》 申报采购总监审批商场进行商品销售、管理,商品价格牌管理流程(1、价格牌管理2、POP 管理3、变价作业流程) 新商品试销是否已经到期 采购部分析经营是否有问题采购部与营运部共同分析 是否有滞销或质量问题《退货管理流程》 采购部处理解决 《结算流程》《新商品转正流程》《供应商分析淘汰流程》程是否新供应商 采购员洽谈新供应商及新商品 将供应商详细资料列表,上报经理审批。
并注明更换供应商原因:如供货价较低、是生产厂家等(1、洽谈记录2、新供应商报价3、旧供应商合同4、旧供应商商品资料明细表(采购在电脑系统中列印)) 商品是否已有经营 供应商带新商品资料与采购部采购员洽谈采购员下新品订单、排面量(订单备注新品),并通知卖场确认(陈列位置由采购同卖场协商确认) 电脑房24小时内录入新商品资料并确认,原始资料及供应商商品明细表于次日十点前返回采购部与供应商协商代销或扣点条件 采购与供应商草签供应商洽谈记录表(1)洽谈记录(2)报价单(只需售价)(3)市调报告 采购员下新品订单、排面量(订单备注新品、新供应商),并通知卖场签名确认(陈列位置由采购同营运经理协商确认) 将供应商详细情况资料列表 采购员填写《新品开发单》、供应商报价单、市调报告(含售价及试销期)采购部经理签名同意并由采购总监签字确认 供应商在合同上签名、盖公章交采购经理和采购总监审核财务部审核(1) 洽谈记录(不得涂改) (2) 供应商报价明细(含商品零售价及试销期) (3) 市调报告不同意同意新商品转正流程第一次保留 第二次淘汰 未退 货 通 知已退货 供应商分析淘汰流程通知采 是 购及店 长采购员与供应商合同签署合同(一式三份)电脑房录入商品资料,进入订货程序整理费用收取清单 总经理签名是否同意采购部副本留底 财务部正本留底 电脑房每周一次检查,试销已到期新商品(试销期30天)采购部出《需淘汰到期新商品明细表》 采购部、卖场考评给出意见电脑房将商品基础资料属性改为: 不可订、不可进 通知采购部及电脑房商品转正 〈〈退货流程〉〉 退货期限为两周 通知电脑房淘汰及退货期限为两周 类别、品名、规格、进价、售价、毛利率、单品平均日销、类别平均日销、名次、进货总量、销售总量、现库存采购总监审阅签字 电脑房检查到期是否已退货财务部结清余款及费用采购部每周进行一次检查,已入场三个月供应商,以及供应商销售排行榜 采购部列〈供应商经营情况一览表〉编号、供应商名称、进场日期、品种数、平均日销、结款方式、库存金额、排名、进货总量、总销量…… 采购部签署是否保留意见并交采购总监确认签名 通知:采购部、财务部、营运部、电脑部该供应商转正 电脑房将该供应商资料订为不可订或不可进退货流程 采购部书面填报各厂家特别费用清单财务部汇总并收取厂家各项费用 总经理签名是否保留 财务部结清供应商余款通知录单组:淘汰供应商名单及最后期限 录单组检查是否按时完成 供应商留底采购员填写《新品录入资料表》和《供应商资料表》 合同、供应商资料电脑部录入店内租赁结算流程联营供应商结算流程否是否是是 否代销结算流程购销(先货后款)结算流程无否每月指定交款日期,租赁供应商到财务部交租金 财务部根据合同查验应收租金额收取租赁供应商各种杂费及租赁费用财务列《未交款供应商明细》交采购部催交本月收款工作到期后,财务部将各表交至指定部门《已交款供应商明细表》《未交款供应商明细表》 《合同已到期供应商明细表 》 财务部汇总采购部及营运部各项费用,列明细表采购部书面填报各供应商特别费用清单 总经理店长采 购部 营 运部每月指定对帐日期,联营供应商到财务部查询销售额及可结款金额,每月10-15号对单,25号至月底结款 通知采购部、营运部、财务部淘汰供应商 总经理签名同意 采购部经理签名提出处理意见与财务部进行对帐,核对每日交款项(营业额) 收取联营供应商各种杂费 通知联营供应商开发票到财务部结算 财务确认支票日期,出纳员付款 本月结算到期后,财务部将以下各表交至指定部门 : 《正常结算供应商明细表》 《保底额结算供应商明细表》 《合同已到期供应商明细表》 总经 理采购总监营运总监财务部根据合同查验收取分成额是否超出保底数 核算员审核结款金额是否正确采购部书面填报各供应商特别费用清单 财务部汇总各项费用,列明细表 采购总监审核意见是否保留该供应商 每月供应商持验收单至财务部对帐 财务部对帐员将供应商验收单和电脑验收单进行核对 供应商检查验收单和送货单并更正确定供应商验收单与电脑验收单是否平帐检查入库单是否有误财务部查询供应商可结算金额核对应结款余额,收取供应商各项费用并填单交采购部签名采购部书面填报供应商特别费用清单 财务部汇总各项费用,列明细表 财务总监签名同意 供应商按单开具结算发票 财务部确认支票日期出纳员付款,在电脑系统内做付款确认财务每月交《代销供应商结算情况表》于总经理 供应商清算 总经理签名同意有是否到期同意 权限金额范围之外权限金额之内购销(先款后货)结算流程不同意同意类别单品数量管理流程不妥同意差异 较大 合理 不合理补做调整单 财务部结转已平帐单据,财务总监结转不平帐单据 采购部经理审批 金额有误,由采购部提出解决方案 数量有误,由收货部提出解决方案 交采购总监签名确认应付款金额,董事长签名同意财务总监签名同意 通知供应商在付款期内领款并提交增值税发票或收据财务部确认付款日期,出纳员付款并在电脑内做付款确认公司总经理签名确认 财务部检查单据是否已到结算期 店长及采购部经理根据公司情况,确定商品类别及每类应做品种类 采购部负责整改,增加新品或淘汰滞销品 由营运总监、采购总监与其它高层领导 1、确定各采购分管大类 2、确定各大类应有商品品种 3、确定各大类应占用面积及楼层位置 由电脑房 1、录入商品分类资料 2、设定每类商品种类 3、设定各采购分类管理权限 调整类别中单品数量指标店长每月至少一次查询分类商品情况 列分类商品数量表报总经理审批 类别实际单品数是否符指标数差异原因是否合理 完成,下次再查 通知采购部经理,由采购部经理汇报差异原因 采购部与供应商协商商品付款条件并签订合作合同总经理在合同上签名,盖公司合同章采购部填写《借款单》店长在《借款单》上签名财务总监签名确认 并且查验合同书 采购员下订单 财务部合同正本备案 采购部合同副本备案 供应商合同正本备案采购员凭结算单报销采购在每月10日前统计供应商的各项应扣费用总表待处理 采购总监、财务部确定合同内容、付款条件是否符合要求、签名。
便利店采购流程
嘿,各位小伙伴,今儿咱来摆摆龙门阵,聊聊便利店采购流程那些事儿。
这采购嘛,说简单也简单,说复杂也复杂,就跟咱们四川的火锅一样,调料多了,味道才够劲儿!
首先呢,咱们得有个清单,就像咱们四川人出门买菜得有个菜篮子一样。
这清单上嘛,得把要买的货品种类、数量、规格啥的都写得清清楚楚,明明白白。
这样一去采购,心里就有底了,不会漏了这个,忘了那个。
然后嘞,咱们就得出门找货源了。
这找货源嘛,就跟咱们找好吃的馆子一样,得多走走看看,比比价格,尝尝味道。
有时候为了找个好货源,还得跑老远老远的地方,就像咱们为了吃顿好的,哪怕爬坡上坎也不在话下!找到货源之后,咱们就得开始谈价格了。
这谈价格嘛,得有点技巧。
既不能让人家觉得咱们不懂行,被人家忽悠了;也不能太抠门儿,让人家觉得咱们小气。
得找个平衡点,双方都满意,这样才能合作长久嘛!
谈好价格之后,咱们就可以下单了。
这下单嘛,就跟咱们点菜一样,得把要的东西都点清楚,别到时候上了桌才发现少了这个多了那个。
下单之后,咱们就等着货到店里了。
货到了店里,咱们还得验收一下。
看看货的数量对不对,质量好不好。
就像咱们吃饭之前得看看菜色怎么样,尝尝味道合不合胃口一样。
验收合格了,咱们就可以把这些货上架了,让顾客们来选购。
这便利店采购流程嘛,说起来简单,做起来还是得费点心思的。
不过只要咱们用心去做,就一定能把便利店开得红红火火,生意兴隆!就像咱们四川的火锅一样,虽然调料多,但只要搭配得当,就能做出让人回味无穷的
美味来!。
e家e友便利连锁店一般业务管理总流程
友便利连锁店新供应商商品引进流程e家e
通知运营部经理.友便利连锁店旧供应商新商品引进流程家ee
采购主管录新商品新品资料单转交店长资料进系统并确认
采购主管下新品订单,并通知运营部经理
友便利连锁店联营及代销供应商引进流程家ee
友便利连锁店新商品转正流程家ee
未退货通知
友便利连锁店供应商分析淘汰流程家ee
e家e友便利连锁店租赁结算流程
友便利连锁店联营供应商结算流程家ee
友便利连锁店代销结算流程ee家
友便利连锁店购销(先货后款)结算流程ee家
友便利连锁店购销(先款后货)结算流程ee家
财务部出纳员与采购员
提货并且付款
友便利连锁店类别单品数量管理流程家ee
调整类别中单品数量指标
完成,下次再查
友便利连锁店赠品送货流程家ee
友便利连锁店场内、场外促销活动流程家ee
1、供应商自行举办的活动:
向采购部提出申请,并上报活动方供应商
、审核方案,与供应商洽谈活动所需人员、场地、物品等1项。
采购、视情况制定费用标准2 、采购总监审核、签批3、开具交费单据。
财务收取费用,开具收据。
企划审核收据,安排活动
安排活动场店
2、公司举办的活动:。