验货流程图
- 格式:docx
- 大小:34.27 KB
- 文档页数:1
IQC进料检验流程图
流程叙述负责人记录/参考
进料:收到仓库的送检通知单,准备验收; 仓管员/检验《送检通知单》
检验员《产品检验报告》
查看产品的检验报告:要求供应商提供产品检验
报告;
检验员《产品检验报告》
判定:检查产品检验报告上的各指标是否符合要
求;
合格:报告合格再抽样检验; 检验员《原材料内控标准》
不合格:通知品管主管; 品管主管
知会仓库,退货:在送检通知单填写不合 检验员《送检通知单》
格;交予仓库,退货处理; 仓管员
知会采购部:与采购部沟通该供应商提供该 品管主管《质量内部联络单》
批次产品的问题; 采购员《供应商每批供应记录表
抽检合格:抽检合格,填写送检单,交予仓库; 检验员/仓管《送检通知书》
入仓:仓库接到送检单,安排入仓; 仓管员《原材料检验报告》
存档:所有文件检验记录存档 检验员《每月原材料质量统计》。
商品验收流程图
一、验收前(八看)
一看订单存货地
二看订单所属大类,低温保鲜、冷冻冷藏和生鲜商品(并根据冷链要求做好测
温和登记)优先验收,生鲜商品和高值烟酒收货时遵循“双人验收”原则,收完后第一时间交接给相应部门。
三看备注栏里有无“急补单”字样的备注
四看供应商送货清单填写是否完整,盖章、签字是否齐全
五看供应商有无预约、是否是按预约时间送货、有无退货,有退货的先办理退换货再收货。
六看订单送货日期,根据上海本地订单有限期7天、外地订单有效期14天来判断订单是否还有效等。
七看物流模式,门店只能验收物流模式为直送的,直通、配送的须先送到配送中心然后再转送至门店。
八看上海华润万家订货通知单有无缺页现象,缺页的订货通知单不能用来做商品验收。
二、验收中
●抽查要求
A.验收抽样,应从不同位置、方向、层面抽取,所有单品每样商品取一个用
于百分之百核对条码,验证后放回。
B.小件、贵重商品100%开箱点数、100%查验质量。
C.非原包装或每箱数量不固定的商品:100%开箱点数;查验30%的商品质量。
D.原包装商品:5箱以下(含5箱)百分之百开箱点数、查验质量,10箱以上
(含10箱)60%开箱点数、查验质量。
E.点数、核查实际商品规格与订单规格、实收数量是否一致如需改动,应由
验收的收货员和供应商送货员共同签名确认。
三、验收后
●将已验收完的所有单据传单据组。
对于拒收商品在《商品拒收登记本》登记拒收日期(订单编号,用于整单拒收时登记用)、商品编码、商品名称(可简写)、拒收原因以及拒收数量等,并须收货员、供应商送货员、防损员三方一起签字确认。
签名处:。
外购成品入库检验及产品出货核对流程图
一、外购成品入库检验流程图 物流中心开具《灯具进货单》连同产品一起放在待检区
返工
OQA 根据送检单上的信息准备相关检
OQA 根据相关作业指引进行抽样和实施检验
NG
OK
二、 产品出货核对
检验合格时,在《灯具进货单》上签字盖PASS 章,同时在外箱上作好合格标识,然后办理入库手续。
检验不合格时,在产品上进行不合格标示,同时开具《出货检验报告》通知采购进行签字确认,然后办理退货手续。
将检验状况记录在《OQA 出货检验报告》、《OQA 检
验日报表》上,并将每日检验状况输入电脑通过邮件形式发送给相关单位,便于查询与追溯
刚入库之成品,OQA 按要求核对
产品型号,规格等项目与实际产品的一致性。
仓存货品呆滞15天以,必须对产品相关安全,功能及测试重新进行验证。
核对无误后,OQA 在《销货单》上签字盖“QA PASS ”印章,并保留一份底单便于查询与追溯。
仓库将《销货单》和《出货通知书》一起交给OQA 检验人员核对检验状况。
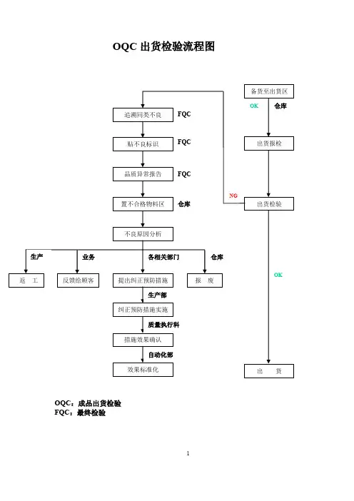
OQC 出货检验流程图
OQC :成品出货检验 FQC :最终检验
追溯同类不良 贴不良标识
品质异常报告 置不合格物料区 不良原因分析
提出纠正预防措施
纠正预防措施实施
反馈给顾客 返 工 报 废
生产 业务 各相关部门 仓库
备货至出货区
出货报检
出货检验
NG
措施效果确认
效果标准化
生产部
质量执行科
自动化部
出 货
仓库 OK
FQC
FQC
FQC
仓库
OK
OQC 出货检验流程图
业务 自动化部
各相关部门
生产部 仓库 质量执行科
OK
NG
备货至出货区 出货报检
出货检验 追溯同类不良 贴不良标识 品质异常报告
措施效果确认 出 货 提出纠正预防措施
不良原因分析
置不合格物料区
反馈给顾客
纠正预防措施实施 效果标准化 返 工
报 废。