煤炭贸易操作流程图
- 格式:doc
- 大小:41.50 KB
- 文档页数:1
嘉鑫实业商贸部煤炭工作业务工作流程由以下五部分组成:一、拟定销售计划二、拟定采购计划三、采购入库四、出库销售五、资金回笼一、拟定销售计划(销售负责人:薛耀强)根据所接触客户的实际情况上报公司,综合考量客户资源需求、结算方式和信誉度后,项目负责人根据现行资源渠道、物流路线安排资金调配等,核实成本后确定是否拟定该销售计划。
如果确定,请上报销售合同样本及采购计划报告,经会议讨论批准后实施,如弃用该业务,则分析其中原因。
销售计划拟定的流程:1.下游客户的获取,业务负责人进行前期的业务开拓,获取客户的基本信息,资源需求、煤炭的使用种类、质量要求、月使用量、结算方式、物流线路、主管人员和主要竞争对手等情况。
2.下游客户的考量,内容:客户信誉度调查、使用煤种的鉴定、质量要求的考核、月用量及成本的调查。
(根据客户要求、数量要求、结算方式、公关投入、物流路线安排及货源采购成本,核算出售成本。
)3.授权签订销售合同、拟定销售计划。
二、拟定采购计划。
(采购负责人:魏少鹏)采购经理根据销售计划报告来拟定采购计划。
采购计划的拟定是根据客户对煤炭的质量要求、数量要求、质检流程、供货时间及我公司的作业技术来确定。
采购计划的拟定流程:1.落实采购时间、采购煤种和采购数量。
根据销售合同的供应时间确定采购时间;根据下游客户质量要求及质检流程确定采购煤种和采购数量。
如果通过配煤达不到客户需求的,则上报公司听候进一步指示。
如果通过配煤可以满足客户需求的(电厂质检相对宽松、并且所使用的煤指标可通过现有矿厂进行调配的)在拟定计划采购后不经入库可直接销售电厂(采购入库和出库销售同时进行)。
2.采购后直接入库公司指定煤场。
三、采购入库流程(财务人员开具出入库发票)四、出库销售(负责人:销售经理)根据销售合同规定的供货时间、客户对煤炭的质量要求及供货数量安排出库销售。
1.筛煤和配煤,根据拟定的采购计划中选择筛煤和配煤,销售在出库前进行,若单一煤种则直接出库。
×××××××煤炭有限责任公司组织框架控制流程图
全面控制和追究责任
供销部组织机构框图
职责
董事长:全面领导
总经理:协助董事长做好供销工作
董事长助理:兼货管经理协助董事长、总经理做好供销工作。
主责:1、地面煤炭,煤炭管理,煤炭发货运送,客户收发货凭证管理,门卫、装车、过磅、倒管理。
2、采购、验收、退货、索赔、供应商管理。
总经理助理:兼销售经理,协助董事长、总经理做好供销工作。
主责:编制销售计划、市场开拓、销售谈判、合同制定、货款回收。
供应经理:协助董事长、总经理做好供销工作。
主责:采购计划审查汇编,采购合同谈判、合同拟定,供应商选择,供应过程管理、验收入库,索取发票凭证。
采购业务流程与主要控制点
业务流程图主要控制点
销售业务流程与主。
二、煤炭业务基础知识(一)、煤炭行业常用语❖付款方式1、一票:就是价格里已经带有煤管票的价格。
2、两票:价格里分别包含煤炭增值税票和煤管票的价格。
3、大款:煤炭合同价,即走公司帐目。
4、小款:好处费,这个是不走公司帐目的。
5、大款+小款:比如650+30,意思是说煤炭合同价650,30块钱的好处费。
❖报价方式1、坑口价是在煤矿坑口交货的价格。
2、车板价,是在煤矿所在地火车站交货的价格。
主要区别是交货地点不同和内含其他费用多少的不同,区别就类似于国际贸易术语种的EXW,和FOB。
3、车板含税价:有税的车板价格。
4、一票制:所谓一票,是指将购进的所有发票项目进成本。
5、平仓价:平仓价是指煤炭在港口装船后的价格。
除煤炭本身价格外,需要加上港杂费一项,国内港口不同,15-20元|吨。
这个费用是交给港口的,也就是所说的场地费和装卸费。
6、场地价:是指在某个堆放场地交货的价格,一般是不包括税的。
平仓价是指煤炭在港口装船后的价格。
7、含税车板价:是指在火车车厢交货、含增值税的价格。
8、不含税车板价:是指在火车车厢交货、不含增值税的价格,也就是说,没有在煤价上加17%的税。
9、含税包干价、不含税包干价是指,把煤运到用户指定的地点的价格,一般是用火车或者船、或者汽车运输。
含税和不含税是说用户需要不需要发票,如果需要发票,是以煤价和运费为基础,加上税。
10、到站价:和含税包干价、不含税包干价一样。
(二)、煤炭业务操作方式❖注意事项:1.煤炭首先要搞清楚煤种,煤种的主要依据是挥发份,这样可以决定煤的下游用户群;2.搞清楚煤炭质量,燃料用煤主要看发热量,其它用煤主要看灰份;3.结算方式,现在基本是两票制,煤价和运价综合考虑;4.运输方式,水、陆、铁。
5.付款方式,销售的关键,这一环节把不好有可能会出现上当。
❖跟踪付款的操作方式:1、签订购销合同,并公证。
2、我司垫资报批计划,计划批下来再付计划费给我公司。
垫资批计划主要是针对直接(终端)用户,对于是中间商和中介朋友,计划费需预付。
WORD 格式
专业资料整理
煤炭贸易流程简介
1、流程图如下:
签订煤场租赁合同
供货方提供票据: 确认无误打款
增值税票
配煤服务发票 与供应商签订合同 出具化验服务票 采样化验 化验报告 过 磅 过磅单 采购装车 到煤场 根据化验、过磅结果及合同 结 算 配 煤 签订配煤合同 签订代发协议 代发公司申请发运 化验、拍照、接车 化验并装车发运 到电厂 代发货方提供票据 : 铁路大票 装煤发票 代发服务发票 根据合同及化验质量指标
电厂收货 铁路大票交付电厂
电厂化验
出具结算单 我司收到结算单
核
对 确认加价或 扣款合理 向电厂开专用发票 电厂确认打款
我司收款。
海量免费资料尽在此中国煤炭进出口公司进口煤业务手册北大纵横管理咨询公司2002年10月目录§1手册概述1.1 适用范围本手册适用于华北储运有限公司(以下简称“中煤进出口公司”)进口煤业务的操作指导和管理,适用人员为与进口煤业务相关的中煤进出口公司员工。
1.2 目的一、通过制定本手册,规范中煤进出口公司进口煤业务操作。
二、通过制定本手册,明确业务流程相关环节的责任和义务,有效提升进口煤业务的运作绩效。
1.3 涉及的主要名词解释及范围界定一、进口煤业务流程:是指中煤进出口公司进口煤业务所涉及到的一系列连续的、以规定方式进行的、达到一定结果的工作步骤组合。
二、节点:是流程的基本组成元素,是一系列的连续的动作组合;同时节点也是公司安排岗位职责的基本依据之一。
§2 进口煤业务图文概述2.1 进口煤业务概述进口煤业务是中煤进出口公司的煤炭业务重要组成部分,进口煤业务流程是进口煤业务的现实执行过程。
进口煤业务流程总体而言,包括以下16个环节:采集信息、制定营销计划/方案、签订合同、制定年度经营计划、制定月度经营计划、研读合同、确定船期、跟踪受载船舶运行动态、报验、报关、商检及卸港接船、过驳及驳运、收取进口煤货款、支付进口煤货款、支付银行手续费、结算滞速费、收取佣金、整理航次卷宗、提供售后服务、分析本月执行情况。
2.2 进口煤炭业务流程图2.3 进口煤炭业务资金流说明表§3 进口煤业务流程详细说明3.1 采集信息(F1)采集信息是指工作人员通过各种渠道采集与煤炭业务相关的市场信息和客户信息,然后对所收集的进行处理,得到公司所需的各种市场分析报告、专题报告、客户信息资料表格等的过程。
3.1.1 工作步骤A.信息采集的渠道:a.专业报刊或经济类报刊:列举报纸及刊物名称;b.煤炭行业互联网站:列举网站名称;c.各种煤炭研究报告:列举煤炭研究机构名称;d.煤炭或能源统计资料:列举统计资料的名称;e.公司内部提供的信息(煤炭业务部门、财务部门等);f.日常业务联系;g.业务相关公司和员工B.信息采集的内容:a.市场信息:(a)国家与进口煤相关的政策和管理办法;(b)国际煤炭供求信息,国际能源市场信息;(c)中煤进出口公司进口煤目标市场(如浙江电力系统、广东电力系统、湄洲湾电厂等)的煤炭进口信息;b.客户信息:(a)用户信息;(b)国外供货商信息;(c)国际煤炭海运公司信息;(d)国际煤炭港口及国内目的港信息;(e)报关行信息及居间商信息等C. 信息采集的频度:(a)日常:专业报纸及经济类报纸、专业互联网站、日常业务联系、公司内部信息;(b)月度:专业杂志、期刊;(c)年度:行业研究资料、统计资料A.对信息进行整理、归类,填写相关的表格:a.填写客户信息表格,建立客户信息档案:客户联系表;关键人物的个人资料;客户概要信息记录;客户信息表;b.填写客户信用信息表格,建立客户信用信息档案:《客户信用信息管理卡》;c.建立市场信息资料库,包括竞争对手资料表等B.根据整理后的信息对信息进行加工:a.对客户信用进行评价:(a)成立客户信用评价小组;(b)整理客户信用信息,并进行信用分析(c)阅读客户信用信息,建立或修改客户信用打分评价标准;(d)客户信用评价小组对客户信用进行打分,填写客户信用评价表;(e)对客户信用评价表进行统计整理,按打分结果对客户信用进行分类,填写客户信用等级分类表;b.编写《煤炭信息简报》;撰写市场分析报告,专题报告,公司领导需要的各种市场营销报告等呈报过程:A、撰写初稿;B、上报直接上级审核;C、定稿,打印,向上呈报;D、存档3.1.2 工作结果A.《煤炭信息简报》,必须包括以下内容:近期中煤进出口公司进口煤业务销售动态,近期公司目标市场用户进口煤需求动态,近期国际市场煤炭供求状况,近期煤炭价格波动情况,近期国家进口煤政策信息等B.市场分析报告必须包括以下内容:市场分析报告概述;市场变化信息;市场变化信息分析;公司针对变化应采取的对策建议;市场分析报告总结等C.客户信息记录必须包括以下内容:客户联系表;关键人物的个人资料;客户概要信息记录;客户信息表D.客户信用记录必须包括以下内容:客户信用信息管理卡;客户信用评价表;客户信用等级分类表E.竞争对手信息记录必须包括以下内容:竞争对手资料表F.专题报告必须包括以下内容:专题报告的目的;报告概述;资料分析;结论和建议等G.其它需要呈报的报告:根据公司领导具体要求撰写。
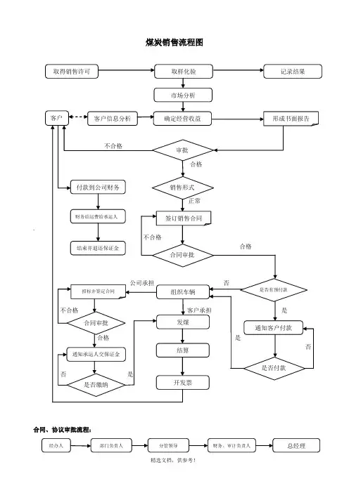
煤炭销售流程图不合格合格正常. 不合格合格公司承担 否不合格 客户承担 是合格 是 否否 是合同、协议审批流程:客户信息分析 确定经营收益 销售形式审批客户 取样化验 市场分析组织车辆 合同审批 取得销售许可 付款到公司财务 结算开发票 记录结果财务结运费给承运人 发煤 通知客户付款 是否付款 合同审批结束并退还保证金是否缴纳通知承运人交保证金 形成书面报告 招标并签定合同 签订销售合同 总经理 是否有预付款销售流程的简单描述:自产煤炭质量达标 根据煤炭质量及销售策一般要客户缴纳50000-100000元押金,并且限期完成 和煤矿共同取样化验,签字确认煤质较差----掘进煤 对每日发运进行化验存档 调研形成报告,领导小组定价 领导小组审批 装车时按照要求进行装车,严禁错装乱装 签定合同,付款 寻找客户并洽谈 经销商负责运输经销商 签订煤炭销售合同 经销商派人现场装车、监督质量,公司不负责根据结算吨位及价格开具增值税发票每月底对账结算 地磅交货 流程审批运销部负责客户公关、交货电力、化工运销部监督质量 买方负责运输经销商预付货款给煤矿经销商负责交货综合科及财务部根据结算单开具相应发票销售科负责联系客户办理结算 质量争议处理:煤炭协会化验室化验;电厂备用样封存到水城权威机构化验,以水城化验为准 运销部向磅房下达发货量,财务确认 财务通知运销部确认到账 运销部向磅房下达通知单,财务确认贸易煤购销流程的简单描述:矿方组织车辆运输 签订运输、购销合同调查煤矿、运输等情况运销部组织车辆运输建立煤矿、运输信息档案要求煤矿按合同约定提供相应的发票,有余款的要及时退回。
到指定货场收货入库选定站点、煤矿会议纪要,流程审批注意煤炭的质量及数量,并要求司机签字确认,保留好磅单等打预付款煤炭采购对车辆进行跟踪调查,电话联系,安排关系好的车辆在路上注意动向,确定到货场的时间,贴封条等杜绝偷煤、换煤一般要求车主缴纳5000-10000元押金,并且选择熟悉的车辆客户自提价格领导小组定销售价格汽运 签订购销合同 记录备案装车电厂及化工预结款用户等铁路 自产煤流程审批市场用户及预付款用户报计划、请车 取样化验 打印火车轨道衡磅单,磅单打印两份,随火车一份,保存一份跟踪运输情况,及时了解煤炭的验收数量和质量,如有异议根据合同条款进行处理到矿车辆分煤种进行装车,严格按照矿有关规定执行督查所有进矿车辆,发现违反规定者及时制止,严重者进行处罚。
进口煤炭买卖流程买方询价开立LOI(购买意向书)买方提出煤炭进出口经营权证明文件买方提出煤炭进口许可证卖方提出报价单卖方提示公司及矿区介绍 - 公司简介、矿区照片卖方提示产品规格检验证明COA- 煤质检验:SGS或同等级检验公司检测卖方提示出口信用证明(近期出煤记录) - 含船号的煤质检验单or通关提单如果賣方只能做FOB,那么需要以下的数据来判断是否能够操作:1,签约公司名称,银行信息2,出煤记录,每单货物的全套数据(近期的,连续的,数量越多越好,10 份左右) ──全套数据包括:装货港商检, 海运提单, 卸货港商检(最好是中国或台湾的,其它的也需要)卖方安排看矿区(行程表)买方至印度尼西亚勘矿买、卖双方议订煤价及合同条款买方提出Purchase Order买方提出银行开立之BCL买、卖双方依国际贸易标准程序流程,签订采购合同签约后5天内买方银行具开具L/C给卖方收到L/C后5天内由卖方银行发出契约金额2%的PB履约保证金给买方卖方应于卖方银行收到L/C后30/40天内交货买方确认运输船舶、保险、目的港与海关指定卸货地点(Shipment / Insurance) 卖方在装船前委托SGS/CCIC作出口煤质检测,买方派员至装运港监督检货。
卖方于货物离港、完成交易程序后,押汇请款。
买方清关提货献给刚做煤生意和做了有困惑的朋友们的一点小知识:1.煤炭增值税(13%)是国家对煤炭这种商品专门征收的一种税,计算方法如下:假设你从矿上买煤226元/吨,装车费5元/吨,汽车或火车运费 100元/吨,卸车费5元/吨,短驳费5元/吨.现在,煤已到了你的码头或场地。
你的实际付出为341元/吨。
假设你所有付出都有正规发票,那么,你可抵扣的税额只有226元/吨的货票和100元/吨的运票。
可抵扣额分别为226/1.13*13%=26100*7%=7合计为33元。
假设你卖给他人452元/吨,装船或装车费用为10元/吨,那么,你应交税额为452/1.13*13%=52实际纳税额=52-26-7=19元你的毛利=452-226-100-25=101。