住房公积金提取流程图
- 格式:doc
- 大小:44.50 KB
- 文档页数:6
成都住房公积金归集业务办理流程图
一、单位缴存登记
(一)柜台直接受理
(二)预约办理
二、个人账户设立
注:自由职业者账户设立后执行委托扣款协议签约业务,无账户设立清册和联名卡待发卡清册。
三、封存
四、启封
五、零积数零余额账户销户
七、比例调整
八、内部转移
十、集团内部转移
十一、转入托管
十二、汇缴登记(一)暂收缴款汇缴
(二)非暂收缴存汇缴
十三、撤销登记
十四、延缓缴存
十五、降低缴存比例
十六、补缴登记(一)异地转入补缴
(二)其它补缴
十七、暂收登记及缴款
十八、多缴退回
十九、集中汇划
说明:
受款单位工作流程:受款单位自行完成各自清册维护后→选择集中汇划缴款方式→确认缴款→生成业务登记号→打印《成都住房公积金单位应汇缴清册》,《成都住房公积金汇总变更统计表》并签字。
付款单位工作流程:付款单位统一接收各受款单位业务登记号,在集中汇划缴款中逐一勾选,确认缴款→打印《成都住房公积金集中缴款通知书》,《成都住房公积金暂收转出通知单》(付款单位采用暂收缴款),《成都住房公积金集中汇划缴存单位明细》并签字。
二十、托管内部转移
二十一、注销缴存登记
二十二、联名卡管理
注:本流程适用于联名卡查询密码重置和解约二十三、单位信息变更
二十四、个人信息变更
二十五、单位附属功能管理
注:适用于单位网上政务大厅使用、财政属性缴款、集团单位设立和比例差异化管理二十六、个人委托收款。
济源个人公积金提取流程流程图:职工提供提取要件材料→中心服务大厅支取窗口申请→中心审批→窗口办理提取手续(开具现金支票)→委托银行付款详细注解:第一步:1.职工持提取手续到中心服务大厅支取窗口申请。
2.中心审批提取。
第二步:职工持身份证在提取手续上签字,开具现金支票,委托银行付款。
三、申请提取须提交的资料:(一)购买商品自住住房1.经房管部门登记备案的购房合同、购房发票原件及复印件1份;2.《职工个人申请支取住房公积金审批表》2份;3.身份证原件及复印件1份;4.房管局出示的家庭房屋信息查询告知单原件1份。
(二)购买二手住房1.房管部门交易的房屋买卖合同、房产证、契税票原件各1份及复印件1份;2.《职工个人申请支取住房公积金审批表》2份;3.身份证原件及复印件1份;4.房管局出示的家庭房屋信息查询告知单原件1份。
(三)本市范围内建造、翻建、大修自住住房1.相关部门批准出具的宅基地使用证或建设工程许可证或建筑规划许可证的原件及复印件1份;2.村委会和镇政府或办事处出具的允许建设的证明;3.《职工个人申请支取住房公积金审批表》2份;4.1年以内因翻建住房支付费用的票据(发票或收据)原件及复印件1份;5.身份证原件及复印件1份;6.房管局出示的家庭房屋信息查询告知单原件1份。
(四)装修费用提取1.购房合同、发票或商业银行借款合同(加盖银行贷款专用章)复印件1份;2.《职工个人申请支取住房公积金审批表》2份;3.装修合同、装修材料票据原件及复印件1份;4.身份证原件及复印件1份;(五)退休退休证、身份证原件及复印件各1份。
(六)与单位终止劳动关系1.职工完全丧失劳动能力,与单位终止劳动关系(1)职工与单位终止劳动关系证明原件及复印件1份;(2)《职工个人申请支取住房公积金审批表》2份;(3)当地劳动鉴定委员会出具的劳动能力鉴定证明;(4)身份证原件及复印件1份。
2.与单位解除劳动关系,户口迁出本市(1)职工与单位终止劳动关系证明原件及复印件1份;(2)《职工个人申请支取住房公积金审批表》2份;(3)户口薄或户口迁移证明原件及复印件1份;(4)身份证原件及复印件1份。
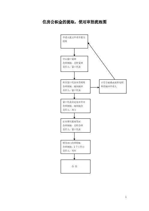
住房公积金的提取、使用审批流程图
申办住房公积金贷款审批流程图
降低住房公积金缴存比例或缓缴审核流程图
单位不办理住房公积金缴存登记或者不为本单位职工办理住房公积金账户设立手续的行政处罚流程图
单位逾期不缴或者少缴住房公积金的行政处罚流程图
挪用住房公积金的行政处罚流程图
住房公积金的缴存登记或者变更、注销登记流程图
住房公积金账户的设立、转移或者封存办理流程图
足额缴存住房公积金办理流程图。
住房公积金行政处罚流程图项目类型:行政处罚项目编号:行政处罚1号服务电话:6898211办理地点:凤凰东路50号住房公积金办公大楼四楼监督投诉电话:6839648(市公开办) 6898207(市公积金中心监察室)住房公积金提取流程图项目类型:非行政许可审批项目编号:非行政许可审批1号法定时限:3日承诺期限:3日服务电话:6898246办理地点:凤凰东路50号住房公积金办公大楼一楼业务大厅监督投诉电话:6839648(市公开办) 6898207(市中心监察室)住房公积金贷款流程图项目类型:非行政许可审批项目编号:非行政许可审批2号法定时限:15日承诺期限:15日服务电话:6898248办理地点:凤凰东路50号住房公积金办公大楼一楼业务大厅监督投诉电话:6839648(市公开办) 6898207(市中心监察室)住房公积金开户登记、转移、封存流程图项目类型:非行政许可审批项目编号:非行政许可审批3号服务电话:6898246办理地点:凤凰东路50号住房公积金办公大楼一楼业务大厅监督投诉电话:6839648(市公开办) 6898207(市中心监察室)(1)住房公积金开户登记流程图(2)住房公积金转移流程图(3)住房公积金封存流程图对逾期不缴存或少缴住房公积金的单位处理流程图项目类型:其他行政执法权项目编号:其他行政执法权1号服务电话:6898211办理地点:凤凰东路50号住房公积金办公大楼四楼监督投诉电话:6839648(市公开办) 6898207(市公积金中心监察室)组织人事权流程图(1)人员录用流程图监督投诉电话:6898207(市中心监察室)(2)人员调动流程图监督投诉电话:6898207(市中心监察室)(3)人员任职流程图(4)人员奖惩流程图监督投诉电话:6898207(市中心监察室)(5)人员考核流程图监督投诉电话:6898207(市中心监察室)财务处置权流程图(1)经费管理监督投诉电话:6898207(市中心监察室)财务处置权流程图(2)物资采购分配。
《上海市住房公积金网上提取步骤流程》同学们,今天咱们来了解一下上海市住房公积金网上提取的步骤流程。
先讲个小故事。
小王姐姐大学毕业后留在了上海工作,租房子压力挺大的,她就想着把住房公积金提取出来缓解一下压力。
那具体怎么做呢?
第一步,要先在网上搜索“上海住房公积金网”。
第二步,进入网站后,点击“个人用户登录”。
如果没有注册过,得先注册一个账号。
第三步,登录成功后,找到“提取业务”这个选项。
第四步,根据自己的提取原因选择相应的项目。
比如说,租房提取、购房提取等等。
第五步,按照系统提示填写个人信息和提取金额等内容。
第六步,上传相关的证明材料。
比如租房的合同、购房的合同或者其他需要的证明文件。
第七步,提交申请后,就等着审核啦。
第八步,如果审核通过,钱就会打到你绑定的银行卡上。
比如说,小王姐姐在上传租房合同的时候,因为照片不太清楚,审核没通过。
她赶紧重新拍了清晰的照片上传,这才成功提取到了住房公积金。
在网上提取住房公积金的时候,一定要如实填写信息,上传的材料也要清晰、真实、有效。
同学们,虽然咱们现在可能还用不到提取住房公积金,但是多了解一些知识总是好的。
说不定以后我们自己或者身边的家人朋友会用到呢。
希望大家通过今天的介绍,对上海市住房公积金网上提取步骤流程有了一定的认识。
南京公积金线上提取条件及流程
职工身份认证后即可办理网上提取申请,目前网上可以办理离退休和支付房租提取申请。
(一)离退休提取申请
达到国家法定退休年龄且单位已为其办理住房公积金账户封存手续
的职工可以在网上申请。
职工登录网上办事大厅后点击“提取业务-网上退休销户提取登记”,获取并输入手机验证码提交后即申请成功。
(二)支付房租提取申请
职工及其配偶在南京市无产权住房的可以在网上申请。
职工登录网上办事大厅后点击“提取业务-网上租房提取登记”,输入婚姻状况信息、提取金额、手机验证码提交后即申请成功。
(三)购房提取申请
职工及其配偶在南京市主城区(玄武区、秦淮区、建邺区、鼓楼区、栖霞区、雨花台区)购买自住住房的可以在网上申请。
职工登录网上办事大厅后点击“提取业务-网上购房提取登记”,输入婚姻状况信息、商品房合同登记备案号(合同封面的宁房预售合字号)或二手房丘权号(在不动产权证书的“权利其他状况”区域)、提取金额、手机验证码提交后即申请成功。
二、符合哪些条件可提取住房公积金账户余额
1、购买、建造、翻建、大修自有住房的持有效提取凭证;
2、离休、退休的持有效提取凭证;
3、完全丧失劳动能力,并与单位终止劳动关系的持有效提取凭证;
4、到国外、港、澳、台地区定居的持有效提取凭证;
5、偿还住房贷款本息的持有效提取凭证;
6、被纳入本市城镇居民最低生活保障范围并支付房租的持有效提取凭证;
7、职工在职期间被判处刑罚、职工住房公积金转入集中封存户两年后仍未重新就业、职工户口迁出本市、非本市户口职工离开本市并与所在单位终止劳动关系的。
买房公积金提取流程一、申请公积金提取:1.完善提取申请。
申请人须根据公积金提取有关规定,填写提取申请,并向所在单位提供相关资料和签署的公积金提取申请材料。
2.领取提取凭证。
领取提取凭证前,申请人须向营业网点提供本人身份证及准备提取贷款的房屋买卖合同书等相关文件,经由公积金提取机构审核验证后,方可发放提取凭证。
3.办理提取业务。
申请人凭公积金提取凭证,向营业网点提交提取申请资料,经审核批准后,可以办理提取支取手续。
二、房屋贷款:1.准备贷款材料:购房合同书、房屋买卖双方公证书、公积金提取凭证。
2.申请房屋贷款。
在提供上述信息后,请向当地银行获取房屋贷款,并提供一定的抵押房产和可依法办理抵押贷款手续的材料。
3.办理房屋贷款手续。
银行审核完贷款申请后,应及时签署抵押和贷款协议,并办理相关的手续,取得房屋贷款放款文件。
三、房屋买卖:1.办理房屋买卖手续。
买卖双方应及时签订合同,确定买、卖双方的权利和义务,并向房屋买卖中介机构出具买卖房屋所需的证明和公证文件。
2.房屋买卖登记。
完成上述程序后,双方须向住建部门提交申请,依据《买卖房屋登记管理办法》,须准备营业执照、代理委托书、及房屋买卖合同书等。
3.缴纳相关费用。
双方按照住建部门规定缴纳买卖房屋相关费用后,住建部门将核发房屋买卖证明文件。
四、缴纳公积金:1.按照规定缴纳公积金。
缴纳提取手续的公积金是按照当地的规定进行缴纳的,一般情况下,应按照月缴纳,办理公积金提取后,应按时缴纳公积金。
2.充足提取用现款。
提取用现款须由本人在提取手续办理完成时充足缴纳,须与公积金机构签订提取入账协议,按协议时效缴纳款项。
以上就是买房公积金提取的流程,以上事项都必须遵循法律法规,办理时应遵循流程及有关规定,以免遗漏相关步骤而出现问题。
山西公积金提取流程及注意事项《山西公积金,提它有门道》嘿,大家好呀!今天咱就来唠唠这山西公积金提取的那些事儿。
说起来,这公积金可真是咱打工人的一笔小宝藏呀!要提取山西公积金,首先咱得搞清楚流程,这就跟玩游戏打怪升级一样,得一步步来。
第一步,那肯定是准备材料啦。
什么身份证、购房合同、贷款合同啥的,一样都不能少。
这就好比是上战场,武器装备可得带齐全咯,不然可没法冲锋陷阵呀!然后呢,就得去公积金管理中心递交申请啦,心里那个小紧张呀,就跟第一次上台演讲似的。
在这过程中,可得注意一些事项哦,不然一不小心就踩坑啦。
你比如说材料可别弄丢了,那不就傻眼啦。
这就好比是去寻宝,地图丢了可还行?还有呀,填写申请表的时候可得仔细着点,别写错字啦,不然又得重新折腾一遍,多麻烦呀。
我就有个朋友,因为填错一个字,来来回回跑了好几趟,累得够呛。
这时候咱们就得跟那细心的小裁缝一样,不能有丝毫差错。
等申请交上去了,那就等着审核吧。
这等待的过程就跟等快递似的,心里那个焦急呀。
等审核通过了,哇哦,那感觉就像是中了大奖一样开心。
钱一到账,那真的是美滋滋呀,可以去实现自己的小愿望啦。
要说提取公积金呀,其实也是给自己的生活加点料。
买了房的可以用来还贷款,减轻一下压力;没买房的呢,也可以把钱提取出来,去旅游呀、学习充电呀,让自己的生活更丰富多彩。
总之,要好好利用这笔钱,让它发挥最大的作用。
哎呀呀,说了这么多,相信大家对山西公积金提取流程和注意事项都有一定了解啦。
咱可得把这流程搞清楚,把注意事项记心间,这样才能顺利地把咱的公积金提取出来,让咱的生活过得更滋润。
所以呀,大家加油哦,向着公积金冲呀!让我们一起享受公积金带来的小幸福吧!哈哈!。
住房公积金提取条件、材料及流程一、全额销户支取:(1)退休支取材料:退休文件、婚姻状况证明;(2)调动支取材料:调动文件、婚姻状况证明;(3)辞职支取材料:辞职文件、婚姻状况证明;(4)死亡支取材料:死亡证明、婚姻状况证明.二、购房支取:(1)购商品房一次性提取材料:一年内的购房合同、备案表、付款收据、婚姻状况证明;(2)购商品房20%首付提取材料:一年内的购房合同、备案表、付款收据、XX双方征信报告(人民银行提供)、婚姻状况证明;(3)购二手房一次性提取材料:一年内过户后的不动产证或房产证、契税XX、增值税XX、婚姻状况证明;(4)购二手房20%首付提取材料:一年内过户后的不动产证或房产证、契税XX、增值税XX、XX双方征信报告、婚姻状况证明;(5)购本单位经济适用房一次性提取材料:建房批复、集资花名册(房改办盖章)、单位出具的购房证明(需包含单价、面积、XX)、规划许可证、施工许可证、一年内的付款收据、婚姻状况证明;(6)购本单位经济适用房20%首付提取材料:建房批复、集资花名册(房改办盖章)、单位出具的购房证明(需包含单价、面积、XX)、规划许可证、施工许可证、一年内的付款收据、XX双方征信报告、婚姻状况证明;(注:首付提取必须在办理XX前完成,所提金额只能提取职工账户上年余额、不超过购房金额的20%;)三、还贷提取:(1)公积金XX提前还贷材料:XX合同原件、一月内的XX余额证明、婚姻状况证明;(注:XX结清证明当月送返办理窗口)(2)银行按揭XX提前还贷材料:XX合同原件、一月内的XX余额证明、还款凭证(提取金额不得大于此金额)、婚姻状况证明;(3)公积金还贷一年一取材料:XX合同原件、银行出具的还款证明;(4)银行按揭XX一年一取材料:XX合同原件、复印件、银行出具的还款证明(包含XX人姓名、身份证号码、借款合同、借款性质、借款金额及年限、最近12个月累计还款额及当前余额,是否逾期)、婚姻状况证明;四、租房提取:(1)租住公租房材料:房屋租赁合同、租金缴纳收据、婚姻状况证明;(2)租住其它住房材料:工作所在地房管局出具的XX双方无房证明、房XX及租赁方的身份证复印件、租房提取公积金申请表(由公积金中心提供)注:所租房屋必须坐落于细化到乡镇的工作所在地;五、大病提取范围:肿瘤病人的补充放化疗、白血病、系统性红斑狼疮、慢性肾功能衰竭、器XX移植术后(肝、肾、骨、骨髓、心脏瓣膜)免疫抑制药物治疗、艾滋病、再生障碍性贫血材料:“重大疾病”提取住房公积金申请表(由公积金中心提供)、家庭收入证明、患者身份证复印件、患者与取款职工的关系证明、二级甲等及以上医院出具的《诊断证明书》、医保部门加盖印章的“费用审核结算单"、交款收据或XX;(注:申请超过3个月将不予受理)注:以上提取公积金的所有文件、合同的复印件按A4纸的70%缩印。
长春市公积金提取条件
:(一)购买、建造、翻建、大修自住住房的;公积金提取流程图
(二)离休、退休的;
(三)完全丧失劳动能力,并与单位终止劳动关系的;
(四)出境定居;
(五)偿还购房贷款本息的;
(六)房租超出家庭工资收入的规定比例的;
(七)与单位终止劳动关系,且户口迁出本市的;
(八)非本市户籍职工与单位终止劳动关系,不在本市就业且离开本市的;
(九)职工享受城镇最低生活保障的;
(十)职工部分丧失劳动能力,并造成生活严重困难的;
(十一)职工因本人及其配偶、父母、子女发生福建省劳动社保部门规定的特殊病症(参照公积金中心网站的“部门文件”栏目),造成家庭生活严重困难的。
长春住房公积金提取条件有哪些?
2017-02-05 16:39 | #2楼
职工有下列情形之一的,也可以向长春住房公积金管理中心申请提取本人住房公积金账户内的存储余额:
第一,购买、建造、翻建、大修自住住房的;
第二,离休、退休的;
第三,大部分或者完全丧失劳动能力、并与单位终止劳动关系的;
第四,出境定居的;
第五,房租超出家庭工资收入的规定比例的。
1
离职住房公金金提取流程
离职住房公积金提取流程:
1.离职证明:从原单位获取离职证明或解除劳动关系证明
2.提取申请:携带相关材料到公积金管理中心或线上提交提取申请
3.资料审核:公积金中心审核申请人信息、离职证明等材料
4.提取审批:审核通过后,公积金中心批准提取申请
5.资金划转:公积金中心将提取金额转入申请人指定银行账户
(离职员工)→(离职证明文件)→(公积金管理中心服务窗口/线上服务平台)→(公积金信息系统/人工审核)→(公积金审批部门)→(公积金账户/银行转账系统)→(申请人银行账户)
注:箭头表示流程走向,括号内为对应环节涉及的主体或工具。
1。
大修、翻建、自建北京市行政区域内自住住房申请提取住房公积金流程北京住房公积金缴存人在北京市行政区域内大修、翻建、自建自住住房的,可申请提取本人及配偶名下住房公积金。
一、购房人申请提取本人住房公积金办理途径有两种:途径一:通过住房公积金网上业务系统申请,到住房公积金柜台办理。
第一步,登录系统。
登录北京住房公积金网,点击首页右侧【个人网上业务平台】,选择【个人网上业务平台(北京中心)】,点击【注册用户登录】,输入账号、密码和验证码登录北京住房公积金个人网上业务平台办理业务(未注册的用户可在登录页面办理注册开通)。
提示: 个人注册仅支持已办理住房公积金联名卡的缴存人。
操作步骤:点击登录页面的【注册开通】,根据系统提示,填写校验个人信息,阅读并勾选确认《综合服务渠道个人用户注册协议》,填写联名卡验证信息,设置公积金交易密码和登录密码,完成注册。
第二步,选择提取事项,录入提取信息。
点击页面左侧【我要提取-提取公积金-提取申请】,在新事项申请列表中点击【大修、翻建、自建北京市行政区域内自住住房申请提取住房公积金】,进入事项申请页面,系统自动反显用户基本信息,选择【收款人联名卡银行】后系统自动反显相应的联名卡卡号。
录入所购住房坐落、住房建筑面积、提取金额、购买建筑材料的发票号、发票密码。
提示:已取得房屋所有权证或不动产权证的,需录入相应的权证号码。
第三步,个人授权、承诺。
阅读并勾选《个人信息核查授权、承诺书》,点击【提交】,系统显示提交成功。
第四步,提交申请,打印回单。
在提交成功页面,点击【打印回单】,打印《北京住房公积金管理中心业务凭证回单》,如需查询业务办理机构,点击【经办网点】,点击【确定】,提取申请完成。
提示:申请事项提交成功后,申请人可点击页面左侧【我要提取-提取公积金-提取申请】,在页面下方“网上可提取事项记录”栏中,点击【查看明细】,可以查询已申请事项详情,点击【打印回单】,可以补打《北京住房公积金管理中心业务凭证回单》。
中国建设银行个人公积金提取流程下载温馨提示:该文档是我店铺精心编制而成,希望大家下载以后,能够帮助大家解决实际的问题。
文档下载后可定制随意修改,请根据实际需要进行相应的调整和使用,谢谢!并且,本店铺为大家提供各种各样类型的实用资料,如教育随笔、日记赏析、句子摘抄、古诗大全、经典美文、话题作文、工作总结、词语解析、文案摘录、其他资料等等,如想了解不同资料格式和写法,敬请关注!Download tips: This document is carefully compiled by theeditor.I hope that after you download them,they can help yousolve practical problems. The document can be customized andmodified after downloading,please adjust and use it according toactual needs, thank you!In addition, our shop provides you with various types ofpractical materials,such as educational essays, diaryappreciation,sentence excerpts,ancient poems,classic articles,topic composition,work summary,word parsing,copy excerpts,other materials and so on,want to know different data formats andwriting methods,please pay attention!中国建设银行个人公积金提取流程详解在中国,公积金是为员工提供的一种住房保障制度,而提取公积金在特定情况下是允许的。
1、住房公积金提取流程图
217
2、住房公积金贷款流程图
说明:根据《条例》规定,住房公积金管理中心应当自受理之日起15日办结(包括受委托银行)。
218
3-1、住房公积金转移、封存流程图
说明:一般情况下,单位发生撤销、解散或者破产情况的,应到公积金管理部门领取《职工住房公积金封存审核表》,在完善相关手续后,将职工的住房公积金账户转移封存到公积金管理部门在受委托银行专门开设的住房公积金封存账户内。
219
3-2、住房公积金设立流程图
说明:单位如因地址变更、人员增减、基数比例调整等情况,均应填写《在职职工缴存住房公积金、新职工住房补贴核定调整表》(一式三份),经公积金管理中心审核、签章后送委托银行一份,公积金管理中心和汇缴单位各存一份。
220。
上海公积金提取流程及注意事项《说说上海公积金那些事儿》嘿,朋友们!今天咱来唠唠上海公积金提取这档子事儿,这可真是个让人又爱又恨的存在呀。
先来说说这提取流程吧,就像是在玩一场游戏,得按步骤来。
首先,你得做好各种准备,就像战士上阵前要检查装备一样。
把该带的证件啥的都准备齐全了,可别到时候少了这少了那的,那可就麻烦喽。
然后呢,就得去找到那个“神秘入口”,也就是办理的地方。
到了那儿,可得和工作人员好好打交道,人家说啥咱就得听啥,可别稀里糊涂的。
整个过程就像是在走迷宫,一个不小心可能就走错路了。
当然啦,在这过程中也有不少要注意的地方呢。
比如说,别以为自己啥都懂,该问还是得问清楚,不然弄错了那可就白费力气啦。
还有啊,可别拖拖拉拉的,这事儿有时候也是有时效性的,万一一不小心过了时间,那不就悲剧了嘛。
我有个朋友就是,以为时间还早呢,结果到最后才发现来不及了,那懊悔的表情,啧啧,真是让人哭笑不得。
有人会说了,提取个公积金咋这么麻烦呢!嘿,你还别嫌麻烦,这毕竟是咱自己的钱呀,总得按规矩来不是。
这就好比你去银行取钱,总得走那一套流程吧。
而且呀,等你真的把这钱提出来了,那感觉可真是爽歪歪呀,就像天上掉馅饼似的。
到时候你就可以拿着这笔钱去干点自己想干的事儿啦,比如说买个自己心仪已久的东西呀,或者出去旅游放松一下呀。
其实吧,这公积金提取就是个生活中的小插曲。
虽然过程可能有点繁琐,但咱也得乐在其中不是。
毕竟这是关系到咱切身利益的事儿嘛。
只要咱耐心点,细心点,就一定能顺利地把这个游戏通关。
好啦,朋友们,今天就先和你们唠到这儿啦。
希望我的这些感受和见解能对你们在上海提取公积金的时候有点帮助。
祝你们都能顺利地拿到自己的公积金,然后过上美美的小日子哟!。
住房公积金提取流程图
一、支取住房公积金具备条件
(1)购买、建造、翻建、大修自住住房的;
(2)离休、退休的;
(3)完全丧失劳动能力并与单位终止劳动关系的;(4)出国、出境定居的;
(5)调离本市的;
(6)偿还自住住房贷款本息的;
(7)租赁自住住房,房租超过家庭收入15%以上的;
(8)下岗失业的。
二、支取公积金提供材料
(1)购买商品房,须提交购买合同或房产证、购房发票(付款20%以上)。
(2)购买二手房,须提交房产证及契税、交易费发票。
(3)单位集资建房,须提交分房明细表或购房协议及交款收据。
(4)因城建拆迁而购房的,须提交拆迁部门出具的拆迁证明,补偿计算表及补交款发票。
(5)职工家住农村按村镇规划,需建造、翻建自住住房的,须提交县以上国土规划部门批准的《宅基地使用证》,《村镇建设规划许可证》。
(6)大修自住住房的,须提交大修的有关证明材料。
上述1-6条中需提取和使用配偶住房公积金的,须提交夫妻关系证明(结婚证或户口簿)。
(7)职工离、退休(含提前离退休)的,须提供离、退休证或离、退休申请审批表。
(8)职工完全丧失劳动能力,并与单位终止劳动关系的,须提供劳动保障部门发放的1-4级《伤残证书》。
(9)下岗失业的职工,须提交劳动保障部门发放的《失业证》。
(10)辞职、辞退的职工须提交原单位辞职、辞退文件和本人档案转入人才交流中心办理托管的协议。
农民合同制工人离开市区回原籍的,须提交有关辞职、辞退文件和户籍证明。
(11)企业因撤销、解散或破产无重组能力,对职工不做分流安排的,须由企业持法院等部门的有效文件统一到中心办理。
(12)出境定居的,须提供居住国居住证,本人出国护照或公安部门出国、出境证明。
(13)调离本市的,须提交工作调动材料和户籍管理部门出具的户籍迁出证明。
(14)考取研究生并与原单位解除工作关系的,须提交《入学通知书》和单位证明。
(15)死亡或被宣告死亡的,法定继承人、受遗赠人可申请支取,须提交职工死亡证明或人民法院宣告死亡证明。
(16)偿还购房贷款本息的,须提交《借款合同》,和上月还款凭证,
(17)房租超出家庭工资收入规定比例的,须提交租房合同,付款凭证及家庭收入证明。
上述所要求提供的材料均为原件。
三、支取金额的确定
(1)职工离、退休的;完全丧失劳动能力并与单位终止劳动关系的;出国、出境定居的;调离本市以及下岗失业的,办理全额支取并
清户。
(2)职工购买、建造、翻建、大修自住住房的,按其本人及配偶账户内余额支取。
除大修外,同一套住房只能支取一次。
(3)职工偿还贷款本息,借款人及其配偶住房公积金账户内余额大于借款人当年归还贷款本息数额的,只能支取年度内归还贷款本息额,多余部分不得支取。
(4)房租超过家庭工资收入规定比例的,职工及其配偶支取总额不得超过该家庭当年实际缴纳的租金。
When you are old and grey and full of sleep,
And nodding by the fire, take down this book,
And slowly read, and dream of the soft look
Your eyes had once, and of their shadows deep;
How many loved your moments of glad grace,
And loved your beauty with love false or true,
But one man loved the pilgrim soul in you,
And loved the sorrows of your changing face;
And bending down beside the glowing bars,
Murmur, a little sadly, how love fled
And paced upon the mountains overhead
And hid his face amid a crowd of stars.
The furthest distance in the world
Is not between life and death
But when I stand in front of you
Yet you don't know that
I love you.
The furthest distance in the world
Is not when I stand in front of you
Yet you can't see my love
But when undoubtedly knowing the love from both Yet cannot be together.
The furthest distance in the world
Is not being apart while being in love
But when I plainly cannot resist the yearning
Yet pretending you have never been in my heart. The furthest distance in the world
Is not struggling against the tides
But using one's indifferent heart
To dig an uncrossable river
For the one who loves you.
倚窗远眺,目光目光尽处必有一座山,那影影绰绰的黛绿色的影,是春天的颜色。
周遭流岚升腾,没露出那真实的面孔。
面对那流转的薄雾,我会幻想,那里有一个世外桃源。
在天阶夜色凉如水的夏夜,我会静静地,静静地,等待一场流星雨的来临…
许下一个愿望,不乞求去实现,至少,曾经,有那么一刻,我那还未枯萎的,青春的,诗意的心,在我最美的年华里,同星空做了一次灵魂的交流…
秋日里,阳光并不刺眼,天空是一碧如洗的蓝,点缀着飘逸的流云。
偶尔,一片飞舞的落叶,会飘到我的窗前。
斑驳的印迹里,携刻着深秋的颜色。
在一个落雪的晨,这纷纷扬扬的雪,飘落着一如千年前的洁白。
窗外,是未被污染的银白色世界。
我会去迎接,这人间的圣洁。
在这流转的岁月里,有着流转的四季,还有一颗流转的心,亘古不变的心。