党建办廉政风险防控流程图
- 格式:doc
- 大小:45.00 KB
- 文档页数:7
廉政风险流程图引言概述:廉政风险是指在公共部门或私营企业中可能发生的违反廉洁行为的风险。
为了有效管理和防范廉政风险,制定一份廉政风险流程图是非常必要的。
本文将从五个大点出发,详细阐述廉政风险流程图的内容。
正文内容:1. 廉政风险识别和评估1.1 了解组织结构和业务流程:通过了解组织的结构和业务流程,可以确定可能存在廉政风险的部门和环节。
1.2 收集相关数据和信息:收集组织内部和外部的相关数据和信息,包括过往的廉政违规案例、员工反馈等,以帮助识别和评估廉政风险。
1.3 分析廉政风险:对收集到的数据和信息进行分析,确定廉政风险的可能性和影响程度,以便进一步制定相应的防范措施。
2. 廉政风险防范措施2.1 建立廉政风险管理制度:制定和完善组织内部的廉政风险管理制度,明确责任和权限,规范各项廉政风险管理措施的实施。
2.2 加强内部控制和监督:建立健全的内部控制机制,包括审计、监察等,加强对廉政风险的监督和管理。
2.3 提高员工廉政意识:通过举办培训、宣传等方式,提高员工的廉政意识,增强他们对廉政风险的认识和防范能力。
2.4 加强对外交流和合作:与其他组织进行廉政风险交流和合作,分享经验和做法,共同提高廉政风险管理水平。
3. 廉政风险监测和报告3.1 建立廉政风险监测系统:建立廉政风险监测系统,定期对组织内部的廉政风险进行监测和评估,及时发现和解决问题。
3.2 编制廉政风险报告:根据监测结果,编制廉政风险报告,包括廉政风险的分析和评估,以及相应的防范建议。
3.3 提交廉政风险报告:将廉政风险报告提交给组织的管理层,以便他们了解和决策相关的廉政风险管理事宜。
4. 廉政风险应对和处置4.1 制定应对方案:根据廉政风险报告的结果,制定相应的应对方案,明确责任和措施,以应对可能发生的廉政风险。
4.2 实施应对措施:按照制定的应对方案,组织实施相应的廉政风险防范和处置措施,确保风险得到有效控制和处理。
4.3 监督和评估应对效果:对已经实施的廉政风险应对措施进行监督和评估,及时调整和改进,确保其有效性。
乡镇权力运行流程图(样图)二0一二年七月安乡县廉洁办目录1、农户申请林木采伐许可证程序图 (2)2、农村集体资产监督管理流程图 (3)3、土地权属争议裁决流程图 (4)4、林地所有权、林地使用权争议裁决流程图 (5)5、村民对选举程序或结果有争议裁决流程图 (6)6、农业承包合同签证流程图 (7)7、纪委职权流程图 (8)8、办理《独生子女父母光荣证》流程图 (9)9、《流动人口婚育证明》发放和查验流程图----------- ---1010、农业安全生产检查流程图---------------------------1111、安全监督检查流程图-------------------------------1212、财政各类资金拨付业务工作流程图-------------------1313、残疾证审批发放工作流程图-------------------------1414、村镇工程建设许可工作流程图------------------------1515、综合治理工作流程图--------------------------------1616、粮食直补资金、农资综合补贴流程图------------------1717、村务公开民主管理规范化工作流程图------------------1818、农村最低生活保障申报、审批程序流程图-------------- 1919、农村五保规范申报、审批程序流程图----------------- 2020、救灾救济流程图----------------------------------- 2121、信访调解工作流程图------------------------------- 2222、人民调解工作流程图------------------------------- 2323、工资管理流程图----------------------------------- 2424、股级干部选拔任命流程图----------------------------2525、公车管理使用流程图-------------------------------- 2626、年度考核流程图------------------------------------ 2727、固定资产、办公用品的采购分配流程图----------------- 2828、义务兵优待金发放流程图---------------------------- 2929、征兵工作流程图------------------------------------ 30农户申请林木采伐许可证程序图个人申请不同意村委会研究报镇政府审核报县林业局批准农村集体资产监督管理流程图群众对街村相关财务质询镇农业服务中心受理查阅相关财务手续,出具相关问题结论向质询群众说明情况有异议时,镇政府会议重新研究,或移交有关职能部门土地权属争议裁决流程图当事人提出局面申请,并提供①申请书②相关证据③其他材料农业服务中心受理,调查取证,提出拟处理意见镇政府决定,并制作裁决书送达当事人林地所有权、林地使用权争议裁决流 程 图林地、林权争议单位(人)申请并提供相关材料:①申请书②林地证明③林权证明,并注明地点、面积、树种;镇农业服务中心受理(1日内)镇政府决定,并制作裁决书送达当事人镇农业服务中心调查取证,提出拟处理意申请材料不全,一次告知补正内容村民对选举程序或结果有争议裁决流程图村民对选举程序、选举结果有异议向镇选举委员会提出书面申诉镇选举委员会受理后,派有关人员调查取证并提出拟处理意见镇选举委员会决定村民如不服处理决定,可依法申请复议农业承包合同签证流程图村委会依据国家相关法律、法规发包农村承包土地村委会与农户签订土地承包合同向镇政府申请签证镇农业服务中心备案签证镇政府向农户发放农村土地承包合同镇纪委职权运行流程图阅卷审核审理谈话、权利告知、审理助辩 审理报告 送达、执行 结案、立卷、归档制作处分决定 对信访举报、领导交办、有关部门移交的案件线索,需要调查处理的,由纪委书记给党委汇报,决定实施调查 组成调查组,组织实施初核 形成初步审查报告,提出处理意见,报纪委审批 有违纪违法事实,不需要给予党政纪处分,但依法应由其它行政机关处理的,移送其他机关处理 认为有违法违纪事实,需要给予党政纪处分的,建议予以立案 违法违纪事实不存在,或虽有违法违纪事实但情节轻微,不需要给予党政纪处分的,予以了结 纪委报乡党委同意后予以立案 通知被调查人所在单位或其上级主管部门,但通知后可能影响调查的,可暂不通知 调查组实施调查,将认定的违法违纪事实形成书面材料与被调查人见面实施立案调查,需在6个月内结案。
附件2
对拒绝、拖延提供与审计事项有关的资料,或者提供的资料不真实、不完整,或者拒绝、阻碍检查的处罚职权廉政风险
防控图
防控措施
风险点防控措施风险点
防控措施风险点防控措施风险点
对违反国家规定的财政财务
收支行为的处罚职权廉政风险防控图
风险点 防控措施 风险点 防控措施 风险点 防控措施 风险点
封存有关账册、资料、资产, 申请法院冻结存款职权廉政风险防控图
风险点 风险点 防控措施 风险点
防控措施风险点
暂停拨付与暂停使用有关款项
廉政风险防控图
防控措施 风险点 防控措施 风险点
防控措施 风险点 防控措施 风险点
审计监督权廉政风险防控图
社会审计机构审计报告核查
职权廉政风险防控图
防控措施 风险点
防控措施 风险点
内部审计工作指导监督权职权廉政风险防控图
防控措施风险点防控措施风险点防控措施风险点
审计处理权职权廉政风险防控图
防控措施
防控措施风险点防控措施风险点
风险点
查询被审计单位及被审计单位以个人名义在金融机构的账户存款权廉政风险防控图
防控措施风险点防控措施风险点防控措施。
廉政风险流程图一、引言廉政风险是指在组织内部可能浮现的违反廉洁行为准则、道德规范和法律法规的行为,可能给组织带来负面影响和损失。
为了有效预防和管理廉政风险,制定并执行廉政风险流程图是必要的。
二、廉政风险流程图概述廉政风险流程图是一种图形化的工具,用于描述和展示组织内部廉政风险的发现、评估、控制和监督的过程。
该流程图包括以下几个主要步骤:风险识别、风险评估、风险控制、风险监督和反馈。
三、廉政风险流程图详细步骤1. 风险识别风险识别是廉政风险管理的第一步,旨在识别潜在的廉政风险。
组织可以通过以下方式进行风险识别:- 内部审计:对组织内部各个部门和业务进行审计,发现可能存在的廉政风险。
- 外部调研:了解行业内其他组织的廉政风险情况,借鉴其经验和教训。
- 员工反馈:鼓励员工主动报告可能存在的廉政风险情况。
2. 风险评估风险评估是对已识别的廉政风险进行评估和优先排序的过程。
评估风险的严重程度、概率和影响,以确定哪些风险需要优先处理。
评估方法可以包括定性和定量分析,例如使用风险矩阵、概率统计等工具。
3. 风险控制风险控制是采取措施来降低或者消除廉政风险的过程。
控制措施可以包括以下方面:- 建立内部控制制度:制定和完善内部控制制度,明确责任和权限,规范组织内部各项业务流程。
- 加强培训和教育:通过培训和教育活动,提高员工的廉政意识和风险防范能力。
- 强化监督和审计:建立有效的监督和审计机制,及时发现和纠正廉政风险。
4. 风险监督风险监督是对廉政风险控制措施的实施情况进行监督和评估的过程。
通过定期检查、内部审计和风险评估等手段,确保控制措施的有效性和持续改进。
5. 反馈反馈是廉政风险流程图的最后一步,旨在采集各方反馈意见,评估廉政风险管理的效果,并根据反馈结果进行必要的调整和改进。
四、廉政风险流程图的优势- 提高廉政风险管理的效率和准确性。
- 促进组织内部各部门之间的沟通和协作。
- 便于监督机构对组织的监督和评估。
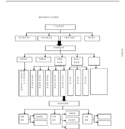
廉政风险防控工作流程图
广泛宣传动员
成立领导小组制定实施方案开展学习教育组织宣传
排查廉政风险
梳理职权明确职责查找廉确定风
政风险险等级
绘梳
制理
一二三权职思业制岗外
利权想务度位部级级级运目道流机职环风风风行录德程制责境险险险流风风风风风
程险险险险险
图
制定防控措施
分期管理
前期思想教育中期后期预防监控动态监控处置制度建设
建立体系归档分类
建立信
息档案
岗单部个
位位门人
廉廉廉廉
政政政政
风风风风
险险险险
及自自自
等查查查
级表表表
目
录
谈话提醒
诫勉纠错。
公文处理流程图发文收文图镇领导审定报镇领导审批党政办意见呈送领导公务接待流程图了解情况 接受任务呈送领导审批制定方案电子大屏幕 列席重大会议网站手机短信公益广告栏三公开专栏新闻发布电视文 件简 报约 谈电 话台触摸屏党务公开流程图提出方案分管领导审定党务公开领导小组审批重大事项集体讨论决定实施公开纸质公开 科技公开专栏公开会议公开其他形式意见建议收集整理党务公开领导小组研究反馈意见再次公开归档整理纪检监察信访举报件办理流程纪检监察查处案件流程图(案件查处)群众来信(来访)、初步核实呈批分管领导批准(初核方案)初步核实报告初步核实调查组提出一般调查结案建议立案呈批经分管领导签批后报请县纪委予以结案经镇纪委会议研究决定立案装卷归档发出立案决定书立案告知有关单位及人员错误事实见面当事人写出检查书经调查不予以处分或不需处分的调查报告立案调查调查小组提出调查处理意见、主管领导签署意见移送审理并作好备案工作销案呈批报经市纪委销案向被调查人和所在单位说明情况装卷归档触犯刑律的,移送司法机关处理残疾证审批发放工作流程图金马镇综合治理工作流程图镇中层干部选拔任用工作流程图9党费收缴工作流程每月工资收入(税后)在3000元以下(含3000元)者,缴纳月工资收入的0.5%每月工资收入在3000元以上至5000元(含5000元)者,缴纳月工资收入的1%每月工资收入在5000元以上至10000元(含10000元)者,缴纳月工资收入的1.5%每月工资收入在10000元以上者,缴纳月工资收入的2%农民党员每月交纳党费0.2-1元离退休干部5000元以下(含5000元)的按0.5%交纳党费,5000元以上的按1%交纳党费。
职务调整时,及时调整党费标准按工资比例确定党费收缴标准党员每月将党费上交党支部党支部将本支部收取的党费上交党总支党总支按季度把党费上交组织人事组织干事检查核对给各总支部开出党费缴款单将党费及党费缴款单上交组织部材料归档宣传工作流程图确定宣传内容拟定宣传方案分管领导审定确定宣传方式纸质多媒体会议公开文件简报手机网络电视专栏新闻发党员或群众布大会意见和建议收集整理根据情况另行宣传材料归档新农队办权力流程图组织实施制定方案组织实施监督检查规 划协 调建设项目协调组织相关单位村容村貌整治对全镇农牧民进行适 用技能培训对存在的问题调研提出解决方案建设社会主义新农村关工委权力运行图科协权力运行图工商联合会权力运行图(会员发展工作程序)申请:入会者向工商联提出申请加入工商联的意向,工商联向申请入会者提供《中华全国工商业联合会章程》和申请表,并宣讲介绍有关情况。
公务车辆管理廉政风险防控流程图
风险点:
1、不按规定申请派车,存在公车私用的行为;
2、领导干部自行安排,驾驶公车;
3、在车辆加油、维修、保养中,虚列发票,套取国家资金。
防范措施:
1、严格执行车辆管理有关规章制度;
2、实行统一派车、车辆统一停放、定点加油、定点维修保养制度;
3、加强“三公经费”公开,接受群众监督;
4、加强监督检查,严肃查处公务车辆使用中的违纪违规行为。
公车管理
驾驶安全 实施 登记 每月一次安全检审批 申请 维修
有问题 记录
根据各车要求保养 保养 车辆使用 使用单位申请 办公室派车 出发前准备 按目的地正常线路行驶
行车记录 用车结束检查 有问题 向办公室汇报
维修 入库 没有问题 风险点 风险点 风险点 风险点 风险点。
呼图壁县工商局廉政风险、监管风险防范管理工作流程图
1 / 22
2 / 22
3 / 22
呼图壁县工商局干部违纪查处工作流程
4 / 22
9 / 22
呼图壁县工商局行政复议工作流程图
11 / 22
呼图壁县工商局消费者投诉工作流程
12 / 22
呼图壁县工商局企业动产抵押登记管理工作流程
13 / 22
14 / 22
呼图壁县工商局户外广告登记工作流程图
呼图壁县工商局广告监管工作流程
15 / 22
16 / 22
17 / 22
18 / 22
呼图壁县工商局市场监管工作流程图
19 / 22
20 / 22
呼图壁县工商局个体工商户登记工作流程图
21 / 22
呼图壁县工商局企业年检工作流程
呼图壁县工商局企业名称登记核准工作流程
22 / 22。
薛家河镇廉政风险防控工作流程图广泛宣1传动员排查廉政风险
1
1 r
梳理职权明确
职责
查
找
廉
政
风
险
1
思想道德风险
业务流程风险
制度机制风险
岗位职责风险
外部环境风险
T
1、梳理职权目录。
2、绘
制权力运行流程图。
取得成效
1成立领导小组个,
领导成员人。
2召开动员会场次。
3举办培训班期。
4培训人数余人。
5警示教育期。
6发放警示资料一万
份。
7全县查找风险
点万余个。
8制定
防控措施万余条。
广泛宣传发动1、成立领导小
组
2、制定实施方
案
3、开展学习教
育
前期预防
思想教育 ->
排查廉政风险
思想道德风险
制度建设 f
查找
廉政风险
确定
风险等级
建立
信息档案
梳理明
确岗位
一职责,查
找廉政
风险点。
业务流程风险
制度机制风险
岗位职责风险
一级风险
外部环境风险
二级风险
三级风险
个人廉政风险自查表部门
廉政风险自查表单位廉政
风险自查表岗位廉政风险
及等级目录
分级管理
中期监控
制度执行
\_________ _____
奖优罚劣
总结经验
汇总指导
建立体系
归档分类
后期处置。