衡 算
平衡关系式,进行物料平衡计算。
整理并校核计算结果
对每个工序或设备进行物料衡算后必须立即根据约束条件对
计算结果进行校核,确保计算结果正确无误。当计算全部结束后必 须及时整理、 编写物料衡算说明书(包括数据资料、计算公式、全 部计算过程及计算结果等)
ppt课件
第
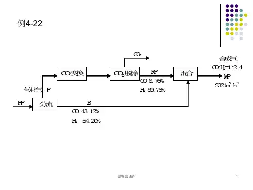
绘制物料流程图,编写物料平衡表
3 章
关系,反应液中仍含有少量的水,水蒸出时夹带出一定比例的EG,
物 蒸出的EG经分离后全部返回到反应器中,因此各酯化反应器中
料 衡
原料配比不变,即Mr=Mr0 。
算
在缩聚反应釜中,为了使缩聚反应向生成聚合物的方向移动,
需尽量降低反应液中EG的含量,因此,缩聚阶段特别是反应后期,
需在高真空的条件下进行, 各缩聚釜中生成的EG大部分被蒸出,
衡
算
图3-5 PTA直接酯化缩聚连续操作主反应器物料平衡关系示意图
ppt课件
第
二 、明确物料发生的化学变化与物理化学变化,写出主、副反
3 章 应方程式
物 ①化学变化。PET合成过程中,每个反应器中都发生酯化反应、酯 料 化缩聚反应和缩聚反应,其反应方程式(用官能团表示)如下: 衡 算 酯化反应:
ppt课件
物料流程图及物料平衡表是说明物料衡算结果的一种简捷
而清晰的表示方法,它们能够清楚地表示出各种物料在流程中的
物 位置、 数量、 组成、 流动方向、 相互之间的关系等。 料
衡
物料衡算结束后,必须利用计算结果对全流程进行经济分析
算 与评价、考查生产能力、生产效率、生产成本等是否符合预期
的要求,物料消耗是否合理,工艺条件是否合适等,同时及时
物
图3-6为 R101物料平衡示意图。