项目设计管理工作流程图
- 格式:docx
- 大小:3.72 MB
- 文档页数:30
1、拟定项目设计任务书流程图
2、规划设计管理程序流程图
3、户型设计管理程序流程图
户型设计管理户型设计优化
依据市场营销定位报告确定的设计要求及规划设计中心优化意见,对单体户型平而进行系统设计、优化调整
户型设计定稿
根据规划设计中心优化意见及地区公司评委会对户型设计定稿评审意见进行汇总上报,填写[户型设计定稿审批表],经地区公司评委会确认后上报。
按设计计划及时上报填报评审表,评审意见
4、立面设计管理程序流程图
5、装修设计管理程序流程图
6、装修设计阶段设计管理流程图
7、装修施工阶段设计管理流程图。
工程建设项目史上最完整的全流程图,必收藏备用!2019-05-29 11:19工程建设项目一直以来都是众人眼中的“老大难”,文中四大流程中的24张图带你全面了解工程建设项目的全流程!一、工程建设项目前期工作流程1.1工程建设项目基本流程1.2工程建设项目建设项目投资决策(建议书、可研)流程1.3工程建设项目建设项目设计阶段工作流程1.4工程建设项目准备阶段工作流程二、工程建设项目管理流程2.1工程建设项目管理基本流程2.2招投标基本流程2.3合同签订流程2.4施工准备流程三、项目风险管理与信息管理流程3.1项目风险管理流程3.2项目信息管理流程3.3竣工验收流程四、工程项目监理工作基本流程4.1工程项目实施监理的总流程4.2施工准备阶段监理工作流程4.3施工阶段工程投资控制流程4.4施工阶段工程进度控制流程4.5施工阶段工程质量控制流程4.6施工阶段安全监理控制流程4.7合同管理控制流程4.8信息管理控制流程4.9组织协调控制流程4.10工程质量问题及工程质量事故处理流程4.11工程安全事故处理流程4.12工程洽商控制及签证工作流程4.13工程竣工验收控制流程一、工程建设项目前期工作流程1.1工程建设项目基本流程方案设计初步设计及其审批|扩初设计施工图i殳讣及梵审批|建设准备施L许可施工与安装生产准备竣工验收投资决策阶段项H建议书竣工结篦G竣工决贰]交付使用阶段采购打施匸阶段1.2工程建设项目建设项目投资决策(建议书、可研)流程企业投礙项鬥投运机会研究报批项冃建议丐未通过Hg +1通过划拨、出让等方式获得I一地换用权通过招标、拍实、挂牌零方式获得上地楼川权项目终止1 F q卩- 谨行项目町行性研通过批通过过"1批准| [通过尖施烦H1.3工程建设项目建设项目设计阶段工作流程签署土地山让冷同+ H纳土地出止金,倾収t 国有土地使用权证》办理(拆迁许町证扎并委托拆迁会司进拧拆迁1.4工程建设项目准备阶段工作流程、工程建设项目管理流程 2.1工程建设项目管理基本流程2.2招投标基本流程2.3合同签订流程2.4施工准备流程三、项目风险管理与信息管理流程3.1项目风险管理流程•消极保留•非保险转移•何避风险•枳极保留•保险转移3.2项目信息管理流程政府相关部门建设单位监理单位承建单位向有关部门发布心息通报不止确不正确卄正确坝忖决策机构正确相关部门执行3.3竣工验收流程四、工程项目监理工作基本流程4.1工程项目实施监理的总流程4.2施工准备阶段监理工作流程进用定匸程总进度讣划度审烹匸程甲孝月工程进捽制加强进度计划的渤态控对年華舟进度计划悭出慘改意见控制认圧•程欣斌聂进度檢応、会签工程变更丈件誥览计款佬还处理嗑脑爭件轍罡、会签匚竄变更文件收集与监理育关的合同对合同遊纤廿析硏究井跟象管理吐境例倉、各种专业晶破周书监玦月报,会蚯族简报交流信息协讨觀牡齐片2间的关系4.3施工阶段工程投资控制流程4.4施工阶段工程进度控制流程4.5施工阶段工程质量控制流程填报工程报检单不合格厂仃格监理匸世帅现场检資及审僅试验报柠签发工程摇墅单及我附件修改 加擀复试或 更换材料卜道王序施丄施匸试齡及监理取样签 J:不合裕改各分项、隐蔽I:程自检I附:1. 隐检单 2, 预輪单3, 质就保证资料 4、 分顶工程质斎评定表4.6施工阶段安全监理控制流程审阅设计文件’参加设计交底(确保屯体姑构、屈屋功能和施r撫作,用中的安全)审査《施工组织设计》、t专项安全施丄力案沢t安全防范预案》、编卿*监现细则(落实《施I安全,的皆理制喷和技林施)噥L内外境总施场、坏魁折现部帅低明场地身周边之地上、蝕下管线復施已作好安全处理与锲护审核开【条件F达开工令m匸凱织设讣》号i专顼应全施匚方案』已审犹、珂场略「右房血、迫跻、水电哪)已克成•蟲理匚作总魯•中对“安全i^?r '作进行息结4.7合同管理控制流程琴抑T-程揺投标,协妙迂设(项目曾理}单位选迢承包单位井签订旌丄:合同。
6.1.10施工项目成本控制各人员关系图项目成本计划审核,上报,成本分析、月度及项目的成本报告;工程决算报审成本核算制交底、财务制度和会计制度,确定正常情况下的企业管理费、财务费用和制造成本;项目成本预测公司财务部公司工程部(预算项目经理建立项目成本核算制,明确项目成本核算的原则、程序、方法、内容、责任及要求,分解成本计划,定岗定人,项目成本控制项目部技术员物资供应商、劳务分包商项目部其他人员项目部预算员与项目成本有关的资料,交资料员收集,并转预算员各类工程变更、施工工艺、方法变更项目成本计划,项目经理部成本核算,进行成本分析并编制月度及项目的成本报告报审,进度款报审表,工、料、机动态,工程变更费用报审表费用索赔申请表,工程款支付申请表,工程延期申请表,施工决算纺制,报审进度款报审表,工、料、机动态表,工程变更费用报审表,费用索赔申请表,工程款支付申请表,工程延期申请表,施工决算业主、监理工程师合同文件项目经理按合同应预付按合同应付进度款、尾款项目部预算员项目部材料员项目部质检员项目部预算员规格、数量符合要求,附相关资料编制付款申请质量符合要求:经监理、业主验收:附相关资料公司工程管理部公司工程管理部公司技术部(总工物资供应商审核通过审核通过,业主付款后支付编制付款申请公司财务部审核通过项目经理按合同应预支生活费项目部预算员项目部工长项目部材料员项目部质检员进度完成情况,是否按工期要求完成,奖惩情况该分包商材料管理情况;附相关资料;奖惩情况质量符合要求:经监理、业主验收合格;附相关资料,奖惩情况安全指标完成情况,奖惩情况编制付款申请公司工程管理部项目部安全员物资供应商公司工程管理部公司财务部审核通过合同文件审核通过、业主付款后支付项目经理、技术负责人编制付款申请,办理阶段性付款决算,办理决算项目部预算员按合同应付进度款、应办理决算审核通过审核通过6.1.13项目进度控制流程图合同进度控制总目标编制控制性进度计划审批施工总进度计划监理审查业主批准监督计划实施检查执行情况进度计划分析与调整审核年季月周计划审核资源配置计划审批施工措施计划要求整改设计供图计划资金供应计划采购计划承包商责任? 承包商补救措施方案监理审核监督实施统计表报监理发出警告业主终止合同不接受严重偏离计划6.1.14月完成工程量计量支付流程图承建单位申报己完工程量报表,工程价款报表监理工程师检查工程量对照图纸,现场量测监理工程师审核己完工程价款报表总监签发建设单位审查会签,支付工程款承建单位6.1.15工程变更处理流程图6.1.16工程合同费用控制流程图6.1.17索赔处理流程图6.1.1工程变更报价工作流程图设计单位、监理机构、承包人、发包人单独或共同提出工程变更建议书监理机构审核建议书发包人审批设计单位进行变更设计监理机构审签变更设计图监理机构通知承包人就工程变更报价承包人报价监理机构审核承包人报价,报发包人发包人、承包人是否接受承包人、发凶人协商价格进行变更支付进入争议解决的程序监理机构暂定合适价格一致承包人施工按原计划施工否不同意不同意同意同意否是是费用索赔事件发生承包单位向项目经理部提交书面费用索赔意向项目监理部收集资料,详细记录过程承包单位随时提交索赔事件的详细报告索赔事件结束,承包单位提交《费用索赔申请表》项目监理部审核与评估与承包单位、建设单位协商总监理工程师签发《费用索赔审批表》不同意不一致建设单位或设计单位提出工程变更设计单位签发设计变更文件承包单位提出工程变更总监理工程师审查签认建设单位审查签认建设单位予以签认项目监理部发出会签的《工程变更单》承包单位实施工程变更承包单位向项目监理部提交《工程变更费用报审表》监理工程师审核总监理工程师签认建设单位审批不同意必要时必要时同意延期事件发生项目监理部收集资料详细记录过程承包单位随时提交延期事件的详细报告延期事件结束,承包单位提交《工程延期申请表》监理工程师审核与评估与承包单位、建设单位协商总监理工程师签发《工程延期审批表》不同意不一致承包单位提交工期索赔意向报告6.1.5工程暂停及复工管理基本流程图发生须暂停施工的情况总监理工程师签发《工程暂停令》承包单位暂停部分施工并妥善保护己完成工程消除工程暂停的原因消除工程暂停的原因具备复工条件时,总监理工程师应要求承包单位及时填写《工程复工报审表》,并予以签批,指令承包单位继续施工具备复工条件时,承包单位填报《工程复工报审表》及必要的附件总监理工程师审批承包单位继续施工非承包单位原因引起的暂停承包单位原因引起的暂停6.1.6合同争议调解基本流程图6.1.7索赔处理工作流程图6.1.8违约事件处理基本流程图6.1.9施工项目成本控制流程图6.2.2 工程竣工资料管理流程图单位(子单位工程质量竣工验收记录单位(子单位工程质量控制资料核查记录单位(子单位工程安全和功能检验资料核查及主要功能抽查记录单位(子单位工程观感质量检查记录竣工验收会议建设工程竣工报告工程质量保修书工程整改文件工程款拨付证明文件质量保证、安全、功能及抽查资料料监理评估报告工程监理资料建设单工作建设工程竣工报告监理评估报告合格文件(勘察、设计、施工图审查机构认可、准许文件(规划、公安消防、环保、档案工程质量保修书各地建设行政主管部门的规定工程款拨付证明文件质量保证、安全,功能及抽查资料工程监理资料验收监督通知书竣工验收备案表向建设行政主管部门上报资位建设工程竣工报告竣工验收报告监理评估报告合格文件(勘察、设计、施工图审查机构认可、准许文件(规划、公安消防、环保、档案工程质量保修书各地建设主管部门的规定建设工程竣工验收备案表资质量保证,安全、功能及抽查资料竣工验收前的准备施工单位竣工验收委员会主任宣布开会建设、勘察、设计、施工、监理“执法”汇报审阅勘察、设计、施工图审查机构、施工、监理质量合格文件审阅认可、准许文件(规划、公安消防、环保、档案审查质量保证、安全、功能及抽查资料实地查验工程质量专家组发言验收委员会宣布验收结论监督机构意见整理纪要验收会议结束监理单位建设单位施工资料移交城市建设档案馆6.2.3 项目产品回访流程图客服助理电话回访回访记录 OK 客户反馈行政助理回访资料结存档终辖区内客户标准问卷严重客服副总监/主任上报一般问题题问转问题严重性批重大工程客服管理中心总监所上报分公司总经理安排处理分公司客服部大区总裁、分公司总经理安排处理处理方案处理方案分公司责任部门和责任人进行处理处理方案追究责任部门和责任人【本文档内容可以自由复制内容或自由编辑修改内容期待你的好评和关注,我们将会做得更好】感谢您的支持与配合,我们会努力把内容做得更好!。
大型设计项目管理流程l组织结构体系及人员配置l设计工作周期及进度计划l设计工作质量保证措施l设计阶段对本项目投资控制措施l设计工作中的重点、难点及相应的解决方案l施工全过程的技术服务措施l设计变更控制l服务保障体系一、组织结构体系及人员配置我公司将为本项目配备足够的有丰富工程设计经验的设计人员,同时做好设计生产计划,编制清晰、完善的设计人员安排表(含设计人员在项目中的职务、手机号及座机号以便甲方就工程问题随时与设计人员沟通),并书面告知甲方。
按投标文件所配设计团队,组织结构图及人员安排如下:设计团队的配备:1、我公司将组织强有力、高水准、敬业务实、善于交流沟通的设计团队负责工程项目的设计服务工作。
2、项目设计团队的各专业技术人员均具备相应的技术职称、执业资格和丰富的实际经验。
其中,设计总负责人及各专业负责人均具备高级工程师职称或国家一级注册工程(建筑)师资格,同时拥有类似工程项目设计的突出业绩和经验。
3、在项目的整个设计服务过程中,我院将保持设计团队各专业技术人员相对稳定,未经业主同意,不更换设计人员;若我院安排的某专业设计人员不符合业主要求,或未经业主同意更换了设计人员,业主有权要求我院及时做出调整;同时,若业主对设计团队中任何一位设计人员的设计服务不满意时,可随时提出更换,我院将积极配合并予以调整。
二、设计工作周期及进度计划初步设计时间安排(20个日历天,从合同签订并发包人提供经审批通过的设计方案当天算起)第1天~第3天建筑专业研究消化甲方提供的设计方案,提出设计方案优化意见(若有)第4天~第5天建筑专业深化图纸建筑第一次提初设条件(平、立、剖面)给各专业第6天~第7天设备及人防反提经建筑专业协调后的设备、人防资料及条件图,结构反提结构剪力墙、柱网布置图及截面尺寸第8天~第10天建筑第二次提经协调深化后的初设条件(含影响结构荷载的全部条件),各专业影响结构荷载的条件封闭第11天~第16天完成初设图绘制,编制初步设计说明第17天~第19天完成校核,审核,审定第20天晒图及提供初设图纸文件给甲方初步设计阶段计划表(设计周期20天)注:人防设计与初步设计同步进行。
工程建设项目前期工作流程·基本流程
·建设项目投资决策(建议书、可行性研究报告)流程
工程建设项目管理流程·项目管理基本流程
·招投标基本流程
·合同签订流程
·施工准备流程
·项目风险管理与信息管理流程
1、项目风险管理流程
2、项目信息管理流程
·竣工验收流程
·施工准备阶段监理工作流程
·施工阶段工程投资控制流程
·施工阶段工程进度控制流程
·施工阶段工程质量控制流程
·施工阶段安全监理控制流程
·合同管理控制流
·信息管理控制流程
·组织协调控制流程
·工程质量问题及工程质量事故处理流程
·工程安全事故处理流程
·工程洽商控制及签证工作流程
·工程竣工验收控制流程
·保修阶段监理工作流程
如有侵权请联系告知删除,感谢你们的配合!。
全过程工程项目管理全套流程图一、工程建设项目前期工作流程工程建设项目前期工作是工程项目管理的关键环节,包含项目立项、可行性研究、项目规划和设计等多个阶段。
在这些阶段中,需要进行各种调研和分析,以便制定出可行的工程计划。
1.1 工程建设项目基本流程工程建设项目基本流程包括项目立项、可行性研究、项目规划、设计、施工和验收等多个阶段。
在项目立项阶段,需要进行项目可行性分析,确定项目的技术方案和投资计划。
在可行性研究阶段,需要进行市场调研、经济分析和环境评估等,以确定项目的可行性。
在项目规划和设计阶段,需要制定出详细的规划和设计方案,包括工程结构、施工方案和工程预算等。
1.2 工程建设项目投资决策(建议书、可研)流程工程建设项目投资决策流程包括建议书和可行性研究两个阶段。
在建议书阶段,需要制定出项目的基本方案和投资计划,并进行初步的可行性分析。
在可行性研究阶段,需要进行详细的市场调研、技术分析和经济评估等,以确定项目的可行性和投资方案。
1.3 工程建设项目建设项目设计阶段工作流程工程建设项目设计阶段是整个项目的重要阶段,需要制定出详细的设计方案,并进行各种技术分析和经济评估。
在这个阶段中,需要进行各种工程设计和施工方案的制定,以确保工程质量和安全。
1.4 工程建设项目准备阶段工作流程工程建设项目准备阶段是整个项目的前期准备阶段,包括项目的立项、可行性研究和初步设计等。
在这个阶段中,需要进行各种调研和分析,以便制定出可行的工程计划。
二、工程建设项目管理流程工程建设项目管理流程是整个项目的核心环节,包括项目的计划、组织、实施和监督等多个方面。
在这个过程中,需要进行各种管理和协调工作,以确保项目的顺利进行。
2.1 工程建设项目管理基本流程工程建设项目管理基本流程包括项目计划、组织、实施和监督等多个方面。
在项目计划阶段,需要制定出详细的项目计划,并进行各种资源分配和风险评估等。
在项目组织阶段,需要进行各种人员和资源的组织和分配,以确保项目的顺利进行。
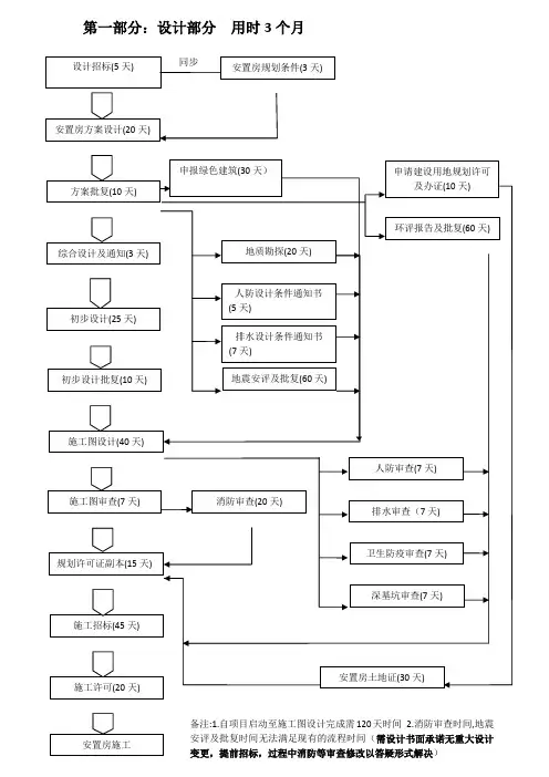
第一部分:设计部分用时3个月
设计单位管理要点:
1、设计单位招标时将各阶段设计任务需求作为招标附件,提前告知
设计单位
2、设计单位约谈在市共管局、市建委共同见证下进行,将设计节点
时间、土建招标节点时间再次重申于设计单位,设计单位主要负责人当面签署承诺是书
3、设计单位工程款严格与各阶段设计任务完成情况挂钩,完成节点
给予支付设计费,对于延误设计节点给予预警、警告、处罚、约谈、切块、黑名单等多种形式的违约处理
4、结合项目情况,根据项目土建招标计划制定详细的项目设计进度
计划表,明确各设计阶段时间任务表
5、引入设计咨询单位,严格把关设计成果质量,帮助设计单位加快
设计进展
6、业主协助、帮助设计单位对供水、供电、燃气等主管单位的审图
工作,加快其设计成果满足相关部门要求
7、项目业主积极配合设计单位进行地质勘查,尽早完成勘查报告的
成果
8、土建招标过程中设计单位必须无条件积极配合业主单位进行的
图纸疑问回复工作
9、工程管理过程中设计单位不允许与施工单位单线联系,必须由业
主进行中转
10、工程管理过程中出现设计变更等影响影响造价较大的,坚决予以
设计单位。
工程总承包项目管理流程图一、项目部行文流程
二、发文处理流程
三、收文处理工作流程
图
四、设计文件项目部内部审核流程
五、工程价款支付流程
六、设备采购费支付流程
七、项目部会务管理流程
八、档案管理流程
九、分包招标管理流程
十、设计文件管理流程
一总承包人提供设计文件的工作流程
三材料、构配件质量控制流程
1
2
六工序或单元工程过程质量控制流程
图3-28进度控制流程二进度要素控制流程
十三、停工与复工流程
十四、投资控制流程
一月支付工作流程
三最终支付工作流程
四分包人采购材料管理流程
二十一、施工设备管理流程
二十二、测量工作流程一计量测量工作流程
二十三、分包人现场人员管理流程
二十四、工程质量评定工作流程
图3-47工程质量事故处理流程
一总承包合同工程变更管理流程
监理人核查签发变更设计
二十九、工程索赔管理流程一总承包合同的索赔管理流程1.总承包人向业主索赔
2.业主向总承包人索赔
二分包合同索赔管理流程1.分包人向总承包人索赔
三十、违约管理流程一分包人违约管理流程
二总承包人违约管理流程
三十一、化石与文物管理流程
三十二、施工安全管理流程
图3-57施工安全管理流程
三十五、工程保修工作流程
三十六、争议解决工作流程
三十七、风险管理流程
三十八、信息管理流程
总承包人。
建筑公司各项工作流程图(操作表)(所有部门)建筑公司各项工作流程图(操作表)(所有部门):1.项目招投标部门:主要职责: 负责建筑项目的招标和投标工作。
流程图:1.1 确定建筑项目的招标方式。
1.2 准备招标文件包括招标公告、资格预审文件、招标文件等。
1.3 发布招标公告,并向符合条件的投标人发出邀请函。
1.4 收集投标人提供的资格预审文件、招标文件。
1.5 组织评标委员会进行评标。
1.6 确定中标方并制定合同。
2.设计部门:主要职责: 负责建筑项目的设计工作。
流程图:2.1 收集项目要求和客户需求。
2.2 制定项目计划和时间表。
2.3 进行建筑方案设计和施工图设计。
2.4 确定设计方案。
2.5 与项目管理部门沟通和协调。
3.项目管理部门:主要职责: 负责建筑项目的管理工作。
流程图:3.1 确定项目任务和目标。
3.2 制定项目计划和时间表。
3.3 分配项目工作给不同的部门或个人。
3.4 管理项目进度,协调资源分配和监督质量。
3.5 确定项目成本和预算,负责资金管理。
3.6 管理项目的沟通和协调工作。
3.7 管理项目的风险和变更工作。
4.采购部门:主要职责: 负责建筑项目的物资采购工作。
流程图:4.1 确定项目需求和采购目录。
4.2 发布采购公告并招标。
4.3 收集投标人提供的报价和文件。
4.4 形成采购合同并签署。
4.5 管理和跟踪采购订单。
4.6 协调和解决采购问题。
5.施工部门:主要职责: 负责建筑项目的施工工作。
流程图:5.1 确定施工计划。
5.2 分配施工任务。
5.3 监督施工进度和质量。
5.4 协调人员和物资资源。
5.5 管理施工安全和环境问题。
6.质量控制部门:主要职责: 负责建筑项目的质量控制和监督。
流程图:6.1 制定项目质量标准和规范。
6.2 监督和评估施工质量。
6.3 协调并解决质量问题。
6.4 建立质量控制体系。
7.验收部门:主要职责: 负责建筑项目的验收工作。
流程图:7.1 制定验收标准和规范。
标准的项目管理完整流程图从一个项目提出到结束,按照ISO9001:2000的项目管理流程,大致有如下步骤:1、产品立项报告按照公司的管理流程,由公司有关人等都有可能提出《产品立项报告》,比如公司老总、市场部门、研发部门,一般是在公司组织的定期召开的会议上提出,经初步讨论具有一定的可行性之后,由公司领导提交到公司负责产品开发立项的部门,比如,总工办,然后,按照公司的管理流程,由该部门组织人员进行讨论,最后指定某人进行产品的可行性分析,提交《产品的可行性分析报告》。
在《产品立项报告》中,初步描述该技术的国内、国外现状、经济效益和社会效益。
2、产品可行性分析报告指定的某人提交《产品的可行性分析报告》,在会议上产品立项讨论通过,指定项目经理,对该产品提出《初步设计》。
在这里,要对风险进行评估。
风险控制:要求,新技术在产品中的使用比例不要超出30%。
如果这个产品大量使用新技术,那么,质量和进度往往不容易保证。
新技术,一般是需要先期做一些知识储备。
使用太多的新技术推出的产品,一旦出现了不可控制的缺陷,将是灾难性的损失。
以上过程产生项目经理。
以下步骤在项目经理的参与和指导下进行。
3、初步设计由项目经理负责编写。
在这里,要对成本、进度、风险进行准确评估。
产生《初步设计》后,经讨论修改通过后,把《初步设计》提交给该项目的硬件工程师、软件工程师和结构工程师分别提交《硬件详细设计》、《软件详细设计》和《结构详细设计》;在初步设计中,指定该项目负责的硬件工程师、软件工程师、结构工程师、样机生产负责人、测试工程师等。
在初步设计中,由项目经理对项目总成本进行核算。
并由项目经理或者测试工程师产生《测试大纲》,由总工程师或者项目经理对《测试大纲》进行批准。
4、硬件详细设计在这里要对成本、进度、风险进行细化,提出对资源的要求。
在这里,对可靠性设计进行分析,硬件工程师按照该项目的《初步设计》的要求,写出《硬件详细设计》,经项目经理批准后,按照该《硬件详细设计》做原理图、PCB和物料清单;提交给生产部门,做PCB和采购物料;提交原理图给软件工程师。
工程建设项目全流程图一、工程建设项目前期工作流程1.1 工程建设项目基本流程1.2工程建设项目建设项目投资决策(建议书、可研)流程1.3 工程建设项目建设项目设计阶段工作流程1.4 工程建设项目准备阶段工作流程二、工程建设项目管理流程2.1 工程建设项目管理基本流程2.2 招投标基本流程2.3 合同签订流程2.4 施工准备流程三、项目风险管理与信息管理流程3.1 项目风险管理流程3.2 项目信息管理流程3.3 竣工验收流程四、工程项目监理工作基本流程4.1 工程项目实施监理的总流程4.2 施工准备阶段监理工作流程4.3 施工阶段工程投资控制流程4.4 施工阶段工程进度控制流程4.5 施工阶段工程质量控制流程4.6 施工阶段安全监理控制流程4.7 合同管理控制流程4.8 信息管理控制流程4.9 组织协调控制流程4.10 工程质量问题及工程质量事故处理流程4.11 工程安全事故处理流程4.12 工程洽商控制及签证工作流程4.13 工程竣工验收控制流程一、工程建设项目前期工作流程1.1工程建设项目基本流程1.2建设项目投资决策(建议书、可行性研究报告)流程政府投资项目企业投资项目1.3 工程建设项目建设项目设计阶段工作流程1.4 工程建设项目准备阶段工作流程二、工程项目建设管理流程2.1 工程建设项目管理基本流程三、项目风险管理与信息管理流程3.1 项目风险管理流程·消极保留·非保险转移·消极保留·积极保留·保险转移·减小风险3.2 项目信息管理流程3.3 竣工验收流程四、工程项目监理工作基本流程4.9 组织协调控制流程4.10 工程质量问题及工程质量事故处理流程4.11 工程安全事故处理流程4.12 工程洽商控制及签证工作流程4.13 工程竣工验收控制流程4.14 保修阶段监理工作流程。
(流程管理)RFSJLC项目设计管理流程项目设计管理流程编制日期审核日期批准日期流程目的明确且规范公司的设计管理流程,保障设计成果质量和进度,确保设计工作的正确方向。
二、适用范围适用于公司下属所有项目设计管理工作。
三、职责3.1地区公司设计管理部3.1.1负责组织且协调所有项目从可研至施工图阶段的设计管理,负责对各阶段设计院/设计单位进行协调和管理,对其输出的成果进行审核,按程序报送公司评审、审批;3.1.2参和施工图会审及技术交底;3.1.3负责所有项目工程施工阶段技术配合工作;3.1.4负责所有项目的设计变更管理。
3.2区域公司设计管理部(总工室)3.2.1审核、审批所有项目的设计任务书,审核所有项目的设计成果确认单;3.2.2评审特殊重点项目的概念及规划方案设计成果。
3.3开发报建部门3.3.1负责前期报批报建;3.3.2提供本专业设计前期资料;3.3.3根据需要参和设计任务书和设计成果评审。
3.4销售策划部3.4.1配合设计管理部/总工室编制《设计任务书》,参和《设计任务书》和设计成果评审,从营销角度提出专业意见。
3.5核算部3.5.1负责投资分析阶段成本测算;3.5.2负责编制从可研阶段至施工图阶段的目标成本;3.5.3参和设计成果评审。
3.6成本监控中心3.6.1参和重大项目的设计成果评审。
3.7工程部3.7.1组织施工图会审及技术交底。
3.8其他关联部门3.8.1根据设计管理部/总工室需要提供关联基础资料;3.8.2根据设计评审规范要求,参和各阶段设计成果的评审且提供建议或意见。
四、流程图五、关键活动描述5.1设计前期阶段5.1.1输入成果,设计管理部/总工室负责收集基础资料,包括但不限于:1)用地发展部/开发中心(部)提供项目土地基础资料;2)销售策划部提供市场调研数据及产品定位初步思路;3)工程部提供现场勘察资料及工程技术规划;4)核算部提供当地建安成本数据资料。
5.1.2设计管理部/总工室根据项目总控计划节点要求和用地发展部/开发中心(部)的可研工作安排编制本阶段工作计划且负责落实。
史上最全的工程建设项目流程图
1、基本流程
2、建设项目投资决策(建议书、可行性研究报告)流程
3、建设项目设计阶段工作流程
4、建设项目准备阶段工作流程
1、项目管理基本流程
2、招投标基本流程
3、合同签订流程
4、施工准备流程
1、项目风险管理流程
2、项目信息管理流程
3、竣工验收流程
1、工程项目实施监理的总流程
2、施工准备阶段监理工作流程
3、施工阶段工程投资控制流程
4、施工阶段工程进度控制流程
5、施工阶段工程质量控制流程
6、施工阶段安全监理控制流程
7、合同管理控制流程
8、信息管理控制流程
9、组织协调控制流程
10、工程质量问题及工程质量事故处理流程
11、工程安全事故处理流程
12、工程洽商控制及签证工作流程
13、工程竣工验收控制流程
14、保修阶段监理工作流程。