常用护理流程图
- 格式:doc
- 大小:218.00 KB
- 文档页数:40
护理工作流程一、护理质量管理工作流程图
二、护士长例会会议流程图
三、护理业务查房工作流程图
四、护理行政查房工作流程图
五、护士长夜查房工作流程图
六、护理质量持续改进流程
七、护理文献修订流程
九、护士外出学习、进修管理工作流程图
十、护理人员业务培训流程图
十一、新技术新项目开展工作流程图
十二、护理睬诊流程图
十三、护理风险管理流程图
十四、护理不良事件防止与解决流程图
十五、发生护患纠纷紧急封存病历流程图
十六、药物不良反映及输液反映质量控制流程图
十七、护理人员职业防护流程图
十八、医疗废物回收解决流程图
一、门诊患者就诊流程图
第三节临床科室护理工作流程图一、科室护理质量管理流程图
二、临床科室入院患者护理工作流程图
三、临床科室出院患者护理工作流程图
四、患者入院宣教指引流程图
五、患者住院期间健康教诲指引流程图
六、患者出院健康教诲指引流程图
七、危重患者急救护理工作流程图
八、危重患者护理操作流程
九、危重患者寻常护理质量核心流程图
十、成人基本生命支持操作流程图
十一、急救药物器材管理流程图
十二、床头交接班流程图
十三、常规医嘱执行流程
十四、口头医嘱执行流程图
十五、模糊不清、有疑问医嘱澄清执行流程
及时询问下达医嘱医师。
责任护士白班工作流程8:00——8:15参加早会,听取夜班报告8:15——8:30床头交接班8:30——9:00参加晨间护理9:00——11:30①做好患者各项治疗护理工作,观察输液情况并及时记录。
②执行临时医嘱。
③做好新入院病人的各项护理评估及入院介绍,做好出院病人的健康宣教及出院随访。
11:30——11:40与连班交班14:00——16:40①和连班接班,巡视病房。
②做好患者基础护理。
做好患者下午各项治疗护理工作,执行临时医嘱。
④做好患者健康宣教工作。
⑤书写护理病程。
16:45—17:00与夜班交班●按护理等级巡视病房、并及时记录。
办公护士工作流程8:00——8:30参加晨会并做好晨会记录8:30——09:00参加床边交接班、核对夜班医嘱9:00——11:30①保持护士站桌面清洁。
②登记出入院(黑板、记录本)。
打印患者每日明细单(周末由白班护士打印张贴),张贴在墙上。
每周一批量记费(氧气鼻导管)。
③接收、处理、核对医嘱,及时打印相关执行单并通知责任护士执行医嘱,必要时亲自执行。
④处理化验单,准备标本检查容器,督促各班及时留送。
联系会诊、预约各种特殊检查,并做好准备工作。
⑤打印第二天各种治疗单据。
11:30——11:40与连班交班14:00——16:40录入患者生命体征,整理各类医疗护理文件,督促护士正确填写各种护理记录单。
16:40——17:00书写交班报告。
●及时办理出入院及有关登记工作,整理出院病历。
负责住院病历和病案室的交接。
●护士长不在时,代为处理急需办理的各项临时工作。
夜班护士工作流程16:45——17:00与白班交接班巡视病房、危重病人床头交接17:00——21:00①清点用物(尤其抢救车、备用药)、检查冰箱温度并做好登记工作。
②做好晚间护理。
③核对第二天治疗、输液用药并签名(审核处)。
④做好第二天特殊检查病人、抽血病人的准备工作,并告知其注意事项。
⑤按需测量生命体征(新入院、发热、病情有特殊变化),执行各种晚间治疗。
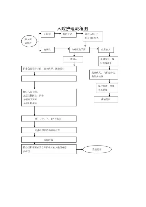
一、入院护理流程图二、出院护理流程图三、转入护理流程图四、危重病人转运(检查)流程图五、药物不良反应处理流程图注:药物不良反应是指使用药物后出现的各种治疗不需要的甚至有害的反应,包括药物副作用,继发作用、毒性作用、不耐受(亦称首剂效应)、撤药反应、变态反应、特异质反应和致畸形。
六、静脉化疗流程图七、药物过敏反应急救流程图八、紧急封存病人病历应急预案流程图九、留置鼻胃管操作流程图注意事项:1.留置鼻胃管前先了解患者有无鼻咽、食道、胃部等疾病或手术史,有无食道胃底静脉曲张,颅底骨折史。
2.插管过程中注意观察生命体征,如出现咳嗽、呼吸困难、发绀等现象,表明胃管插入气管,应立即拔出,休息后再重插。
3.反复插管失败的患者,为避免反复插管导致喉头水肿,勿强行再插,应间隔4h并建议在喉镜下插管,插管前医师根据情况与病人家属谈话并签名。
4.脑出血、脑干损伤等颅内高压患者,务必注意动作轻柔,慎用将头部抬高至下颌骨靠近胸骨柄的方法,如搬动不当或受到剧烈震动,可能造成再出血。
5.聚氨酯鼻胃管的最长使用时间为42天。
十、管饲操作流程图注意事项:1.持续输注患者:①前两次务必用注射器灌注。
②每班用温水冲洗胃管一次并抽吸胃腔残留量,如果潴留量<150ml,可维持原速度,如果潴留量≤100ml可原有输注速度上增加20ml/h,如果潴留量≥150ml,暂停或降低输注速度。
若怀疑患者胃肠道运动障碍,应每个4h回抽胃液。
2.管饲过程及管饲后注意观察有无反流、误吸发生。
管饲后半小时内尽量减少翻身、拍背、吸痰等操作。
3.高粘度配方不主张用细管径;药物与食物分开注入;给药后均要用20ml温水冲洗以防堵管。
4.拔管前先用无菌生理盐水或灭菌水冲洗管道,关闭连接头处的防护帽或夹住管道外段避免撤管过程中残余液体进入气管,小心平稳地撤出鼻十一、导管滑脱管理流程图一、平日大小便化验送检流程图二、急诊化验送检流程图三、口服葡萄糖耐量试验(OGTT)采样流程图四、采集24小时尿标本流程图五、患者家属赴血站取血应急流程附加说明:1、出于血液安全考虑,一般情况下不提倡患者家属赴血站取血;2、鉴于血源紧张以及科学合理用血要求,不是每个患者输血科都会为其开具《取血证明》,输血科一般遵循“危重优先,指征优先”的原则。
入院护理流程图1、出院护理流程图三、转入护理流程图五、药物不良反应处理流程图注:药物不良反应是指使用药物后出现的各种治疗不需要的甚至有害的反应,包括药物副作用,继发作用、毒性作用、不耐受(亦称首剂效应)、撤药反应、变态反应、特异质反应和致畸形。
六、静脉化疗流程图环境准备:开放气扇,铺一次性治疗巾输注用品送特殊处理七、药物过敏反应急救流程图欢迎下载 8心跳停止给予胸外心脏 按压,电除颤 发m 或呼吸困难应给氧 气吸入。
呼吸停止于面 罩加压给氧 门诊病人病情 门诊病人病情稳 危重者继续就 \ 定转急诊室继续 地复苏、抢救 治疗八、紧急封存病人病历应急预案流程图九、留置鼻胃管操作流程图查对医嘱;评估患者并了解有无留置鼻胃管的禁忌症;自身用物准备;解释昏迷患者平卧位、头后仰清醒患者坐位或半卧位湿棉签清洁鼻腔,测量从鼻尖经耳垂到剑突或从发簪到剑突的长度注意事项:1•留置鼻胃管前先了解患者有无鼻咽、食道、胃部等疾病或手术史,有无食道胃底静脉曲张,颅底骨折史。
2•插管过程中注意观察生命体征,如出现咳嗽、呼吸困难、发绀等现象,表明胃管插入气管,应立即拔出,休息后再重插。
3•反复插管失败的患者,为避免反复插管导致喉头水肿,勿强行再插,应间隔4h并建议在喉镜下插管,插管前医师根据情况与病人家属谈话并签名。
4•脑出血、脑干损伤等颅内高压患者,务必注意动作轻柔,慎用将头部抬高至下颌骨靠近胸骨柄的方法,如搬动不当或受到剧烈震动,可能造成再出血。
5•聚氨酯鼻胃管的最长使用时间为42天。
十、管饲操作流程图评估1•确认饲管在胃内或小肠内(看刻度、回抽胃液或肠液或气过水声)2•评估患者能否进行灌注:①胃内残余液大于100ml停止灌注1小时,再次抽吸仍大于100ml,须医生查找原因。
②评估患者有无腹胀、腹泻、恶心呕吐,如有上述症状,暂停管饲与医生联系③如有出血者,应停止灌注并与医生联系灌注前准备:根据病情取半坐卧位或抬高床头30~35注入少量温水(约20ml),并能吸出相应量1•每次鼻饲量不应超过200ml,间隔时间不少于2h2•温度38~40 C左右,不可过冷过热3•药片应研碎,溶解后灌入注意事项:1•持续输注患者:①前两次务必用注射器灌注。
一、进院护理流程图二、出院护理流程图三、转进护理流程图四、危重病人转运〔检查〕流程图五、药物不良反响处理流程图注:药物不良反响是指使用药物后出现的各种治疗不需要的甚至有害的反响,包括药物副作用,继发作用、毒性作用、不耐受〔亦称首剂效应〕、撤药反响、变态反响、特异质反响和致畸形。
六、静脉化疗流程图七、药物过敏反响急救流程图八、紧急封存病人病历应急预案流程图九、留置鼻胃管操作流程图注重事项:1.留置鼻胃管前先了解患者有无鼻咽、食道、胃部等疾病或手术史,有无食道胃底静脉曲曲折折曲曲折折折折张,颅底骨折史。
2.插管过程中注重瞧瞧生命体征,如出现咳嗽、呼吸困难、发绀等现象,讲明胃管插进气管,应立即拔出,休息后再重插。
3.反复插管失败的患者,为防止反复插管导致喉头水肿,勿强行再插,应间隔4h并建议在喉镜下插管,插管前医师依据情况与病人家属谈话并签名。
4.脑出血、脑干损伤等颅内高压患者,务必注重动作轻柔,慎用将头部抬高至下颌骨靠近胸骨柄的方法,如搬动不当或受到剧烈震动,可能造成再出血。
5.聚氨酯鼻胃管的最长使用时刻为42天。
十、管饲操作流程图注重事项:1.持续输注患者:①前两次务必用注射器灌注。
②每班用温水冲洗胃管一次并抽吸胃腔残留量,要是潴留量<150ml,可维持原速度,要是潴留量≤100ml可原有输注速度上增加20ml/h,要是潴留量≥150ml,暂停或落低输注速度。
假设疑心患者胃肠道运动障碍,应每个4h回抽胃液。
2.管饲过程及管饲后注重瞧瞧有无反流、误吸发生。
管饲后半小时内尽量减少翻身、拍背、吸痰等操作。
3.高粘度配方不主张用细管径;药物与食物分开注进;给药后均要用20ml温水冲洗以防堵管。
4.拔管前先用无菌生理盐水或灭菌水冲洗管道,关闭连接头处的防护帽或夹住管道外段防止撤管过程中剩余液体进进气管,小心平稳地撤出鼻十一、导管滑脱治理流程图一、平日大小便化验送检流程图二、急诊化验送检流程图三、口服葡萄糖耐量试验〔OGTT〕采样流程图四、采集24小时尿标本流程图五、患者家属赴血站取血应急流程附加讲明:1、出于血液平安考虑,一般情况下不提倡患者家属赴血站取血;2、鉴于血源紧张以及科学合理用血要求,不是每个患者输血科都会为其开具?取血证实?,输血科一般遵循“危重优先,指征优先〞的原那么。
基础护理工作流程
目录
1.整理床单位
2.面部清洁和梳头
3.会阴护理
4.足部清洁
5.协助进餐护理
6.协助患者翻身及有效咳嗽
7.协助床上移动
8.压疮预防及护理
9.大便失禁护理
10.小便失禁护理
11.床上使用便器
12.留置尿管护理
13.床上温水擦浴
14.协助更衣
15.床上洗头
16.指/趾甲护理
整理床单位
面部清洁及梳头
会阴护理
足部清洁
协助进餐
协助患者翻身及有效咳痰
协助患者床上移动
压疮预防及护理
大便失禁护理
小便失禁护理
床上使用便器
留置尿管的护理
床上温水擦浴
协助更衣
床上洗头
指/趾甲护理。
护理工作流程一、护理质量管理工作流程图
二、护士长例会会议流程图
三、护理业务查房工作流程图
四、护理行政查房工作流程图
五、护士长夜查房工作流程图
六、护理质量持续改进流程
七、护理文件修订流程
九、护士外出学习、进修管理工作流程图
十、护理人员业务培训流程图
十一、新技术新项目开展工作流程图
十二、护理会诊流程图
十三、护理风险管理流程图
十四、护理不良事件的预防与处理流程图
十五、发生护患纠纷紧急封存病历流程图
十六、药物不良反应及输液反应质量控制流程图
十七、护理人员职业防护流程图
十八、医疗废物回收处理流程图
一、门诊患者就诊流程图
第三节临床科室护理工作流程图一、科室护理质量管理流程图
四、患者入院宣教指导流程图
五、患者住院期间健康教育指导流程图
六、患者出院健康教育指导流程图
七、危重患者抢救护理工作流程图
八、危重患者护理操作流程
九、危重患者日常护理质量关键流程图
十、成人基础生命支持操作流程图
十一、急救药品器材管理流程图
十二、床头交接班流程图
十三、常规医嘱执行流程
十四、口头医嘱执行流程图
十五、模糊不清、有疑问的医嘱澄清执行流程
立即询问下达医嘱医师。
护理服务流程图一、入院护理流程图二、出院护理流程图三、转入护理流程图四、危重病人转运(检查)流程图五、药物不良反应处理流程图注:药物不良反应就是指使用药物后出现得各种治疗不需要得甚至有害得反应,包括药物副作用,继发作用、毒性作用、不耐受(亦称首剂效应)、撤药反应、变态反应、特异质反应与致畸形。
六、静脉化疗流程图七、药物过敏反应急救流程图八、紧急封存病人病历应急预案流程图九、留置鼻胃管操作流程图注意事项:1、留置鼻胃管前先了解患者有无鼻咽、食道、胃部等疾病或手术史,有无食道胃底静脉曲张,颅底骨折史。
2、插管过程中注意观察生命体征,如出现咳嗽、呼吸困难、发绀等现象,表明胃管插入气管,应立即拔出,休息后再重插。
3、反复插管失败得患者,为避免反复插管导致喉头水肿,勿强行再插,应间隔4h并建议在喉镜下插管,插管前医师根据情况与病人家属谈话并签名。
4、脑出血、脑干损伤等颅内高压患者,务必注意动作轻柔,慎用将头部抬高至下颌骨靠近胸骨柄得方法,如搬动不当或受到剧烈震动,可能造成再出血。
5、聚氨酯鼻胃管得最长使用时间为42天。
十、管饲操作流程图注意事项:1、持续输注患者:①前两次务必用注射器灌注。
②每班用温水冲洗胃管一次并抽吸胃腔残留量,如果潴留量<150ml,可维持原速度,如果潴留量≤100ml可原有输注速度上增加20ml/h,如果潴留量≥150ml,暂停或降低输注速度。
若怀疑患者胃肠道运动障碍,应每个4h回抽胃液。
2、管饲过程及管饲后注意观察有无反流、误吸发生。
管饲后半小时内尽量减少翻身、拍背、吸痰等操作。
3、高粘度配方不主张用细管径;药物与食物分开注入;给药后均要用20ml温水冲洗以防堵管。
4、拔管前先用无菌生理盐水或灭菌水冲洗管道,关闭连接头处得防护帽或夹住管道外段避免撤管过程中残余液体进入气管,小心平稳地撤出鼻十一、导管滑脱管理流程图一、平日大小便化验送检流程图二、急诊化验送检流程图三、口服葡萄糖耐量试验(OGTT)采样流程图四、采集24小时尿标本流程图五、患者家属赴血站取血应急流程附加说明:1、出于血液安全考虑,一般情况下不提倡患者家属赴血站取血;鉴于血源紧张以及科学合理用血要求,不就是每个患者输血科都会为其开具《取血证明》,输血科一般遵循“危重优先,指征优先”得原则。
患者实施检查工作流程术前准备工作流程手术病人确认程序送手术病人离房工作流程五、接手术病人回房工作流程六、术后护理工作记录七、健康教育工作流程八、预防导管脱落护理工作流程九、预防跌倒的护理工作流程十、预防压疮护理工作流程十一、危重病人抢救工作流程十二、生活不能自理病人护理流程十三、药物引起不良反应护理流程十四、新药使用流程十五、病人倒床工作流程十六、更换液体工作流程十七、输血工作流程十八、晨间护理流程十九、晚间护理流程二十、交接班流程二十一、饮食医嘱单处理流程痛风、肝硬化等发送饮食开出营养处方 进行调配营养室配方本并签收二十二、急诊病人转手术室管理流程1、医师开具住院证及手术通知单后,分诊护士立即指导其办理相关手续,同时电话通知手术室护士,并简要交待病人的一般情况及需特殊准备的用物。
2、主班护士迅速做术前准备:包括抽血、用药、药物试验、下胃管、脱去衣裤等。
3、手术室护士到达后,主班护士与手术室护士认真交接、核对病人腕带标识、病情、治疗、检查、术前准备、所带物品等情况,并在交接本上共同签字。
4、与家属共同将患者转移至手术担架车上。
5、手术室护士推患者前往手术室。
6、分诊护士电话通知电梯等候。
7、提醒患者家属保管,携带好相关物品。
二十三、急诊病人转住院或ICU管理程序及交接流程1、在医生开具住院证后,由主班护士指导家属办理住院手续。
2、分诊护士电话通知所转科室或ICU主班护士或护士长,简要告知患者病情、现接受的治疗情况、所需的抢救仪器、药品及到达的时间等,便于病房护士有的放矢地做好迎接病人的准备工作。
3、电话通知电梯等候时间。
4、主班护士根据患者的病情所需,准备好转科途中携带的抢救设备和药品,与本科主管医生共同协助患者置担架车或轮椅上。
5、提醒家属携带好自己的随身物品。
6、医护人员共同护送患者入科。
7、护送途中应严密观察患者病情变化及静脉通路、吸氧、各管道等情况,发现问题,及时处理,病情突变,就地抢救。
8、送至病房或ICU后,与该科的医生、护士核对病人腕带标识,共同协助患者上床,认真核对病人身份(姓名、年龄、诊断)或腕带内容,详细交待相关病情和治疗及特殊注意事项等。
交接病人的皮肤、静脉通路、各种管道、物品等,并分别在病情交接本、物品交接本上签字。
二十四、患者从手术室转入ICU管理程序及交接流程1、在手术病人入ICU前,由手术室巡回护士通知ICU,并且要告知病人目前病情、所需抢救仪器、到达时间等。
2、ICU护士在接到通知后,立即根据病情准备相应的抢救仪器、药品、物品,同时告知ICU医生。
3、患者入ICU后,由ICU医生、护士与手术医生、麻醉师、手术室护士一同交接患者。
4、ICU医生、护士应核对患者“腕带”内容,检查患者神志、瞳孔、生命体征及全身情况、皮肤、各种管道、静脉通路、现有用药及其浓度、剂量、速度等。
5、ICU接诊护士必须了解以下情况:最后诊断、手术方式、术中情况、术中出入量、血气分析与电解质结果、特殊用药等。
6、双方交接清楚病人病情和所需物品后分别在手术记录单和物品交接本上签字。
7、所有的交接工作完成后,手术人员方可离开ICU。
二十五、患者由ICU转回病房交接及管理流程1、医生开具转出ICU医嘱后,主管护士负责通知患者家属,交待转科后注意事项,并嘱护理员整理患者物品。
2、主管护士电话通知病房主班护士或护士长,简要告知患者病情、现接受的治疗情况、所需的抢救仪器、药品及到达的时间等,便于病房护士做好迎接病人的准备工作。
3、电话通知电梯等候时间。
4、护理员和家属按《入ICU携带物品清单》交接物品并签字。
5、主管护士整理好病人、安置好各种管道、记录生命体征、备齐转送途中的急需用物后,将患者的各种治疗护理情况、所需药物、管道情况、病历交于外勤班护士。
6、外勤班负责病人转送过程中的安全,护送途中应严密观察患者病情变化及静脉通路、吸氧、和各管道情况。
到病房后与病房护士一起交接病人,核对腕带相关内容,至少要查对姓名、性别、年龄。
测量生命体征,安放好各种管道后,交接药品,病历,详细介绍病人在ICU治疗、护理情况,并分别在病情交接本、物品交接本上签字。
二十六、术前访视制度及程序术前访视:手术前一日由巡回护士去病房看望病人。
一、了解病人的情况①一般情况、生命体征、身高、体重、有无感染征、有无运动障碍、有无过敏或特殊体质、有无假牙及隐形眼镜,女性是否在月经期,病房的安静程度等。
②病史包括现病史、既往史、手术史。
③其他生活习惯(吸烟量、饮酒量)、生活史、社会背景(职业社会地位等)、性格;接受手术的态度,对医疗的协助程序。
二、与病人会面,进行心理沟通,解除患者的焦虑。
①确认患者,自我介绍,说明访问的目的。
②说明手术服装与病房服装的不同,从进入手术室到离开手术室的大体过程,手术时的体位等。
③询问患者的不安和担心的事情。
④给予病人安慰的话语。
⑤与患者会面的同时,对一般状况进行观察,以便确认患者有无口唇、甲床、皮肤颜色的改变,有无听力、语言等的障碍。
三、访问结束回到手术室后,根据所获取的患者的资料,与其他护士共同讨论,制定护理计划。
二十七、术后支持服务的制度及程序一、手术室与临床科室保持良好的沟通机制,满足手术患者的需要。
二、手术室护士护送术后病人到病房与病房护士床头交接班,包括病人生命体征、术中情况以及引流管的情况和注意事项等。
三、病房护士接病人后,妥善安置病人体位,固定好各种引流管道,安好监护仪等;四、做好健康宣教,心理安慰五、根据病人病情,定期巡视病房,有问题及时向医师汇报,认真做好记录。
六、如果病人突然发生病情变化,按相应流程处理。
二十八、孕产妇转送流程(一)产妇从产科病房送至产房的流程1、在产科病房待产的产妇,临产(如有规律宫缩,见红,破膜后由产科主班护士通知产房助产士,告知临产妇的床号、姓名及临产情况。
2、主班护士根据常规做好临产妇的常规准备工作,并协助产妇按规定更衣。
3、主班护士携病历送产妇及其病历入产房进行观察,并与产房助产士详细交接产妇情况.交班者,交接双方在待产妇交接本上签字。
4、如果产妇为前置胎盘、妊娠高血压、或发生早破水等特殊情况应用推车或轮椅送入。
5、主班护士应即时在护理记录单上详细描述产妇临产情况,并在人一览表上用特殊标记明确标明该产妇目前在产房观察,同时在产妇的床尾挂上“该产妇在产房待产”的标记。
6、交班本上详细交班。
(二)产妇从产房送至病房流程1、产妇分娩后在产房观察2小时,病情平稳者由产房助产士送产妇与新生儿及其病历回病房,转送过程中需密切观察产妇和新生儿的面色、呼吸等情况。
2、产妇送回病房后由助产士与产科护士交接班,助产士应向护士详细交代说明产妇的分娩情况和新生儿的情况。
3、产房助产士和产科护士共同核对新生儿皮肤颜色、呼吸、哭声、肌张力及新生儿性别、新生儿记录单以及腕带标识详细交接产妇生命体征、宫缩等情况。
4、若为留置尿管的产妇,产房助产士除了详细交接以上内容外,还应产科护士交接尿管的通畅性,尿液的颜色、性质、量,并妥善固定。
5、产房助产士与产科护士交接班者,双方在产妇分娩誌相应栏签字。
6、产科主班护士应即时将产妇、新生儿的情况认真记录在护理记录单,并撤除病人一览表上特殊标记和产妇床尾的标记。
7、交班本上详细交班。
(三)产妇从病房到手术室交接流程1、护士或助产士接到手术通知后,根据医嘱为病人做好各种准备工作,包括皮试、术前准备等,并为其佩带腕带。
2、手术室护士持手术通知单到病房(产房)接产妇时,和病房护士(产房助产士)认真核查产妇的腕带标识和一般情况,以及宫缩、胎心、产程进展情况。
若有引流管,双方要详细检查引流管是否通畅、引流液的颜色、性质、量,并妥善固定。
3、共同协助产妇上转运车,同时做好防护保暖措施。
4、病房护士(产房助产士)应将产妇需要的资料以及药品、物品交于手术室护士,并在交接本上签名.5、病房护士(产房助产士)必须在护理记录单上详细描述患者的病情、离房时间等。
在病人一览表上用特殊标记明确标明该产妇目前在手术室进行手术。
在该产妇的床尾挂上“该产妇在手术室”的标记。
(四)产妇从手术室到病房交接流程1、产妇离开手术室前由巡回护士电话通知病房管理护士,并告知病人特殊病情和需求以及返回时间。
2、病房护士根据病人情况为手术后患者准备床单位、氧气的抢救仪器、药品和物品。
3、调整病房环境温度,保证患者舒适、安全。
4、患者回房后,巡回护士与病房护士进行床边交接,认真核对腕带标识,同时交接意识、生命体征、术中情况、皮肤完整情况、各种管路情况和病历、CT片等物品,还要注意交接转运前已输入的药物或已执行的治疗措施。
5、病房护士与手术室护士对病人的情况核查无误后共同在手术护理记录单和物品交接本上签字。
6、所有的交接工作完成后, 手术人员方可离开病房。
二十九、男病人尿道口护理操作规程1.评估会阴部皮肤是否完整,检查尿管是否通畅,膀胱充盈情况,引流袋是否排空。
2.告知病人操作的目的及注意事项,协助病人用温水将尿道口、导尿管、会阴部的分泌物清洗干净。
注意保暖及隐私的护理。
3.戴好手套,一手从阴茎根部向阴茎顶端轻轻挤压,另一手持镊子夹络合碘棉球将尿道口挤出的分泌物环行擦拭干净。
4.轻推包皮,用镊子夹络合碘棉球由内向外擦拭尿道口→龟头→冠状沟→尿道口。
5.托起阴茎,将包皮复位,环行擦拭近尿道口端皮肤,近尿道口处尿管3-4厘米(尿管由近尿道口端向尿袋方向擦拭)。
6.再次检查尿管是否通畅,及时更换引流袋,并放于正确位置。
7.清理用物,洗手并记录。
三十、女病人尿道口护理操作规程1.评估会阴部皮肤是否完整,检查尿管是否通畅,膀胱充盈情况,引流袋是否排空。
2. 告知病人操作的目的及注意事项,协助病人用温水将尿道口、导尿管、会阴部的分泌物清洗干净。
注意保暖及隐私的护理。
3.戴好手套,一手用拇指和食指轻轻分开大小阴唇,暴露尿道口。
另一手持镊子夹络合碘棉球由内向外擦拭尿道口→小阴唇→大阴唇→尿道口。
每擦一处更换棉球一个,必要时增加棉球数量。
4.托起尿管,擦洗近尿道口处尿管3-4厘米(尿管由近尿道口端向尿袋方向擦拭)。
5.再次检查尿管是否通畅,及时更换引流袋,并放于正确位置。
6.清理用物,洗手并记录。
三十一、执行医嘱流程执行后重点交接班三十二、输液沟通流程了解患者身体状况,您好,我是您的您好,我是您今今天准备给您今天治疗还和您准备在哪儿治疗护士,我姓天的治疗护士,输的是XX药,昨天一样,药输液?我看一X今天的治疗由我叫XXX,今天您以前用过这物作用您也下血管好吗?我来给您进行,感觉怎么样?好药吗?过敏吗?已经基本了血管条件还可请问您现在感觉些了吗?为了巩这部药的作用解了. 以,您可以活怎么样?大夫下固治疗,今天继是......不良动一下吗?医嘱要给您输液续输液,昨天输反应是......治疗,请问您以液时您有不舒服您以前在用这前输过液吗?输吗?药部的时侯有液时紧张吗?过这些反应吗?( 您需要我帮忙去趟卫生间吗?请您稍等,我去准备一下)(您好,药液已配好,咱们开始输液,您是想躺着输还是坐着输?)(我再介绍一下您输的是XX液体,共X瓶,需多长时间,XX药物作用是......不良反应是......您在输液过程中如有异常感觉或不适,请及时告诉我。