闪光电路制作
- 格式:doc
- 大小:224.50 KB
- 文档页数:3
闪光灯电路原理
闪光灯电路原理是指通过电路中的控制元件和能量转换元件,将电能转换为光能从而产生强烈的光亮闪光的一种装置。
闪光灯电路主要包括充电电路和放电电路两部分。
充电电路的作用是将直流电源的电能转化为电容器的储能能量。
充电电路通常由电源、充电电容器和电阻组成。
在充电过程中,电源将电能传递给电容器,使其储存电荷。
电阻的作用是限制电流的流动,避免电容器过快充电造成电路短路或损坏。
放电电路的作用是将电容器中储存的电能迅速释放,产生强烈的光亮。
放电电路通常由电容器、触发电路和气体放电管(气体闪光灯)或半导体器件(电子闪光灯)组成。
触发电路有多种设计方案,主要用于对放电电路进行控制,控制闪光灯的闪光时间和频率。
在工作时,充电电路首先将电容器充电至一定电压,当触发电路检测到触发信号时,触发电路将电容器的电能释放出来。
在气体放电管中,电容器的电能通过气体的放电产生强烈的光亮。
而在电子闪光灯中,电容器的电能通过半导体器件的放电产生强光。
总之,闪光灯电路通过充电和放电的过程,将电能转化为光能,实现了闪光灯的工作原理。
闪光灯电路原理闪光灯电路是相机中的一个重要部分,它能够在拍摄照片时提供额外的光源,使得照片能够在光线不足的情况下拍摄出清晰明亮的效果。
在本文中,我们将介绍闪光灯电路的原理及其工作过程。
闪光灯电路主要由电容器、触发电路、充电电路和灯管组成。
当相机拍摄时,电容器会储存电能,触发电路会监测光线情况,当光线不足时,触发电路会向充电电路发送信号,充电电路开始为电容器充电。
当电容器充满电能后,触发电路会再次发送信号,使得电容器释放电能,从而点亮灯管,发出强光,为拍摄提供所需的光源。
闪光灯电路的原理主要是利用电容器储存电能,通过触发电路控制充电和释放电能的过程,从而实现在拍摄时提供强光的功能。
这种设计能够在光线不足的环境下,为照片提供所需的光源,使得照片能够拍摄出清晰明亮的效果。
在实际应用中,闪光灯电路的原理还可以根据不同的相机型号和拍摄需求进行调整和优化。
例如,一些高端相机可能会采用更复杂的触发电路和充电电路,以实现更快的闪光速度和更稳定的光源输出。
而一些专业摄影师可能会根据不同的拍摄场景,对闪光灯电路进行定制和调整,以获得更加理想的拍摄效果。
总的来说,闪光灯电路的原理是通过储存和释放电能,为相机提供所需的光源,从而在光线不足的情况下,实现清晰明亮的照片拍摄。
随着科技的不断发展,闪光灯电路的原理也在不断完善和优化,以满足人们对于照片拍摄质量的不断提高的需求。
通过本文的介绍,相信读者对闪光灯电路的原理有了更深入的了解。
在日常使用相机时,我们可以更加理解闪光灯是如何工作的,从而更好地利用它为我们的拍摄提供所需的光源。
同时,对于科技爱好者和工程师来说,也可以进一步探索闪光灯电路的原理,为其进行改进和创新,以满足不同场景下的拍摄需求。
闪光灯电路的原理是一个值得深入研究的领域,希望本文能够为读者带来一些启发和帮助。
技能训练一电子闪光器制作
一、制作材料三极管9013 一只,9015 一只,12K电阻一只,100uF电解电容器一只,5X7CM万能电路板一块,发光二极管2只,电池夹一只,5号电池两节(自备)。
二、电路简介图1所示电路由两只极性相反的三极管组成互补多谐震荡器,接通电源后,电流通过12K电阻向100uF电容充电,充到大于0.7V时,三极管Q1 9013导通,同时Q2 9015也导通,使发光二极管发光。
电容开始放电,使Q1 9013基极电压下降而得不到正常偏置时,三极管子Q1 9013截止,三极管Q2 9015也截止,发光二极管不亮。
周而复始,闪光不断。
3K电阻起保护三极管作用。
三、制作1、用万用表测量元器件极性,特别是三极管、发光二极管。
2、先按图示放置好元件。
3、在万用电路板上用导线或焊锡、焊成作为导线。
4、按图示焊好,防止虚焊。
四、调试和制作外壳制作完成后先通电试一
试,若不发光可能是元件极性装反,可用万用
表检测。
若元件都正确了,看有无虚焊。
根据
个人爱好好制作外壳。
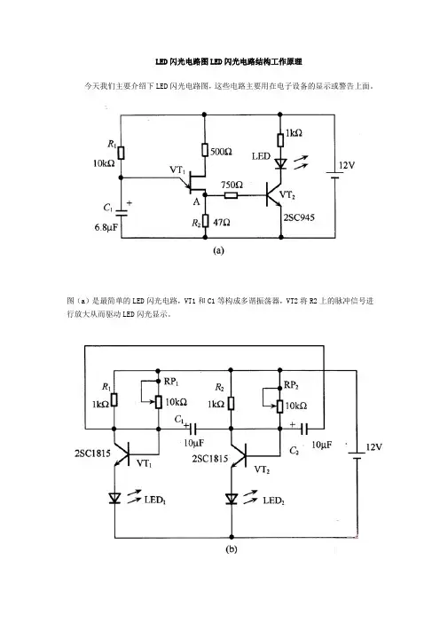
LED闪光电路图LED闪光电路结构工作原理
今天我们主要介绍下LED闪光电路图,这些电路主要用在电子设备的显示或警告上面。
图(a)是最简单的LED闪光电路,VT1和C1等构成多谐振荡器,VT2将R2上的脉冲信号进行放大从而驱动LED闪光显示。
图(b)是采用2个晶体管的LED闪光电路。
此电路中,VT1的输出电压通过C2加到VT2的基极,而VT2的输出电压通过C1加到VT1的基极,从而构成晶体管振荡电路。
LED接在晶体管的发射极,为着改善电路的开关特性,并兼有对VT1和VT2的保护作用,LED的闪光时间t=C1RP1n2(=C2RP2ln2)。
图(c)的工作原理与图(b)基本相同,只是增设2个LED晶体管
图(d)的振荡器是采用NE555定时器的LED闪光电路,LED的亮灭时间为50%,多用于各种电子设各的告警电路。
由于NE555的输出较小,因此,采用VT1将其输出放大来驱动LED。
VT1采用集电极开路的晶体管,因而,加在LED上电压可根据需要而选定。
闪光电路工作原理标题:闪光电路工作原理解析引言:闪光电路是现代电子设备中常见的一种关键组件,它具备将电能转化为光能的功能。
在照相机、手机闪光灯、激光器等设备中广泛应用。
本文将深入讨论闪光电路的工作原理,以帮助读者更好地理解其内部构造和工作过程。
第一部分:简介闪光电路1. 什么是闪光电路?- 闪光电路的定义和应用领域概述。
2. 闪光电路的分类- 根据不同设备类型和功能需求,闪光电路可以分为几种类型。
- 每种类型的特点和应用领域简介。
第二部分:闪光电路的基本组成1. 闪光电路的主要组成部件- 电容器、高压触发器、放电管等元器件的功能和作用简介。
2. 电路布局和连接方式- 描述闪光电路的典型布局和电路连接方式。
第三部分:闪光电路的工作过程1. 充电过程- 电容器如何储存电能?- 充电过程中需要注意的问题。
2. 放电过程- 高压触发器启动放电过程的原理。
- 放电管的工作原理和作用。
- 光束形成的过程。
第四部分:闪光电路的应用案例1. 照相机闪光灯- 照相机闪光灯与闪光电路的联系和作用。
- 不同闪光模式的原理和特点。
2. 激光器闪光电路- 激光器中闪光电路的功能和使用。
- 激光器发射过程中的闪光电路工作原理。
结论:闪光电路是现代电子设备中不可或缺的一部分,通过将电能转化为光能,它为各种应用提供了强大的支持。
本文通过深入分析闪光电路的工作原理和应用案例,希望读者能够更好地理解和掌握闪光电路的基本知识。
只有深入理解闪光电路的工作原理,我们才能更好地利用它的功能和优势。
观点和理解:闪光电路的工作原理涉及电能转换为光能的过程,其中关键组件如电容器、高压触发器和放电管发挥着重要作用。
在实际应用中,不同类型的闪光电路会根据需求具备一些特殊功能和工作模式。
例如,照相机闪光灯可以实现自动闪光、红眼消除和慢速闪光等模式,以满足摄影需求。
激光器中的闪光电路用于稳定激光器的发射过程,确保输出光束的稳定性和质量。
总结:通过本文对闪光电路工作原理的深入探讨,读者应该对该电路的基本组成、工作过程和应用案例有了全面的了解。
闪光灯电路简介闪光灯电路是一种用于摄影中提供瞬间高亮度光源的装置。
它能够在极短的时间内产生强烈的光亮,以便在拍摄瞬间捕捉清晰的影像。
本文将介绍闪光灯电路的工作原理、电路组成和常见问题的解决方法。
工作原理闪光灯电路的工作原理基于电容器和气体放电原理。
当摄影师按下快门按钮时,电容器开始充电。
一旦电容器充满电,感光元件被激活,产生的电流通过触发电路控制气体放电管。
气体放电管将脉冲电流传递到闪光灯灯管中,引发气体放电并产生强烈的闪光。
电路组成1. 电源电路闪光灯电路的电源电路为其提供所需的电能。
常见的电源电路包括直流电源和交流电源两种。
直流电源采用电池或适配器提供稳定的直流电流,而交流电源则需要使用变压器将交流电转换为所需的直流电。
2. 充电电路充电电路负责将电能储存在电容器中,以便在需要时进行放电。
充电电路通常包含一个充电电容器、电阻和一个触发电路。
触发电路控制充电电容器的充电和放电过程,以确保电容器充满电和及时放电。
3. 气体放电管气体放电管是闪光灯电路的核心组件,用于放电并产生强烈的闪光。
气体放电管通常是一个气体注入的玻璃管,内部包含电极和发光材料。
当通过气体放电管的电流达到临界值时,放电会发生,产生的强光填充整个玻璃管。
4. 闪光灯灯管闪光灯灯管是装载了气体放电管的透明管状外壳。
当气体放电管放电时,闪光灯灯管会发出强光,以提供快速且高亮度的照明效果。
常见问题与解决方法1. 闪光灯无法充电当闪光灯无法充电时,可能是以下原因导致:•电源故障:检查电源是否正常工作,尝试更换电池或适配器。
•充电电路故障:检查充电电路的连接情况,查看是否有损坏的元件需要更换。
•触发电路故障:检查触发电路的连线是否正确,查看触发电路是否正常工作。
2. 闪光灯充电过慢当闪光灯充电过慢时,可能是以下原因导致:•电源输出不足:检查电源是否能够提供足够的电流和电压。
•电容器老化:如果闪光灯使用的是老化的电容器,可能会导致充电速度变慢,需更换电容器。
闪光灯电路设计闪光灯电路设计一向是数码相机和数码摄像机的重点和难点,其涉及到几百伏的高压充电,瞬间的大电流放电,闪光灯的漏闪判断,都对电路设计有更高的要求,及相关保护的措施。
本文从现在较为常用的一个闪光灯电路入手,抛砖引玉,向各位读者介绍闪光灯电路设计原理和需要注意的问题。
闪光灯电路用一个实例来说明下,电路如下图:556C77闪光灯闪光灯电路主要包括充电电路,放电电路,控制电路,整个工作顺序如下:闪光灯控制芯片LP7270B ,当接收到CPU 的充电命令,即FLASH_CHARGE 为高时,U6通过6脚MOSFET 开关导通的,使升压变压器TR1产生高电压脉冲,利用变压器一次侧的电感储能,将能量传送到二次侧的大电容,对大电容进行充电(充电电流的大小由U6的10脚的下拉电阻R144决定,峰值电流I-peak=40000/R144)。
使TC1达到300V 的直流电压,转换效率大约是80%。
当达到所需电压时,电路会断开MOSFET ,停止充电,U6拉低“DONE”线,告诉CPU 已经充电完成。
大电容的漏电损耗能通过间隔的MOS 开关循环充电得以补偿,需要软件来设置。
TC1的电压幅度由反馈电阻R133,R134,R136来确定,计算公式:Vc=1.15*[1+( R133+R134)/R136]所以当大电容的充电电压一定的时候,闪光灯的放电能量就由大电容的容量来决定了,这是在不超过灯能量或电容器额定电压的情况下确保闪光强度的必要条件,只要通过电容值的设定就能轻松设定闪光灯能量。
当DV 拍照需要闪光的时候,CPU 对U6发出触发信号,即FLASH_TRIG 出现一个高电平,U6的4,5脚产生触发信号,触发IGBT/AP28G45GEO(IGBT 全称绝缘栅双极晶体管,是MOSFET 和GTR(功率晶管)相结合的产物,兼有MOSFET 的高输入阻抗和GTR 的低导通压降两方面的优点。
它的三个极分别是集电极(C)、发射极(E)和栅极(G)。
闪光灯原理图闪光灯是一种常见的摄影器材,它能够在光线不足的环境下为摄影提供所需的光源。
它的原理图如下:1. 电源部分:闪光灯的电源部分通常由电池或者充电电池提供电能。
当摄影师按下快门时,电路会关闭,电池的电能通过电路流向其他部分。
2. 电容器:电容器是闪光灯中的一个重要组成部分,它能够把电能储存起来,并在需要的时候释放出来。
当电路关闭时,电容器开始充电,当快门按下时,电容器会释放储存的电能,产生强烈的闪光。
3. 闪光管:闪光灯中的闪光管是产生强光的关键部件。
当电容器释放电能时,电能会通过闪光管,激发气体产生强烈的光。
闪光管的设计和材质会影响闪光灯的亮度和色温。
4. 控制电路:闪光灯中的控制电路能够控制闪光的强度和持续时间。
通过控制电路,摄影师可以根据拍摄需要调整闪光灯的亮度,以及闪光的持续时间。
5. 辅助设备:闪光灯通常还配备有辅助设备,如反光板、柔光罩等。
这些辅助设备能够帮助摄影师更好地控制光线的方向和柔和程度,从而获得更加理想的拍摄效果。
闪光灯的原理图虽然看起来复杂,但是其工作原理实际上非常简单。
通过电能的储存和释放,闪光灯能够在瞬间提供强烈的光源,为摄影师在光线不足的环境下提供所需的帮助。
同时,通过控制电路和辅助设备,摄影师能够根据具体的拍摄需求进行调整,从而获得更加理想的拍摄效果。
总之,闪光灯的原理图展示了其内部各个部件的工作原理,了解这些原理有助于摄影师更好地使用闪光灯,从而拍摄出更加出色的作品。
希望本文所述内容能够对大家有所帮助,谢谢阅读!。
闪光灯电路原理闪光灯电路是一种利用电子元件和电路原理来实现快速放电并产生强光的装置。
它在摄影、舞台表演、医疗等领域都有着广泛的应用。
本文将介绍闪光灯电路的原理和工作过程。
首先,我们来了解一下闪光灯电路的基本组成部分。
闪光灯电路通常由电源、充电电路、触发电路和放电电路组成。
电源为闪光灯提供能量,充电电路用于充电电容器,触发电路用于检测拍摄时机并触发放电,放电电路则是将电容器中储存的能量迅速释放成强光。
在充电阶段,电源会为电容器充电,使其储存足够的能量以供一次闪光使用。
充电电路通常由变压器、整流器和电容器组成,变压器将电源的交流电转换成低压交流电,整流器将交流电转换成直流电,然后电容器开始充电,直到达到设定的电压值。
触发电路起到了检测拍摄时机并触发放电的作用。
当摄影师按下快门按钮时,触发电路会感应到信号,并通过控制放电电路来释放电容器中的能量。
触发电路通常由传感器、比较器和触发器组成,传感器用于感应快门信号,比较器用于判断信号是否达到触发条件,触发器则用于控制放电电路的开关。
放电电路是闪光灯电路中最关键的部分,它决定了电容器储存的能量如何被释放成强光。
放电电路通常由触发器、闪光管和辅助元件组成,触发器控制闪光管的工作状态,辅助元件则用于稳定电流和保护电路。
当触发器接收到触发信号时,它会使闪光管中的气体电离并形成通电通路,电容器中的能量会迅速释放,产生强烈的闪光。
总的来说,闪光灯电路利用电子元件和电路原理实现了快速放电并产生强光的功能。
通过合理设计和优化电路结构,可以实现更稳定、更高效的闪光效果。
希望本文对闪光灯电路的原理和工作过程有所帮助,谢谢阅读。
实验十二、闪光灯控制电路原理图设计和PCB图自动布局、自动布线一、实验目的1.学会元件封装的放置。
2.熟练掌握 PCB 绘图工具。
3.熟悉双面印制板的自动布局和自动布线,DRC检查。
二、实验内容1.绘制闪光灯控制电路原理图如图 12-1 所示。
图 12-1 闪光灯控制电路原理图2.根据图 12-1 所示电气原理图,绘制一块双面电路板图。
电路板长 2500mil ,宽 1600mil ,加载 ADVPCB.Ddb 元件封装库。
根据表 12 提供的元件封装并参照图 12-1 进行手工布局,其中“Vin1、Vin2”需在电路板上放置焊盘。
布局后在底层进行手工布线,布线宽度为 20mil 。
布线结束后,进行字符调整。
图 12-2 闪光灯控制电路PCB图三、实验步骤1.启动 Protel 99 SE ,创建新的原理图文件。
2.设置图纸为 A4。
3.添加元件库。
如Sin.ddb,Miscellaneous Devices. lib。
4.放置仿真元件。
所用元件及所属元件库均列于表10。
5.元件属性设置。
(1)在元件未固定前,按下Tab键,进入元件属性设置窗。
在属性窗口内,单击“Attributes”标签,设置元件序号、大小或型号。
(2)参照表12在“Footprint”栏填入各元件封装。
6.连线。
用“Wiring Tools”工具栏中的“画线”工具把各元件连接起来。
7.放置节点。
8. 放置网络标号。
如图12-1所示,分别放置“OUT1、OUT2”两个网络标号。
9. 添加标注文字。
10. 执行电气法检查(ERC),找出并纠正电路图中可能存在的缺陷。
11.利用PCB向导生成包含布线区的印制板文件,操作过程参照实验10内容。
12.通过“更新”方式生成PCB文件。
(1)在原理图窗口内,单击“Design”菜单下的“Update PCB…”,在“Update Design”(更新设计)对话窗内,指定有关选项内容。
(2)单击“Preview Change”(变化预览)按钮,观察更新后发生的改变。
闪光电路的工作原理闪光电路是一种常见的电子电路,其工作原理是基于光电效应和电荷积累原理。
它能够将电能转化为光能,并产生可见的闪光。
闪光电路通常由几个关键组件组成,包括电池、电容器、感光电阻和发光二极管(LED)。
当电池连接到电路中时,电流开始流动,并通过电容器充电。
在充电的过程中,电池会将电荷积累在电容器的两极板上。
感光电阻是一个特殊的电阻,其电阻值会根据光照的强度而变化。
在暗光环境下,感光电阻的电阻值较大,导致电路中的电流较小。
而在亮光环境下,感光电阻的电阻值较小,导致电路中的电流较大。
当环境变得较暗时,感光电阻的电阻值增加,导致电路中的电流减小。
此时,电容器开始放电,并通过发光二极管释放储存的电能。
发光二极管内部的半导体材料会发光,产生可见的闪光。
闪光电路的工作原理可以用以下步骤来描述:1. 电池提供电能,电流开始流动。
2. 电流通过电容器,使其充电。
3. 在暗光环境下,感光电阻的电阻值较大,电流较小。
4. 电容器开始放电,通过发光二极管释放储存的电能。
5. 发光二极管发光,产生可见的闪光。
闪光电路的工作原理基于光电效应和电荷积累原理。
光电效应是指当光线照射到材料表面时,光子的能量会激发材料中的电子,使其跃迁到导带中,从而产生电流。
电荷积累原理是指当电池连接到电路中时,电荷会在电容器的两极板上积累,形成电场能。
闪光电路在日常生活中有着广泛的应用。
例如,在相机的闪光灯中,闪光电路能够产生强光,提供额外的照明,使照片更加明亮。
在安全警示灯中,闪光电路能够产生闪烁的光,吸引人们的注意力,起到提醒和警示的作用。
此外,闪光电路还可以应用于电子游戏、玩具和装饰品等领域。
闪光电路是一种基于光电效应和电荷积累原理的电子电路,能够将电能转化为光能,并产生可见的闪光。
通过合理地设计和组装电路中的各个元件,我们可以实现各种各样的功能。
闪光电路在日常生活中有着广泛的应用,为我们的生活带来了许多便利和乐趣。
相信随着科技的不断发展,闪光电路的应用将会越来越广泛,为我们创造出更多的可能性。
红绿交替闪光电路
一、原件:晶体管9013 2个
1N4007 2个
发光二极管 2个
电容47 2个
电阻 37K 2个
2K 2个
电源 3V
工作原理:电源接通以后,三极管bc有较小电流通过(发光二级管不足以亮),此时电容器开始充电,电充满以后,电容C1放电,则电流Ib2增大,由于三极管的放大作用,Ic2也增大,电流通过发光二极管B,发光二极管B发亮,电容C1放电结束,发光二极管B变暗,继续充电,电容C2充电结束,则电流Ib1增大。
故电流IC1也随之倍增,发光二极管A发亮,电容C2放电结束,发光二极管变暗,
电容C2继续充电,电容C1再一次放电,周而复始,两发光二极管交替的亮,形成红绿交替闪烁现象。
闪光电路实验报告实验题目:闪光电路实验报告摘要:本实验通过搭建一个简单的闪光电路,探究了不同元件参数对电路工作状态的影响。
通过改变电阻和电容的取值,观察了电路的振荡频率、周期和稳定性等参数的变化规律。
1. 实验目的:1)学习使用元器件搭建简单的闪光电路;2)研究不同元件参数对电路工作状态的影响;3)探究电路的振荡频率、周期和稳定性等参数的变化规律。
2. 实验原理:闪光电路是一种基于振荡现象的电路。
通过控制电容充放电的过程,使电压在某一阈值附近产生周期性的振荡,从而实现闪光的效果。
电路的振荡频率和周期与电容和电阻的取值有关。
3. 实验步骤:1)根据实验要求,准备所需元器件,包括电阻、电容和稳压二极管等;2)根据电路图,搭建闪光电路;3)分别改变电阻和电容的取值,记录电路的振荡频率和周期;4)观察电路的稳定性,记录电路的工作状态是否稳定。
4. 实验结果:在本实验中,我们搭建了如下所示的闪光电路:(插入电路图)我们依次更改了电阻和电容的取值,并记录了对应的实验结果。
实验发现,当电阻和电容取较小值时,电路的振荡频率和周期较大,闪光效果明显;而当电阻和电容取较大值时,电路的振荡频率和周期较小,闪光效果不明显。
此外,我们还观察了电路的稳定性。
实验结果显示,当电阻和电容的取值在一定范围内变化时,电路的工作状态相对稳定,可以稳定地产生闪光效果。
5. 实验分析:根据实验结果,我们可以得出以下结论:1)电阻和电容的取值影响着电路的振荡频率和周期;2)较小值的电阻和电容可以使电路产生明显的闪光效果;3)合适范围内的电阻和电容取值可以保持电路的稳定工作状态。
从理论上讲,电阻和电容的取值越小,电路的振荡频率越高,周期越短。
然而,在实际搭建电路时,我们还需要考虑电流和电压的限制,以确保电路的稳定工作。
6. 实验总结:通过本次实验,我们学习了使用元器件搭建闪光电路的方法,并研究了不同元件参数对电路工作状态的影响。
通过改变电阻和电容的取值,我们观察了电路的振荡频率、周期和稳定性等参数的变化规律。
电容单MOS管闪光电路1. 简介电容单MOS管闪光电路是一种用于控制闪光灯的电路,通过控制MOS管的导通和截止状态,实现对闪光灯的充电和放电。
电容在其中起到储存能量的作用,从而实现瞬间释放大量能量,产生强烈的闪光效果。
该电路在摄影、影视等领域有广泛的应用。
2. 电容单MOS管闪光电路的工作原理1) 充电过程- 当电路开始工作时,电容开始充电,MOS管导通,电容开始向电容器充电。
- 电容器的电压逐渐上升,当达到设定的触发电压时,MOS管进入截止状态,电容停止充电。
2) 闪光过程- 当需要闪光时,通过外部信号或控制电路使MOS管导通,电容迅速放电到闪光灯电路中,产生强烈的闪光效果。
- 电容放电完成后,电容单MOS管闪光电路进入待机状态,等待下一次触发。
3. 电容单MOS管闪光电路的优点1) 简单可靠:电路结构简单,稳定可靠,容易实现控制和调节。
2) 响应速度快:电容单MOS管闪光电路能够实现瞬间充放电,响应速度非常快。
3) 能量大:电容能够储存大量能量,产生强烈的闪光效果,适用于各种需要强光的场合。
4. 电容单MOS管闪光电路的应用电容单MOS管闪光电路广泛应用于摄影、影视、舞台照明等领域。
在摄影中,它能够实现高速拍摄、逆光拍摄、特写拍摄等多种拍摄效果;在影视和舞台照明中,能够产生强烈的光线效果,提高画面质量和观赏性。
5. 总结电容单MOS管闪光电路作为一种简单可靠、响应速度快、能量大的控制电路,具有广泛的应用前景。
随着摄影、影视、舞台照明等行业的不断发展,电容单MOS管闪光电路将会发挥越来越重要的作用,为各种光影效果的实现提供更加便利和高效的解决方案。
电容单MOS 管闪光电路的发展和应用随着科技的不断发展和应用领域的不断扩大,电容单MOS管闪光电路在近年来得到了进一步的发展与应用。
其在摄影、影视、舞台照明等领域的应用已经超越了传统的闪光灯控制,为影像、光影效果的实现带来了更多可能性。
1. 先进技术的应用随着半导体技术的不断进步,电容单MOS管闪光电路在芯片集成、功率密度和反应速度等方面都得到了改善。
照相机闪光灯电路原理
照相机闪光灯电路原理主要基于瞬间高压放电的特性。
以下是其基本工作原理:
1.振荡升压部分:当电源接通后,利用晶体管V1的开关特性,形成一个间歇振荡,
使T1的初级获得一个交变电压。
经T1升压后,其次级获得大于300V的交变电压。
2.整流充电部分:交变电压经二极管D1半波整流后变成直流电压,对主电容C2和
触发电容C3充电储能。
当电压充至额定电压的70%左右时,指示电路中的氖灯起辉,指示闪光灯处于正常闪光等待状态。
3.脉冲触发闪光部分:当按下按钮AN时,触发电路产生脉冲电压,在T2的次级感
应出瞬间高压(约10kV)脉冲。
这个高压脉冲通过Xe闪光管的触发极使Xe闪光管内氮气电离并导通,电容C2上储存的电能瞬间通过闪光灯管放电转化为光能,完成一次闪光。
此外,自动调光式闪光灯的工作原理则是根据被摄物体所受光照的强弱,自动确定灯闪时间的长短,来得到正确的闪光曝光量。
以上信息仅供参考,如需了解更多信息,建议查阅专业书籍或咨询专业人士。
闪光电路的工作原理
闪光电路是一种电子电路,主要用于控制闪光灯的充电和放电过程,以实现拍摄照片时的闪光效果。
其主要工作原理是通过控制电容器的充电和放电过程,来控制闪光灯的亮度和持续时间。
闪光电路的主要组成部分包括电容器、电阻器、二极管、晶体管等元件。
其中,电容器是闪光电路的核心部件,其充电和放电过程决定了闪光灯的亮度和持续时间。
电容器的充电过程是通过电源提供电流,使电容器内部储存电荷,当电容器充满电荷时,闪光灯即可发出强烈的光芒。
而电容器的放电过程则是通过闪光灯的闪光管,将电容器内部的电荷释放出来,从而使闪光灯照亮拍摄对象。
在闪光电路中,电阻器和二极管的作用是限制电流的大小和方向,以保证电容器的充电和放电过程能够正常进行。
而晶体管则是闪光电路的开关,通过控制晶体管的导通和截止,来控制闪光灯的充电和放电过程。
当晶体管导通时,电容器开始充电;当晶体管截止时,电容器开始放电,从而使闪光灯发出光芒。
闪光电路的工作原理可以通过以下流程图来展示:
电源→ 电阻器→ 电容器→ 晶体管→ 闪光灯
其中,电源提供电流,电阻器和二极管限制电流的大小和方向,电容
器储存电荷,晶体管控制电容器的充电和放电过程,闪光灯发出光芒。
总之,闪光电路是一种重要的电子电路,其工作原理是通过控制电容
器的充电和放电过程,来控制闪光灯的亮度和持续时间。
在拍摄照片时,闪光电路可以帮助我们捕捉到更加清晰、明亮的照片。
220V交流闪烁LED电路在采用220V交流供电的各种仪器设备、家用电器上,安装(或改用)下面介绍的新颖交流电闪烁指示灯,不仅耗电省、寿命长,而且美观大方、非常引人注目。
工作原理交流电闪烁指示灯电路见上图。
这里利用晶体三极管VT在雪崩击穿状态下的负阻特性和电容器C 的充、放电,巧妙地构成了一个弛张振荡器。
接通电源后,220V交流电经VD1半波整流、R1限流后,对C充电。
当C两端电压上升达到VT的雪崩电压(实测约9V)时,VT突然呈雪崩击穿状态,C通过VT快速放电,使得串入放电回路中的发光二极管VD2发光。
放电结束后。
VT恢复截止状态。
VD2熄灭,C又开始充电并重复上述过程。
于是。
VD2便发出动感强烈、醒目的闪烁光来。
电路中,VT由基极加入的同步信号来触发雪崩。
由于雪崩状态下通过VT的电流很小,所以并不会造成VT的永久性击穿损坏。
电路工作电流实测仅0.17mA。
故功耗很小。
元器件选择晶体管VT选用饱和压降小一些的9013或3DG12型硅NPN三极管。
VD1选用1N4004或1N4007型硅整流二极管;VD2最好用高亮度发光二极管,形状、大小和颜色等根据需要确定。
R1、R2均用RTX-1/8W型碳膜电阻器。
C用CD11-16V型电解电容器。
制作与使用下图是印制电路板接线图。
印制电路板实际尺寸仅为40mm×20mm,可用刀刻法在边角料上加工而成。
焊接好的电路板既可用于改造带外罩的普通交流电指示灯,也可直接安装在各种仪器设备、家用电器上。
通过适当改变电阻器R1的阻值或电容器C的容量,可调节闪光速度。
晶体管闪光电路制作
从图1(A)中可以看出这个电路中有晶体三极管、发光二极管、电解电容器、电阻器和拨动开关共9只元件。
将它们用导线按图连接起来,就组成了闪光电路。
接上3伏直流电源,2只发光二极管就会交替闪亮。
电路图是用电子元件的图形符号和文字符号代替实物,用直线代替导线画出来的。
它和实物接线图是对应的,但画起来比实物图简单。
电路图很直观,便于对电路进行分析和研究。
晶体管闪光电路的实物连接图1(B)。
(A)电路图(B)实物连接图
这个电路图中元件的图形符号和文字符号在前面已经讲过,需要强调的是电路图中直线交叉处,点圆点的代表交叉导线在这点相连接;而不点圆点,则表示导线在这点不连接,而是彼此绝缘地跨越(如图2)。
技能训练按实物连接图画电路图
目的练习看懂电路和改画电路图。
器材铅笔1只直尺
图2 连接和不连接
图3(A)是闪光电路的印刷电路板。
图中画斜线的地方是铜箔。
中间的空白处,铜箔已用小刀刻掉了。
简单的印刷电路板可以用刀刻法制作。
先将电路板图画在铜箔上,然后将钢尺压在需要刻去的地方,用刻刀(或用断锯条当刻刀)沿着钢尺深刻,刻断铜箔。
一般刻去线条的宽度大约为1~2毫米。
电路板上画黑点的地方,是用小台钻或手摇钻打出的直径约1毫米的小孔,电子元件的引脚要从电路板正面(无铜箔面)插入对应的小孔,然后焊接在反面的铜箔上。
铜箔代替了导线。
印刷电路板一方面对元件起支撑作用,另一方面又连接了元件,形成了完整的电路。
图3(B)是闪光电路的印刷电路板图。
它不但画出了印刷电路的走向、小孔的位置,而且在小孔间画出了插入小孔的元件符号。
有了这种印刷电路板图,我们就可以按图插入元件,来焊接闪光电路了。
印刷电路板图上画的是有铜箔一面,而元件要从元铜箔的正面插入。
所以,插元件前,应当先确定各元件在印刷板正面的位置,千万不能插错。
技能训练确定元件在印刷电路板正面的位置
目的练习看印刷电路板图
器材钢笔、铅笔
(A)印刷电路板 (b) 印刷电路板图
图3 印刷电路板和电路板图
步骤
1.认真观察闪光电路印刷电路板图。
对照电路图,弄明白各元件在电路中的位置。
2.将各元件在印刷板正面的位置确定下来并用铅笔画在图3印刷板正面小孔位置图上。
图4 确定印刷板止面元件位置
3.对照图3(B)检查画得是否正确。
若无错误,用钢笔把元件符号画在闪光电路印刷板的正面。
三、闪光电路的制作
(一)电路中所用元件规格:
R1、R2 50kΩl/8W 碳膜电阻C1、C2100u6V电解电容器VD1、VD2Ø5发光二极管V1V29013晶体三极管 K 拨动开关。
(二)操作步骤:
1.首先用万用表检查各元件质量。
2.将各元件引脚用小刀刮亮、镀锡。
元件镀锡时应用尖嘴钳夹住引脚根部,以防元件过热损坏。
将印刷电路板铜箔面用细纱纸打光后涂一层松香酒精溶液。
3.将镀锡后的元件按电阻、电容、发光二极管、晶体三极管的顺序焊接在印刷电路板上。
元件插入时,应按图位置插入,并特别注意电解电容器正负极、发光二极管正负极和三极管b、c、e三个极的位置,千万不能插错。
4.元件可采用卧式焊接。
发光二极管引脚要留得长一些,其它元件可只留5mm左右。
焊接时,应用尖咀钳或镊子夹住元件引脚根部以利散热。
5.将电源接线焊好。
接正极的最好用红色电线,中间串联拨动开关。
6.检查焊接质量。
检查邻近焊点间是否有相碰短路。
用偏口钳剪去多余的引脚。
7.将电池盒上愕鱼夹按正负正确夹在两条电源线上。
打开拨动开关。
发光二极管应交替闪亮。
晶体管闪光电路制作完成。
若想改变闪光的快慢,可改变C1C2的容量,容量越大,闪动越慢。
改画(晶体管放大器)电路图
图5改画电路图
步骤
1.认真观察实物连接图。
首先要弄清楚这个电路由哪些元件构成。
再看看它们是怎样连接的。
2.在图右边的方框中,画出相应的电路图。
并在电路中标出元件的文字符号和数值。
3.要求画面美观整洁,电路正确
晶体管闪光电路元件清单。