施工过程控制图
- 格式:doc
- 大小:202.00 KB
- 文档页数:9
施工过程质量控制流程图一、引言施工过程质量控制是确保工程质量达到预期要求的关键环节。
为了有效管理施工过程中的质量控制,制定了本流程图,以确保施工过程中的质量控制工作能够有序进行。
二、施工过程质量控制流程图以下是施工过程质量控制的流程图,包括主要的流程步骤和相应的控制措施。
1. 施工前准备阶段1.1 确定施工过程质量控制目标在施工前准备阶段,项目负责人和质量控制人员确定施工过程的质量控制目标,包括质量要求、验收标准和质量控制指标等。
1.2 制定施工过程质量控制计划根据施工过程质量控制目标,制定施工过程质量控制计划,明确质量控制的具体内容、责任人和时间节点等。
2. 施工过程质量控制阶段2.1 施工前准备工作在施工前,进行必要的准备工作,包括材料准备、设备检查和施工方案制定等。
2.2 施工过程监控在施工过程中,质量控制人员对施工过程进行监控,包括材料使用、施工工艺和施工质量等方面。
2.3 施工过程记录质量控制人员记录施工过程中的关键信息和数据,包括施工进度、材料使用情况和质量问题等。
2.4 质量检查和测试质量控制人员进行质量检查和测试,确保施工过程符合质量要求和验收标准。
2.5 问题处理和整改如果发现施工过程中存在质量问题,质量控制人员及时处理和整改,确保问题及时解决并再也不浮现。
3. 施工过程质量控制结果评估3.1 质量控制结果检查在施工过程结束后,进行质量控制结果的检查,评估施工过程的质量控制效果。
3.2 质量控制结果分析对质量控制结果进行分析,总结施工过程中的优点和不足之处,为今后的施工过程质量控制提供经验和教训。
3.3 质量控制结果改进根据质量控制结果分析的结论,制定相应的改进措施,提高施工过程质量控制的效果。
三、结论本文介绍了施工过程质量控制流程图,包括施工前准备阶段、施工过程质量控制阶段和施工过程质量控制结果评估阶段。
通过严格按照流程图进行质量控制,可以确保施工过程的质量达到预期要求,并为今后的施工过程质量控制提供参考和借鉴。
101节施工准备阶段流程图102节施工准备阶段的主要监理工作内容201节原始地面表土清理施工工序质量检验控制流程图工序检查项目检测用表203节填土路堤施工工序质量检验控制流程图工序检查项目检测用表204节填石路堤施工工序质量检验控制流程图工序检查项目检测用表205节土方路堑开挖施工工序质量检验控制流程图工序检查项目检测用表206节石方路堑开挖施工工序质量检验控制流程图工序检查项目检测用表208节袋装砂井施工工序质量检验控制流程图工序检查项目检测用表210节碎石桩施工工序质量检验控制流程图工序检查项目检测用表212节砂砾垫层施工工序质量检验控制流程图工序检查项目检测用表213节浅层换填施工工序质量检验控制流程图工序检查项目检测用表214节预压路堤施工工序质量检验控制流程图工序检查项目检测用表215节加筋路堤施工工序质量检验控制流程图工序检查项目检测用表303节填隙砾石(矿渣)基层和底基层施工工序质量检验控制流程图工序检查项目检测用表304节水泥稳定碎石基层和底基层施工工序质量检验控制流程图工序检查项目检测用表305节水泥土基层底基层施工工序质量检验控制流程图工序检查项目检测用表306节水泥混凝土路面施工工序质量检验控制流程图工序检查项目检测用表310节土路肩施工工序质量控制流程图工序检查项目检测用表311节路缘石铺设施工工序质量控制流程图工序检查项目检测用表工序检查项目检测用表工序检查项目检测用表403节承台细梁工程工序质量检验控制流程图工序检查项目检测用表404节墩柱、墩身工程工序质量检验控制流程图工序检查项目检测用表405节墩、台盖帽工程工序质量检验控制流程图工序检查项目检测用表407节先张法预制梁施工工序质量检验控制流程图工序检查项目检测用表410节悬臂浇筑法箱梁施工工序质量检验控制流程图悬臂浇筑施工顺序:0#块(起步块)浇筑→两侧平衡对称块(悬臂挂篮)浇筑→合拢段浇筑,监理流程也分三部分。
施工过程质量控制流程图一、背景介绍施工过程质量控制是确保建筑工程施工过程中质量达到要求的关键环节。
通过制定合理的流程图,可以明确质量控制的各个环节和责任人,提高施工质量,确保工程的安全和可靠性。
二、施工过程质量控制流程图以下是施工过程质量控制的流程图,详细描述了各个环节的具体控制措施和责任人。
1. 设计阶段- 质量控制措施:- 设计人员根据相关标准和规范进行设计;- 设计人员进行设计方案评审,确保设计符合要求;- 设计人员编制详细设计图纸和技术文件。
2. 材料采购阶段- 质量控制措施:- 采购人员选择合格的供应商;- 采购人员对材料进行抽样检测;- 采购人员与供应商签订合同,明确材料质量要求。
3. 施工准备阶段- 质量控制措施:- 施工单位组织施工人员进行技术交底和安全培训;- 施工单位编制施工组织设计和施工方案;- 施工单位进行现场勘察和测量。
4. 施工阶段- 质量控制措施:- 施工单位进行施工过程质量检查和验收;- 施工单位进行施工工艺控制,确保施工符合设计要求;- 施工单位进行施工质量记录和报告。
5. 竣工阶段- 质量控制措施:- 施工单位进行竣工验收,确保工程质量符合要求;- 施工单位进行工程交接和档案整理;- 施工单位编制竣工报告和验收报告。
三、责任人说明1. 设计阶段- 设计人员:负责设计方案的制定和评审,编制详细设计图纸和技术文件。
2. 材料采购阶段- 采购人员:负责选择合格的供应商,对材料进行抽样检测,与供应商签订合同。
3. 施工准备阶段- 施工单位:负责组织施工人员进行技术交底和安全培训,编制施工组织设计和施工方案,进行现场勘察和测量。
4. 施工阶段- 施工单位:负责施工过程质量检查和验收,进行施工工艺控制,记录和报告施工质量。
5. 竣工阶段- 施工单位:负责竣工验收,工程交接和档案整理,编制竣工报告和验收报告。
四、总结通过施工过程质量控制流程图,可以清晰地了解施工过程中各个环节的质量控制措施和责任人。
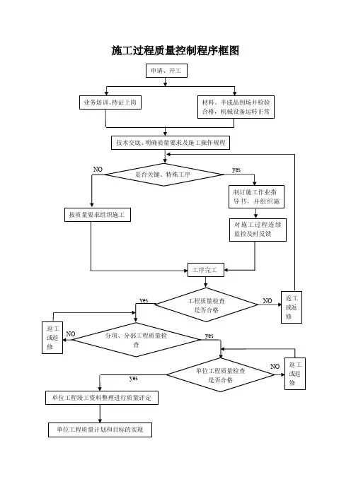
施工过程质量控制程序框图
申请、开工
业务培训、持证上岗
材料、半成品到场并检验
合格,机械设备运转正常
技术交底、明确质量要求及施工操作规程
是否关键、特殊工序
按质量要求组织施工
制订施工作业指
导书,并组织施
对施工过程连续监控及时反馈
工序完工
工程质量检查 是否合格
返工或返修
返工或返修
分项、分部工程质量检
查
单位工程质量检查
是否合格
返工或返修
单位工程竣工资料整理进行质量评定
单位工程质量计划和目标的实现
yes
NO
yes
yes
yes
NO
NO
NO。
施工项目成本控制流程图
编制施工估算
企业进行项目成本展望
项目部编制成本计划
企业审查未经过企业审查经过
项目部进行成安分解、实行,落实到人
项目部月度成本核项目部月度成本核
算、成本剖析,与成本算、成本剖析,与成本
计划一致计划不一致
项目部连续按成本计划实行内因:查找责任人,落实赏罚制度
外因:项目部调整成本计划
企业审查经过企业审查未经过项目部按调整后计划实行
连续进行,贯串整个施工过程
合同内容达成,项目成本核算
项目总成本报告,成本控制总结,成本资料存档;兑现赏罚治法。