建筑工程施工工序质量控制流程图(DOC 68页)
- 格式:doc
- 大小:468.00 KB
- 文档页数:68
土方回填工程质量控制程序
; 确定冋填方案 ; :
测量仪器准备
•
; ----- 冋填机械准备 ------ ; 清理现场、作好排水 : 清除基地杂物和草皮——
; 回填分层,控制厚度 ; ;
灰土拌合均匀
=
• 清除大土快和生石灰快 ; ; 分层测量填土标咼 ;
■
分层检验填土质量
执行验评标准 质量评定
不少于 A
10%自然
回填土夯实,干密度实验
、 自检记录 丿
L 飞
—
1
隐蔽验收记录
」
< ______ 施工记录 __________ j
资料管理
间,但不少于2间,每间
不少于2处。
干密度取样
20~50m21
组(每个基坑不少于 1
组);基槽或管沟,每层丿
质量控制程序
\ 材料准备
_ ------ 测量仪器准备
准备工作一
\ 机械设备准备
'----- 现场清理排水
L 分部分项工程书面交底
—材料合格证
-- 实验记录
-- 咅—一
—质量评定记录
隐蔽工程验收记录
—施工记录
—事故处理记录
工长参加书面交底
技术交底
办理上部工序交接手续
材料准备
测量仪器准备
机械设备准备熟习图纸和技术资料
I熟习操作规程和质量标准
克服上道工序弊端方法
无质量问题。
.土方回填工程质量控制程序确定回填方测量仪器准熟习图纸和技术资准备工回填机械准熟习操作规程和质量标清理现场、作好排清除基地杂物和草分部分项工程书面交技术交操作人员参回填分层,控制厚灰土拌合均清除大土快和生石灰分层测量填土标分层检验填土质办理回填土隐蔽验收签清理现场文明施执行验评标自室内:不少10质量评每间间但不少干密度取不少处回填土夯实,干密度实20~50m2数量:基坑组(每个基坑不少质量评定记资料管;基槽或管沟,每组)隐蔽验收记录工施录记...质量控制程序熟习图纸和技术资测量仪器准准备工机械设备准熟习操作规程和质量标现场清理排克服上道工序弊端方分部分项工程书面交技术交工长参加书面交办理上部工序交接手分部分项工程书面交测量仪器准机械设备准隐蔽工程验收签执行验收标现场文明施质量评10按有代表性自然间不合格的处材料合格资料记质量评定记隐蔽工程验收记录事故处理记录无质量问题使用过程回访...模板工程质量控制程序熟习图纸和技术资准备工模板涂刷隔离熟习操作规程和质量标钢筋工序完检查脚手架、脚手分部分项工程书面交技术交工长参加书面交底部标高中心线新分部分项工程书面交钢筋砼工序交接检浇筑砼时留人看按梁、柱的件数,各抽执行验评标质量评10,但均不少件不合格的处理(返工带形基础、圈梁、板按砼强度确定拆模时注意保护棱清理现场文明施质量评定资料资料管理施工资料...钢筋工程质量控制程序钢材合格证复熟习图纸和技术资准备工检查脚手架、脚手熟习操作规程和质量标制订与审核钢筋配料书面交技术交操作人员参钢筋下按不同型号挂成钢筋、砼工序交接检中间抽现执行验评标钢筋绑办理隐蔽验收手不合格的处理(返工按梁、柱板独立基础抽质量评件;10,但不少钢筋合格钢筋复检报自检记隐蔽验收记清理现场文明施资料管理质量评定记录录工施记事故处理记录...砼工程质量控制程序材料准确、出具合格熟习图纸和技术资申请混凝土配合准备试模和坍落度熟习操作规程和质量标准备工模板、钢筋砼工序交确定保证砼质量标检查脚手架及道垂直水平运输机械准分部分项工程书面交克服上道工序弊端的补技术交操作人员参专业会申请浇筑、每个工作班组不少岗位分工、操作挂砼、每拌100M木工钢筋工跟班保质浇筑执行重量标准养护试根据情况调整配合按时覆暖热季节定时浇执行验评标清理现场文明施础按梁和立,但均10数,各抽质量评件;带形基础圈少材料合格试块报告不合格处理(返工自检记质量评定记砼浇灌记资料管砼施工记事故处理记录..测温记录.砌筑工程质量控制程序砖、水泥、砂准备,平面尺寸标高测量放熟习图纸和技术资准备工水平垂直运输工具准熟习操作规程和质量标脚手架、马路准按图立皮数申请砂浆配合分部分项工程书面交技术交克服上道工序弊病操作人员参每一楼层(基础按一个楼砌体至少应计)250m试块预留养护定期试预留孔洞按图施预埋件砂浆饱墙面平整垂直执行验评标严格执行重量比搅拌均高以内4外墙:按楼层质量评按有代内墙20抽性的自然间数抽10执行验评标材料合格清理现场文明施试块报告资料管质量评定记录记工施录事故处理记录..。
建设工程质量控制常用流程图工程质量控制工作流程图建设工程质量控制常用流程图工程质量控制工作流程图5. 建设工程质量控制常用流程图建设工程质量控制流程图是控制工程质量的重要步骤或工作分解,围绕工程质量控制流程图是控制来编制控制方案是一种基本方法。
见下图:5.1监理工作总程序工作要求:⑴委派具有丰富超高层工程施工监理经验的国家注册监理工程师担任项目总监,并针对本项目特点召集设备、土建方面有经验的监理人员组成强有力的监理班子。
⑵派驻现场的监理人员应持证上岗、专业配套、人员按合同规定及时到位。
⑶配备必要的检测设备和工具,满足现场检验工作需要。
⑷按照《建设工程监理规范》GB50319-2000要求开展各项监理工作,控制工程质量,管理建设工程合同,协调建设单位与工程建设有关各方关系。
⑸在监理项目部建立完善质量管理体系,保证我公司质量方针和质量目标实现。
⑹按照本工程特点和要求编制《监理实施规划》,并分阶段编制监理实施细则。
加大主动控制、事前控制力度,保障项目目标的实现。
⑺根据竣工备案制要求,严格执行质量检查和验收制度,分阶段及时对工程进行总结和评估。
5.2施工准备阶段监理工作程序1. 施工准备阶段监理工作程序工作要求:⑴施工准备阶段监理工作以预控为主,各项工作根据工程特点、工程承发包模式、业主管理方式。
⑵审查开工准备情况要注意以下事项:施工许可已获政府主管部门批准,征地拆迁符合进度需要,施工组织设计已获总监批准,承包单位人员、机具已到位,主要建筑材料已落实,进场道路及水、电、通讯已满足开工要求。
⑶总监理工程师应组织监理人员参加第一次工地会议,并介绍监理项目部的组织机构、人员及其分工,监理规划主要内容,并对施工准备情况提出意见和要求。
⑷第一次工地会议纪要应由监理项目部起草,并经与会各方代表会签。
⑸《工程开工报审表》必须由总监理工程师审批,不得授权其他人员执行。
5.3施工组织设计(施工方案)审核工作程序工作要求:⑴施工组织设计或施工方案是否经承包单位上级技术管理部门审批。
101节施工准备阶段流程图102节施工准备阶段的主要监理工作内容201节原始地面表土清理施工工序质量检验控制流程图工序检查项目检测用表工序检查项目检测用表工序检查项目检测用表工序检查项目检测用表工序检查项目检测用表工序检查项目检测用表工序检查项目检测用表工序检查项目检测用表工序检查项目检测用表工序检查项目检测用表工序检查项目检测用表303节填隙砾石(矿渣)基层和底基层施工工序质量检验控制流程图工序检查项目检测用表304节水泥稳定碎石基层和底基层施工工序质量检验控制流程图工序检查项目检测用表305节水泥土基层底基层施工工序质量检验控制流程图工序检查项目检测用表306节水泥混凝土路面施工工序质量检验控制流程图工序检查项目检测用表310节土路肩施工工序质量控制流程图工序检查项目检测用表311节路缘石铺设施工工序质量控制流程图工序检查项目检测用表401节钻孔桩工程工序质量检验控制流程图工序检查项目检测用表402节挖孔桩工程工序质量检验控制流程图工序检查项目检测用表403节承台细梁工程工序质量检验控制流程图工序检查项目检测用表工序检查项目检测用表工序检查项目检测用表407节先张法预制梁施工工序质量检验控制流程图工序检查项目检测用表410节悬臂浇筑法箱梁施工工序质量检验控制流程图悬臂浇筑施工顺序:0#块(起步块)浇筑→两侧平衡对称块(悬臂挂篮)浇筑→合拢段浇筑,监理流程也分三部分。
410-1 0#块浇筑工序检查项目检测用表410-2 两侧平衡对称块(逐段)的浇筑工序检查项目检测用表410-3 合拢段的浇筑工序检查项目检测用表411节桥面铺装层工程工序质量检验控制流程图501节隧道全断面施工工序质量控制流程图502节隧道全断面开挖施工工序质量控制流程图工序检查项目检测用表503节隧道台阶法施工工序质量控制流程图工序检查项目检测用表504节连拱隧道施工工序控制流程图工序检查项目检测用表505节隧道明洞施工缝施工工序质量控制流程图工序检查项目检测用表506节明洞工程施工工序质量控制流程图工序检查项目检测用表507节围岩监控量测施工工序质量控制流程图工序检查项目检测用表508节喷射砼施工工序质量控制流程图工序检查项目检测用表509节锚杆施工工序质量控制流程图工序检查项目检测用表510节迈式锚杆防护施工工序质量控制流程图工序检查项目检测用表511节钢支撑(型钢、格栅)施工工序质量控制流程图工序检查项目检测用表512节钢筋网施工工序质量控制流程图工序检查项目检测用表513节小导管注浆施工工序质量控制流程图工序检查项目检测用表514节长管棚施工工序质量控制流程图工序检查项目检测用表515节隧道结构防水层施工工序质量控制流程图工序检查项目检测用表工序检查项目检测用表工序检查项目。
(建筑工程质量)建筑工程施工工序质量控制流程图101节施工准备阶段流程图102节施工准备阶段的主要监理工作内容201节原始地面表土清理施工工序质量检验控制流程图工序检查项目检测用表工序检查项目检测用表工序检查项目检测用表205节土方路堑开挖施工工序质量检验控制流程图工序检查项目检测用表206节石方路堑开挖施工工序质量检验控制流程图工序检查项目检测用表208节袋装砂井施工工序质量检验控制流程图工序检查项目检测用表210节碎石桩施工工序质量检验控制流程图工序检查项目检测用表212节砂砾垫层施工工序质量检验控制流程图工序检查项目检测用表213节浅层换填施工工序质量检验控制流程图工序检查项目检测用表214节预压路堤施工工序质量检验控制流程图工序检查项目检测用表215节加筋路堤施工工序质量检验控制流程图工序检查项目检测用表303节填隙砾石(矿渣)基层和底基层施工工序质量检验控制流程图工序检查项目检测用表304节水泥稳定碎石基层和底基层施工工序质量检验控制流程图工序检查项目检测用表305节水泥土基层底基层施工工序质量检验控制流程图工序检查项目检测用表306节水泥混凝土路面施工工序质量检验控制流程图工序检查项目检测用表310节土路肩施工工序质量控制流程图工序检查项目检测用表311节路缘石铺设施工工序质量控制流程图工序检查项目检测用表401节钻孔桩工程工序质量检验控制流程图工序检查项目检测用表402节挖孔桩工程工序质量检验控制流程图工序检查项目检测用表403节承台细梁工程工序质量检验控制流程图工序检查项目检测用表404节墩柱、墩身工程工序质量检验控制流程图工序检查项目检测用表405节墩、台盖帽工程工序质量检验控制流程图工序检查项目检测用表407节先张法预制梁施工工序质量检验控制流程图工序检查项目检测用表410节悬臂浇筑法箱梁施工工序质量检验控制流程图悬臂浇筑施工顺序:0#块(起步块)浇筑→两侧平衡对称块(悬臂挂篮)浇筑→合拢段浇筑,监理流程也分三部分。
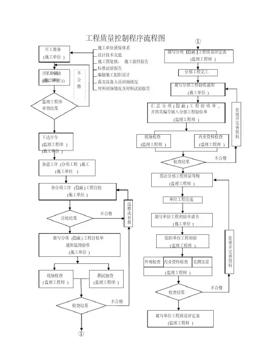
工程质量控制程序流程图
监理工程师审查结果
①
开工准备(施工单位)
开工申请(施工单位) 开工申请(施工单位)
自检结果
填写分项(隐蔽)工程自检单
通知监理验收(施工单位)
现场检查(监理工程师)
测试抽查(监理工程师)
检查结果
填写分项(隐蔽)工程质量评定表
(监理工程师)分部工程完工填写分部工程验收通知
(施工单位)
汇总分项(隐蔽)工程验收单,并将其编号填入分部工程验收单
(监理工程师)
下达开令(监理工程师) (施工单位)
检查结果
处
理并完善资料
单位工程完成
填写单位工程初验申请书
(施工单位)
组织单位工程初验(监理工程师)
(监理工程师)
外观检查内业资料检查
实测实量
检查结果
各道工序(分项工程)施工
(施工单位
)
填写单位工程质量评定表
(监理工程师)
处理并完善资料
各分项工序(隐蔽)工程自检
(施工单位)
施工单位质保体系设计技术交底
施工图复核、施工放样报告标准试验报告
编制施工组织设计落实设备人员到场情况材料到场情况及材料试验报告
不合格
返修或补救
不合格
不合格
①
现场检查(监理工程师)
内业资料检查(监理工程师)
签证分部工程质量等级
(监理工程师)
不合格
不合格。