姚玮小区管理系统数据流图
- 格式:ppt
- 大小:66.50 KB
- 文档页数:3
三远集团(中国)有限公司物业服务工作流程图文件编号:版本号:A修改状态:0受控状态:受控受控编号:年月日发布年月日实施三远集团(中国)有限公司物业管理中心发布物业管理外部组织架构图物业整体运作流程图对外项目拓展工作流程图物业公司与集团及项目公司工作关系图档案资料使用流程人员和培训管理流程图供方评价控制流程图采购控制流程图社区文化流程图基础设施和工作环境管理流程图门岗值勤业主外来人员出入管理流程图侧门岗执勤工作流程图学校火警处理流程图秩序维护主管工作流程图领班日检查工作流程图样板房秩序维护员岗位工作流程图巡逻岗巡逻操作流程图消防应急方案流程图突发事件处理流程图安全管理工作重大事项报告处置流程图电梯困人处理流程图火灾处理流程图车库(场)岗位工作流程图车库(场)车辆异常情况处置流程图车辆冲卡处理流程图发现可疑车辆出场处置流程图消防报警信号处理流程图业主搬迁操作流程图顾客满意管理流程图不合格品(服务)管理流程图业主报修接待处理流程图清洁管理流程图绿化管理流程图清洁不合格服务处理流程图绿化不合格服务处理流程图机电设备管理流程图电梯故障处理流程图恒压变频生活供水系统操作流程图正常低压变配电设备维修保养流程图新接楼宇入伙管理流程图接上图;房屋装修管理流程图物业接管验收流程图一、实物部分验收:注:1。
经初验同意接管的楼宇,不等于楼宇质量完全符合国家及设计标准,项目公司不能排除承担整改质量缺陷的责任;2.在相关规定的保修期结束时,经过物业公司认可后才能向施工单位支付保修金。
物业接管验收流程图二、资料部分移交:注:资料移交最迟在地产商将楼宇资料报送市档案馆的同时,移交一份到物业公司存档。
业主看房收楼流程图。
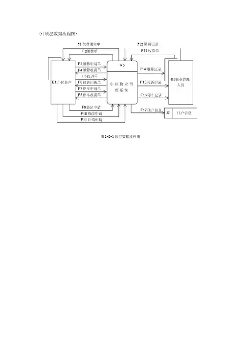
(1)顶层数据流程图:F1欠费通知单F12缴费记录图1-2-1顶层数据流程图(2)第一层数据流程图:P0小区物业管理系统IF1欠费通知单F2缴费单P1收费管理F12缴费记录乙F13收费单:F17住户信息P2E1小区住户二3维修申请单、F4维修收费单j F9登记申请丁|F10修改申请二IF11注销申请、IF7停车申请单.IF8停车收费单I F5投诉单二F6投诉回执单维修管理F14维修记录U F17住户信息P3住户管理P4停车管理P5投诉管理F17住户信息』SF17住户信息F16停车记录€ F17住户信息F15投诉记录图1-2-2第一层数据流程图住户信息E2物业管理人员P1收费管理图1-2-3第二层数据流程图一收费管理F3维修申请单E1小区住户P2维修管理P2.1判断是否在保修期*F19维修单P2.2维修处理保修处理S1 住户信息E2物业管理人员£17住户信息W F20 保P2.3P2.4F21维修信息22保修信息F4维修收费单计费处理F14维修记录F14维修记录S3 维修记录图1-2-4第二层数据流程图一维修管理住尸变动修改住尸S4P3. 3注销信息注销住户F11注销申请P3住户管理E1小区住户P3.11 1F9登记申请、F17住户信息S1住户信息住户登记1 >1 IP3.2 11F10修改申请 F23修改信息图1-2-5第二层数据流程图一住户管理F7停车申请单、1E1小区住户 P4. 3车位 处理£27车位信息F8停车收费单S1 住户信息P4停车管理P4.1F25停车单 P4. 2 车位信息S6P4. 4计算费用S5停车汇总单停车场处理判断是否 已购车位—「II VF16停车记录F17住户信息F16停车记录图1-2-6第二层数据流程图一停车管理E2物业管理人员图1-2-7第二层数据流程图一投诉管理【本文档内容可以自由复制内容或自由编辑修改内容期待你的好评和关注,我们将会做得更好】。
秦都小区住户管理信息系统设计二级学院:金融与会计学院专业名称:财管B1206学号:124033姓名:陈静授课教师:刘彦戎摘要随着我国经济发展和城市开发,住宅小区越来越成为居住的主流,在这种形势下,小区的管理变得越来越困难,其中,小区住户信息管理成为首要解决的问题。
普通的手工登记已经满足不了需要,在软件行业迅速发展的今天,特别是B/S的慢慢取代C/S的形势下,开发一款简单易用的管理软件已经是大势所趋。
在这种背景下,经过仔细分析,设计和最后的编码实现,一款基于B/S的使用JSP开发的小区住户管理系统诞生了。
在整个开发学习过程中,我对所学知识的理解提高了一个层次,对软件开发的过程也更加熟悉,为以后的学习和工作打下了坚实的基础。
关键词:小区;信息管理;B/S;JSP目录第一章绪论 (1)1.1 课题背景 (1)1.2 研究的目的和意义 (1)1.3 项目简介 (2)第二章设计简介及设计方案论述 (3)2.1 系统业务流程图 (3)2.2 功能模块分析 (3)2.3 数据字典 (4)第三章详细设计 (5)3.1 用户登录模块设计与实现 (5)3.2 增加住户信息模块设计与实现 (5)3.3 删除住户信息模块设计与实现 (6)3.4 修改住户信息模块设计与实现 (6)3.5 查找住户信息模块设计与实现 (7)3.6 密码修改模块设计与实现 (7)3.7 数据库设计与实现 (7)第四章设计结果及分析 (9)4.1测试目的 (9)4.2 测试原则 (9)4.3 主要功能测试及分析 (10)4.3.1登录系统 (10)4.3.2插入模块 (11)4.3.3更新模块 (12)总结 (15)致谢 (16)参考文献 (17)附录主要程序代码 (18)第一章绪论1.1 课题背景计算机的应用已普及到经济和社会生活的各个领域,使原本的旧的管理方法越来越不适应现在社会的发展,许多人还停留在以前的手工操作,这大大地阻碍了人类经济的发展。
数据库课程设计报告题目幸福小区物业管理系统数据库设计院(系)专业班级学生姓名学号指导教师年月目录一、需求分析 (2)二、数据流图 (2)【物业管理】 (2)【住户管理】 (2)【设备管理】 (3)【社区清洁管理】 (3)【财务管理】 (3)【系统功能结构图】 (4)三、数据字典 (5)【数据项】 (5)【数据结构】 (5)【数据流】 (5)四、概念结构设计 (6)【分ER图】 (6)【总ER图】 (7)五、逻辑结构设计 (8)CDM (8)PDM (9)六、物理结构设计 (9)七、个人总结 (18)一、需求分析经过十几年的发展,中国房地产业逐步走向成熟,物业管理也由新生到发展再到深入,面临着蓬勃发展的局面。
随着ISO9002等管理体系在物业管理中的引入,对原有的物业管理模式进行了一次深刻的变革,对物业管理公司朝着正规化、科学化、集团化的发展,起到有力的推动作用。
随着我国经济发展和城市开发,住宅小区越来越成为居住的主流,小区物业管理是针对当代社会这一市场需要应运而生的。
本系统是为住宅小区物业管理部门日常管理工作信息化,规范化而开发的软件。
它以物业管理部门为服务中心,以业主(住户)为服务对象。
通过实施各种服务项目,全面地反映了在小区物业经营管理活动中,物业部门与业主之间各种业务往来。
使各项业务的办理迅速、准确,极大的提高了小区物业管理的工作效率。
由于物业管理涉及的管理范围较为广泛,管理内容繁杂,加上政策性的变动因素,日常工作需要耗费大量人力和物力,而采取现代化电脑管理手段是一种行之有效的解决方法,用计算机操作的小区物业管理系统是为小区管理者和小区用户更好的维护各项物业管理业务处理工作而开发的管理软件。
电脑化管理在物业管理中的作用主要体现在:1.适用面广、可同时管理多个管理区和多栋大楼;2.计算机完整的工程档案与服务档案可以使管理人员随时了解最新的情况,更可以规范维护、服务标准,帮助管理人员合理安排工作时间。
《数据库原理与技术》三级项目报告1. 需求描述小区物业管理系统的系统结构分为个部分,系统功能:用户注册、用户管理、修改密码、退出系统。
楼盘管理功能:楼盘管理、添加修改楼盘信息。
住户管理功能:住户管理、添加修改住户信息。
报修管理功能:报修管理、添加删除报修信息。
有4个实体类型,其属性如下:小区住户基本信息实体:业主编号姓名住户信息性别电话名牌号面积身份证报修信息实体:报修信息业主编号报修事项编号报修名称维修状态日期受理人投诉信息实体:投诉事项编号投诉信息投诉名称业主编号解决状态日期受理人楼盘信息实体:楼盘编号楼盘信息楼盘名称楼层数户型面积地址2. 概念结构设计3. 逻辑结构设计小区物业管理系统数据库中各个表格的设计结果如下面的几个表所示。
每个表表示在数据库中的一个数据表。
这个ER图有4个实体类型,其属性如下:表1-客户表表1-2 住户基本信息表表1-3 楼盘基本信息表表1-4 报修处理表表1-5 投诉管理表4. 数据库实施--建立数据库create database 物业管理系统--建立数据表--用户表Create table 用户表(业主编号 int primary key not nul, 楼盘编号 int not nul,);--住户信息表Create table 住户信息表(业主编号 int primary key not null,姓名 char(20) not null,性别 char(20) check(性别 in('男','女')),电话 int not null,门牌号 int unique not null ,面积 int not null,身份证 char(20) unique not null);--楼盘信息表Create table 楼盘信息表(楼盘编号 int primary key not null,楼盘名称 char(20) not null,楼层数 int not null,面积 int not null,户型 char(20) not null ,地址 char(20) not null);--报修信息表Create table 报修信息表(报修事项编号 int primary key not null,业主编号 int not null,报修名称 char(20) not null,维修状态 char(20) default 'not',日期 datetime default getdate() ,受理人 char(20) not null,foreign key (业主编号) references 住户信息表(业主编号) );--投诉信息表Create table 投诉信息表(投诉事项编号 int primary key not null,业主编号 int not null,投诉名称 char(20) not null,解决状态 char(20) default 'not',日期 datetime default getdate(),受理人 char(20) not null,foreign key (业主编号) references 住户信息表(业主编号));--创建业主信息视图create view 业主信息视图 asselect 姓名业主姓名,楼盘名称,门牌号,性别,电话,住户信息表.面积,身份证from 住户信息表,楼盘信息表,拥有信息表where 楼盘信息表.楼盘编号 =拥有信息表.楼盘编号and 住户信息表.业主编号 =拥有信息表.业主编号--创建未维修事项信息视图create view 未维修事项信息视图 asselect 报修名称,姓名报修人,楼盘名称,门牌号,电话,日期保修日期,受理人from 报修信息表,住户信息表,楼盘信息表,拥有信息表where 维修状态 != 'ok' and 楼盘信息表.楼盘编号 = 拥有信息表.楼盘编号and 住户信息表.业主编号 = 拥有信息表.业主编号and 报修信息表.业主编号 = 住户信息表.业主编号--创建报修视图,只显示ID,Name,日期和维修否信息create view 未解决投诉信息视图 asselect 投诉名称,姓名投诉人,楼盘名称,门牌号,电话,日期保修日期,受理人from 投诉信息表,住户信息表,楼盘信息表,拥有信息表where 解决状态 != 'OK' and 楼盘信息表.楼盘编号 =拥有信息表.楼盘编号and 住户信息表.业主编号 = 拥有信息表.业主编号and 投诉信息表.业主编号 = 住户信息表.业主编号6. 数据库运行--楼盘信息的添加 insert into 楼盘信息表values(1,'海天',5,120,'三室一厅','中山路号')insert into 楼盘信息表values(2,'柠檬夏天',10,120,'四室一厅','中山路号')insert into 楼盘信息表values(3,'指尖刹那',9,300,'四室一厅','中山路号')--住户信息的添加 insert into 住户信息表values(11,'林达','女','15980123','520','120','3505251992')insert into 住户信息表values(12,'谢可','女','15980147','521','100','3505251993')insert into 住户信息表values(13,'谢华','男','15980520','522','180','3505251994')insert into 住户信息表values(14,'张琳','男','15980369','523','250','3505251995')insert into 住户信息表values(15,'仲夏','男','15980789','524','300','3505251996')--报修信息的添加insert into 报修信息表(报修事项编号,业主编号,报修名称,受理人) values(10,15,'水管爆裂','王砖家')insert into 报修信息表(报修事项编号,业主编号,报修名称,受理人)values(11,14,'电线端口安装','王砖家')insert into 报修信息表(报修事项编号,业主编号,报修名称,受理人) values(12,13,'大门锁坏掉','王砖家')insert into 报修信息表(报修事项编号,业主编号,报修名称,受理人) values(13,12,'灯泡更换','王砖家')--投诉信息的添加insert into 投诉信息表(投诉事项编号,业主编号,投诉名称,受理人) values(100,11,'墙壁裂痕','胡说')insert into 投诉信息表(投诉事项编号,业主编号,投诉名称,受理人) values(101,12,'停水','胡说')insert into 投诉信息表(投诉事项编号,业主编号,投诉名称,受理人) values(102,13,'周围太吵','胡说')insert into 投诉信息表(投诉事项编号,业主编号,投诉名称,受理人) values(103,14,'乱丢垃圾','胡说')--拥有信息表的添加insert into 拥有信息表 values(11,1)insert into 拥有信息表 values(12,2)insert into 拥有信息表 values(13,2)insert into 拥有信息表 values(14,2)insert into 拥有信息表 values(15,3)--查询结果select * from 楼盘信息表select * from 住户信息表select * from 报修信息表select * from 投诉信息表select * from 拥有信息表--楼盘信息编辑update 楼盘信息表 set 楼盘名称 = '彩虹之家' where 楼盘名称 = '海天'--住户信息的编辑update 住户信息表 set 电话 = '1314520' where 电话 = '15980123'--业主信息视图通过该视图可以得到住户信息,包含业主姓名,楼盘名称,门牌号,性别,电话,面积,身份证create view 业主信息视图 asselect 姓名业主姓名,楼盘名称,门牌号,性别,电话,住户信息表.面积,身份证from 住户信息表,楼盘信息表,拥有信息表where 楼盘信息表.楼盘编号 = 拥有信息表.楼盘编号 and 住户信息表.业主编号 = 拥有信息表.业主编号--未维修事项信息视图报修名称,报修人,楼盘名称,门牌号,电话,保修日期,受理人create view 未维修事项信息视图 asselect 报修名称,姓名报修人,楼盘名称,门牌号,电话,日期保修日期,受理人from 报修信息表,住户信息表,楼盘信息表,拥有信息表where 维修状态 != 'ok' and 楼盘信息表.楼盘编号 = 拥有信息表.楼盘编号and 住户信息表.业主编号 = 拥有信息表.业主编号and 报修信息表.业主编号 = 住户信息表.业主编号--未解决投诉信息视图create view 未解决投诉信息视图 asselect 投诉名称,姓名投诉人,楼盘名称,门牌号,电话,日期保修日期,受理人from 投诉信息表,住户信息表,楼盘信息表,拥有信息表where 解决状态 != 'OK' and 楼盘信息表.楼盘编号 = 拥有信息表.楼盘编号 and 住户信息表.业主编号 = 拥有信息表.业主编号 and 投诉信息表.业主编号 = 住户信息表.业主编号--将业主编号为11的业主业主编号改为520update 住户信息表 set 业主编号 = 520 where 业主编号 = 117. 数据库维护备份数据库每一个数据库都应在创建之后卸出,从而提供一个装入基点。
全套物业管理公司工作流程图一、管理工作流程图1文件控制流程图2•记录控制流程图3•人员和培训管理流程图4•采购管理流程图5•物业服务管理流程图6•顾客满意管理流程图7•不合格品(服务)管理流程图8•业主投诉处理流程图二、安保工作流程图1安保管理流程图2•物业管理部工作流程图3•安保主管工作流程图4•班长日检查工作流程图5•样板房安保员岗位工作流程图6•侧门岗安保员工作流程图7•巡楼安保员操作流程图8•业主搬迁操作流程图9•外来人员出入管理流程图10•消防应急方案出来流程图11突发事件处理流程图12•安保工作重大事项处置流程图13•电梯困人处理流程图14•管理处火灾处理流程图15•车库(场)岗位工作流程图16•车库(场)收缴费管理流程图17•车库(场)异常情况处置流程图18.车辆冲卡处理流程图19•可疑车辆出场处置流程图三、清洁绿化工作流程图1.清洁管理流程图2.清洁不合格处理流程图3.绿化管理流程图4.绿化不合格处理流程图5.清洁绿化主管检查流程图四、工程工作管理流程图1.基础设施和工作环境管理流程图2.机电设备管理流程图3.业主报修接待处理流程图4.消防报警信号处理流程图5.电梯故障处理流程图6.恒压变频生活供水系统操作流程图7.低压变配电设备维修保养流程图8.新接楼宇入伙管理流程图9.业主入伙手续办理流程图10•房屋装修管理流程图11.物业接管验收流程图12•业主看房收楼流程图实用标准文档工作流程图编制:物业管理部日期:2016年2月日审核:质量管理部日期:2016年2月日批准:日期:实用标准文档责任部门:物业管理部声明:未经许可,不得翻印——t ------------新接物业 策划 -2016年 月 日发布 2016年 月 日实施顾客需求 * 3非常规设计开3 1 过 程服 务 巡 视1 7 新 楼 楼 宇接1 8 入 伙 管 理19 房 屋 装 修 管 理2 0基 础 设 施 工 作 环境丄1 清 洁 服 务2 绿 化 服 务3 安 保 服 务24突 发 事 件 处 理5 延 伸 服 务6 顾 客 财 产 管7 监 视 测 量 装表格设计培训档案安徽新亚物业管理发展有限公司文件号 XYWY7.4-0-2016作业指导书版号/状态 C/0 标题采购管理流程图页数第1页共2页、供方评价控制流程图供方初选采购物品、劳务分类A 类物品、劳务(关键物品)B 类物品、劳务(公司统一采购)C 类其他物品供方评价、选择审批、发布 集体评价直接评价L不作评价不录用―k 采取措施重新评价准则符合判定不重新录用采取措施评价准则 符合判定编录合格供方目录过程控制 供方从新评价编录新合格供方目录物业监控 消防安全 封闭管理培训上岗部门再将材料送行政公关部报总经理,总经理审签后,由行政公关部负责编号、排版、打印、发放,社区环境管理部备存一份。
数据库课程设计报告题目幸福小区物业管理系统数据库设计院(系)专业班级学生姓名学号指导教师年月目录一、需求分析 (2)二、数据流图 (2)【物业管理】 (2)【住户管理】 (2)【设备管理】 (3)【社区清洁管理】 (3)【财务管理】 (3)【系统功能结构图】 (4)三、数据字典 (5)【数据项】 (5)【数据结构】 (5)【数据流】 (5)四、概念结构设计 (6)【分ER图】 (6)【总ER图】 (7)五、逻辑结构设计 (8)CDM (8)PDM (9)六、物理结构设计 (9)七、个人总结 (18)一、需求分析经过十几年的发展,中国房地产业逐步走向成熟,物业管理也由新生到发展再到深入,面临着蓬勃发展的局面。
随着ISO9002等管理体系在物业管理中的引入,对原有的物业管理模式进行了一次深刻的变革,对物业管理公司朝着正规化、科学化、集团化的发展,起到有力的推动作用。
随着我国经济发展和城市开发,住宅小区越来越成为居住的主流,小区物业管理是针对当代社会这一市场需要应运而生的。
本系统是为住宅小区物业管理部门日常管理工作信息化,规范化而开发的软件。
它以物业管理部门为服务中心,以业主(住户)为服务对象。
通过实施各种服务项目,全面地反映了在小区物业经营管理活动中,物业部门与业主之间各种业务往来。
使各项业务的办理迅速、准确,极大的提高了小区物业管理的工作效率。
由于物业管理涉及的管理范围较为广泛,管理内容繁杂,加上政策性的变动因素,日常工作需要耗费大量人力和物力,而采取现代化电脑管理手段是一种行之有效的解决方法,用计算机操作的小区物业管理系统是为小区管理者和小区用户更好的维护各项物业管理业务处理工作而开发的管理软件。
电脑化管理在物业管理中的作用主要体现在:1.适用面广、可同时管理多个管理区和多栋大楼;2.计算机完整的工程档案与服务档案可以使管理人员随时了解最新的情况,更可以规范维护、服务标准,帮助管理人员合理安排工作时间。
小区物业管理系统的设计与实现小组协作基本信息执行进度目录1 需求分析....................................................... 错误!未定义书签。
1.1调查用户需求.............................................................................................. 错误!未定义书签。
1.2系统功能设计与划分.................................................................................. 错误!未定义书签。
1.3数据流图...................................................................................................... 错误!未定义书签。
1.4数据字典 ..................................................................................................... 错误!未定义书签。
2 概念设计文档............................................. 错误!未定义书签。
2.1分ER图...................................................................................................... 错误!未定义书签。
2.2全局ER图 .................................................................................................. 错误!未定义书签。
《信息系统分析与设计》2011~2012学年第一学期住宅小区物业管理信息系统的设计与分析目录1 系统可行性分析报告 (1)2 需求规格说明书 (6)3 设计规格说明书 (14)4 实验工作总结报告 (30)一、系统可行性研究报告完成人:杨伊婷杜瑞倩(绘图)1.引言当今房产发展迅速,各大城市小区如雨后春笋般冒出,俗话说”打江山难,守江山更难”,这句话用来形容小区的发展是最好不过的了.现在的中国房地产开发商已经不再是像以前一样,对物业管理工作只停留在看看门、扫扫地、补补漏、收收垃圾等很浅的层次上了,很多开发商已经意识到物业管理的重要性,但又苦于小区物业数据量多工作量大管理难等问题的烦恼,在信息高速发展的当代,他们迫切需要一款软件系统既能管理物业,又能让公司在物业上的花销减至最少,同时小区业主也越来越重视自己的物业信息的完整性、安全性和保护性。
随着房产体制改革的不断深化,有关物业的数据越来越庞杂,人们对物业信息的处理要求日益提高,因此采用计算机作为物业管理的工具是历史发展的必然,发展电子计算机在此领域的应用,这是物业管理手段现代化的发展方向。
只有利用计算机进行物业管理,特别是进行联网管理,才可能实现物业信息的标准化和规范化,为物业管理工作提供准确及时的信息,有助于物业管理部门进行管理并做出相关决策:同时也使物业管理公司及时准确地了解运营状况,做出经营决策,这样才能使物业管理走向现代化。
我们将借助计算机技术和数据库管理系统,对物业管理包括的项目进行记载,并实现电子化管理。
本系统的目的就是开发”小区物业管理系统”,通过这一系统来掌握小区物业的财务管理情况。
1.1编写目的用于便捷管理小区物业的相关信息,减少查找、记录、保护相关信息的人力、物力和力需求,增强物业信息的安全性、可靠性和管理的易用性、有效性。
1.2 背景随着住房制度改革,物业管理作为一个新兴行业,逐渐成为一个涉及社会方方面面,与千家万户息息相关的朝阳产业,目前正处于物业管理成长过程的关键阶段。
摘要随着网络开发技术的不断发展和进步,网络开发技术已经被应用到越来越多的小区和个人管理业务中去,给小区的各种管理带来极大的方便。
目前在大多数小区中的物业管理的效率十分低下,对小区相关信息的管理不能进行有效的管理,对于小区的管理等一系列的过程也存在很多的纰漏,这就迫切地需要利用小区信息管理系统来辅助小区对小区相关的信息进行科学化的管理和控制,达到提高物业管理工作效率,管理小区科学化、准确、便捷的目的。
小区物业管理系统的前台功能模块,前台功能模块包括住户添加、个人信息管理、修改登录密码、车位查看、缴费信息管理、投诉信息管理等功能。
小区物业管理系统的后台功能模块,后台功能模块包括账号信息管理、住户信息管理、通知信息管理、楼房信息管理、车位信息管理、费用信息管理、投诉信息管理、报修信息管理等功能。
系统采用基于框架对系统前台进行了设计和实现,最后对小区物业管理系统进行了系统测试并给出测试结果。
【关键词】信息系统;物业管理;数据库;B/S;框架Abstract:With the continuous development and progress of network development technology, network development technology has been applied to more and more communities and personal management businesses, bringing great convenience to all kinds of management in the district. The current efficiency of the property management in most of the cells is very low, the relevant information to the management area can not be effectively managed, many flaws also exist for the process of community management, there is an urgent need to assist information on residential area related to the scientific management and control of the use of residential information management the system can improve the work efficiency, property management, community management scientific, accurate and convenient for the purpose.The front office function module of the district property management system, the front stage function module includes household add, personal information management, modify login password, parking view, payment information management, complaint information management and other functions. The background function module of residential property management system, background function module, including account information management, household information management, notification information management, building information management, parking information management, cost information management, complaint information management, repair information management and other functions.The system is designed and implemented based on the framework, and the system is tested at last, and the test results are given.Key words: Information system; property management; database; B/S; framework目录1.绪论 (1)1.1 课题背景 (1)1.2 课题目标 (1)1.3 研究现状 (2)2.系统技术背景 (1)2.1 框架 (1)2.2 B/S框架 (2)2.3 数据库技术 (2)2.4 信息管理系统概念 (3)3.系统分析 (4)3.1 性能需求 (4)3.2 可行性分析 (4)3.2.1 技术可行性分析 (4)3.2.2 操作可行性分析 (4)3.2.3 需求可行性分析 (5)3.2.4 经济可行性分析 (5)3.3 业务流程 (6)4.系统设计 (6)4.1 系统功能模块 (7)4.2 数据库设计 (7)5 系统详细设计 (12)5.1 系统登录模块详细设计 (12)5.2 添加住户管理 (12)5.3 费用查看信息管理 (14)5.4 在线投诉管理 (14)5.5 住户信息管理 (15)5.6 费用信息管理 (16)5.7 投诉信息管理 (16)5.8 车位信息管理 (17)6.系统测试 (18)6.1系统测试准备 (18)6.1.1测试简介 (18)6.1.2测试方法 (18)6.1.3测试步骤 (18)6.3总结 (20)7.总结 (20)参考文献: (20)致谢 (22)第一章.绪论1.1 课题背景软件开发技术是目前比较流行的一门学科,它已经被逐步地应用到各行各业中,得到了越来越多的小区以及个人的认可。
VB小区物业管理系统ER图+流程图+功能模块图-课程设计VB小区物业管理系统ER图+流程图+功能模块图课程设计小区物业管理系统任务书内容设计要求:(1)信息要求本系统应该包含住户管理的相关信息,如住户、设备基本信息等,其中住户的基本信息应该包括:姓名、年龄、出生年月、地址、身份证号、邮编等信息;设备信息应该包括:名称,购买日期、编号、买主姓名等。
(2)功能要求本系统的基本功能要求如下:住户基本信息录入、修改及查询;收费基本信息录入、修改及查询设备基本信息录入、修改及查询维修基本信息录入、修改及查询用户管理(含用户权限的设置)。
目录第一章系统概述 11.1系统名称 11.2系统研究的目标和应用背景 11.2.1系统研究的目标 11.2.2系统研究的应用背景 11.3系统研究的设计要求 21.4系统的运行环境 21.4.1硬件环境 21.4.2软件环境 3第二章系统的可行性研究 42.1可行性研究 42.1.1技术可行性: 42.1.2经济可行性: 42.1.3操作可行性: 42.2需求分析 52.2.1需求分析的任务 52.2.2需求分析的方法 62.2.3数据流图 62.2.4数据字典8第三章项目设计的基本原理和采用的主要方法与技术93.1项目设计的基本原理93.2项目设计采用的主要技术93.3 数据访问技术113.4 数据库系统设计及范式分析11第四章总体设计144.1总体设计原理144.2 运行环境与系统结构144.3系统流程图154.4功能模块图164.5系统功能分析174.6关系模型174.7系统安全与维护措施17第五章详细设计195.1数据库的概念结构设计195.1.1局部E-R模型195.1.2 全局E-R模型225.2数据库的逻辑结构设计225.2.1数据库表设计235.3程序流程图24第六章系统的编码实现266.1系统的实现266.1.1用户登陆266.1.2设备维修管理286.1.3收费管理306.1.4房屋及住户管理336.1.5用户维护36第七章测试用例设计、测试与运行记录38 7.1测试计划387.1.1单元测试:387.1.2组合测试387.1.3确认测试387.1.4系统测试397.1.5用户验收测试397.2测试目的397.3 测试目标397.4 测试方法397.5测试项目397.6测试步骤40第八章个人遇到的困难与获得的主要成果42 8.1遇到的困难428.2获得的成果42第九章课程设计完成结果分析与个人小结43 参考文献324[10] ... >>VB小区物业管理系统ER图+流程图+功能模块图系统概述1.1系统名称系统名称:小区物业管理系统1.2系统研究的目标和应用背景1.2.1系统研究的目标本系统介绍了小区物业管理系统的实现。