大气波导新特性开通申请
- 格式:docx
- 大小:3.02 MB
- 文档页数:4
附件3卫星通信网无线电频率行政许可申请材料本申请材料适用于租用卫星运营商的无线电频率资源,或卫星运营商使用已获批的卫星无线电频率资源组建卫星通信网,在我国境内提供卫星通信服务的(包括卫星固定业务、卫星移动业务)情形。
材料清单申请卫星通信网无线电频率使用许可证一、书面申请函件需要书面申请函件名称(新申请)XX单位使用XX卫星无线电频率组建卫星通信网的申请书面申请函件名称(延续)XX单位延续使用XX卫星通信网无线电频率的申请书面申请函件名称(变更)XX单位变更使用XX卫星通信网无线电频率的申请二、申请人基本情况说明及证照材料需要三、拟开展无线电业务的情况说明需要四、技术方案可行性研究报告需要五、可利用的、由合法经营者提供的卫星频率资源证明需要六、组建卫星通信网拟设网内地球站情况需要七、组建含动中通地球站卫星通信网需提交的补充材料仅网内含有动中通地球站时需要材料一XX单位使用XX卫星无线电频率组建卫星通信网的申请工业和信息化部:拟申请使用XX卫星无线电频率,组建卫星通信网,开展XX应用(需说明是否涉及电信经营,卫星通信网是否接入互联网,网内是否含有动中通地球站),并在附件申请表中填写卫星通信网详细信息。
例文:我单位计划租用卫星频段无线电频率,组建卫星通信网,用于业务。
上述卫星通信网不涉及电信经营/涉及电信经营,我单位已获得国内甚小口径终端地球站通信业务经营许可。
上述卫星通信网不接入互联网,网内不含动中通地球站。
(上述卫星通信网接入互联网,我单位具有互联网接入服务业务经营许可。
上述卫星通信网内含动中通地球站,动中通地球站技术特性满足相关无线电管理法规要求。
)我单位现申请组建卫星通信网(延续/变更使用卫星通信网),请予批准。
卫星通信网详细信息请见附件。
附件:卫星通信网无线电频率使用申请表申请人(签章):日期:年月日材料二申请人基本情况及证照材料一、单位情况1.单位背景介绍2.单位性质3.隶属关系(事业单位)/单位股权结构说明(企业)例文:公司/单位成立于年,主要从事工作,开展过卫星相关业务,具有实施卫星应用的经验。
运营商通信链路保障申请流程 下载温馨提示:该文档是我店铺精心编制而成,希望大家下载以后,能够帮助大家解决实际的问题。文档下载后可定制随意修改,请根据实际需要进行相应的调整和使用,谢谢!
并且,本店铺为大家提供各种各样类型的实用资料,如教育随笔、日记赏析、句子摘抄、古诗大全、经典美文、话题作文、工作总结、词语解析、文案摘录、其他资料等等,如想了解不同资料格式和写法,敬请关注!
Download tips: This document is carefully compiled by theeditor. I hope that after you download them,they can help yousolve practical problems. The document can be customized andmodified after downloading,please adjust and use it according toactual needs, thank you!
In addition, our shop provides you with various types ofpractical materials,such as educational essays, diaryappreciation,sentence excerpts,ancient poems,classic articles,topic composition,work summary,word parsing,copy excerpts,other materials and so on,want to know different data formats andwriting methods,please pay attention!运营商通信链路保障申请流程如下: 1. 准备工作 在申请运营商通信链路保障之前,需要确保以下准备工作已完成: - 了解运营商提供的通信链路保障服务内容、资费标准及优惠政策。 - 确定申请的通信链路保障需求,如带宽、时长、地域等。 - 收集并整理相关申请材料,如企业营业执照、联系人身份证信息等。
宽带办理流程解析从申请到开通的全过程宽带办理流程一直是人们在选择网络服务时关注的重要因素之一。
对于许多人来说,了解申请宽带和开通宽带的过程非常重要,以便能够高效地完成操作并快速享受网络服务。
本文将详细解析从申请宽带到开通宽带的全过程,帮助读者全面了解和掌握这一流程。
1. 选择一家宽带服务提供商在申请宽带之前,第一步是选择一家可靠的宽带服务提供商。
考虑因素包括服务商的网络覆盖范围、稳定性、价格和客户评价等。
通常可以通过向朋友和亲人咨询或者在互联网上搜索相关信息来获得这些信息。
2. 填写宽带申请表格一旦确定了宽带服务提供商,下一步就是填写宽带申请表格。
这些表格通常可以在服务提供商的营业网点或者官方网站上找到并下载。
填写表格时要提供必要的个人信息,例如姓名、地址、联系方式等。
还需要选择合适的宽带套餐,根据自己的需求选择适合的速度和流量。
3. 提交申请表格以及其他相关文件填写完宽带申请表格后,通常需要提交表格以及其他相关文件给服务提供商。
这些文件可能包括身份证明、地址证明和银行信息等。
确保这些文件的准确性和完整性,以免延误申请进程。
4. 等待宽带申请审核一旦提交申请,通常需要等待一段时间进行审核。
服务提供商会对申请进行审查,核实提供的信息是否准确,并根据相关政策和规定来决定是否通过申请。
在等待的过程中,可以与服务提供商保持联系,了解申请的进展情况。
5. 安装宽带设备一旦申请审核通过,服务提供商会联系申请人安排宽带设备的安装。
通常会预约一个时间,技术员将会来到指定的地址进行设备安装和调试。
在此过程中,人们需要确保设备的放置位置以及一些细节问题,并清楚了解宽带设备的使用方法。
6. 开通宽带服务设备安装完成后,技术员会进行测试并确认宽带设备运行正常。
在确认设备工作正常后,服务提供商将会通知申请人宽带正式开通。
通常会提供一个账号和密码,用于登录宽带服务,并且可以选择使用无线网络或者有线网络方式连接。
7. 验收和调试开通宽带服务后,申请人需要进行一些简单的验证和调试工作,确保网络连接和速度符合预期。
互联网接入申请
尊敬的互联网服务提供商,
首先,非常感谢贵公司能够提供互联网接入服务。
我们是一家正在
筹备开业的企业,急需互联网接入以支持我们的日常运营和在线业务
发展。
根据我们的需求,我们谨向贵公司提交以下的互联网接入申请。
1. 公司基本信息
公司名称:
公司类型:
公司注册地:
联系人姓名:
联系电话:
联系邮箱:
2. 接入需求
2.1 带宽需求
我们需要的带宽为:
下行速率:
上行速率:
2.2 IP地址需求
我们需要的IP地址数量为:
2.3 网络拓扑需求
我们需要以下网络拓扑设置:
- 局域网(LAN)配置
- 路由器配置
- 防火墙配置等
3. 项目计划
我们计划于什么时间开始使用互联网服务,并希望与贵公司就服务开通日期进行商议。
4. 其他补充信息
提供任何您认为对我们的申请有帮助的额外信息或要求。
我们对贵公司的服务品质和专业水准倍感信任,并期待与贵公司建立互利共赢的合作关系。
如有任何关于申请的疑问或需要进一步的沟通,请随时与我们联系。
谢谢,期待您的回复。
此致,
申请公司名称。
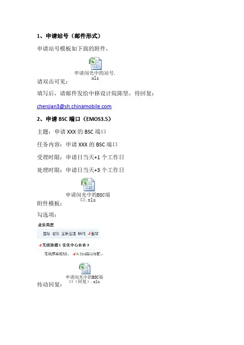
1、申请站号(邮件形式)
申请站号模板如下面的附件,
请双击可见:
申请闵光中的站号.
xls
填写后,请邮件发给中移设计院陈坚,待回复: chenjian3@
2、申请BSC 端口(EMOS3.5)
主题:申请XXX 的BSC 端口
任务内容:申请XXX 的BSC 端口
受理时限:申请日当天+1个工作日
处理时限:申请日当天+3个工作日
附件模板:申请闵光中的BSC端
口.xls
勾选项:
传动回复:申请闵光中的BSC端
口(回复).xls
3、申请传输路由(EMOS 3.5) 主题:申请XXX 的传输路由 任务内容:申请XXX 的传输路由 受理时限:申请日当天+1个工作日 处理时限:申请日当天+6个工作日
附件模板:
申请闵光中的传输路由.xls
勾选项:
4、申请频规(EMOS 3.5) 主题:申请XXX 的频规
任务内容:申请XXX 的频规
受理时限:申请日当天+1个工作日 处理时限:申请日当天+6个工作日
附件模板:
申请闵光中的频规.xls 勾选项:。
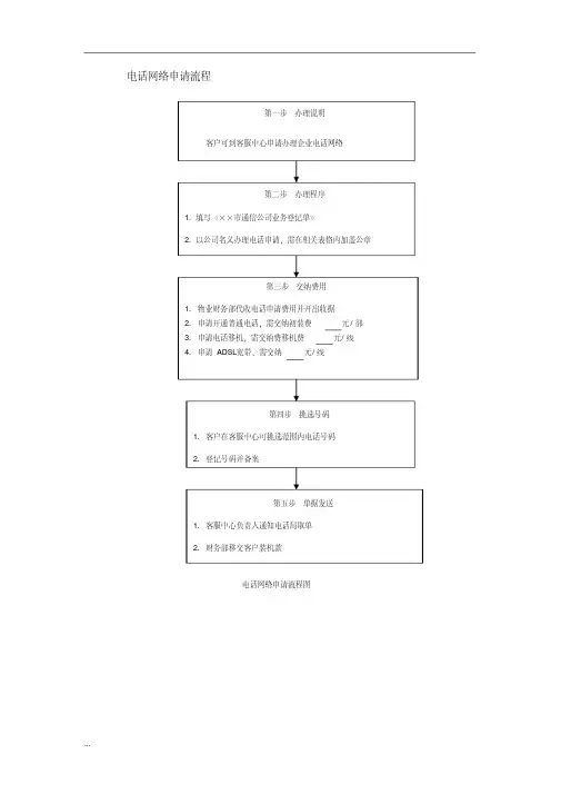
电话网络申请流程
第一步办理说明
客户可到客服中心申请办理企业电话网络
第二步办理程序
1. 填写《××市通信公司业务登记单》
2. 以公司名义办理电话申请,需在相关表格内加盖公章
第三步交纳费用
1. 物业财务部代收电话申请费用并开出收据
2. 申请开通普通电话,需交纳初装费元/部
3. 申请电话移机,需交纳费移机费元/线
4. 申请ADSL宽带,需交纳元/线
第四步挑选号码
1. 客户在客服中心可挑选范围内电话号码
2. 登记号码并备案
第五步单据发送
1. 客服中心负责人通知电话局取单
2. 财务部移交客户装机款
电话网络申请流程图
...。
基站开通流程及常见问题一、基站开通基本流程:1、确认基站开通条件(设备安装、传输、市电)2、确认申请规划数据、工单申请。
3、确认跳纤路由(以下说明都以此假设路由为例):A (目标开通站点)---B(中间跳接站点)---C(IPRAN设备所在站点)4、确认C站点IPRAN设备是否有空余光口,若无光口需自带光板。
5、出发前联系需要进入基站的钥匙(县分公司、县铁塔代维公司、电信代维公司、移动代维公司),携带必要的工具(光功、法兰、常用室外机柜钥匙、光模块、胶泥)6、到达A站点:①检查设备电源接线是否正常、熔丝是否满足设备加电要求;②加电后安排基站厂家督导进行设备升级、数据配置(华为U900设备不需要督导配置数据),同时检查BBU与RRU连接端口、联线是否正确,RRU光模块型号是否正确;BBU上联光模块型号是否正确;③在A站点熔纤柜或分纤箱内找到去B点的光缆熔纤盘或终端盒,布放尾纤至基站设备处;④基站设备数据配置完毕,将上联至B站点的尾纤向基站设备环回,确认基站设备状态正常(BBU传输灯绿),将尾纤正常连接至B站点;7、到达B站点:在熔纤柜内找到至A、C站点的熔纤盘,收光并进行跳纤,做好标签。
8、到达C站点:在熔纤柜或分纤箱内找到对应的熔纤盘进行收光,跳纤至本站的IPRAN 设备(IPRAN 设备对应端口绿灯亮起),联系机房厂家告知新开A 点站名、基站设备类型(3、4G )、IPRAN 设备端口,进行数据配置,并最终确认设备状态。
9、联系机房厂家确认A 站点基站设备有无告警,并进行测试。
10、以上A 、B 、C 站点实施的先后顺序可根据实际情况合理安排。
二、基站开通常见问题:1、 诺西3G 、4G 设备区分?诺西3G 和4G 设备BBU 的模块名称为FSMF ,从外观上简单区分:3G 设备的BBU 上GPS 端口未接线缆,4G 设备的BBU 上接有线缆,另外4G 设备的BBU 上有扩展板FBBA 、FBBC 板,而3G 设备上没有。
中国移动家庭宽带业务开通流程规范(2020版)中国移动通信集团公司网络部2020年1月目录前言 (4)一、名词解释 (5)二、家客业务开通的支撑手段 (5)2.1功能域划分 (6)2.2功能与流程对应关系 (6)2.3功能要求 (7)三、家客业务相关资源的管理 (9)3.1家庭宽带小区资源录入 (9)3.2对于非标地址的描述 (9)3.3地址资源信息的校验 (10)3.2.1乡镇/街道 (10)3.2.2路、巷、行政村 (10)3.2.3小区、学校、自然村 (10)3.2.4楼 (11)3.2.5单元 (11)3.2.6层 (11)3.2.7房号 (11)3.4业务开通过程中网络资源数据变更管理 (11)3.5维护过程中网络资源数据变更管理 (12)3.6资源的应用消费场景 (12)四、家客业务的开通流程 (13)4.1新装机流程 (13)4.1.1业务受理 (16)4.1.2资源分配 (17)4.1.3自动激活流程 (17)4.1.4工单调度 (19)4.1.5工单施工 (20)4.1.6装维回单 (21)4.1.7工单回访 (21)4.1.8工单归档 (22)4.1.9异常情况退单 (22)4.2拆机流程 (22)4.2.1业务受理 (25)4.2.2资源去激活 (25)4.2.3现场施工 (25)4.2.4资源释放 (26)4.2.5工单归档 (26)4.3移机流程 (26)4.4业务叠加流程 (27)4.4.1业务受理 (30)4.4.2数据端口配置 (31)4.4.3工单调度 (31)4.4.4工单施工 (31)4.4.5装维回单 (31)4.4.6工单回访 (31)4.4.7工单归档 (31)4.5流程表单 (32)前言家庭宽带是公司实施“大连接”战略的关键战略控制点,是全业务发展不可或缺的战略资源和收入增长的引擎,是拓展数字化服务的重要入口,对于落实国家“网络强国”战略、实现公司2020发展目标具有战略意义。
密级机密中国移动-TDD-LTE一体化皮基站操作指导手册(ENB-35,A07型)文件编号:编制:余小劲审核:徐拾京信通信系统(中国)有限公司2017 年 8月密级机密文件历史记录文件编号文件标题中国移动-TDD-LTE一体化皮基站操作指导手册(ENB-35,A07型)适用ERP码610005-000024-0000文件履历版本编制日期更改内容(条款)适用软件版本V1 余小劲2015.5 首发V2 李明2015.6 增加GPS安装,内容优化V3 杨德明2015.7 更新web参数页面、新增功能和常见问题添加;内容优化ENB35_A0ALV08.13.14.02V4 王海明2015.10 更新web参数页面、新增服务网站和用户管理功能;内容优化ENB35_A0ALV11.12.07.00V5 杨德明2016.2 取消网线安装、增加异系统操作ENB35_A0ALV11.1 2.07.00V6 杨文聪ENB35_A0ALV11.1 2.07.00CP01.33_ 52V7 张亮亮2017.8 调整结构和增加开通和优化参数ENB35_A0ALV11.1 2.07.00CP01.36- 1 -密级机密目录1适用范围说明 (1)2设备介绍 (1)2.1设备主要功能特性 (1)2.2关键性能指标 (2)2.3设备主要功能特性 (2)3设备安装 (4)3.1基站的安装流程 (4)3.2一体化皮基站安装要求 (5)3.2.1设备对外接口 (5)3.2.2设备指示灯 (5)3.2.3空间要求 (6)3.2.4工作环境条件 (6)3.2.5回传网络要求 (6)3.2.6电源要求 (8)3.2.7工具要求 (9)3.3安装步骤 (9)3.3.1主机设备安装方式 (9)3.3.2网线安装 (14)3.3.3PSE安装(可选) (14)3.4常规检查 (23)4快速开通 (23)4.1开站前准备 (23)4.1.2开站参数核对 (24)4.1.3开站工具准备 (26)4.2TD-LTE 参数配置指导 (26)4.2.1设备状态 (26)4.2.2执行设置向导 (27)4.2.3宏站与微站模式设置 (35)4.2.4邻区参数配置 (36)4.2.5时间服务器 (39)4.2.6重启基站 (39)5常用优化参数设置 (40)5.1重选控制参数 (40)5.1.1LTE重选公共参数 (40)5.1.2LTE同频重选参数 (41)5.1.3LTE异频重选参数 (42)5.2切换控制参数 (43)5.2.1同频切换设置 (43)5.2.2异频切换设置 (44)5.2.3异系统切换设置 (48)5.3参考功率 (50)5.4帧头定时偏移 (50)5.5X2组网IP配置参数 (51)5.6PRACH参数优化 (52)5.7流量整形参数 (52)5.8射频开关 (53)5.9命令模式 (53)5.10网络诊断 (54)6设备维护操作 (54)6.1版本升级 (54)6.2日志下载 (55)6.3告警查看 (55)6.3.1当前告警 (55)6.3.2历史告警 (55)6.4查看X2/S1链路状态 (56)6.5查询基站UE状态 (56)6.6GPS搜星情况 (57)7业务验证测试 (57)8常见问题分析 (59)8.1LTE常见问题分析 (59)8.1.1传输问题 (59)8.1.2小区激活失败 (59)8.1.3同步失败问题 (60)8.1.4接入问题 (60)1适用范围说明移动通信工程传统室分建设中,往往存在建设工程量大、物业协调困难、维护成本高等难点,京信公司推出一体化皮基站暨TD-LTE一体化皮基站,其遵循3GPP标准,支持PTN、XPON等IP回传,集成基带和射频,自带MIMO双天线,设备小巧美观,采用类IT部署方式,在新型室分建设中具备“建网便捷,灵活组网,容量优势”的特点。
密级机密ENB-35,A63LTE扩展型皮基站开通指导编制:刘统华审核:京信通信系统(中国)有限公司2018年8月密级机密文件历史记录文件编号文件标题ENB-35,A63LTE扩展型皮基站开通指导文件履历版本编制日期更改内容(条款)适用软件版本V1.0 刘统华2018-08-30 编写2018集采扩展型皮基站开通指导通用密级机密目录1概述 (1)2开通流程 (2)3站点开通 (2)3.1开站前准备 (2)3.1.1开站参数核对 (2)3.1.2PCI规划 (3)3.1.2.1PCI介绍 (3)3.1.2.2PCI规划原则 (3)3.1.2.33案例说明 (4)3.1.3开站工具准备 (6)3.2设置本地电脑IP (6)3.3LTE AU参数配置 (7)3.3.1组网模式选择配置 (7)3.3.1.1单LTE AU组网 (7)3.3.1.2LTE AU扩容组网 (9)3.3.2执行设置向导 (12)3.3.2.1引导界面 (12)3.3.2.2本地网络设置 (13)3.3.2.3安全网关设置 (16)3.3.2.4网管参数设置 (17)3.3.2.5SON参数及同步方式设置 (17)3.3.2.6EPC参数设置 (18)3.3.2.7MME POOL配置参数 (18)3.3.2.8小区基本参数设置 (19)3.3.2.9基站PLMN列表参数 (20)3.3.2.10保存重启 (20)3.3.3Celldentity及宏微模式设置 (21)3.3.4MME负载均衡开关参数 (21)3.3.5邻区参数配置 (22)3.3.5.1LTE邻小区 (22)3.3.5.2GSM邻区 (22)3.3.6时间服务器 (23)3.3.7系统复位 (24)3.3.8设备状态查询 (24)3.3.8.1LTE主AU状态信息 (24)3.3.8.2EU状态 (25)3.3.8.3CP(EU)直属DP状态 (25)4设备日常维护操作 (26)4.1GPS搜星情况 (26)4.2版本升级 (26)4.2.1DP升级 (26)4.2.1.1LTE AU侧升级DP (26)4.2.1.2CP侧升级DP (27)4.2.2EU升级 (27)4.2.2.1LTE AU侧升级EU (27)4.2.2.2本地升级EU (27)4.2.3LTE AU本地升级 (28)4.3日志下载 (28)4.4设备告警查看 (28)4.4.1LTE基站告警信息 (28)4.4.2EU告警信息 (29)4.4.3DP告警信息 (29)ENB-35,A63LTE扩展型皮基站开通指导1概述移动通信工程传统室分建设中,往往存在建设工程量大、物业协调困难、维护成本高等难点。
移动信号申请报告第一篇:移动信号申请报告篇一:移动通信报告移动通信题目:中国移动、联通、电信的学院:信息工程与自动化学院专业:学号:姓名: 4g网络比较时间:2014年6月5日中国移动、联通、电信的4g网络比较摘要:在移动通信领域,每20年就发生一次革命性的变化,如今,移动通信技术从第一代演进到现今的第四代,移动通信已然成为当代通信领域发展潜力最大、市场前景最广的热点技术。
本文首先讨论了3g及4g 的核心技术,并分别对3g和4g的核心技术进行了比较分析。
在4g 的叙述中,首先简述了4g的特点,分析讨论了4g 通信系统的技术目标及关键技术的发展现状,然后对三家运营商的4g技术进行了比较。
关键词: 4g;关键技术;运营商;比较1、前言中国4g标准td-lte的发展恰逢全球移动互联网全面兴起之时,实现了与国际4g技术的同步发展,使我国的通信事业第一次与欧美发达国家站在同一起跑线上竞争。
同时,中国的4g技术td-lte是以td-scdma演进而来。
代表了中国通信事业自改革开放三十多年的创新成果,我国通信产业从“吸收引进”、“模仿消化”到“自主研发”一步步走来不断发展壮大。
体现了国家科技创新战略的正确性和前瞻性。
我国凭借3g通信的商用经验和建设基础,具备了引领中国自主4g产业发展的能力。
中国自主4g技术得到了世界认可,代表了中国自主创新能力的国际竞争力[1]。
2、3g标准: 3g标准分别是wcdma(欧洲版)、cdma2000(美国版)和td-scdma(中国版)以及2007年10月19日,在国际电信联盟在日内瓦举行的无线通信全体会议上,经过多数国家投票通过,被正式被批准成为继wcdma、cdma2000和td-scdma之后的第四个全球3g标准的wimax。
[2]上图为三大运营商的3g网比较 3、4g标准4g 目前提交的4g标准共有6个技术提案,分别来自北美标准化组织ieee 的802.16m、日本(两项分别基于lte-a和802.16m)、3gpp的lte-a、韩国(基于802.16m)和中国(td-lte-advanced,这一标准有td-lte和fdd-lte两种通讯模式)、欧洲标准化组织3gpp (lte-a)。
目录1概述 (1)2开通流程 (2)3站点开通 (2)3.1开站前准备 (2)3.1.1开站参数核对 (2)3.1.2PCI规划 (3)3.1.2.1PCI介绍 (3)3.1.2.2PCI规划原则 (3)3.1.2.33案例说明 (4)3.1.3开站工具准备 (6)3.2设置本地电脑IP (6)3.3LTE AU参数配置 (7)3.3.1组网模式选择配置 (7)3.3.1.1单LTE AU组网 (7)3.3.1.2LTE AU扩容组网 (9)3.3.2执行设置向导 (12)3.3.2.1引导界面 (12)3.3.2.2本地网络设置 (13)3.3.2.3安全网关设置 (16)3.3.2.4网管参数设置 (17)3.3.2.5SON参数及同步方式设置 (17)3.3.2.6EPC参数设置 (18)3.3.2.7MME POOL配置参数 (18)3.3.2.8小区基本参数设置 (19)3.3.2.9基站PLMN列表参数 (20)3.3.2.10保存重启 (20)3.3.3Celldentity及宏微模式设置 (21)3.3.4MME负载均衡开关参数 (21)3.3.5邻区参数配置 (22)3.3.5.1LTE邻小区 (22)3.3.5.2GSM邻区 (22)3.3.6时间服务器 (23)3.3.7系统复位 (24)3.3.8设备状态查询 (24)3.3.8.1LTE主AU状态信息 (24)3.3.8.2EU状态 (25)3.3.8.3CP(EU)直属DP状态 (25)4设备日常维护操作 (26)4.1GPS搜星情况 (26)4.2版本升级 (26)4.2.1DP升级 (26)4.2.1.1LTE AU侧升级DP (26)4.2.1.2CP侧升级DP (27)4.2.2EU升级 (27)4.2.2.1LTE AU侧升级EU (27)4.2.2.2本地升级EU (27)4.2.3LTE AU本地升级 (28)4.3日志下载 (28)4.4设备告警查看 (28)4.4.1LTE基站告警信息 (28)4.4.2EU告警信息 (29)4.4.3DP告警信息 (29)ENB-35,A63LTE扩展型皮基站开通指导1概述移动通信工程传统室分建设中,往往存在建设工程量大、物业协调困难、维护成本高等难点。
办理宽带请示尊敬的领导:随着信息化时代的到来,网络已经成为我们日常生活和工作不可或缺的一部分。
为了满足广大员工日益增长的网络需求,提高工作效率,我部门经过市场调研和设备选型,拟为全体员工办理宽带服务。
特此向领导提出申请。
一、背景与现状目前,我部门已有部分员工自行购买了宽带设备,自行搭建了网络环境。
然而,由于设备质量参差不齐、网络环境不稳定等因素,导致网络速度慢、故障频发等问题,严重影响了员工的工作效率和心情。
同时,由于缺乏统一的网络管理,网络安全性也无法得到保障。
二、目的与意义为了解决上述问题,提高员工的工作效率和满意度,我部门计划为全体员工办理宽带服务。
通过统一购买专业宽带设备,建立稳定的网络环境,不仅可以提高网络速度和稳定性,还可以加强网络安全性,减少网络攻击和病毒入侵的风险。
此外,宽带服务还可以为员工提供更多的网络资源和应用,满足员工在工作中的各种需求。
三、预算与资源安排为确保宽带服务的顺利实施,我部门已经制定了详细的预算和资源安排。
预计需要宽带设备费用、安装费用、维护费用等共计XX元。
我们将根据员工的数量和设备需求进行合理分配,确保资源的有效利用。
同时,我们也将建立专门的维护团队,定期对设备进行检查和维修,确保网络环境的稳定性和安全性。
四、实施计划与时间表实施宽带服务需要一定的时间和技术支持。
我们制定了以下实施计划和时间表:1. 市场调研和设备选型:XX月中旬完成设备选型和预算制定;2. 设备采购和安装:XX月下旬开始进行设备采购和安装工作;3. 员工培训和设备调试:XX月下旬完成设备安装和调试工作,并进行员工培训;4. 正式上线:XX月初开始正式使用宽带服务。
五、责任分工与风险控制为确保宽带服务的顺利实施,我部门将明确责任分工和时间节点。
具体分工如下:部门经理负责统筹安排和协调工作,设备采购和安装由信息技术人员负责,员工培训和设备调试由网络管理员负责。
同时,我们将密切关注实施过程中的问题和风险,及时调整计划和解决问题。
小区信号覆盖申请书无线局域网(WLAN)采用成熟的以太网技术,将无线通信从移动通信简化出来,绕过高速数据通信在高速移动和跨区穿越等 3G 技术屏障,优先解决用户无线宽带接入的需求。
【一】小区无线覆盖方案无线网络介绍无线局域网发展现状无线网络发展到今天,已经拓展了很大的市场空间,发展非常迅速,在欧美,甚至韩国和日本,无线网络产品已经普遍使用在办公、小区,学校,仓库,超市,医院和热点区域,在这些市场领域,移动用户在接入局域网时要求的数据传输速率在54Mbps 或更低,同时厂家开发更高速度的无线LAN 产品,以满足鼓励互连、减少开支、提供当今商务应用所必需的带宽等需求。
预计到2010 年,将有超过亿台移动设备投入使用。
在中国,市场发展同样迅速,在一些大学(北京大学、清华大学),大型企业(上海华联超市),和电信运营商(中国电信,中国移动、中国联通)都在使用无线局域网络产品。
由于无线局域网是不用购买使用牌照的无线产品,所有运营商和一般企业都可以搭建无线网络,同时又存在巨大的商业运营市场,所以电信运营商开始了一轮新的“圈地运动”,中国联通推出了“沃3G”,中国电信推出了“天翼通”,中国移动推出了“WLAN+GPRS”,而且目标宏伟,建设积极。
应用特点移动性需求:用户需要在移动中实现随时的联网,这些用户多数为手持机用户,例如无固定办公地点商务人员、临时来访人员等,他们对互联网信息的实时性要求非常高,只有准确的收集到客户信息,才能做出正确的决策或提供客户丰富而全面的产品及公司信息。
不便于进行布线的场所:需要搭建网络的地方有特殊原因不能布有线网络,所以只能选择无线网络,例如不能破坏的老建筑;新装修但没有保留布线槽的建筑,但又要讲究美观,所以只能使用无线,如一些写字楼和大教室,图书馆。
清华图书馆,每个阅览室有很多学生使用笔记本电脑,根本无法采用有线网络,因为学生是流动的,随意放置交换机是无法管理的,只能采用无线网络,图书馆采用无线上网后,学生确实感到很方便,于是使用无线的人迅速增加。
大气波导特性开通验证
1. 功能介绍
大气波导远端干扰抑制
低空大气波导效应下,电磁波如同在波导中传播一样,传播损耗很小,可以绕过地平面,实
现超视距传输。当远处eNodeB达到一定的高度时,远处eNodeB的大功率下行信号可以产生远距
离传输到达近处eNodeB。由于远距离传输时间超过上下行保护间隔,远处eNodeB的下行信号在
近处eNodeB的接收时隙被近处eNodeB收到,从而干扰了近处eNodeB的上行接收,产生远端同
频干扰,导致网络KPI下降。
eNodeB在一定周期内检测上行子帧每个PRB上的干扰噪声平均值,根据该平均值的大小,
对上行功控策略、接入信令调度策略做相应调整,并对信道估计结果进行修正,以减小大气波导
远端干扰对网络KPI的影响。
2. 开通要求与影响
依赖特性
特性ID 特性名称 依赖说明
TDLBFD-00100701 上下行子帧配置类型1和类型2 上下行子帧配比类型1和类型2支持同信
道和邻信道干扰检测与识别功能。
只有上下行子帧配比类型2支持大气波导
远端干扰抑制功能。
TDLBFD-00100302 10/20MHz载波带宽 干扰检测与抑制只支持10/20MHz载波带宽。
TDLBFD-00100401 普通循环前缀 干扰检测与抑制只支持普通循环前缀。
互斥特性
特性ID 特性名称 互斥说明
TDLAOFD-080405 带外Relay引入 TDLOFD-081217 干扰检测与抑制不适用于带
外Relay场景
TDLAOFD-00100183 Relay节点识别
TDSLOFD-0308 小区合并 同信道和邻信道干扰检测与识别功能支
持小区合并特性
大气波导远端干扰抑制功能与小区合并
特性ID 特性名称 互斥说明
特性互斥
TDLOFD-001007 高速移动性 TDLOFD-081217 干扰检测与抑制不适用于高
速场景
TDLBFD-00100301 5MHz载波带宽 干扰检测与抑制不支持5MHz载波带宽
TDLBFD-00100303 15MHz载波带宽 干扰检测与抑制不支持15MHz载波带宽
开通硬件要求
大气波导远端干扰抑制需要部署LBBPd或UBBPd,采用8T8R RRU
LICENSE要求
特性ID 特性名称 型号 License描述 网元 销售量纲
TDLOFD-081217 干扰检测与抑制 TD1SBFIRR701 干扰检测与抑制基本功能 eNodeB RRC连接用户
数
干扰检测与抑制开通影响
系统容量影响:同信道和邻信道干扰检测与识别需要在静默子帧上进行检测,5s静默1个上行
子帧,上行业务吞吐率最大损失0.2%,对无线网络KPI无影响。
网络性能影响:大气波导远端干扰抑制可以减小大气波导远端干扰对网络KPI的影响。
3. 开通背景
突发高干扰小区增多,高干扰小区占比指标考核变:(全天24小时PRB0-PRB99底噪平均
值>-110dBm的小区数/180KHz的小区数。)。选取突发高干扰集中区域站点进行大气波导新特性
的开通验证:
站点分布:(绿点代表出现突发干扰站点)
站点信息:
突发干扰.xlsx
4. 开通流程
大气波导远端干扰抑制
1. 执行MML命令MOD CELLALGOSWITCH,“规避干扰开关”选择
“UlInterfSuppressionSwitch(上行干扰抑制开关)”。
MOD
CELLALGOSWITCH:LocalCellId=xxx,AvoidInterfSwitch=UlInterfSuppressionSwitch-1;
2. 执行MML命令MOD ULINTERFSUPPRESSCFG,设置相关参数。
MOD ULINTERFSUPPRESSCFG:LocalCellId=xxx,StrongInfUserThdRatio=300,
RemoteInfULEnhanceSw=RMT_INF_PUSCH_ENH_SW-1;
5. 开通后评估
干扰指标:
KPI指标:
低速率:
脚本:
HU-20161207-7407_
清单.csv