航站楼应急电源设计方案 石磊
- 格式:pdf
- 大小:306.34 KB
- 文档页数:2
《高层建筑紧急照明系统施工方案》一、项目背景随着城市化进程的不断推进,高层建筑如雨后春笋般涌现。
在高层建筑中,紧急照明系统的重要性不言而喻。
它在紧急情况下为人员疏散和消防救援提供必要的照明,确保人员的生命安全。
本施工方案旨在为高层建筑紧急照明系统的施工提供详细的指导,确保系统的可靠性、有效性和合规性。
二、设备选型1. 应急灯具- 应急照明灯具应选用符合国家标准的产品,具备高亮度、长寿命、低能耗等特点。
- 灯具的外壳应采用阻燃材料,具有良好的防护性能,能在恶劣环境下正常工作。
- 应急照明灯具应具备自动充电功能,在正常供电中断时,能迅速切换到应急状态,提供持续的照明。
- 灯具的安装方式应根据不同的场所和需求进行选择,如壁挂式、吊装式、嵌入式等。
2. 应急电源- 应急电源应选用可靠性高、转换时间短的产品,如 EPS (应急电源装置)或 UPS(不间断电源)。
- EPS 或 UPS 的容量应根据建筑物的规模、应急照明灯具的数量和功率等因素进行计算确定,确保在紧急情况下能为所有应急照明灯具提供足够的电力。
- 应急电源应具备自动切换功能,在正常供电中断时,能迅速切换到应急状态,为应急照明系统提供电力。
- 应急电源的安装位置应便于维护和管理,同时应考虑防水、防潮、通风等因素。
3. 控制器- 紧急照明系统应配备控制器,实现对系统的集中控制和管理。
- 控制器应具备自动检测、故障报警、远程监控等功能,确保系统的正常运行。
- 控制器的安装位置应便于操作和维护,同时应考虑防水、防潮、防尘等因素。
三、布局设计1. 疏散通道- 在疏散通道内应设置应急照明灯具,确保人员在疏散过程中有足够的照明。
- 应急照明灯具的安装高度应符合国家标准,一般为距地面 2.5 米左右。
- 疏散通道的应急照明灯具应均匀分布,间距不应大于 20 米。
2. 楼梯间- 楼梯间应设置应急照明灯具,确保人员在上下楼梯过程中有足够的照明。
- 应急照明灯具的安装位置应在楼梯踏步上方,距地面高度为 2.2 米左右。
机场消防工程临电方案机场消防工程临电方案一、项目名称:机场消防工程临电方案二、项目概述:机场消防工程临电方案是针对机场消防工程电气设备的维护保养,以及保障机场航班安全的一项重要措施。
本方案将对机场消防工程用电设备进行清单明细,确定使用电源以及电源调度方式,并对电力设施的维护保养进行计划排期,保证机场消防设备的正常运行,提升机场消防安全水平。
三、项目内容:1.电气设备清单明细,包括用电设备品牌、型号、功率等详细信息。
2.确定机场消防工程用电设备的供电方式,采用双路供电,一路为市电,一路为发电机组备用电源。
3.电源调度,市电掉电时自动切换至发电机组备用电源,保证机场消防设备24小时不间断工作。
4.电力设施维护保养计划,每月对电气设备进行全面检查维护,定期更换老化损坏设备,避免出现意外事故。
5.应急电源设置方案,对发电机组的布置位置、运行参数进行规划,并制定应急预案,保证机场消防设备在紧急情况下正常运行。
四、项目实施:1.电气设备清单明细,由专业电气工程师进行核实,设备情况清单需要齐全、详细。
2.确定机场消防工程用电设备的供电方式,由机场电气设施主管部门制定供电方案,并组织专业师傅实施方案。
3.电源调度,由机场电气设施主管部门编制,运行方式需要符合国家电力安全标准。
4.电力设施维护保养计划,由设备维护单位制定,全面做好设备的维修、保养及更换工作。
5.应急电源设置方案,由专业师傅进行布置设置,并与机场消防部门达成紧急情况下的应急预案。
五、项目效果:1. 对机场消防设备的稳定运行和电气设备的维护保养起到了关键性的作用,提高了机场消防工程的安全性和运行效率。
2. 确立了机场消防工程用电设备供电方式及电源调度的具体方案,保证机场消防设备相应标准的使用,降低了机场消防设备出现意外事故的概率。
3. 通过明确的电力设施维护保养计划,全面做好设备的维修及更换工作,保障了机场消防设备的正常使用,减少了故障发生的频率,降低了机场事故的风险。
一、方案背景为确保在突发情况下,关键设施和人员生命财产安全得到有效保障,提高应对突发事件的能力,根据国家相关法律法规和行业标准,结合本单位的实际情况,特制定本应急电源专项方案。
二、方案目标1. 确保在电力系统故障、自然灾害等突发事件发生时,关键设施和人员生命财产安全得到有效保障。
2. 提高应急电源系统的可靠性、稳定性和适应性,满足不同场景下的应急需求。
3. 降低能源消耗,提高能源利用效率,减少对环境的影响。
三、方案内容1. 应急电源系统配置(1)根据本单位实际情况,合理配置应急电源系统,包括发电机组、储能系统、配电系统等。
(2)发电机组:选用性能稳定、环保节能的发电机组,如燃气发电机组、柴油发电机组等。
(3)储能系统:选用高效、长寿命的储能系统,如锂电池、铅酸电池等。
(4)配电系统:采用高效、可靠的配电系统,确保电力供应稳定。
2. 应急电源系统运行与管理(1)制定应急电源系统运行管理制度,明确运行、维护、检修等环节的责任人和操作流程。
(2)定期对应急电源系统进行检查、试验,确保系统运行正常。
(3)建立应急电源系统故障处理预案,提高故障处理效率。
3. 应急电源系统培训与演练(1)对相关人员进行应急电源系统操作、维护、故障处理等方面的培训。
(2)定期组织应急电源系统演练,提高应急处置能力。
4. 应急电源系统节能与环保(1)选用环保型发电机组,减少废气排放。
(2)优化储能系统设计,提高能源利用效率。
(3)采用智能化管理系统,降低能源消耗。
四、方案实施与监督1. 成立应急电源系统实施小组,负责方案的制定、实施、监督等工作。
2. 制定实施计划,明确各阶段任务、时间节点和责任人。
3. 加强监督,确保方案实施到位,达到预期目标。
五、方案总结与评估1. 定期对应急电源系统进行总结,分析运行情况、存在问题及改进措施。
2. 对方案实施效果进行评估,总结经验,为今后应急电源系统建设提供参考。
本方案旨在提高本单位应对突发事件的能力,确保关键设施和人员生命财产安全。
机场应急救援指挥车供电系统设计张积洪;江晓;孙孝舰【摘要】机场应急救援指挥车是民用运输机场发生紧急突发事件时的现场指挥中心,担负着现场指挥平台,并将事发现场第一手资料实时传送到机场指挥中心和地方应急救援管理办公室的重要任务.指挥车上载有自动化办公设备、视频会议设备、无线高清视频传输设备、照明系统、警示系统、安保系统以及广播系统等,要保证以上众多电气系统可靠高效地发挥作用,就必须有一个可靠的供电系统来为各种电气设备提供源源不断的电力,本文详细介绍了一种大型机场应急救援指挥车的供电系统方案,可以为整个指挥车提供稳定可靠的电力.【期刊名称】《科技和产业》【年(卷),期】2013(013)005【总页数】3页(P141-143)【关键词】机场;指挥车;供电系统;UPS【作者】张积洪;江晓;孙孝舰【作者单位】中国民航大学,天津300300;中国民航大学,天津300300;牟平区文化一中,山东烟台264100【正文语种】中文【中图分类】TM73民航总局第208号令(民用运输机场突发事件应急救援管理规则)规定,以跑道中心为圆心,周围8公里的范围为机场及其邻近区域,也就是机场责任区域。
当民用机场发生突发紧急事件时,应急救援指挥车必须在3分钟内达到事发现场,成立现场指挥中心,并派出单兵拍摄人员,将事件现场实际情况的高清视频通过单兵发射机传回指挥车,供车内救援专家分析与决策。
指挥车上需配备微波收发设备、视频会议系统、计算机、激光一体机、集群对讲系统、监控及安保警示系统、局域网设备以及照明系统等,传统车载供电方案都采用大功率柴油或者取力发电机配合铅酸蓄电池组组成供电系统,由于发电机和蓄电池组功率不匹配不仅造成了能源的浪费,而且对蓄电池的寿命有极大损害。
并且传统的供电方案缺少专门的蓄电池组维护和管理监控功能,造成了蓄电池的维护困难。
长时间不使用蓄电池组供电,则造成蓄电池的虚电,这对于应急救援指挥车来说是一个极大的隐患。
防空地下室应急电源设计摘要:文章通过对防空地下室工程战时供电要求、防空地下室应急电源分类、内部应急电源及柴油发电站的设计要求等方面的分析,简要说明了防空地下室电气设计的一些特点。
关键词:防空地下室;应急电源;电气设计目前我国正处于经济建设高速发展期,随着城市化进程的不断深入,各地建设规模日新月异。
即使是在和平环境下,仍然不能放松对战争的警惕,为积极应对未来可能出现的战争局面,最大限度的保证人民生命和财产安全,我国制定了《中华人民共和国人防法》,结合城市建设修建人民防空地下室工程成为我国长期坚持的一项重要国策。
人民防空地下室工程,是指新建、改建的甲、乙类防空地下室工程,以及结合民用建筑附建或者易地单建的掘开式人防工程。
防空地下室的战时使用功能,主要在城市受到攻击时为留城人员提供掩蔽的场所,另有一些是作为物质储备、医疗救护等相关的辅助配套设施。
现代战争的特点,是在核武器威胁下的以高技术兵器为主的常规战争,对重点目标精确打击是现代战争极为常见的攻击手段。
城市地面电站作为重点目标,往往都是敌方首先打击的对象。
防空地下室作为保护战时留城人员、车辆、及物资安全的重要场所,要想在失去市电电源时仍能够正常发挥功能,设置高效可靠的应急电源是非常必要的保障措施。
一、防空地下室战时供电要求防空地下室内的战时用电设备,绝大部分是为了满足防护功能和人员基本生存需要而设置的,如果失去电力无法工作,在遇到攻击时地下室的防护、防化功能将直接受到影响,甚至可能危及到内部掩蔽人员的生命安全。
因此,人防设备供电负荷等级普遍较高,多为一、二级负荷,对于供电系统可靠性的要求也更高,需要以防护单元为对象采用双电源供电模式。
二、防空地下室应急电源分类简单的说,战时应急电源就是其自身具有一定的防护措施,能够抵相应级别的冲击波、核辐射、电磁脉冲以及生化武器侵袭,在遇到攻击时仍可以保障供电的电源设备,应急电源的防护等级,不得低于其供电对象的最高防护等级要求。
Design of high-reliability emergency power supply of large airport buildings and the practice 作者: 冯兴学 龙礼文
作者机构: 不详
出版物刊名: 民航管理
页码: 102-104页
主题词: 大型建筑 机场 实践 设计 电源 国民经济建设 可靠性要求 建筑规模
摘要:随着国民经济建设的发展,机场各种建筑规模越来越大,航站楼、旅客过夜用房、机场当局办公楼、航空公司写字楼等均向大型化方向发展,这些建筑与普通建筑相比有其自身的功能特点和建筑特色。
在安全要求日益提高的今天,机场的建筑供电可靠性要求也在不断提高。
超高层建筑应急电源供配电系统设计摘要:本文主要针对超高层建筑应急电源供配电系统的设计展开了探讨,对应急电源系统作了详细的阐述,并系统分析了超高层建筑应急电源供配电系统的设计,以期能为有关方面的需要提供有益的参考和借鉴。
关键词:超高层建筑;应急电源;设计0 引言所谓的应急电源,是在建筑物发生火情或其他紧急情况下,对疏散照明或其他消防、紧急状态急需的各种用电设备供电的电源。
对于超高层建筑来说,由于对供电的可靠性有着高要求,特别是在复杂情况发生的背景下,对应急电源有着十分迫切的需要。
因此,对应急电源系统的设计也就亟需高度重视。
基于此,本文就超高层建筑应急电源供配电系统的设计进行了探讨,相信对有关方面的需要能有一定的帮助。
1 应急电源系统应急电源系统是为确保正常市电供电全部失效或部分失效而提供的应急电源,是重要应急设备的应急供电。
因此,应急电源系统应确保其自身的可靠性,这需要平时重点加强维护,设备和线路应具有独立性,非重要应急设备不应接入应急电源系统,以防止非应急设备影响应急电源系统的可靠性。
超高层建筑应急电源系统应满足以下要求:(1)应急电源设备自身的性能可靠。
(2)应急电源系统的可靠性高。
(3)需要考虑关键设备和线路的冗余。
(4)投切时间满足消防和设备允许中断供电的时间要求。
(5)正常供电和应急电源监控系统可靠、完善。
(6)应急电源系统应具有独立性,便于加强维护。
超高层建筑的应急电源通常由应急柴油发电机组和不间断电源(UPS和EPS)组合而成,应急柴油发电机组适合大容量、允许停电时间>15s的应急电源设备。
对于允许停电时间<0.5s的应急电源设备,则采用UPS;对于允许停电时间<5.0s的应急电源设备,则采用UPS或EPS。
因此,为了确保允许停电时间<15s,应急电源设备应是应急柴油发电机组和不间断电源的组合。
超高层建筑中有大量特别重要负荷等保障性负荷,因此应将柴油发电机组作为大容量的应急电源。
通常采用0.4kV(低压)和10kV(高压)的柴油发电机组,当传输距离满足电压质量要求时,应当采用0.4kV发电机组;当传输距离不能满足电压质量要求时,则采用电压等级为10kV的柴油发电机组。
目录1、工程概况---------------------------------- 22、电源安装---------------------------------- 23、用电规划---------------------------------- 54、供电防火要求------------------------------- 65、线路的敷设及配电箱设置要求------------------- 76、用电技术措施-------------------------------71、工程概况本工程为同仁凤凰机场配套用房工程,建设地点,贵州省铜仁地区同仁凤凰机场南面。
建筑包括:消防救援综合楼,2F H=9.5m 建筑面积2152.2m2;货运仓库,1F H=4.8m 建筑面积237.6m2;职工生活用房,2F H=6.9m 建筑面积1614.2m2;机场办公综合楼,2F H=6.9m 建筑面积1363m2;结构型式为框架结构,建筑总面积5367平方米。
2、电源安装电源由现场总电源直接接入,设置一级总配电箱,照明和动力用电分开。
采用TN-S三相五线制配电系统,按照施工现场用电规范,实行三级控制二级保护,一级总配电箱控制全现场的用电,二级分配电箱控制各支路机具设备用电。
所有用电机具实行一箱一漏一机一闸安全用电。
分配电箱及开关箱必须设置漏电保护器。
根据本工程施工特点,可分为三阶段施工,第一阶段施工用电设备总功率183.3KW(施工范围A~K轴)。
第二阶段施工用电设备功率为503.3KW(施工范围L~U轴)。
第三阶段施工用电设备总功率为218.3KW(施工范围V~E轴)。
施工用电也分三段描述:2.1第一阶段:A~K轴施工用电设备、功率汇总表如下表:一段施工用电设备、功率汇总表序号机械名称数量(台)功率(KW)1 闪光对焊机 1 302 钢筋调直机 1 3.53 钢筋弯曲机 1 3.54 钢筋切割机 1 2.25 钢筋切断机 1 3.56 电焊机 5 207 插入式振动泵 3 1.18 平板振动器 2 2.29 潜水泵 2 25.210 照明、办公零星用电30∑总=203.8 总功率∑总=203.8;功率因素:COS∮=0.7(有自动功率因素补偿装置);需用系数:K X=0.4;根据以上数据计算如下:有功功率:P JS=K X*∑总=0.4*203.8=81.52(KW)根据COS∮=0.7计算得tg∮=1.021* tg∮=81.52*1.021≈83.23(KV AR)计算无功功率Q JS=PJS计算视在功率S JS=√P JS2+Q JS2=√81.522+83.232≈116.5(KV A)供电总电流I=S JS/√3*U=116.5/(1.732*0.4)≈168.84(A)按铝芯线4A/mm2计算进线截面积:169A/4A/mm2≈43mm 选用大于43mm2的导线作进线。
应急电源设备建设工程施工设计方案1. 背景应急电源设备建设工程是为了满足特定场所或设施在紧急情况下电力供应的需求而进行的工程建设。
该方案旨在提供施工设计方案,确保应急电源设备能够可靠、高效地运行。
2. 设计原则在制定应急电源设备建设工程施工设计方案时,我们遵循以下原则:1. 可靠性:设计应充分考虑设备的可靠性和稳定性,确保在紧急情况下能够正常运行并提供所需的电力供应。
2. 高效性:设计应优化设备的能效,合理利用能源资源,提高能源利用效率。
3. 安全性:设计应符合相关的安全标准和规范,确保设备运行过程中不会出现安全问题。
4. 可维护性:设计应考虑设备的维护和保养需求,便于日常维护工作和故障排除。
3. 施工过程应急电源设备建设工程的施工过程包括以下步骤:1. 方案制定阶段:根据需求和实际情况,制定应急电源设备建设的方案,并进行评审和修改。
2. 设备选型阶段:根据方案要求,选择适合的应急电源设备,并进行技术评估和筛选。
3. 施工准备阶段:制定详细的施工计划,包括材料采购、设备安装和测试等。
4. 施工实施阶段:按照施工计划进行设备安装和调试,确保设备的正确运行。
5. 验收与交付阶段:对已完成的工程进行验收,确保设备符合设计要求,并进行最终交付。
4. 技术要求应急电源设备建设工程的施工设计应满足以下技术要求:1. 设备选型应符合相关标准和规范,具有适当的容量和功率。
2. 设备应具备自动切换功能,在电力中断时能够自动切换至应急电源供电。
3. 设备应具备监控和报警功能,能够实时监测设备运行状态并及时报警。
4. 设备的接地和绝缘应符合国家电气安全标准,确保设备安全运行。
5. 风险评估在施工设计过程中,应进行风险评估,识别并评估可能存在的安全和环境风险,并采取相应措施进行风险管控。
6. 工期和预算根据施工计划和项目需求,制定合理的工期和预算,确保项目按时完成。
7. 项目管理项目应进行有效的管理和监督,包括施工进度、质量检查和安全管理等。
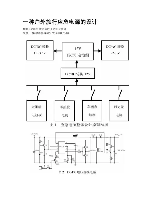
一种户外旅行应急电源的设计作者:林丽萍骆婷王吟舟方华孙祥琨来源:《科学导报·学术》2020年第53期【摘要】提出了在户外能够容易实现的采用多种源输入应急电源设计方案,用户可以根据户外现场条件,灵活选择手摇发电机、风力发电、太阳能电池板或车载蓄电池,经过DCDC 变换获得DC5V电源,通过DCAC逆变,获得AC220V电源,供在户外旅行时的电子产品应急充电、照明以及交流应急供电等功能。
【关键词】应急电源、DC/DC变换、逆变引言根据发改综合[2020]1565号文件《关于印发近期扩内需促消费的工作方案》的通知要求[1],14部委联合发布了户外旅行应急物资储备建议清单,其中将应急电源列为必备物资之一。
目前市场上多数便携电源,存在发电方式单一,受环境条件制约等不足。
如在我国青海、甘肃、西藏使用广泛的家庭太阳能电源,严重受制于气候条件,恶劣天气或照度不好时发电量会下降很多[2]。
采用手摇发电机或者脚踏发电机发电可以满足短时间小容量供电要求,长时间供电则取决于体力因素。
鉴于此,本文设计一种多源输入选择型的家用应急电源设备[2-3],用户可以根据自身及现场环境条件自主选择发电方式,实现的小容量电能储存和交直流供电功能。
1设计思路及基本方案整体方案设计如图1所示。
户外旅行环境,能够取得的能源主要是太阳能、风力、水流、人力还有驾驶车辆自身的电力。
输出主要考虑USB 5V输出和交流220V输出,因此使用时根据环境条件,选择合适的来源,徒步时当阳光照度好的时候,采用太阳能电池板发电,阴天选择手摇发电机发电或者风力发电,驾驶车辆时也可采用车辆点烟器给应急电源供电。
选择采用18650电池组构成12V蓄能单元,通过DC/DC转换,获得5V直流和12V直流,分别供USB接口输出和逆变器输入。
通过ACDC逆变获得AC220V交流,提供220V交流应急使用。
2 主要发电(供电)设备简介(1)太阳能电池板:采用单晶硅薄膜太阳能板,输出电压15V,最大功率100W。
航站楼应急照明系统的设计与研究发布时间:2021-07-23T09:29:48.616Z 来源:《福光技术》2021年6期作者:周艳[导读] 近年来,通用航空市场规模呈上升趋势,各地加快民航通航产业建设。
中航长沙设计研究院有限公司湖南长沙 410014摘要:针对航站楼项目,结合公共建筑应急照明系统的设计要求,对航站楼应急照明系统设计进行研究与探讨,使得消防应急照明系统设计更加经济、安全、合理。
关键词:航站楼;应急照明;设计1引言近年来,通用航空市场规模呈上升趋势,各地加快民航通航产业建设。
机场、航站楼等项目的建设不再囿于中心城市,呈区块化、区链化发展。
航站楼此类公共建筑有着单层防火分区多、空间大、疏散路线复杂、人员密集等特点。
若发生火灾,容易因为疏散不及时而造成重大人员伤亡。
因此,应急照明系统设计对此类建筑尤为重要。
2应急照明系统的组成应急照明是正常状态下因正常照明电源的失效而启用的照明,或在火灾等紧急状态下按预设逻辑和时序所启用的照明。
应急照明分为疏散照明、安全照明和备用照明。
安全照明主要是确保处于潜在危险中的人员安全,在航站楼的应急照明系统中一般考虑疏散照明和备用照明的设计。
2.1疏散照明疏散照明是用于确保疏散通道被有效辨识和使用的应急照明,由疏散照明灯和疏散标志灯组成。
疏散标志灯包括了出口标识、方向标识、楼层标识等。
消防应急照明和疏散指示系统按消防应急灯具的控制方式可以分为集中控制型系统和非集中控制型系统。
2.2备用照明备用照明是用于确保正常活动继续或暂时继续进行而使用的应急照明。
备用照明分为消防备用照明和重要场所非消防备用照明。
3航站楼应急照明系统设计应急照明系统按系统形式一般可分为:自带电源集中控制型、自带电源非集中控制型、集中电源集中控制型和非集中电源非集中控制型。
航站楼项目的应急照明系统设计一般采用集中控制型系统。
3.1供电电源航站楼应急照明系统的供电采用双电源供电,应保证供电的可靠性,主供电源采用市政电源,备供电源可以是市政电源、也可以是柴油发电机组或蓄电池电源。
航站楼应急电源方案设计
龙礼文
【期刊名称】《供用电》
【年(卷),期】2006(23)5
【摘要】根据消防法规规定在大型建筑物或是重要的建筑物中,必须配有消防设施,并且为这些消防设备配置应急电源.结合广州航站楼的工程实例,讨论了各种应急电源的特点,以及对大面积和大容量应急电源的组织方案,重点讨论了如何合理有效地配置柴油发电机组作为应急电源的优化方案.
【总页数】3页(P74-76)
【作者】龙礼文
【作者单位】广州白云国际机场扩建工程指挥部,广东,广州,510470
【正文语种】中文
【中图分类】TM91
【相关文献】
1.关于民用机场航站楼投标方案设计工作组织方式的探索与思考 [J], 李杨
2.成都双流国际机场T2航站楼节能方案设计 [J], 简斌;高庆龙
3.成都双流国际机场T2航站楼节能方案设计 [J], 简斌;高庆龙;
4.泰国素万那普机场航站楼多种工具式支撑模板体系的施工方案设计 [J], 封锐; 鄢全科; 贾红学; 张双龙; 李进平
5.模块化建筑设计探析——以乔莫肯雅塔国际机场临时旅客航站楼方案设计为例[J], 黄晓冬
因版权原因,仅展示原文概要,查看原文内容请购买。
简谈航站楼消防应急照明设计
魏志刚;田晓艳
【期刊名称】《建筑电气》
【年(卷),期】2024(43)3
【摘要】随着航空行业的迅速发展,航站楼作为航空客运的重要场所,体积越来越庞大、疏散路径越来越复杂、装修装饰要求越来越高,对消防应急照明设计的要求也越来越高。
本文结合某航站楼高大空间多的特点,探讨应急照明设计的重要性,并针对项目中的实际问题提出一些应对措施及解决方案。
【总页数】6页(P64-68)
【作者】魏志刚;田晓艳
【作者单位】中国建筑西北设计研究院有限公司;西安科技大学
【正文语种】中文
【中图分类】TU248.6
【相关文献】
1.机场航站楼消防应急照明和疏散指示系统设计要点剖析
2.住宅建筑消防应急照明设计中存在的问题及其解决办法
3.《消防应急照明及疏散指示系统技术标准》在变电站消防应急照明设计中的应用研究
4.厂房消防应急照明设计探讨
因版权原因,仅展示原文概要,查看原文内容请购买。
航站楼应急电源设计方案石磊
发表时间:2018-01-02T19:13:27.290Z 来源:《基层建设》2017年第28期作者:石磊[导读] 摘要:本文从一大型机场航站楼的工程实例着眼,结合自身工作经验,对各种应急电源的运行特点进行了梳理,并对大面积、大容量应急电源的形成方案,尤其是如何合理有效地配置发电机组进行了探讨。
中国民航机场建设集团公司 100101
摘要:本文从一大型机场航站楼的工程实例着眼,结合自身工作经验,对各种应急电源的运行特点进行了梳理,并对大面积、大容量应急电源的形成方案,尤其是如何合理有效地配置发电机组进行了探讨。
关键词:应急电源;设计方案;运行特点
随着社会的不断前进与发展,直接促进公共建筑发展迅速,比如说常见的航站楼、宾馆等较为复杂的项目。
上述提及到的建筑与其他建筑有着不一样的功能,所以其具备着较为特殊的用电需求。
1.供电电源
1.1外部电源
因航站楼的重要性、人员密度高以及其用电负荷容量大的特点,航站楼按一级负荷供电,为确保供电可靠性,其外部供电电源(即10kV市电)任意一路进线电源故障均不允许对航站楼正常使用造成影响,10kV电源通常是从不同方向的上级变电站或者不同电源进线的同一上级变电站的两段母线分别取得。
因此,设计必须明确电源要求,准确落实其数量和容量。
1.2内部电源
在较难取得独立于正常电源的第三电源的情况下,为了保证一级负荷中特别重要负荷的供电,航站楼在内部设置自备应急电源是保证供电可靠性的重要方式。
根据用电设备允许的中断供电时间,柴油发电机组、EPS电源、UPS电源都将作为应急电源使用,应用在航站楼中。
当设有柴油发电机组作为应急电源时,EPS电源、UPS电源的供电时间可取10min~15min,用来保证双路电源失电,柴油发电机组又尚未启动这一时间间隔内特别重要负荷的供电。
2.大型航站楼应急电源组织方案
2.1自容电力:在EPS电源不能或者很难进行覆盖的部分,通常状态下会使用自容式的紧急疏散灯和安全照明,对其使用的蓄电池进行自容式控制,这些设备平时依靠外接电源提供电力,并给内置的蓄电池充电,紧急情况下内置的蓄电池就自动提供电力,这种形式适用于容量比较小,允许停电时间极短的场合。
具有可靠性强,安全性能大等特点。
2.2 UPS:该形式的主要特点是含有储能装置,可以恒压恒频地不间断供电。
特别是在市电中断时,UPS 可以立即将机内电池的电能,通过逆变转换的方法向负载继续供电,以保证其正常工作不受损。
该形式在近年来使用较为广泛,UPS系统具有很强的扩展性。
在线式UPS对市电有净化效果,和静态开关配合使用,该方式能提高电源质量,在对切换时间短、电源质量要求高的负荷应用较多。
2.3 EPS:在用电正常时,经过EPS互投装置直接供电给负载,当其发生事故时,应该采用旁路开关(范围一般控制在0.3s之下),该形式可以很好的满足消防动力和应急照明的供电。
体积很小,运行基本没有噪音,管理方便,对环境的要求低。
主要会使用在消防负载如消防报警系统、应急照明、航空障碍灯等方面。
2.4柴油机组:容量较大,运行时间较长,该形式可以将网容量扩大,使得范围更加广泛。
第一种方案采用分布式的380V发电机组。
在各主楼和连廊变电站内设置独立的发电机房,各个发电机将为所在的供电分区内重要负荷提供应急电源。
这种形式技术上操作起来较为简单容易,经济上也较节约。
但是,它的不足之处是设备分散到多个地方,使运行维护变得困难,因此需要配置较多的人手,另外发电机组需要排烟、排风、油料储存等设施配套,占用的建筑面积较多。
第二种方案是采用集中式的380V发电机组,将全部的发电机集合组织到一起,经过供电网络将应急电源输送到各个重要负荷处。
使用这种形式的便捷之处是可以将全部设备的优势集合在一起,有助于后期的运行维护,占地面积很少。
缺点是受到供电半径的限制(一般为500m),在这种情况下,供电质量得不到保障。
在进行安装时需要使用多台机器,再加上较为复杂的配电形式以及电力采样等,从各个角度上来讲都是不符合现状使用发展的。
第三种方案是采用集中式的平面布置供电方式,也就是将10kV高压发电机组,依靠着集中式的形式进行布置,经过10kV电缆将电力送给到各个变电站中去,在每个变电站中经过10kV/380V的变压为重要负荷提供应急电源。
上述状况具备着下面几种优势:设备有助于管理人员进行运行维护;在使用时占据的位置相对而言比较小,而且发电机房还可以设置在其他建筑内,节省航站楼内的面积;运转起来较为快速、便捷,供电的质量较为可靠。
但是也具备着相应的缺点:需经过10kV/380V的变压过程,这就使得中间环节增加了一级。
较为典型的案例:广州白云机场的应急柴油发电机就是使用这种方式,如下图:
图1 广州航站楼柴油机组应急电源系统主结线
3.变配电系统设计
航站楼内每个10kV变配电站都是由机场中心变配电站中引出的两个独立的电源线路进行供电,正常情况下是同时供电,相互备用。
10kV供电形式会使用母联开关,可以进行自由切换。
当一路电源出现故障时,另一路电源就需要供应变配电站内所有负荷。
3.1 航站楼电力监控系统
在进行实际的监测时,通常会涉及到下面几种状态:设备数据采集模块、监管中心以及系统优化管理部分,其表现形式为综合性电力监测。
现场设备以及数据的采集器主要表现为下面几种:智能化开关、网络电力仪表、UPS、自备发电机组监控范围内的通信接口。
现场短路或者断路经过数据采集信息的形式,与系统相互连接,将真实的参数进行测量、数据收取、处理以及将智能化开关设备上的通信网进行全面的控制与上报处理。
3.2数据监测人员主要负责数据的采集与控制,经过通讯的手段进行数据的计算处理,针对实际情况进行记录、研究,将相关内容进行监测与管控,全面的将监测工作控制到位。
监测的主要形式有:显示区域平面图功能主菜单;将主接线图、断路器以及接地刀闸等的位置进行详细的掌控与研究;并根据实际时间显示自动装置运行状况图,电力变压器回路图等。
在微机保护装置发生动作时,自动发出警报并产生相应的事件记录,事故追忆、故障处理等。
3.3电缆的选择
航站楼人员密度大,一旦发生火灾,电缆燃烧释放大量有毒、有害气体,将使人员疏散变得更加困难,甚至造成更大的人身伤害。
因此,航站楼非消防负荷电缆应选择阻燃型低烟无卤或无烟无卤电缆。
对于消防负荷和消防状态下仍需工作的非消防负荷应尽量选择矿物绝缘电缆,对于支线可以选用耐火型低烟无卤或无烟无卤电缆。
国内航站楼多远离城区,因此电缆的选用还应考虑到老鼠、蚂蚁等虫咬的防治措施。
结语:
根据上述情况来看,针对较大容量、大面积的航站楼应急电源设计,专业人员应该加强对其的控制与处理,将应急电源进行合理、高效、经济的配置。
因此,需要专业人员结合实际状况,集合航站楼自身发展的形式,创造出一套适合航站楼自身发展的设计方案。
参考文献:
[1]张姗姗;王慧琪;刘志韩;薛明月;浅谈大型机场多航站楼实际操作的步骤与控制方案[J].河南智能建筑工程,2017(12-78).
[2]宋岐山;王志涵;刘璐;张瑞杰;浅谈如何将航站楼的施工控制到位与进度计划方案[J].大连企业文化,2016(90-189).。