发展党员工作程序流程图非常详细)
- 格式:docx
- 大小:12.37 KB
- 文档页数:4
发展党员工作流程图一、申请入党二、入党积极分子的确定和培养教育三、发展对象的确定和考察四、预备党员的接收五、预备党员的教育考察和转正发展党员相关文书材料:申请入党阶段:1.入党申请书;2.同申请入党人的谈话记录。
入党积极分子确定和培养阶段:1.对入党积极分子备案的报告;2.思想汇报(一般一季度一次).(确定为入党积极分子后填写《入党积极分子培养考察登记表》)发展对象确定和考察阶段:1.发展对象备案报告;2。
同意发展对象的批复;3。
自传;4.调查笔录;5。
证明材料;6。
政审报告;7。
发展对象公示。
接收预备党员阶段:1.预审请示;2。
预审意见;3.接收预备党员决议(以支部大会名义填入《入党志愿书》);4.审批预备党员请示;5。
谈话情况和入党意见(整理填入《入党志愿书》);6.党委审批意见(填入《入党志愿书》);7.预备党员备案报告(报上级党委组织部门).(基层党委预审合格后向发展对象发放《入党志愿书》并填写)(支部大会决议包括:发展对象的主要表现、应到会和实际到会有表决权的党员人数、表决结果、通过日期、支部书记签名。
)预备党员的教育、考察和转正阶段:1。
转正申请书;2。
公示;3.决议(整理填入《入党志愿书》);4.审批请示;5。
审批意见(填入《入党志愿书》).(延长预备期的决议、请示、批复或取消预备党员资格决议、请示、批复)必须放入本人档案的材料:1。
入党申请书;2.政治审查材料(结论性材料);3。
《中国共产党入党志愿书》;4.转正申请书;5.培养教育考察材料。
(包括《入党积极分子培养考察登记表》、《预备党员培养教育考察登记表》、发展对象短期集中培训合格证等)(中共xx市委组织部制)。
阶段第一阶段入党积极分子培养(1 年以上 )第二阶段确定发展对象发展党员流程图环节主要内容1.党组织向群众作宣传引导1.宣传发动2.接受先进分子申请3.一个月内指定专人同入党申请人谈话2.确定入党积极分子通过党员推荐、群团组织推优等方式产生人选,由支委会研究决定,并报上级党委备案(推荐制)1.指定 1-2 名正式党员作培养联系人3.培养 . 教育 . 考察2.积极分子每季度汇报一次思想3.党支部每半年进行一次考察,并填写《入党积极分子培养考察表》经过一年以上培养考察,在听取党小组、培养联系人和党内外群众4.列为发展对象意见的基础上,经支委会讨论同意并报上级党委备案后,列为发展对象(推荐制)5.确定入党介绍人由党组织指定两名正式党员作为入党介绍人内容:对党的理论 .和路线 .方针 .政策的态度,政治历史和在重大政治6.政治审查斗争中的表现 .遵纪守法及遵守社会公德情况直系亲属和与本人联系密切的主要社会关系的政治情况(听取本人介绍和查阅有材料后,情况清楚的可不函调)档案资料1.入党申请书(手写)2.党支部谈话记录3.党员、群团推荐会议录4.支委会确定积极分子会议记录5.支部报上级党委备案情况报告(或备案表)6.入党积极分子培养考察表7. 思想汇报材料(每季度 1 篇)8.个人自传9.党员群众征求意见座谈会会议记录10.支委会列为发展对象会议记录11.支部上报党委备案情况的报告(或备案表)12.政治审查报告(含个人、直系亲属和主要社会关系)培训时间不少于 3 天(或不少于24 个学时)主要学习党章、《关于7. 入党前集中培训13. 集中培训材料(结业证书、学习证明、结业党内政治生活的若干准则》等文件。
未经培训,除特殊情况,不能发展成绩等)8. 征求党内外群众意见党支部征求党内外群众意见(公示制)14. 发展对象公示资料阶段环节 主 要内 容档案资料1.支委会集体讨论合格后报党委预审(预审制)支委会审查会议记录2.党委根据需要听取执纪执法部门意见15.,并将审查结果以书面形式通支部向上级党委申请预审的请示9. 预审 . 填写志愿书知党支部16.17. 上级党委预审情况的反馈 3.发放《中国共产党入党志愿书》18. 入党志愿书(有组织部编号)4.未来三个月内将转岗 .离职的,一般不办理接收预备党员手续第三阶段接收预备党员第四阶段预备党员考察(1 年)1.发展对象汇报思想 .动机 .本人履历 .家庭和主要社会关系情况, 以及需向党组织说明的问题19. 支部大会接收预备党员记录(含票决统计资2.介绍人介绍发展对象的主要表现,表明意见10. 接收预备党员会议料)3.支委会报告对发展对象的审查情况4.对发展对象能否入党进行讨论,并采取无记名投票方式进行表决 (票决制)11. 党委派人谈话肯定成绩,指出缺点,提出希望,并将谈话情况和意见如实填写1.将入党材料、 培训情况和支部党员大会决议等材料报上级党委审批支部向上级党委申请审批预备党员的报告2.党委集体讨论表决(三个月内) 20. ,将结果反馈报批党支部上级党委给支部批复12. 上报审批21. 3.党支部及时通知本人并在党员大会上宣布 上级党委报再上一级党委备案的报告22. 4.再报上一级党委组织部备案13. 编入党支部和党小 编入党支部、党小组,参加党内活动组14. 入党宣誓 基层党委(党总支、党支部)组织入党宣誓15. 预备党员教育考察 1.对预备党员进行进一步培训 1 篇)23. 思想汇报材料(每季度2.定期听取思想和工作汇报阶段第五阶段预备党员转正环节主要内容16.提交转正申请预备期满,预备党员向所在党支部提出书面转正申请17.党小组提意见党小组提出对预备党员转正的意见18.征求党内外群众意党支部征求党内外群众意见(公示制)见19.支委会审查支委会综合各方面意见提出是否转正意见1.预备党员汇报在预备期间的表现20.党员大会讨论转正2.支委会介绍考察情况,提出转正的意见3.与会党员讨论,发表意见4.进行表决,形成决议(票决制)21.上级党组织审批1.将入党材料报上级党委审批2.基层党委集体讨论审批(在三个月内审批),并及时通知党支部22.与本人谈话党支部书记与本人谈话23.宣布转正结果党支部在党员大会上宣布审批结果24.入党材料归档将《入党志愿书》、入党申请书和转正申请书.政审材料 .教育考察材料上交党委存入本人人事档案档案资料24.转正申请(手写)25.党员群众征求意见座谈会会议记录26.支委会审查会议记录27.预备党员转正公示资料28.支部大会讨论预备党员转正会议记录(含票决统计资料)29.支部向上级党委申请审批预备党员转正的报告30.上级党委给支部批复说明: 1. 会议记录提供复印件; 2. 党支部没有成立支委会的,由支部大会代替; 3. 第 8、 16、20、22 项资料可不放入党员个人档案袋,若不放入个人档案,由基层党委负责留存; 4. 预备党员转正后,入党申请书、入党志愿书、政审材料归入人事档案,其它材料由基层党委或党员所在支部妥善保存。
发展党员工作流程图一、背景介绍党的发展工作是党的基础工作之一,是保证党的先进性和清纯性的重要保障。
为了规范和系统化党员的发展工作,制定了以下的发展党员工作流程图。
二、流程图┌──────────────┐│ 开始节点│└──────────────┘│▼┌──────────────┐│ 申请入党流程│└──────────────┘│▼┌──────────────┐│ 入党积极份子│└──────────────┘│▼┌──────────────┐│ 豫备党员│└──────────────┘│▼┌──────────────┐│ 正式党员│└──────────────┘│▼┌──────────────┐│ 结束节点│└──────────────┘三、流程详细描述1. 申请入党流程:a. 党员发展工作的第一步是个人提交入党申请书,申请书中包括个人的基本信息、入党动机、个人发展计划等。
b. 入党申请书提交给所在党支部,由党支部书记审核并组织党员大会进行讨论和表决。
c. 党员大会表决通过后,将入党申请书报送上级党组织进行审批。
2. 入党积极份子:a. 入党积极份子是指通过入党申请审批的党员候选人,他们需要参加一定的培训和教育,加强对党的理论和党的纪律的学习。
b. 入党积极份子需要在一定的时间内完成党组织交给的任务,并经过党内组织的考察和评议。
3. 豫备党员:a. 豫备党员是指通过入党积极份子的培养和考察阶段,并经过党内组织的评议,被确定为豫备党员的党员候选人。
b. 豫备党员需要进行入党发誓,并参加党的组织生活和各项活动。
c. 豫备党员的阶段普通持续一年,期间需要接受党的理论教育和组织生活教育。
4. 正式党员:a. 豫备党员经过一年的试用期,经过党内组织的评议,表现良好的豫备党员可以成为正式党员。
b. 成为正式党员后,需要继续参加党的组织生活和各项活动,积极履行党员义务和权利。
四、流程图说明1. 开始节点:流程的起点,表示党员发展工作的开始。
发展党员工作流程图
一、 申请入党
二、 入党积极分子的确定和培养教育
三、 发展对象的确定和考察
四、 预备党员的结束
六、预备党员的教育考察和转正
1.递交入党申请书
1.党组织派人谈话
3.推荐和确定入党积极
6.培养教育
考察
5.指定培养
联系人
4.上级党委
备案 7.确定发展对象
11.开展短期集中培训
10.进行政治审查
9.确定入党介绍人
8.上级党委备案
12.支部会审查
17.上级党委审批
18.再上一级党委组
19.编入党支部和党
20.入党誓言
24.上级党委审批 16.上级党委派人谈
15.支部大会讨论
14.填写入党志愿书
13.上级党委预审
23.支部大会讨
25.材料归档
21.继续教育考
22.提出转正申请。
精心整理发展党员工作程序流程图一、制定发展党员工作计划程?序具体要求责任部门制定发展党员工作计划1.起草发展党员工作计划(1)计划必须符合中央和省市委有关发展党员工作的指示精神,符合本单位的实际情况。
党委组织部、各基层党组织?(2)高校计划发展重点应为大学生和青年教师、学术骨干、学术带头人等。
??(3)党委组织部根据各基层组织上报计划数,提出全校计划发展总数。
?2.审定发展计划校党委根据组织部提出的全校计划发展总数讨论确定。
党委3.程?2.?(2?(3?(4)?(5?(63.?(2?(34.?(25.定期对积极分子进行集中培训从实际出发,利用党校、党员活动室等阵地和电化、网络教育等手段,定期搞好培训,特别是搞好入党前的集中培训。
党委党校、分党校、基层党组织等7.定期对积极分子进行分析排队,确定发展对象(1)每季分析一次入党积极分子成长情况;党支部?(2)列出发展对象和重点培养对象,入党积极分子必须经过一年以上的培养教育才能被列为发展对象;?8.对发展对象进行政治审查、征求党内外群众意见和公示(1)审查内容:发展对象的政治历史情况,对党的路线、方针、政策的态度,在重大政治斗争中的表现,直系亲属和与本人关系密切的主要社会关系的政治情况,并形成书面综合材料。
?党支部?(2)政审方式:同本人谈话,查阅有关档案材料,找有关单位和人员了解,以及必要的外调和函调。
在听取本人介绍和查阅有关材料后,情况清楚的可不再外调和函调,但必须形成书面证明材料,加盖党组织印章。
??(3)召开党内外群众座谈会,征求对发展对象的意见,并形成书面材料。
书面材料应包括:时间,地点,参加人员(本人签名),主持人,记录人,记录内容,最后主持人签名,支部落款。
??(4)对发展对象要在本单位进行公示,公示的主要内容:拟发展对象的简历、申请时间、确定为入党积极分子时间、拟发展时间等,公示时间7天,公示没有异议者,可上报上级党组织审查。
?三、接收预备党员的程序程?序具体要求责任部门及责任人1.向上级党组织预报(1)预报材料:入党积极分子的入党申请书,入党积极分子培养考察表,入党积极分子不同时期的思想、工作汇报材料,对入党积极分子的政审证明材料和政审综合材料,入党积极分子的自传,党校结业证,团支部推优表,征求党内外群众意见(发展学生入党应征求老师意见)及公示结果等;党支部?(2)入党材料送组织员或党委组织部预审;?2.对发展对象进行预审对预报材料进行认真审查,并深入到发展对象所在的基层单位了解其思想和表现,合乎要求的发给《入党志愿书》。
办事指南
上海交通大学党委组织部
(合署部门:党校、老干部处、机关党委)
二〇〇七年十月
目录
1、发展党员工作流程
2、预备党员转正工作流程
3、学生预备党员衔接工作流程
4、党员党组织关系保留或恢复工作流程
5、党员党组织关系转入工作流程
6、党员党组织关系转出工作流程
7、机关专业技术职务申报工作流程
8、“机关奖励帮困基金”发放流程
发展党员工作流程
预备党员转正工作流程
学生预备党员衔接工作流程
1、进行党员教育
离校前有关工作 2、填写预备党员鉴定表
和预备党员考察表
1、毕业前3个月一般不发展
新党员
毕业转出组织关系 2、毕业后3个月内转正的预备
党员一般关系不转出,在原
学院转正后再转出
接收组织关系
编入的党支部参加党支部生活
1、查阅档案材料
预备期考察 2、党组织安排专人谈话
3、了解党员的现实表现
延期讨论
必要时可以延期3-6个月讨论 1、无法证明前一阶段的表现
2、无法了解现实表现
延长预备期
按期转正(按照党章有关规定需要延长的情况)
党员党组织关系保留或恢复工作流程
↓
↓
↓
↓
党员党组织关系转入工作流程
↓
↓
↓
党员党组织关系转出工作流程
↓
↓
↓
机关专业技术职务申报工作流程
↓
↓
↓
↓
↓
↓
↓
↓
“机关奖励帮困基金”发放流程
↓
↓
↓
↓。
发展党员工作流程图→一、申请入党→二、入党积极分子的确定和培养教→4.规范推荐标准要求1.递交入党申请书 条件:年满18岁的中国公村(社区):“两新”组织:签订正机关事业单位→→内容5.“双向”鉴定入党申请人现实表现方式:2.审核入党申请书 主体:支部组织委员→→3.党组织派人谈话 时间:收到入党申请书一6.推荐入党积极分子 条件:群众基础好、推→7.入党积极分子公示 地点:党务公开栏。
时→8.区属党(工)委审核备案 材料:入党积极→方式:书面征求意9.征求执纪执法部门意见→→→三、发展对象→五、预备党员的教育考察和转正→四、预备党员→→→29.编入党支部和党小组要求要求:及时编入;继续进行教13.确定发展对象初步人21.支部委员会审查→→→30.入党宣誓组织:区属党(工)委或党支部(党委、22.区属党(工)委、区14.区属党(工)委审查→→→31.继续教育考察方式:参加党的组织生活、听本人汇23.填写入党志愿书15.确定发展对象预备人要求→→→要求:预备党员应在预备期满前一周32.提出转正申请16.确定入党介绍人 数量24.支部大会讨论 程序:→→→33支部大会讨论 准备:党小组提出意见;党支部征求党25.党支部形成决议并报17.入党介绍人的主要任→→→18.进行政治审查内容:对党的理论和路线、方针、政策的态度;政治历史和在重大政治斗争中的表现;遵纪守法→→→→→进行教育和考察。
程序:(1)奏《国际歌》;(2)党组党支部(党委、总支);区委组织部每年“七一”前组织全区预备党员集体入党宣誓。
时间:预备期为一年。
生活、听本人汇报、个别谈心、集中培训、实践锻炼等。
预备期满前一周主动向所在党支部提出转为正式党员的书面申请。
预备党员不能提前转正。
程序:讨论预备党员转正的支部大会,对到会人数、赞成人数等要求与讨;党支部征求党员和群众的意见;支部委员会审查。
方法:同本重大政治斗争中的表现;遵纪守法和遵守社会公德情况;直系亲属和与本人关系密切的主要社会关系的政治情况。
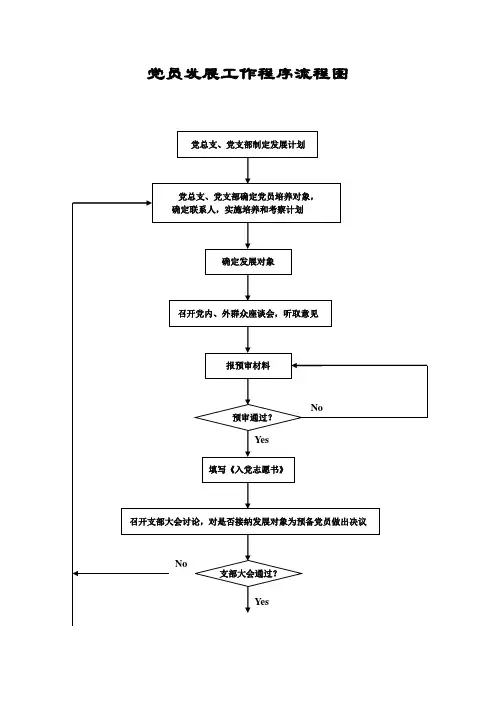
发展党员工作程序图发展党员工作程序图基层发展党员工作程序图→1教育引导----------------------------------------------------------------党组织、党员→2递交入党申请书---------------------------------------申请入党人入→同申请人谈话------------------------------------党组织党→征求党内外意见----------------------------------支委会积→填写《入党积极分子考察登记表》极 ---------------------------党支部、入党积极分子分→指定一到两名培养联系人--------------------------支委会→ 3 子→组织入党积极分子听党课,列席接收新党员的支部确大会,参加党内其他有关活动----------------------支委会定→经常向党组织进行思想汇报------------------入党积极分子培→定期考察、填写《入党积极分子考察登记表》养—————————-支委会、培养联系人→提出可否列为发展对象的意见------------------培养联系人列→征求党内外群众意见------------------------------支委会为→支委会讨论--------------------------------------支委会→4 发→政治审查--------------------------------党总支、党支部展→党校培训------------------------------------------党校对→撰写自传---------------------------------------发展对象象→党总支审议-----------------------------------总支委员会→整理材料,向上级党委汇报-------------------------支委会→5确定入党介绍人------------------------------申请入党人员、支委会→6填写《入党志愿书》--------------------------发展对象、入党介绍人→7审查入党志愿书和有关情况----------------------------------支委会接→清点人数--------------------------------------会议主持人收→汇报对党的认识、入党动机、本人履历预及需要向党组织说明的问题------------------------发展对象备→汇报培养考察情况并表明态度--------------------入党介绍人党→向大会报告对发展对象的综合审查情况----------------支委会→8 员→进行大会讨论--------------------------------全体参会党员的→采取举手或无记名投票方式进行表决大 ----------------------------------支部大会会→填写支部大会决议--------------------------------支部书记党→总支委员会审查,填写审批意见员 -——————————--总支委员会→9 审→同发展对象谈话------------------------------------组织员批→上级党委审批-------------------------------组织部、党委会→10预备党员的管理----------------------------------党总支、党支部→11举行入党宣誓------------------------------------ 党总支、党支部经→参加党员组织生活-------------------------支委会、预备党员常→加强理论指导和思想教育-----------------------------党组织性→认真学习理论知识、改正自身不足,严格要求自己→12 的,发挥模范作用-----------------------------------预备党员教→定期向党组织汇报自己的情况-----------------------预备党员育→了解预备党员在群众中的表现,掌握培养情况考—————————————-支委会察定期与预备党员交流,了解培养情况---------------------支委会党→提出书面转正申请---------------------------------预备党员员→征求党内外群众意见,全面考察-----------------------支委会→13 转→形成预备党员预备期考察材料-------------------------支委会正→向党总支汇报---------------------------------------支委会→支部大会讨论,填写转正决议-------------------------支委会→14党总支审查-------------------------------------------总支委员会→15党委审批-----------------------------------------组织部、党委会→16材料归档-------------------------------------------------组织部党支部建设(党员学习资料·支部建设资料)党组设置党组是党在中央和地方国家机关、人民团体、经济组织、文化组织和其它非党组织的领导机关中设立的党的组织。
发展党员工作程序流程图一、制定发展党员工作计划程序具体要求责任部门制定发展党员工作计划 1.起草发展党员工作计划(1)计划必须符合中央和省市委有关发展党员工作的指示精神,符合本单位的实际情况。
党委组织部、各基层党组织(2)高校计划发展重点应为大学生和青年教师、学术骨干、学术带头人等。
(3)党委组织部根据各基层组织上报计划数,提出全校计划发展总数。
2.审定发展计划校党委根据组织部提出的全校计划发展总数讨论确定。
党委3.下发给各基层组织执行同时上报上级组织部门审查备案。
党委组织部二、积极分子的确定、培养与政审程序具体要求责任部门及责任人积极分子的确定、培养与政审 1.向党支部递交入党申请书附个人自传。
申请入党的同志应写书面申请,同时附个人自传,介绍个人履历、成长情况和家庭成员及主要社会关系情况。
申请人2.确定入党积极分子(1)团组织向党组织推荐优秀团员入党,并及时谈话和填写推优表格(一般28岁以下的青年入党应通过团组织推优);团组织(2)党小组推荐入党积极分子;党小组(3)党支部委员会经过认真讨论和审议,确定入党积极分子,并报上级党组织备案;党支部(4)上级党组织接到党支部上报备案的入党积极分子名单后,如无不同意见,应及时向党支部下发《申请入党积极分子培养考察登记表》;党委、党总支部(5)党支部为每个积极分子确定二名培养联系人,并责成培养联系人对积极分子加强培养考察,按表内规定的项目及时负责地填写和保管,一般3到6个月填写一次;党支部(6)确定入党积极分子工作一般每年2—4次,根据入党积极分子队伍状况和变化情况及时进行调整,做到有进有出,有增有减。
3.培养教育考察(1)重点教育内容:理想信念,“三个代表”重要思想,党的基本理论、基本路线、基本纲领、基本经验,党员标准,艰苦奋斗等;党支部、党小组、培养联系人(2)重点考察内容:政治立场、思想觉悟、学习工作表现、群众观点、本人及家庭和主要社会关系的情况等,尤其是关键时期表现;(3)培养教育考察方法:定期与随机考察、民主评议与个别了解、党内与党外考察等,如重大活动的态度、日常工作、理论学习,纪律作风及社会实践表现,群众评议,考察谈话等。
中国共产党发展党员工作流程图(细节图)(一)申请入党(二)入党积极分子的确定和培养教育(三)发展对象的确定和考察1递交入党申请书条件:年满18周岁的中国公民;承认党的纲领和章程;愿意参加党的一个组织并在其中积极工作;愿意执行党的决议;按期缴纳党费。
注意:本人提出;书面申请。
2党组织派人谈话时间:收到入党申请书后1个月内。
主体:党支部书记、副书记或组织委员。
内容:了解入党申请人基本情况;介绍入党条件和程序;加强教育引导。
5指定培养联系人数量:1-2名正式党员。
任务:向入党积极分子介绍党的基本知识;了解入党积极分子的政治觉悟、道德品质、现实表现和家庭情况等,做好培养教育工作,引导入党积极分子端正入党动机;及时向党支部汇报入党积极分子情况;向党支部提出能否将入党积极分子列为发展对象的意见。
4上级党委备案材料:入党申请人基本情况;推荐和推优情况;支部委员会意见等。
要求:了解入党积极分子是否具备条件;手续是否齐全。
3推荐和确定入党积极分子范围:已递交入党申请书且党组织已派人谈话的人员。
方式:党员推荐、群团组织推优等方式。
决定:支部委员会集体研究决定。
注意:综合运用推荐结果,防止简单以票取人。
6培养教育考察方法:吸收入党积极分子听党课、参加党内有关活动、分配一定的社会工作、集中培训等。
目的:使入党积极分子懂得党的性质、纲领、宗旨、组织原则、纪律、党员的义务和权利、帮助端正入党动机,确立为共产主义事业奋斗终身的信念。
要求:党支部每半年对入党积极分子进行1次考察;基层党委每年对入党积极分子队伍状况作1次分析。
注意:入党积极分子工作、学习单位(居住地)发生变动,应及时报告原单位(居住地)党组织;原单位(居住地)党组织应及时转交材料;接收单位党组织认真审查材料、做好接续培养,培养教育时间可连续计算。
7确定发展对象条件:经过1年以上培养教育和考察;基本具备党员条件。
要求:听取党小组、培养联系人、党员和群众意见。
确定:支部委员会讨论同意,确定发展对象人选。
发展党员工作程序流程图一、制定发展党员工作计划程序具体要求责任部门制定发展党员工作计划 1.起草发展党员工作计划(1)计划必须符合中央和省市委有关发展党员工作的指示精神,符合本单位的实际情况。
党委组织部、各基层党组织(2)高校计划发展重点应为大学生和青年教师、学术骨干、学术带头人等。
(3)党委组织部根据各基层组织上报计划数,提出全校计划发展总数。
2.审定发展计划校党委根据组织部提出的全校计划发展总数讨论确定。
党委3.下发给各基层组织执行同时上报上级组织部门审查备案。
党委组织部二、积极分子的确定、培养与政审程序具体要求责任部门及责任人积极分子的确定、培养与政审 1.向党支部递交入党申请书附个人自传。
申请入党的同志应写书面申请,同时附个人自传,介绍个人履历、成长情况和家庭成员及主要社会关系情况。
申请人2.确定入党积极分子(1)团组织向党组织推荐优秀团员入党,并及时谈话和填写推优表格(一般28岁以下的青年入党应通过团组织推优);团组织(2)党小组推荐入党积极分子;党小组(3)党支部委员会经过认真讨论和审议,确定入党积极分子,并报上级党组织备案;党支部(4)上级党组织接到党支部上报备案的入党积极分子名单后,如无不同意见,应及时向党支部下发《申请入党积极分子培养考察登记表》;党委、党总支部(5)党支部为每个积极分子确定二名培养联系人,并责成培养联系人对积极分子加强培养考察,按表内规定的项目及时负责地填写和保管,一般3到6个月填写一次;党支部(6)确定入党积极分子工作一般每年2—4次,根据入党积极分子队伍状况和变化情况及时进行调整,做到有进有出,有增有减。
3.培养教育考察(1)重点教育内容:理想信念,“三个代表”重要思想,党的基本理论、基本路线、基本纲领、基本经验,党员标准,艰苦奋斗等;党支部、党小组、培养联系人(2)重点考察内容:政治立场、思想觉悟、学习工作表现、群众观点、本人及家庭和主要社会关系的情况等,尤其是关键时期表现;(3)培养教育考察方法:定期与随机考察、民主评议与个别了解、党内与党外考察等,如重大活动的态度、日常工作、理论学习,纪律作风及社会实践表现,群众评议,考察谈话等。
4.定期向党支部汇报积极分子情况(1)每1至2月汇报一次;培养联系人(2)考察谈话每3—6月进行一次,并及时填写。
5.定期对积极分子进行集中培训从实际出发,利用党校、党员活动室等阵地和电化、网络教育等手段,定期搞好培训,特别是搞好入党前的集中培训。
党委党校、分党校、基层党组织等7.定期对积极分子进行分析排队,确定发展对象(1)每季分析一次入党积极分子成长情况;党支部(2)列出发展对象和重点培养对象,入党积极分子必须经过一年以上的培养教育才能被列为发展对象;8.对发展对象进行政治审查、征求党内外群众意见和公示(1)审查内容:发展对象的政治历史情况,对党的路线、方针、政策的态度,在重大政治斗争中的表现,直系亲属和与本人关系密切的主要社会关系的政治情况,并形成书面综合材料。
党支部(2)政审方式:同本人谈话,查阅有关档案材料,找有关单位和人员了解,以及必要的外调和函调。
在听取本人介绍和查阅有关材料后,情况清楚的可不再外调和函调,但必须形成书面证明材料,加盖党组织印章。
(3)召开党内外群众座谈会,征求对发展对象的意见,并形成书面材料。
书面材料应包括:时间,地点,参加人员(本人签名),主持人,记录人,记录内容,最后主持人签名,支部落款。
(4)对发展对象要在本单位进行公示,公示的主要内容:拟发展对象的简历、申请时间、确定为入党积极分子时间、拟发展时间等,公示时间7天,公示没有异议者,可上报上级党组织审查。
三、接收预备党员的程序程序具体要求责任部门及责任人1.向上级党组织预报(1)预报材料:入党积极分子的入党申请书,入党积极分子培养考察表,入党积极分子不同时期的思想、工作汇报材料,对入党积极分子的政审证明材料和政审综合材料,入党积极分子的自传,党校结业证,团支部推优表,征求党内外群众意见(发展学生入党应征求老师意见)及公示结果等;党支部(2)入党材料送组织员或党委组织部预审;2.对发展对象进行预审对预报材料进行认真审查,并深入到发展对象所在的基层单位了解其思想和表现,合乎要求的发给《入党志愿书》。
党委组织部3.确定入党介绍人申请入党的同志要有两名正式党员做介绍人,入党介绍人一般应由负责培养的联系人担任,也可由本支部的其他正式党员担任。
申请人、党支部4.填写《入党志愿书》(1)要以严肃认真、实事求是的态度,在认真学习十六大党章的基础上,按照《入党志愿书》的栏目,如实填写清楚,不得有任何隐瞒和伪造。
申请人、代笔人、介绍人(2)要由申请入党本人用钢笔或毛笔填写,字迹要工整,如果本人填写确有困难,党支部可以指定一名党员按照申请入党的人口述代为填写,代笔人应准确地反映申请入党本人的原意,由他人代为填写的《入党志愿书》,除本人签名盖章外,代笔人也要签名盖章。
(3)《入党志愿书》要在入党介绍人的指导下认真、准确地填写,“入党志愿”栏目要写清对党的认识、思想发展过程,为什么要入党、对入党的态度等内容,填写时要联系个人实际;如果有的栏目没有内容可填时,应注明“无”。
(4)入党介绍人填写意见应包括:被介绍人的入党动机、政治思想、现实表现等方面情况;同时指出被介绍人的不足和努力方向;按照党员标准全面衡量,表明对被介绍人能否入党的态度。
5.作好召开支部党员大会的准备(1)召开支部委员会,审查发展对象的《入党志愿书》以及有关的政审材料等,根据征求意见情况和材料审查情况,讨论发展对象是否符合党员条件,经集体讨论认为合格后,即可提交党支部大会讨论。
此外还要审查入党介绍人是否具备介绍人资格。
支委会(2)确定接收预备党员党支部大会的开会程序、地点、列席会议人员,提前通知党员作好参加会议的准备。
(3)找发展对象谈话,向他说明支委会准备召开发展党员的支部大会的决定和如何参加支部大会。
6.召开接收预备党员的支部大会(1)会议主持人报告出席会议的党员人数,(到会有表决权的党员人数必须在半数以上),再提出开好会议的具体要求。
党支部(2)申请入党本人汇报对党的认识、入党的动机、本人履历、现实表现,以及应向党组织说明的其他问题等。
(3)介绍人介绍申请入党人的重要情况,并对其能否入党表明意见。
(4)支委会向大会报告对申请入党人的审议情况。
(5)与会党员充分发表意见,大会讨论。
(6)大会表决(通过举手表决或无记名投票等方式),赞成人数超过应到会有表决权的正式党员的半数才能通过接收预备党员的决议,因故不能到会的党员会前正式向支部提出书面意见的,应统计在票数内。
支部负责人总结,并宣布支部大会的决议。
(7)申请入党本人表态。
7.填写“支部大会决议”(1)支部大会对申请入党人的基本评价:入党动机,对党的认识,政治态度,思想觉悟,理想信念,工作、学习、生活、作风、纪律等表现,主要不足;党支部(2)表决情况:支部党员数、到会党员数和其中有表决权的党员数,表决时赞成、反对和弃权的人数及表决结果、支部名称,通过表决的日期等;(3)按要求将支部大会决议写进《入党志愿书》中有关栏目,由支部书记签名盖章,落款日期为支部大会召开之日;(4)入党材料及时交组织员或党委组织部安排谈话。
8.组织员与申请入党者谈话(1)谈话前应认真审阅入党志愿书及有关材料,必要时可到所在单位了解情况,拟定谈话提纲;组织员(2)谈话中要着重了解申请人对党的认识,入党动机和现实表现等,并对其进行党的基本理论、基本知识的教育;(3)谈话后,应认真负责地填写谈话情况和谈话人意见。
9.党委审批(1)到会人数,表决情况,预备期起、止的时间;党委(2)书记签名加盖党组织印章;(3)上级党组织对党支部上报的接收预备党员的决议,必须在3个月内审批(特殊情况不超过6个月),无故逾期不审批者,要追究当事人责任。
审批后要及时向下级党组织发出通知。
10.与预备党员谈话(1)通知新党员被批准为预备党员的时间、预备期限、指明优、缺点和今后努力方向,说明党内有关生活制度、缴纳党费的有关规定,党组织近期主要工作等;党支部(2)在支部大会上宣布党委批准接收新党员的决定及有关事项,并给新党员分配一定工作。
11.预备党员入党宣誓(1)预备党员必须进行入党宣誓;党委(2)入党宣誓的主要程序:唱国际歌;党组织负责人致词;新党员宣誓;上级党组织代表讲话;党员代表讲话;新党员代表向党表示决心。
四、预备党员的教育、考察和转正程序具体要求责任部门1.继续培养、教育、考察党组织应定期听取预备党员本人思想、学习、工作等方面的汇报;给预备党员分配一定工作,对预备党员进行中期考察,填写中期考察表。
党支部、介绍人、预备党员2.到期提出转正申请 (1)预备党员在预备期满前一周左右主动地以书面形式向党组织提出转为正式党员的申请。
预备党员(2)转正申请的内容必须实事求是,内容应包括:何时被批准入党的,何时预备期满,对自己在预备期中的表现作出比较全面的总结,写明有哪些提高,还存在什么缺点和不足,特别是在入党时支部所指出的缺点和不足的改正情况,今后的努力方向等。
3.支部委员会审查根据预备党员的申请报告、党小组、介绍人的考察意见、群众的反映等对其能否转正提出意见,并做好召开支部大会的准备工作。
支委会4.召开支部大会,讨论预备党员转正 (1)预备党员提出申请,汇报自己在预备期期间的表现、主要优缺点、今后努力方向,以及需要向党组织说明的问题。
党支部(2)介绍人、党小组分别介绍预备党员在预备期期间的工作、思想情况和意见。
(3)支部委员会介绍对预备党员的审查情况,提出能否转为正式党员的意见。
(4)全体党员讨论。
主要是针对预备党员在预备期间的表现,肯定优点、指出缺点、提出希望,并表示是否同意转正的意见。
(5)支部大会表决,并作出和通过支部大会决议。
(6)申请转正的预备党员表态。
(7)填写支部大会决议(要对预备党员预备期的表现进行综合评价,包括缺点的改正情况及到会人数、表决结果等)。
(8)报上级党组织审批。
5.党委审批 (1)指派专人审查。
党委(2)召开会议审批。
(3)将审批结果及时通知下级党组织。
(4)整理归档材料。
6.与申请转正的预备党员谈话通知本人并提出希望。
党支部。