锂离子电池内部温度及热失控快速检测方法
- 格式:docx
- 大小:73.38 KB
- 文档页数:6
专利名称:一种车载锂离子动力电池组热失控检测及处理方法、系统
专利类型:发明专利
发明人:魏学哲,陈思琦,戴海峰,张广续
申请号:CN202011380148.4
申请日:20201130
公开号:CN112510278A
公开日:
20210316
专利内容由知识产权出版社提供
摘要:本发明涉及一种车载锂离子动力电池组热失控检测及处理方法、系统,该方法包括如下步骤:S1、对锂离子动力电池组进行气压检测判断,若气压超标则执行步骤S2,否则重复步骤S1;
S2、对锂离子动力电池组进行温度检测判断,若温度超标则判定发生热失控风险,执行步骤S3,否则返回步骤S1;S3、对锂离子动力电池中所产生的气体进行抽气处理;S4、对所抽出的可燃气在进行催化、吸收,并排出车外。
与现有技术相比,本发明检测标准贴合实际热失控特征、有效降低热失控事故触发几率,具有检测时间短、准确率高、处理速度快等优点。
申请人:同济大学
地址:200092 上海市杨浦区四平路1239号
国籍:CN
代理机构:上海科盛知识产权代理有限公司
代理人:丁云
更多信息请下载全文后查看。
电力储能用固态锂离子电池安全要求及试验方法
电力储能用固态锂离子电池是一种新型电池技术,具有高能量密度、长寿命、高安全性等优点。
为了确保其安全性,以下是固态锂离子电池的安全要求及试验方法:
1. 电池热稳定性试验:将电池样品在一定温度下,如高温(例如80℃)、低温(例如-40℃)等条件下进行长时间放置或循
环充放电测试,观察电池的温度、容量、内阻等性能指标变化情况,评估其热稳定性。
2. 电池短路测试:通过对电池正负极进行短路测试,观察电池自发发热、气体释放等情况,评估其短路安全性。
3. 电池过充测试:将电池充电至过充状态(如超过100% SOC),观察电池的温度、压力、容量等性能指标变化情况,评估其过充安全性。
4. 电池外力冲击测试:通过对电池进行冲击或挤压测试,观察电池是否发生渗漏、爆炸等情况,评估其外力冲击安全性。
5. 电池热失控测试:将电池样品在一定温度或充放电倍率下进行连续放电,观察电池是否发生热失控,评估其热失控安全性。
6. 电池热冲击测试:将电池样品从低温(如-40℃)迅速转移
到高温(如80℃)环境中,观察电池是否发生热失控、破裂
等情况,评估其热冲击安全性。
7. 电池充电速率测试:对电池进行高倍率充电(如2C、3C 等),观察电池温度、压力、容量等性能指标变化情况,评估其充电速率安全性。
在进行以上试验方法时,需要使用专用测试设备,确保试验过程的可重复性和准确性。
同时,根据不同的应用场景和要求,可以对以上试验方法进行进一步的补充和改进。
锂离子电池热失控标准研究一、引言锂离子电池因其高能量密度、长循环寿命和无记忆效应等优点,广泛应用于电动汽车、电子设备等领域。
然而,随着锂离子电池的广泛应用,其安全问题也日益突出。
热失控是锂离子电池安全问题的主要表现之一,可能导致电池起火甚至爆炸。
因此,研究锂离子电池热失控标准对于保障电池安全具有重要意义。
二、锂离子电池热失控机理锂离子电池热失控主要是由于电池内部短路、过充、过放、外部加热等因素导致电池内部温度升高,引发连锁反应。
当电池内部温度达到一定程度时,电池内部的电解质、隔膜等材料会发生热分解,产生大量热量和气体,进一步加剧电池的温升。
当温度持续升高,电池的正负极材料也会发生热分解,释放更多的热量,最终导致电池起火或爆炸。
三、锂离子电池热失控标准研究现状目前,国内外已经制定了一些关于锂离子电池热失控的标准,如UL 2580、UN 38.3、GB 31241等。
这些标准主要规定了锂离子电池在不同条件下的热失控测试方法和判定依据。
例如,UL 2580标准规定了锂离子电池在过热条件下的热失控测试方法,通过模拟电池在高温环境中的工作情况,检测电池是否发生热失控。
UN 38.3标准则规定了锂离子电池在运输过程中的安全要求,包括电池在不同温度下的热稳定性等。
GB 31241标准则主要针对便携式电子产品用锂离子电池的安全性能进行了规定。
四、锂离子电池热失控标准存在的问题虽然现有的锂离子电池热失控标准在一定程度上保障了电池的安全性能,但仍存在一些问题。
首先,不同标准之间的测试方法和判定依据存在差异,导致测试结果的可比性较差。
其次,现有标准主要关注电池在特定条件下的热失控情况,而实际使用过程中电池可能面临多种复杂环境因素的影响,如机械滥用、电滥用等。
因此,需要进一步完善锂离子电池热失控标准体系,提高标准的针对性和实用性。
五、完善锂离子电池热失控标准的建议针对现有锂离子电池热失控标准存在的问题,提出以下建议:1. 加强不同标准之间的协调与统一:建立国际统一的锂离子电池热失控测试方法和判定依据,提高测试结果的可比性。
[基金项目]广州汽车集团汽车工程研究院技术创新项目(X J G -X N -0)收稿日期:2021-09-16;修回日期:2021-10-30作者简介:李恺翔(1990—),男,山西太原人,博士,主要从事新能源汽车电池系统研究,E-m ai l :s xt yl kx@ 。
通信作者:王珺瑶(1990—),女,山西太原人,博士,主要从事储能和低碳技术研究,E-m ai l :w angj unyao_hkus t @ 。
*锂离子动力电池系统热失控检测方法和技术综述李恺翔1,2,王珺瑶3,李士戎4(1.广州汽车集团汽车工程研究院,广东广州510640;2.广汽埃安新能源汽车有限公司,广东广州511434;3.中山大学低碳科技与经济研究中心,广东广州510006;4.山西省消防救援总队,山西太原030001)文章编号:1674-9146(2021)11-042-06当前,新一轮科技革命和产业变革蓬勃发展,汽车与能源、交通、信息通信等领域的相关技术加速融合,电动化、智能化、网联化成为汽车产业的发展潮流和趋势。
汽车产品形态、交通出行模式、能源消费结构正在发生深刻变革,为新能源汽车产业提供了前所未有的发展机遇。
可以预见,新能源汽车将成为全球汽车产业转型发展的主要方向和促进世界经济持续增长的重要引擎。
目前,电动汽车动力电池向高能量密度和超级快充技术发展,随之带来更高的热负荷对电池系统设计提出新的挑战,同时电动汽车热失控导致消费者对电池的安全焦虑日趋严重。
电动汽车安全全球技术法规(EV S-G TR )和我国工业和信息化部发布的《电动汽车用动力蓄电池安全要求》均提出强化安全监测及预警功能,在发生热失控时需向乘员发出热事件预警并提示离车[1]。
为最大程度避免或减少热失控事故的发生,需要利用传感器技术对电池工作状态进行实时监控和检测。
根据电池正常工作状态和异常产热状态各物理量变化,目前常用的检测信号有电压、温度、烟雾、特征气体、气压等,还有声学、膨胀力等前沿检测方法。
(原创实用版4篇)编制人员:_______________审核人员:_______________审批人员:_______________编制单位:_______________编制时间:____年___月___日序言下面是本店铺为大家精心编写的4篇《ul9540a电芯热失控测试方法》,供大家借鉴与参考。
下载后,可根据实际需要进行调整和使用,希望能够帮助到大家,谢射!(4篇)《ul9540a电芯热失控测试方法》篇1UL 9540A 是一种针对锂离子电池的安全测试标准,其中包括了热失控测试方法。
热失控是指电池在高温环境下由于内部或外部因素导致温度不断上升,最终导致电池破裂、爆炸等安全事故。
UL 9540A 中定义的热失控测试方法如下: 1. 将电池组放置在温度为 50±2℃的环境中,然后通过电阻加热器将电池组的温度逐步升高至 150±2℃。
2. 在温度达到 150±2℃后,将电池组从加热器中移除,并观察电池组的温度变化。
如果电池组的温度在 30 分钟内下降至 120±2℃以下,则判断电池组通过热失控测试。
3. 如果电池组的温度在 30 分钟内未能下降至 120±2℃以下,则需要进行进一步的测试。
在接下来的测试中,将电池组放置在温度为 120±2℃的环境中,然后通过电阻加热器将电池组的温度逐步升高至 200±2℃。
4. 在温度达到 200±2℃后,将电池组从加热器中移除,并观察电池组的温度变化。
如果电池组的温度在 30 分钟内下降至 120±2℃以下,则判断电池组通过热失控测试。
5. 如果电池组的温度在 30 分钟内未能下降至 120±2℃以下,则判断电池组未通过热失控测试。
《ul9540a电芯热失控测试方法》篇2UL9540A 是一种针对锂离子电池的安全测试标准,其中包括了热失控测试方法。
热失控是指电池在高温环境下由于内部或外部因素导致温度不断上升,最终导致电池破裂、爆炸等安全事故。
三元锂电池的热失控温度
三元锂电池是一种常见的锂离子电池,其热失控温度是指在过
热或异常情况下,电池内部可能发生热失控甚至爆炸的温度阈值。
热失控温度受到多种因素的影响,包括电池的设计、材料选择、制
造工艺等。
一般来说,三元锂电池的热失控温度在摄氏150至200度之间。
这个温度范围是根据电池内部的结构和材料特性以及安全性考虑而
确定的。
当电池温度超过这个范围,可能会导致电池内部发生热失
控反应,进而引发火灾或爆炸。
为了防止三元锂电池发生热失控,制造商通常会在电池设计中
加入热敏感材料或热释放装置,以便在电池温度异常升高时及时采
取措施,例如自动切断电池供电或释放内部压力,从而减轻潜在的
安全风险。
此外,用户在使用三元锂电池时也应当注意避免过度充放电、
避免高温环境下的使用、避免物理损坏等行为,以降低电池发生热
失控的风险。
总之,三元锂电池的热失控温度是一个重要的安全参数,制造商和用户都应当重视并采取相应的预防措施,以确保电池的安全使用。
锂离子电池的热失控及安全性分析一、锂离子电池的介绍锂离子电池是一种主要应用于便携式电子设备、电动汽车等领域的电池,因其高能量密度、长使用寿命、重量轻等优点,使得其被广泛应用。
锂离子电池是指以锂离子为正极电极材料的电池,其正负极由不同材料组成,通过电极间的离子交换来储存和释放能量。
二、锂离子电池的热失控锂离子电池的热失控是指在异常情况下电池内部发生自身反应,不可逆的产生大量热量和气体,最终导致电池爆炸和火灾的现象。
热失控的原因主要有以下几个方面:1.设计和制造缺陷。
电池在设计和制造时存在缺陷,比如电池内部正负极隔膜的损坏或者不存在,正极物质的含量过高等,这些因素都会加剧热失控的风险。
2.过充和过放。
电池充放电过程中,如果充电过度或者放电过度,就会发生热失控的现象。
3.温度过高。
在高温环境下,锂离子电池的热失控风险会大大增加。
三、锂离子电池的安全措施针对锂离子电池的热失控现象,目前已经有了一系列的安全措施,包括:1.电池设计和制造中的安全措施。
电池设计和制造中,需要考虑到电池的热失控因素,采取相应的措施来控制风险。
例如,在电池内部加装隔膜来避免正负极的直接接触。
2.电池的充放电和使用过程中的安全措施。
电池在充放电过程中,需要通过充放电管理系统来控制电池的电量,并及时停止充电或者放电,避免造成热失控。
同时在使用过程中,需要注意不要让电池过度受热或者受力。
3.热失控事件处理措施。
如果发生了锂离子电池的热失控事件,需要及时采取应对措施,如用泡沫灭火器将火源扑灭,以及尽量远离火灾现场,避免被火灾伤害。
四、结语锂离子电池是一种广泛应用的电池,但是其热失控问题也一直是人们所关注的领域。
对于热失控现象,需要从电池的设计和制造、使用以及应对方面做好相应的安全措施,从而有效地减少热失控事件的发生。
锂离子动力电池系统热失控检测原理及方案
秦李伟;姜点双;徐爱琴;汪梦远;刘舒龙
【期刊名称】《汽车电器》
【年(卷),期】2024()3
【摘要】锂离子电池的热失控问题一直是制约电动汽车发展的因素之一,因此需要及时对热失控电池进行预警,避免发生起火等车辆安全事故。
动力电池热失控过程通常伴随有烟雾产生,可通过烟雾检测识别故障信号。
文章首先汇总6种锂离子动力电池系统热失控检测原理及方案,并对不同方案的优劣进行对比,重点分析烟雾传感器的功能验证和市场情况,以期为提高锂离子电池的热失控检测提供指导。
【总页数】3页(P17-19)
【作者】秦李伟;姜点双;徐爱琴;汪梦远;刘舒龙
【作者单位】安徽江淮汽车集团股份有限公司
【正文语种】中文
【中图分类】U469.72
【相关文献】
1.锂离子动力电池系统热失控扩展特性试验研究
2.三元锂离子动力电池热失控及蔓延特性实验研究
3.锂离子动力电池系统热失控检测方法和技术综述
4.三元锂离子动力电池包热失控蔓延数值分析
5.锂离子动力电池热失控特性实验研究
因版权原因,仅展示原文概要,查看原文内容请购买。
磷酸铁锂电池热失控温度磷酸铁锂电池是一种锂离子电池,其热失控温度是指当电池内部温度超过一定值时,电池将因无法控制的热量释放而引发可燃气体甚至燃烧爆炸的温度阈值。
一般来说,磷酸铁锂电池的热失控温度在250℃以上,而这一温度通常是电池发生非正常热失控反应时的温度。
当电池温度超过该阈值时,电池内部会出现严重热失控反应,导致电池的化学反应无法控制,进而产生大量的热量和可燃气体,引发火灾甚至爆炸。
因此,磷酸铁锂电池在充电和放电过程中需要严格控制其温度,以确保电池的安全性能。
磷酸铁锂电池的热失控温度是应该引起重视的关键参数,因为当发生异常情况时,电池可能会受到过热或过充电的影响,从而导致热失控的发生。
磷酸铁锂电池的正极材料是由磷酸铁锂(LiFePO4)组成的,相比其他锂离子电池,其具有较高的热稳定性和安全性能。
一般来说,磷酸铁锂电池的热失控温度大约在250℃以上。
当电池温度超过这个温度阈值时,会发生以下可能的情况:1. 热分解:电池内的物质可能会因高温而发生分解,产生有害气体或液体。
这些分解产物可能增加电池内部压力,导致电池外壳爆破。
2. 隔膜热失控:电池内的隔膜材料可能无法承受高温,并发生热失控现象。
这可能导致电池内部的正负极直接短路,引发电池的热量和能量释放。
3. 热反应失控:电池内的化学反应可能无法在高温下得到控制,产生过多的热量和气体。
这可能引起火灾或爆炸。
为了防止热失控的发生,需要在设计和制造过程中采取以下措施:1. 温度控制系统:电池应该配备温度控制系统,可以监测和控制电池的温度,防止温度升高超过热失控温度。
2. 电池管理系统(BMS):BMS可以监测电池的状态和性能,并提供电池的热管理控制。
它可以监测温度、电流和电压,并采取适当的措施以保持电池的正常工作温度。
3. 散热设计:电池的结构和外壳应该进行散热设计,以增加散热面积和散热效率,从而有效地控制电池的温度。
4. 安全测试和认证:电池应该通过相关的安全测试和认证,以确保其在正常和异常条件下的安全性能。
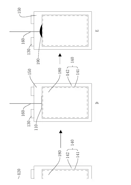
本申请涉及一种电池内部温度测量方法,先在所述铝塑膜电池的铝塑膜的表面形成切口,然后利用引导棒引导温度传感器经过所述切口进入所述铝塑膜电池内部,再将所述引导棒从所述铝塑膜电池内取出并使所述温度传感器留在所述铝塑膜电池内部,最后将所述切口密封,对所述铝塑膜电池加热至热失控状态,利用所述温度传感器监测所述电芯的温度。
因此可以通过所述温度传感器精确测量所述铝塑膜电池内部的温度,且能够将对所述铝塑膜电池结构的影响程度降到最低。
通过测量所述铝塑膜电池内部的温度可以准确地测量电池内部温度,尤其是电池热失控过程的内部温度,这对计算热失控释放能量,评估热失控风险具有重要意义。
技术要求1.一种电池内部温度测量方法,其特征在于,所述方法包括:S10,提供一铝塑膜电池(100),所述铝塑膜电池(100)包括电芯(180)和包覆在所述电芯(180)表面的铝塑膜(140);S20,在所述铝塑膜的(140)表面形成切口(110);S30,利用引导棒(120)引导温度传感器(160)经过所述切口(110)进入所述电芯(180)的内部;S40,将所述引导棒(120)从所述铝塑膜电池(100)内取出并使所述温度传感器(160)留在所述铝塑膜电池(100)内部;S50,将所述切口(110)密封;S60,对所述铝塑膜电池(100)加热至热失控状态,利用所述温度传感器(160)监测所述电芯(180)的温度。
2.如权利要求1所述的电池内部温度测量方法,其特征在于,所述铝塑膜电池(100)的一端间隔设置有两个极耳(130),所述两个极耳(130)从所述铝塑膜(140)伸出,所述S20包括:S21,在所述两个极耳(130)之间的所述铝塑膜(140)的表面选定切割区(150);S22,在所述切割区(150)切割所述铝塑膜(140)形成所述切口(110)。
3.如权利要求2所述的电池内部温度测量方法,其特征在于,所述S22中,所述铝塑膜(140)的表面包括活性材料区域(141)和围绕在所述活性材料区域(141)边缘的铝塑膜封边区(142),在所述切割区(150)内,所述切口(110)位于所述铝塑膜封边区(142)靠近所述活性材料区域(141)的边缘。
车用锂离子电池热失控规律及预警方法研究一、车用锂离子电池热失控规律车用锂离子电池热失控是指电池在充放电过程中,电池内部温度升高,导致电池内部压力过大,从而引起电池爆炸、着火等问题。
研究表明,车用锂离子电池热失控的发生与电池结构、电池状态、环境条件等因素有关。
1. 电池结构因素:电池结构因素主要包括电池的材料和工艺参数。
电池材料的不同会导致电池的热失控程度不同,例如,钴酸锂、三元材料、磷酸铁锂等材料都容易引发热失控。
电池工艺参数的不同也会对电池的热失控产生影响,例如,电池的一致性、密度等因素都会影响电池的热失控。
2. 电池状态因素:电池状态因素主要包括电池的充放电状态和温度。
电池的充放电状态会对电池的电压、电流产生影响,从而影响电池的温度。
研究表明,电池在高温、高电压状态下容易诱发热失控。
同时,电池的温度也会对热失控产生影响,当电池温度升高到一定程度时,热失控会加剧。
3. 环境条件因素:环境条件因素主要包括电池所处的温度和湿度。
研究表明,高温、高湿度环境下容易诱发热失控。
此外,电池存放时间、电池的使用环境等因素也会对电池的热失控产生影响。
二、车用锂离子电池预警方法为了避免锂离子电池的热失控,需要建立有效的预警方法。
目前,常用的预警方法包括传感器监测、智能控制系统、在线监测系统等。
1. 传感器监测:传感器监测是指通过在电池内部或外部安装传感器,实时监测电池的温度、电压、电流等参数。
当电池参数超出设定值时,及时发出警报,避免电池发生热失控。
2. 智能控制系统:智能控制系统是指通过控制系统对电池进行智能化管理,避免电池发生热失控。
例如,通过在电池管理系统中添加温度控制系统,可以在电池温度过高时自动降低电池的电压,避免热失控的发生。
3. 在线监测系统:在线监测系统是指通过在电池上进行钻孔、开槽等操作,将电池的参数实时传输到外部,以便对电池的状态进行实时监测。
当电池参数超出设定值时,及时发出警报,避免电池发生热失控。
一种计算锂离子电池热失控临界条件的方法锂离子电池作为一种常见的电池类型,广泛应用于移动设备、电动汽车等各个领域。
然而,由于其化学性质的特殊性,锂离子电池在充放电过程中存在着一定的安全隐患,尤其是热失控问题。
热失控是指电池内部产生大量热量,导致电池温度升高,最终可能引发电池燃烧、爆炸等严重事故。
因此,研究锂离子电池的热失控临界条件对于提高电池的安全性至关重要。
要计算锂离子电池的热失控临界条件,首先需要了解电池的热失控机制。
热失控的主要原因是电池内部的热量产生超过了散热的能力,导致温度不断升高。
电池内部的热量主要来自于充放电过程中的电化学反应。
在充电过程中,正极材料释放锂离子,负极材料接收锂离子,锂离子在电解质中移动,产生电流。
在放电过程中,这一过程则反向进行。
这些电化学反应会伴随着能量的释放和吸收,从而产生热量。
当电池内部的热量积累到一定程度时,就会超过散热的能力,导致温度升高,从而引发热失控。
为了计算锂离子电池的热失控临界条件,首先需要确定电池的热传导特性。
电池的热传导特性包括热传导系数和热传导路径。
热传导系数是指单位时间内单位温度梯度下的热量传导量,可以用来描述材料的导热性能。
热传导路径是指热量从电池内部传导到外部的路径,通常包括电池壳体、电解质等部分。
通过研究电池的热传导特性,可以确定电池的散热能力,从而判断其热失控的临界条件。
需要确定电池内部的热量产生速率。
热量产生速率取决于电池的充放电速率和电池的放电容量。
充放电速率越大,热量产生速率就越大;放电容量越大,热量产生速率也越大。
因此,要计算电池的热失控临界条件,需要对电池的充放电速率和放电容量进行准确的测量和估计。
需要考虑电池的环境温度和散热条件。
环境温度是指电池所处环境的温度,散热条件是指电池与外界的热量交换情况。
环境温度越高,电池的散热能力就越差;散热条件越好,电池的散热能力就越好。
因此,在计算锂离子电池的热失控临界条件时,需要综合考虑电池的环境温度和散热条件。
锂离子电池内部温度及热失控快速检测
方法
——交流内阻法
随着电动汽车的大规模普及,我们看到和接触到电动汽车的机会也越来越多,但是很多人仍然对于锂离子电池的安全性抱有怀疑的态度,其实经过多年的技术发展,锂离子电池本身的安全性已经得到了很大的提升,其次电池包安全管理系统,例如热失控预警系统,快速灭火装置等近年来都取得了长足的发展,即便是锂离子电池发生安全事故,也能够提前预警,灭火剂压制热失控蔓延,为车内乘客逃生争取到足够的时间,确保乘客的人身和财产安全。
锂离子电池的热失控原因可以分为两大类:1)外部原因,例如过充、外部短路、加热和机械滥用等;2)内部原因,例如内部的缺陷(如金属杂质等),正负极材料在循环中的衰降等。
引起锂离子电池热失控的外部原因的监控比较简单,例如监测电压、监测电池表面温度等,但是监测锂离子电池内部原因则比较困难。
近日美国约翰普金斯应用物理实验室的Rengaswamy Srinivasan(第一作者,通讯作者)等人研究发现通过监测锂离子电池内阻能够高分辨率的分析锂离子电池内部温度的变化,在早期对锂离子电池热失控进行预警,Rengaswamy Srinivasan将电池的内阻分为两个
部分:1)阻抗振幅Z;2)夹角j,Rengaswamy Srinivasan 的研究发现夹角j与锂离子电池的容量关系较小,但是与电池温度具有很强的相关性,因此可以通过监测夹角j的变化实现对锂离子电池内部温度的实时监测,从而在热失控发生前进行预警。
上图为一个典型的锂离子电池的交流阻抗图谱,锂离子电池的交流阻抗主要包含两部分:实数部分Z’和虚数部分
Z’’。
为了便于分析,作者将阻抗的实数部分和虚数部分整合成为了两个部分:即振幅Z=(Z’2+Z’’2)1/2,以及Z’和Z’’之间的夹角j,因此Z’=Z cos(j),Z’’=Z sin(j)。
其中振幅Z与锂离子电池的尺寸和容量有关,一般电池越大Z越小,而夹角j则与电池的尺寸关系不大。
这也就是说即便是两个大小尺寸不同的电池,虽然Z值差距较大,但是夹角j仍然具有可比性。
实验中采用的电池为两个型号,分别是来自日本汤浅的50Ah电池和来自波士顿电池的5300型5.3Ah电池,下图为两种电池的交流阻抗图(50%SoC),从图中能够看到阻抗的实数部分Z’和虚数部分Z’’都与锂离子电池的容量有明显的相关性,而夹角j则与电池的容量相关性很小,但是与温度相关性很大,电池温度变化50℃,夹角j变化可达到20度,因此很好的提高了通过观测夹角j测量电池内部温度的分辨率,同时经过多年的技术进步,我们现在能够用很低廉的成本对锂离子电池阻抗夹角j进行高分辨率(10-3)测量,因此监测夹角j的变化是监测锂离子电池内部温度变化的有效方法。
下图为LG的3Ah18650电池通过外部加热带加热诱发热失控过程中的监测数据,从图中能够看到开始加热前,电池温度14.3℃(电池表面温度),夹角j为-9.5度,将电池加热到50℃(电池表面温度),夹角j升高到了-0.96度,在经过240s加热后电池温度达到117℃,夹角j也升高到了-0.79度,此时电池并没有发生热失控。
又经过55s后,电池温度进一步升高到了128℃(电池表面温度),夹角j也迅速降低到-2.9度,表明此时电池内部的温度开始有所降低(这可能是内部隔膜开始融化吸收了部分热量)。
随后60s 左右电池发生泄漏和喷发,电池外表温度持续升高,而此时夹角j却在不断降低,表明由于电池气体泄漏带走了部分热量,引起电池内部温度下降,但是尽管电池内部温度在持续变化,在电池表面温度上完全没有体现出来,而锂离子电池的电压在电池泄漏喷发之前则几乎没有波动,这表明相对于监测锂离子电池的表面温度和电压,监测夹角j是一个更为
有效的预警锂离子电池热失控方法。
长久以来监测锂离子电池内部温度的变化就是一件非常具有挑战性的事情,为了监测锂离子电池内部的温度人们也相出了非常多的方法,例如我们之前曾经报道过的电池内部置入光纤的方式对电池的SoC和温度等状态进行监控(为锂离子电池装上智慧眼睛),也有通过模型方法对锂离子电池内部的温度进行预测(热失控中锂离子电池核心温度变化),但是这些方法要么采用的设备过于庞大和复杂,要么计算过于复杂因此很难在车载BMS上实现,而RengaswamySrinivasan采用的方法则通过简单的对锂离子
电池在某个频率范围内的阻抗进行测量,得到夹角j的值就能够对锂离子电池的内部温度进行高分辨率的监测,大大提高了其实用价值,对于在线监测动力电池内部温度的变化和热失控的预警具有重要的实用价值。