多方案比选
- 格式:doc
- 大小:43.00 KB
- 文档页数:10
方案比选的方法有哪几种类型方案比选的方法有哪几种类型在项目实施过程中,方案的比选是一个至关重要的环节。
通过对不同方案进行比较、评估和选择,可以确保最终选择出最符合项目需求和目标的方案。
然而,在具体实施过程中,我们需要根据项目的特点和需求选择合适的方案比选方法。
本文将从六个方面展开叙述,详细介绍方案比选的不同类型及其应用。
第一,定性分析法定性分析法是一种通过主观判断和定性评估的方法来比选方案的方式。
在这种方法中,我们通常根据预先设定的评估指标和权重,对各方案进行主观评估和比较。
这种方法适用于项目需求较为模糊、难以量化和标准化的情况下。
通过专业人员的经验和判断,可以选择出最适合项目的方案。
第二,定量分析法定量分析法是通过对方案进行数据收集和量化分析的方法来比选方案的方式。
在这种方法中,我们通常通过实地调研、问卷调查等手段收集数据,并使用统计分析工具对数据进行分析和比较。
这种方法适用于项目需求较为明确、容易量化和标准化的情况下。
通过数据和统计结果的支持,可以选择出最优的方案。
第三,成本效益分析法成本效益分析法是一种通过对方案的成本和效益进行评估和比较的方法。
在这种方法中,我们通常将方案的成本和效益进行货币化,并计算出每个方案的成本效益比。
这种方法适用于需要在有限的资源条件下选择最具经济效益的方案的情况下。
通过成本效益比的计算,可以选择出最经济合理的方案。
第四,风险评估法风险评估法是一种通过对方案的风险进行评估和比较的方法。
在这种方法中,我们通常通过分析方案可能面临的各种风险和障碍,并对其进行评估和排名。
这种方法适用于项目需求较为复杂、风险较高的情况下。
通过风险评估的结果,可以选择出风险较低、稳定性较高的方案。
第五,SWOT分析法SWOT分析法是一种通过对方案的优势、劣势、机会和威胁进行评估和比较的方法。
在这种方法中,我们通常通过对每个方案的优势、劣势、机会和威胁进行详细的分析和比较。
这种方法适用于需要全面评估方案的优劣势和适应性的情况下。
方案比选推荐方案方案的比选是指在解决问题或实施计划时,从多个备选方案中选择最优方案。
对于复杂的问题来说,选择一个合适的方案比选是至关重要的,它能够确保我们能够高效、科学地解决问题,实现预期目标。
本文将介绍方案比选的相关概念和步骤,并给出一些推荐方案的思路和方法。
一、方案比选的概念方案比选是指在一定的背景条件下,对不同的备选方案进行比较和评价,从而选出最优的方案。
方案比选一般包括确定比选准则、建立评价模型、数据采集与分析、方案比较及评价、决策与选定等步骤。
通过这些步骤,我们能够全面、客观地评估每个方案的利弊,最终选择出最适合解决问题的方案。
二、方案比选的步骤1. 确定比选准则在进行方案比选之前,我们需要明确比选准则。
比选准则通常包括经济性、技术可行性、环境影响、社会效益等多个方面。
根据问题的特点和需要,制定明确的比选准则有助于方案比选的科学性和客观性。
2. 建立评价模型建立评价模型是方案比选的重要步骤之一。
评价模型可以是定性的,也可以是定量的。
定性评价模型适用于一些主观性较强的指标,而定量评价模型则更加客观和科学。
3. 数据采集与分析在方案比选过程中,我们需要采集相关的数据,对数据进行归纳和整理。
这些数据包括方案的各项指标、评估标准等。
通过数据的采集和分析,我们可以更好地了解各个备选方案的优势和不足。
4. 方案比较与评价通过对数据的比较和评价,我们可以全面、客观地评估每个备选方案的优劣。
在此过程中,我们可以采用矩阵比较法、层次分析法等方法,对方案进行综合比较和评估。
5. 决策与选定最后,在方案比选的基础上,我们需要进行决策与选定最终方案。
这个过程需要综合考虑各个备选方案的评估结果、实施条件等因素,并做出合理的决策。
三、推荐方案的思路和方法在进行方案比选时,我们可以根据具体问题的特点和需求,采取一些推荐方案的思路和方法,以确保选择出最优的方案。
1. 多角度思考:考虑问题的多个角度,从经济、技术、环境、社会等方面综合评估方案的优劣。
建设项目多方案经济比选的相对有效性评价方法作者:王俊玲来源:《现代经济信息》 2018年第11期在实践过程中,往往面临着许多项目的选择,而一个项目通常会有多个方案。
方案的设置及建筑工艺的不同,都会影响项目建设。
当这些方案经济和技术都可以达到的情况下,从经济角度评价,从多个备选方案中选定出可行性方案,便可得出最佳的投资方案。
一、建设项目多方案经济比选的必要性及思路方向我国的建设项目可行性研究,通常只对单一方案进行经济评价,单一的方案没有可比性,用净现值指数排序评选得出的方案,并不能确定就是最佳组合方案,而各个方案单独检测是多方案评选的基础,通过单方案必选,再从多个目标及因素中理性分析多个方案整体条件、利弊,待综合整理分析,用科学的方式评判出可行方案,供决策者选择出最适合其当前境况的方案。
1. 建设项目多方案经济比选的必要性在建设方案比选中,应整体衡量投资数额、产品数量、资源条件、技术水准、建设设施等都是寻求合理和建设性方案经济比选的必要手段;项目构思的可行性,经济合理性、使用的安全性关乎着整个建设项目在市场的竞争力。
正确的决策是合理计划以及控制成本的前提,而项目设计、招标、施工等建立在正确决策的基础之上。
2. 多方案经济比选的特点通常,独立方案的各方面投资现金流是全权独立的,不具备相关性,在多个方案在评选时独立方案是不需要横向比较的,只需对单个方案进行取舍,最终决策主要取决于单方案的经济效益;互斥方案在需求满足上是大致相同的,可以互相替代,主要衡量标准在于企业能接受的基准收益是多少;而混合方案则是独立和互斥方案之间的混合,这是我们可以单独对一个方案的可修改性进行评判,修改最少同时最适应企业要求的即为最佳方案;相关方案是并行的两个或两个以上的多方案,依赖于多方案之间的互补性。
二、建设项目多方案经济比选应重点考虑的因素1. 方案可否达到预定目标在多方案比选时首先应采取排除法,利用经济评价的标准来剔除不可行的方案。
为什么要进行方案比选为什么要进行方案比选在进行项目实施或决策时,对于不同的选择方案,我们常常需要进行比选。
方案比选是指在多个可行方案中进行综合评价和选择的过程。
通过方案比选,我们可以全面了解各个方案的优缺点,从而选择最适合的方案来解决问题或达成目标。
本文将从六个方面对为什么要进行方案比选进行详细阐述。
一、确保项目目标的实现方案比选的重要性在于能够确保项目目标的实现。
通过对不同方案进行比较和评估,我们可以找到最合适的方案来达成项目目标。
各个方案的可行性、风险、成本以及对项目目标的贡献度将成为比选的重要指标。
只有经过充分的比选,我们才能选择到最佳方案,从而提高项目的成功率。
二、降低决策风险方案比选可以帮助我们降低决策风险。
每个方案都存在一定的风险,通过对不同方案的比较和评估,我们可以识别和评估各个方案的风险,并作出相应的决策。
比选可以帮助我们避免盲目决策和过度自信的情况发生,从而降低决策风险。
三、提高项目效益方案比选可以提高项目效益。
通过对不同方案的比较和评估,我们可以找到最具经济效益和社会效益的方案。
在比选过程中,我们可以综合考虑各个方案的投资回报率、成本效益、项目周期等指标,从而选择到最佳方案,提高项目效益。
四、增强项目透明度方案比选可以增强项目的透明度。
通过对不同方案的比较和评估,我们可以将各个方案的优缺点公开透明地呈现给项目相关人员,从而增加决策的公正性和合理性。
透明的比选过程可以帮助各方更好地理解选择最佳方案的理由,减少不必要的争议和猜测,提高项目的可信度和可接受度。
五、促进创新与改进方案比选可以促进创新与改进。
通过对不同方案的比较和评估,我们可以发现各个方案的创新点和改进空间。
比选过程中,我们可以鼓励团队成员提出新的想法和建议,从而促进创新和改进。
选择最佳方案不仅仅是为了解决问题,更是为了不断提升和完善项目。
六、提高团队合作与沟通方案比选可以提高团队合作与沟通。
在比选过程中,各个团队成员需要共同参与讨论、评估和决策。
方案比选的意义是什么标题:方案比选的意义是什么一、引言方案比选是指在多个备选方案中进行评估和选择的过程。
在现代社会中,各行各业都需要进行方案比选,无论是企业的战略规划,还是政府的政策制定,都需要通过比选来选择最优的方案。
本文将探讨方案比选的意义及其重要性。
二、提高决策质量方案比选是一种科学的决策工具,能够帮助决策者从多个备选方案中选择最佳的解决方案。
通过比选的过程,可以对每个备选方案进行全面的评估和分析,包括方案的可行性、风险性、可持续性等。
通过比选,决策者可以更加客观地评估各个方案的优劣,从而提高决策的准确性和决策结果的质量。
三、降低决策风险在面临多个备选方案时,决策者往往面临着较大的不确定性和风险。
通过方案比选,可以将不同方案的风险和潜在问题进行比较和评估,从而降低决策的风险。
比选过程中,可以通过对每个备选方案的风险进行量化和评估,找出最具有风险控制能力的方案。
这样,在实施过程中可以更好地应对风险,减少潜在的损失和不确定性。
四、提高资源利用效率方案比选可以帮助决策者更好地配置和利用资源。
通过对备选方案的比较和评估,可以找出最合适的方案,从而更有效地利用有限的资源。
比选过程中,可以对资源的需求和利用效率进行评估,选择出最能够满足需求,并且能够最大化利用资源的方案。
这样,可以避免资源的浪费和不必要的投入,提高资源利用效率。
五、促进持续创新和发展方案比选可以促进持续创新和发展。
通过比选的过程,可以对不同方案的创新性和发展潜力进行评估和比较,找出最有潜力的方案并予以支持。
比选过程中,可以对方案的创新性、前瞻性和可持续性进行评估,选择出具有较高创新潜能和发展前景的方案。
这样,可以鼓励各方面的创新,并促进持续的发展。
六、提高组织效益和竞争力方案比选对于组织的效益和竞争力有着重要的影响。
通过比选的过程,可以选择最佳的方案,并通过实施和监控来优化方案的执行效果。
比选过程中,可以对方案的效果进行评估和预测,找出最能够提高组织效益和竞争力的方案。
方案比选的目的和意义方案比选的目的和意义方案比选是指在制定计划或解决问题时,通过对多个可行方案进行比较和评估,选择最优解决方案的过程。
方案比选在职业策划师的工作中具有重要的地位和意义。
本文将从六个方面详细探讨方案比选的目的和意义。
一、确保项目目标的实现方案比选的主要目的是确保项目目标的实现。
在制定计划或解决问题时,往往存在多种可行的方案。
通过对这些方案进行比较和评估,可以选择最能够实现项目目标的方案。
只有选择了最优解决方案,才能确保项目能够按计划顺利进行,达到预期的目标。
二、提高决策的科学性和客观性方案比选可以提高决策的科学性和客观性。
在制定计划或解决问题时,往往需要综合考虑各种因素和条件。
通过对多个方案进行比较,可以将多个因素和条件考虑在内,从而使决策更加科学和客观。
同时,方案比选还可以通过量化评估指标和标准,使决策更加明确和准确。
三、降低风险和提高效率方案比选可以降低风险和提高效率。
在制定计划或解决问题时,往往需要考虑风险和效率的关系。
通过对多个方案进行比较和评估,可以找出风险最小、效率最高的方案,从而降低风险,提高效率。
同时,方案比选还可以通过对各个方案进行优劣对比,找出问题所在,从而优化方案,提高效率。
四、促进团队合作和沟通方案比选可以促进团队合作和沟通。
在制定计划或解决问题时,往往需要多个人员共同参与,进行合作和沟通。
通过对多个方案进行比较和评估,可以让团队成员充分参与,发挥各自的专长,形成共识和协作,从而促进团队合作和沟通。
五、提高方案实施的可行性和可持续性方案比选可以提高方案实施的可行性和可持续性。
在制定计划或解决问题时,往往需要考虑方案的可行性和可持续性。
通过对多个方案进行比较和评估,可以找出最适合实施的方案,从而提高方案的可行性。
同时,方案比选还可以考虑方案的长期影响和可持续性,从而确保方案在实施过程中能够持续有效。
六、提升职业策划师的专业能力和影响力方案比选可以提升职业策划师的专业能力和影响力。
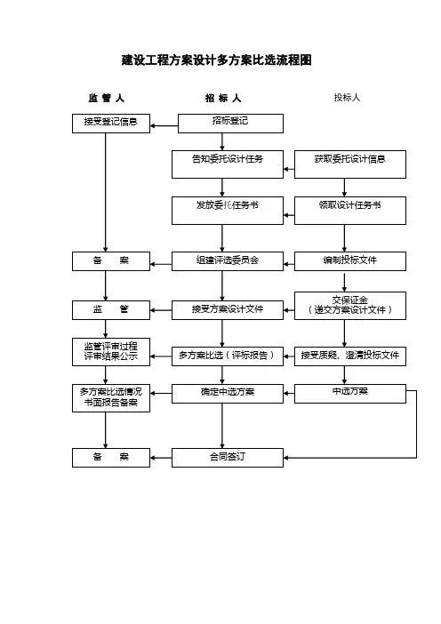
建设工程方案设计多方案比选流程图
监管人招标人投标人
多方案比选:
一、登记备案需提供资料
1、立项批复文件(复印件1份);
2、规划选址意见书及附图(复印件1份);
3、设计任务委托书(1份)
4、设计招标登记表(一式三份)
5、评标专家抽取申请表(一式三份)
6、建设单位法人资格证明(复印件1份);
7、企业章程(复印件1份);
8、验资报告(复印件1份);
9、委托设计单位资质证书复印件(复印件1份);
若委托代理招标需提供代理协议和代理单位资质复印件(各1份)
二、评标结果备案需提供资料
1、专家评审意见表
2、专家组评审意见表(专家评审意见汇总)
3、专家投票表
4、专家投票汇总表
5、选中方案(文本)
三、设计合同备案。
方案比选的方法有哪几种方案比选的方法有哪几种一、引言方案比选是指在一定的条件下,根据需求方的要求和标准,从众多方案中选择出最合适的方案。
在现代社会,方案比选已经成为各行各业中常见的工作,对于提高工作效率和质量有着重要的作用。
本文将介绍方案比选的方法,并探讨每种方法的优缺点,以期为相关专业人士提供参考和指导。
二、方法一:评分法评分法是最常见且简单的方案比选方法之一。
首先,制定评分标准,根据方案的特点和需求方的要求确定不同的评分维度。
然后,针对每个维度,给出不同分数的评价,最后将所有维度的分数加权求和得出最终的得分。
根据得分的高低,选择得分最高的方案作为最终选定方案。
评分法的优点是简单易行,能够快速得出方案的得分和排序。
然而,评分法也存在一些缺点。
首先,评分标准的确定可能存在主观性,不同人对同一方案可能有不同的评价。
其次,加权求和的方式可能导致某些维度的得分过于重要,忽略了其他重要的因素。
因此,在使用评分法时,需要确保评分标准的客观性和全面性。
三、方法二:层次分析法层次分析法是一种较为复杂但相对准确的方案比选方法。
该方法将方案比选问题分解为多个层次,通过对每个层次的权重和得分进行比较,最终得出最佳方案。
首先,建立层次结构,确定上下层次之间的关系。
然后,对每个层次的因素进行评估,并确定它们之间的相对重要性。
接下来,通过判断每个因素对于各个层次的重要程度,计算出各个方案在各个层次上的权重。
最后,根据权重的加权求和,得出最佳方案。
层次分析法的优点是能够更全面地考虑各个因素的重要性,并给出相对准确的结果。
但该方法需要进行多个层次的比较和计算,较为繁琐,需要较高的专业知识和技能。
四、方法三:多属性决策法多属性决策法是一种综合考虑多个因素的方案比选方法。
该方法将方案的每个属性转化为一个决策因素,通过对这些决策因素进行评估和加权求和,得出最佳方案。
首先,确定方案的属性和决策因素。
然后,对每个决策因素进行评估,并确定其权重。
方案比选要求方案比选是在多个方案中进行选择和比较,以确定最终的方案。
在进行方案比选时,需要考虑多种要求和因素,以便评估和判定方案的优劣。
以下是进行方案比选时需要考虑的一些要求。
一、可行性要求1.技术可行性:方案应当具备实现的技术可行性,即所需技术、设备、材料和人力是否能够满足实现要求。
2.经济可行性:方案的实施需要相应的投资费用,在进行方案比选时需要综合考虑方案的经济可行性,即是否能够实现预期的经济效益。
3.社会可行性:方案应当考虑社会的可接受性,即是否符合社会的期望和需求,是否对社会环境和公共利益产生负面影响。
二、实施要求1.实施难度:方案比选需要考虑实施方案是否易于实现,即实施难度问题。
2.实施时间:在比选方案时也需要考虑实施所需的时间,是否与项目的进展计划相符。
3.协作能力:方案实施是团队合作的过程,所以在方案比选时也要考虑方案的协作能力。
即团队配合是否良好,能否保证方案的质量和进度。
三、风险控制要求1.安全风险控制:方案比选中需要考虑风险控制问题,包括人身安全和设备安全等方面。
选择方案时需要综合考虑并做好风险控制措施。
2.质量风险控制:方案比选也需要考虑质量风险控制问题,即方案实施中是否会出现质量问题,如何提供有效措施以降低其风险。
3.管理风险控制:方案比选还需要考虑管理风险控制问题,包括如何制定有效的管理计划,以及如何进行监督和反馈,确保方案的实施顺利进行。
以上是进行方案比选时需要考虑的一些要求和因素。
在实施方案比选时,需要全面、客观地评估比选方案,以尽可能的满足项目的需求和目标。
同时,也需要注意杜绝主观性、片面性和不客观性的问题,以便最终选出最优方案。
方案比选的意义是什么怎么写方案比选的意义是什么怎么写一、引言方案比选是指在项目或活动策划过程中,根据特定的目标和要求,从多个方案中选择最适合的方案的过程。
方案比选的意义在于为策划者提供了更全面、客观的评估依据,保证策划方案的质量和效果。
本文将从方案比选的意义、方案比选的步骤和方法、方案比选的注意事项等方面进行详细叙述。
二、方案比选的意义1. 提高策划效果:通过多个方案的比较,可以找到最能满足目标要求的方案,从而提高整体策划效果。
2. 降低风险:方案比选可以帮助策划者充分评估各方案的优劣势,避免盲目决策,减少项目失败的风险。
3. 增加创新性:多个方案的比较可以激发创意和创新思维,帮助策划者寻找出最具创造性的方案。
4. 提高决策公正性:方案比选可以避免个人主观意见对方案评估的影响,保证决策的公正性和客观性。
三、方案比选的步骤和方法1.明确项目目标和要求:在进行方案比选前,策划者需要明确项目的目标和要求,包括预算、时间、资源等方面的限制条件。
2.制定评价指标:根据项目的特点和需求,制定相应的评价指标,如创意性、可行性、可持续性、经济性等方面的指标。
3.收集方案信息:收集各方案的详细信息,包括方案的内容、实施步骤、预期效果等方面的信息。
4.评估各方案:根据制定的评价指标,对各方案进行评估和打分,同时考虑各个指标的权重和重要性。
5.总结比较结果:整理各方案的评估结果,对比各个方案的优缺点,并选取最优的方案作为最终决策的基础。
6.沟通和讨论:将比选结果与相关人员进行沟通和讨论,听取不同意见和建议,确保决策的合理性和可行性。
四、方案比选的注意事项1.客观公正:在进行方案比选时,策划者要尽量客观公正地评估各方案,避免个人偏见的影响。
2.全面考虑:综合考虑各方案的优势和劣势,不仅仅只看重某一个或几个方面的指标。
3.充分沟通:在方案比选过程中,要与相关人员进行充分的沟通和讨论,听取不同意见和建议,以获得更全面的评估结果。
方案比选的方法有哪几种形式方案比选的方法有哪几种形式一、方案比选的概述方案比选是指在项目或任务进行之前,通过对各种方案进行评估、比较和选择,以确定最合适的方案。
在实际工作中,方案比选是一个重要且复杂的过程,需要综合考虑项目需求、资源情况、风险因素等多个因素来进行决策。
本文将介绍方案比选的方法有哪几种形式,并针对每种形式进行详细展开。
二、方法一:矩阵评估法矩阵评估法是一种常用的方案比选方法,它通过建立一个评估矩阵,将各个方案的关键指标和权重进行量化,并进行评分。
评估矩阵通常由多个指标行和多个方案列组成,评估者根据权重和评分标准,对每个指标进行评估,并计算出总分。
最终选择总分最高的方案作为最佳方案。
矩阵评估法具有简单、直观、能够量化评估指标等优点,但也存在指标权重难确定、评分主观性等问题。
三、方法二:专家决策法专家决策法是一种依靠专家判断和经验进行方案比选的方法。
在这种方法中,由一组专家对各个方案进行评估和排序,然后根据专家的意见和建议,选择最合适的方案。
专家决策法适用于对方案的专业性要求较高、评估指标难以量化的情况。
但需要注意的是,专家决策法容易受到主观因素的影响,因此需要选择有丰富经验和专业知识的专家,并通过多个专家的评价取得一致性。
四、方法三:成本效益分析法成本效益分析法是一种将成本和效益进行比较的方案比选方法。
在这种方法中,通过对各个方案的成本和效益进行估算和计算,得出每个方案的成本效益比,从而选择最佳方案。
成本效益分析法适用于对成本敏感、效益明显的项目,能够有效地比较不同方案的经济效果。
但需要注意的是,成本效益分析法可能会忽略一些非经济因素,如社会影响、环境影响等。
五、方法四:决策树分析法决策树分析法是一种通过构建决策树来进行方案比选的方法。
在这种方法中,将方案的各个决策节点和结果节点以树状结构进行排列,并通过计算每个节点的权重和概率,得出每个方案的期望值。
最终选择期望值最高的方案作为最佳方案。
多方案比选 出自 MBA智库百科() 什么是多方案比选 在实践中,往往面临许多项目的选择,每个项目又会有很多方案,这些方案或是采用不同的技术工艺和设备,或是有不同的规模和坐落位置,或是利用不同的原料和半成品等。当这些方案在技术上都可行,经济上也都合理时,经济分析的任务就是从中选择最好的方案。
多方案比选就是指对根据实际情况所提出的多个备选方案,通过选择适当的经济评价方法与指标,来对各个方案的经济效益进行比较,最终选择出具有最佳投资效果的方案。
多方案比选的特点 多方案比选时,各方案之间通常有三种关系。 1、各方案之间互不相容、互相排斥的关系。 2、相关关系,任一方案的取舍会对其他方案取舍有影响。 3、各方案现金流量是不相关联的,各自具有独立性。 多方案比选的考虑内容 多方案比选,要考虑的内容如下: 1、备选方案的筛选,剔除不可行的方案。因为不可行的方案是没有资格参加方案比选的。备选方案的筛选实际上就是单方案检验,利用经济评价指标的判断准则来剔除不可行的方案。 2、进行方案比选时所考虑的因素。多方案比选可按方案的全部因素来计算多个方案的全部经济效益与费用,进行全面的分析对比,也可以就各个方案的不同因素计算其相对经济效益和费用,进行局部的分析对比。另外还要注意各个方案间的可比性,要遵循效益与费用计算口径和一致的原则。
3、各个方案的结构类型。对于不同结构类型的方案要选用不同的比较方法和评价指标,考察的结构类型所涉及的因素有:方案的计算期是否相同,方案所需的资金来源有否限制,方案的投资额是否相差过大等。
多方案比选是一个复杂的系统工程,涉及到许多的因素,这些因素不仅包括经济因素,而且还包括诸如项目本身以及项目内外部的其他相关因素。如产品市场、市场营销、企业形象、环境保护、外部竞争、市场风险等,只有对这些因素进行全面的调查研究与深入分析,再结合项目经济效益分析的情况,才能比选出最佳方案,才能做出科学的投资决策。
多方案比选的案例分析[1] 案例:环境影响评价中多方案比选 环境影响评价中多方案比选是指对于所考虑的每一个可供选择的替代方案遵循一定原则进行技术经济可行性的比较,并预测或评估其对环境可能造成的影响及消除不利影响拟采取的污染防治措施,进而比选出技术可行、经济合理及环境影响程度最低的方案的方法。
1.环境影响评价中多方案比选内容 多方案比选主要是针对建设项目而言,它包括:工艺多方案比选、规模多方案比选、选址多方案比选、以及污染防治措施多方案比选等。 而对每一个方案的评价包括概略评价和详细评价2个阶段。无论是概略评价还是详细评价,都包括技术评价、经济评价、社会评价和环境评价4个方面的内容。
2.环境影响评价中多方案比选的步骤、方法 环境影响评价中多方案比选一般先进行多方案的技术经济评价和社会环境评价,再进行多方案的综合评价,最后优选出最佳方案。
(1)技术经济评价方法 技术经济评价方法是根据不同的情况和具体条件,通过若干从不同方面说明方案技术经济效果的指标,对完成同一任务的几个技术方案进行计算、分析和比较,从中选出最优方案的方法。技术经济评价方法按寿命期相同分为净现值法、差额内部收益率法、最小费用法等;按寿命期不相同分为年值法、最小公倍数法、研究期法等。
1)净现值法 A.表达式
。 式中,NPV——净现值; CI——现金流入量; CO——现金流出量; (CI ? CO)t——第t年的净现金流量; n——计算期; ic——标准折现率 B.净现值的判别准则 a.NPV>0,方案可行 b.NPV=0,方案考虑接受 c.NPV<0,方案不可行 C.基本步骤 a.分别计算各个方案的净现值,并用判别准则加以检验,剔除NPV<0的方案。
b.对所有 的方案比较其净现值。
c.根据净现值最大准则,选择净现值最大的方案为最佳方案。 2)差额内部收益率法 A.表达式
式中, ——差额投资内部收益率;
(CI ? CO)2——投资大的方案净现金流量; (CI ? CO)1——投资小的方案净现金流量。 B.基本步骤 a.分别计算各个方案的IRR。 b.将 的方案按投资额由小到大依次排列。计算排在最前面的2个方案的差额收益率 ,若 ,则说明投资大的方案优于投资小的方案。反之,若 ,投资小的方案优于投资大的方案。
c.将保留的较优方案分别与相邻方案两两比较,最后保留的方案为最佳方案。
3)最小费用法 最小费用法适用于项目所产生的效益无法或很难用货币直接计量,即得不到项目具体现金流量的情况。它包括费用现值比较法和年费用比较法。
A.费用现值(PC)比较法此方法为净现值法的1个特例,计算各备选方案的费用现值(PC)并进行对比,以费用现值较低的方案为最佳。其表达式为:
。 式中,(P / F,ic,t)——现值系数; P——现值; F——终值; 其它符号同上。 B.年费用(AC)比较法 这是通过计算各备选方案的等额年费用(AC)并进行比较,以年费用较低的方案为最佳方案的一种方法,其表达式为:。
式中,A / P,ic,n)——资金回收系数; A——年金; n——计息次数; 其它符号同上。 采用上述2种方法所得出的结论是完全一致的,因此在实际应用中对于效益相同或基本相同但又难以估算的互斥方案进行比选时,若方案的寿命期相同,则任意选择其中的一种方法即可。若方案的寿命期不相同,则一般适用年费用比较法。
4)年值法(AW) A.表达式
B.基本步骤: a.分别计算各个方案的净现金流量的年值(AW)并进行比较。 b. 的方案依次排列,AW最大者为最优方案。
5)最小公倍数法 又称方案重复法,是以各方案寿命期的最小公倍数作为进行方案比选的共同的计算期,并假设它们均在这个计算期内重复进行,重复计算各方案计算期内各年的净现金流量,得出在共同的计算期内各个方案的净现值,以净现值较大的方案为最佳方案。
6)研究期法(最小计算期法) 针对寿命期不相等的互斥方案,直接选取一个适当的分析期作为各个方案共同的计算期(一般选取诸方案中最短的计算期),通过比较各个方案在该计算期内的净现值来对方案进行比选。以净现值最大的方案为最佳方案。其计算步骤、判别准则与净现值法一致。
(2)社会环境评价方法 社会环境定量评价方法就是将社会环境成本以货币的形式进行计量。常用的评价技术主要有:市场价值法、机会成本法、恢复与防护费用法、影子工程法、人力资本法、意愿调查法。
1)市场价值法(即生产率法) 这种方法把环境看成是生产要素。环境质量的变化导致生产率和生产成本的变化,从而导致产量和利润的变化。而产品的价值利润是可以用市场价格来计量的。市场价值法就是利用因环境质量变化(或生态变化)引起的产量和利润的变化来计量环境质量变化(或生态变化)的经济效益或经济损失。 根据不同方案的经济效益或经济损失的大小排列,最大的为最佳方案。 2)机会成本法 社会环境资源是有限的(稀缺的)。同时,社会环境资源具有多种用途,选择了一种使用机会就放弃了另一种使用机会,也就失去了其它获得效益的机会,计算出各方案的社会环境资源的机会效益,获得的最大经济效益的方案就是最佳方案。
利用机会成本法计算社会环境成本是一个简便而可行的方法。例如,某市水资源的机会成本为15元/吨,若该市因水环境污染而导致城市缺水2×108吨,则该市水环境污染的损失(即社会环境成本)为
元。
3)恢复与防护费用法 不同方案可能带来不同的环境问题:一方面,可以采取一定的防护措施来防止环境问题出现;另一方面,出现环境问题后,采取一定的措施(恢复措施)解决环境问题,恢复环境原貌。对各方案中防护措施和恢复措施所花费的费用进行估算,作为方案带来环境问题损失的最低估计值,估计值越低的方案越佳。
4)影子工程法 影子工程法是恢复费用法的一种特殊形式,当环境破坏后,用人工方法建造一新工程来替代原来生态环境系统的功能,然后用建造新工程所需的费用来估计环境污染(或破坏)造成经济损失的一种计量方法。对各方案的M_i进行排序,Mi越小,方案越佳。上述计算方法的通式为:Mi = fi(Ci,Ei,Di,Z)式中,Mi——某方案造成的经济损失值;Ci——计算公式中的单位换算系数;Ei——该方案损失有关的价格系数;Di——该方案造成环境破坏的量值; ——与各项破坏有关的参变量。 5)人力资本法 环境问题会对人类健康造成严重的影响,如疾病发病率和死亡率上升对人们心理的不良影响等等。根据人力资本法,环境问题对人类健康的损失包括:(1)直接损失,主要包括医疗费和丧葬费;(2)间接损失,由于过早死亡、生病以及非医护人员护理而减少了正常的劳动时间,也就减少了收入,这就是环境问题对人体健康的间接损失。如胡涛等运用人力资本法计算出1993年重庆市大气污染造成的人体健康损失为5.241亿元。
6)意愿调查法 意愿调查法包括投标博奕法、比标博奕法、无费用选择法、优先评价法。意愿调查法就是将各方案涉及的社会环境问题设计成1个调查表,然后选择一定数量的调查对象进行问卷调查。最后通过对调查表的统计分析,计算出各方案的社会环境成本,成本越低、方案越佳。
(3)综合评价方法 1)多属性效益法 多属性效益法是利用决策者的偏好信息,构造一个价值函数,以此将决策者的偏好数量化,然后根据各个方案的价值函数进行评价和排序,从而找出带决策者偏好的优化结果。此法假设条件较多,并受决策者主观偏好的影响,因而应用较少。
2)字典序数法