药品生产典型工艺流程框图
- 格式:docx
- 大小:403.73 KB
- 文档页数:9
1 / 7GMP 车间生产流程图一、药品生产主流程图:验证、选型二、物料供应流程图:1、定点供应商确认流程图:供应商的质检报告供应商基本请验单物料定点供应商的确认物料定点采购物料入库物料贮存物料发放供应商的资质考察样品检验小批量供应商质量认证审核报合归不合归档2、物料定点采购流程图核实制定签订进行依据订单交库房办理退货单3 、物料入库流程图采购订单请验单来料合格证取样证检验指令单供应商检验报告取样记录分样记录合格不合格4、物料贮存流程图填写合格不合结入定点应商名合格供取消定点供入取消定点供应商名册物料定库存量生产计划物料采购来料清点核对物料入库清单物料入库入库前准备样品分样检验结果供应科退货办入库库单定期复审物料供应计划定点供应订单物料进厂编号定期盘存复查请验单(复检)物料复验检验报告合格否物料报损单不合格品处理报告不合格品销毁记录物料贮存物料发放原辅料留样供应商收料记录称量记录库存货位卡温湿度记录物料入库总帐物料分类台帐检验记录. 检验报告不合格质检报告单不合格证合格质检报告单合格证3 / 7格5、物料发放流程图下台帐发料准备限额发料清点核对签字记帐生产车间储运科物料监控记限期整顿通知单物料停止发放证留样记留样观察记录包装指令领料单标签、说明书发放记录物料发料记录4 / 7三、工艺用水系统流程图不合格不合格合格四、人员卫生和工艺卫生流程图定期验证验证报告查原因改进工艺或设备再验证制水工艺用水检测报告生产车间工艺用水制备系统验验证记录车间检测记录质检定期检测记5 / 7五、厂房设施空调系统流程图6 / 7六、设备管理流程图精选文档七、药品生产和质量控制过程流程图。
瓶装输液车间1、氯化钠注射液工艺流程图:搅拌溶解煮沸+ ————→15ˊ过滤脱炭过滤脱炭————→ + —————→测pH含量115℃——→ ——→30ˊ——→ ——→氯化钠注射液生产过程质量控制要点:2、葡萄糖注射液工艺流程图:煮沸+ + 煮沸+ 15ˊ过滤脱炭测pH值含量115℃30ˊ葡萄糖注射液生产过程质量控制要点:3、葡萄糖氯化钠注射液工艺流程图:煮沸+ 15ˊ过滤脱炭测pH值含量115℃30ˊ葡萄糖氯化钠注射液生产过程质量控制要点:4、复方氨基酸注射液(15AA)工艺流程图:复方氨基酸注射液(15AA)生产过程质量控制要点:5、复方氨基酸注射液(18AA)工艺流程图:复方氨基酸注射液(18AA)生产过程质量控制要点:6、复方氨基酸注射液(18AA)30g工艺流程图:复方氨基酸注射液(18AA)30g生产过程质量控制要点:7、甘露醇注射液工艺流程图:煮沸搅拌溶解+ +煮沸30 ˊ过滤脱炭过滤脱炭+泵至稀配锅测PH含量120℃40ˊ甘露醇注射液生产过程质量控制要点:8、甲硝唑氯化钠注射液工艺流程图:+ +过滤脱炭+测PH含量115℃30ˊ甲硝唑氯化钠注射液生产过程质量控制要点:9、氧氟沙星葡萄糖注射液工艺流程图:搅拌溶解煮沸+15ˊ冷却至30℃搅拌————→NaOH溶液乳酸过滤———————→调节PH4.0-5.0116℃———→ ———→ ———→ 30ˊ氧氟沙星葡萄糖注射液生产过程质量控制要点:10、硫酸依替米星氯化钠注射液工艺流程图:硫酸依替米星氯化钠注射液生产过程质量控制要点:软包装输液车间1、氯化钠注射液工艺流程图:搅拌溶解煮沸+15ˊ过滤脱炭过滤脱炭+测pH含量115℃30ˊ氯化钠注射液生产过程质量控制要点:2、葡萄糖注射液工艺流程图:煮沸+ + 煮沸+ 15ˊ过滤脱炭测pH值含量葡萄糖注射液生产过程质量控制要点:3、葡萄糖氯化钠注射液工艺流程图:煮沸+ 15分钟过滤脱炭测pH值含量葡萄糖氯化钠注射液生产过程质量控制要点:4、甲硝唑氯化钠注射液工艺流程图:搅拌溶解+ +过滤脱炭115℃+测PH含量30ˊ甲硝唑氯化钠注射液生产过程质量控制要点:小容量注射液车间1、苯甲醇注射液工艺流程图:搅拌至溶解测PH值+ +(必要时加热)测含量100℃30ˊ苯甲醇注射液生产过程质量控制要点:2、酚磺乙胺注射液工艺流程图:+测PH值酚磺乙胺注射液生产过程质量控制要点:3、肌苷注射液工艺流程图:加热微沸边加边搅拌搅拌调PH值+85℃保温30分钟测定含量通N100℃+30ˊ肌苷注射液生产过程质量控制要点:4、氟罗沙星注射液工艺流程图:加热至85-90℃+搅拌80℃保温30溶解冷却至45℃100℃30ˊ氟罗沙星注射液生产过程质量控制要点:5、甲钴胺注射液工艺流程图:+ + +甲钴胺注射液生产过程质量控制要点:6、利巴韦林注射液工艺流程图:搅拌后搅拌溶解+ +过滤测PH 至澄明100℃含量30ˊ利巴韦林注射液生产过程质量控制要点:7、硫酸阿米卡星注射液:充N2 30ˊ搅拌15~20℃搅拌搅拌均匀测PH值+药液温度≤20℃用NaOH调PH值通N2 搅拌15ˊ100℃+静止15ˊ30ˊ硫酸阿米卡星注射液生产过程质量控制要点:8、硫酸奈替米星注射液工艺流程图:通氮气20ˊ溶解后+ +搅拌均匀+ + 搅拌20ˊ105℃静置10ˊ20ˊ硫酸奈替米星注射液生产过程质量控制要点:9、硫酸庆大霉素注射液工艺流程图:+30ˊ硫酸庆大霉素注射液生产过程质量控制要点:10、硫酸小诺霉素注射液工艺流程图:搅拌+ +搅拌30ˊ充氮100℃+30ˊ硫酸小诺霉素注射液生产过程质量控制要点:11、门冬氨酸洛美沙星注射液工艺流程图:加热搅拌60℃保温+ +溶解溶解吸附30ˊ冷至45℃澄明100℃30ˊ门冬氨酸洛美沙星注射液生产过程质量控制要点:。
GMP 车间生产流程图
一、药品生产主流程图:
二、物料供应流程图:
1、定点供应商确认流程图:
供应商的质检报告
供应商基本请验单物料
情况调查表质检报告试生产单
不合格
2、物料定点采购流程图
3 、物料入库流程图
采购订单
请验单
来料合格证
取样证
检验指令单
供应商检验报告 取样记录 分样记录
4、物料贮存流程图
不 合 格
5、物料发放流程图
下台帐
三、工艺用水系统流程图
不合格
不合格四、人员卫生和工艺卫生流程图
五、厂房设施空调系统流程图
否
六、设备管理流程图
______________________________________________________________________________________________________________
精品资料
精品资料
七、药品生产和质量控制过程流程图
否
销
毁
合
精品资料
格
否
Welcome To Download !!!
精品资料
欢迎您的下载,资料仅供参考!
精品资料
Welcome To Download !!!
欢迎您的下载,资料仅供参考!
精品资料。
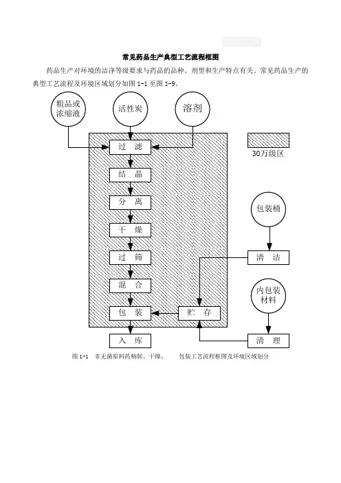
常见药品生产典型工艺流程框图
药品生产对环境的洁净等级要求与药品的品种、剂型和生产特点有关。
常见药品生产的典型工艺流程及环境区域划分如图1-1至图1-9。
图1-1 非无菌原料药精制、干燥、包装工艺流程框图及环境区域划分
图1-2 无菌原料药精制、干燥、包装工艺流程框图及环境区域划分
图1-3 片剂生产工艺流程框图及环境区域划分
图1-4 硬胶囊剂生产工艺流程框图及环境区域划分
图1-5 压制法软胶囊剂生产工艺流程框图及环境区域划分
图1-6 可灭菌小容量注射剂生产工艺流程框图及环境区域划分
图1-7 可灭菌大容量注射剂生产工艺流程框图及环境区域划分
图1-8 注射用无菌分装产品生产工艺流程框图及环境区域划分
图1-9 注射用冷冻干燥制品生产工艺流程框图及环境区域划分。
各制剂工艺流程图1 、片剂生产工艺流程图2、颗粒剂生产工艺流程图3、胶囊剂生产工艺流程图4、合剂生产工艺流程图5、糖浆剂生产工艺流程图6, 丸剂生产工艺流程图2 、工艺流程说明2 . 1 、前处理工艺流程说明外购的药材经过挑、选、检、去杂质及非药用部位后,川选药机或不绣钢洗药池,将药材上的泥土、灰尘洗净,根据不同品种的要求湿润,以达到提取、榨油、细粉的标准。
用J 六提取的药材,采取切割的方法切片,后经多层带式}气燥机干燥,中药粉碎机粉碎,筛分得到合格粒度的药材,送到净药库。
用J 屯榨油的药材,经多层带式干燥机干燥后,直接送去榨汕。
榨油前,按配方要求混合,用中药粉碎机粗碎,经蒸汽湿润后进入螺旋榨油机榨油,榨出的油经过过滤,再送到综合伟lJ 剂车间。
用一于细粉的药材切片,经多层带式十燥机十燥后,送到双扇灭菌柜灭菌,再用高效粉碎机组和震荡筛粉碎,筛分合格后包装,转入综合制剂车间。
2 . 2 、热回流提取工艺流程说明来自净药库的药材,按配方配料,加入乙醇,用热回流抽提机组进行第· 次醉提,过滤后剩余的药渣,加上辅料,再进行次水提,使有效成分尽量提出。
醇体液静置后过滤,除去杂质,减压浓缩,回收乙醉,并得到醇提浸膏。
水提液静置后过滤,除去杂质,减压浓缩,并得到水提浸膏。
将醇提浸膏与水提浸膏混合,采用可倾式反应锅浓缩,得到稠浸膏,用周转桶送到综合制剂车间。
2 .3 、片剂工艺流程说明原料和辅料经过粉碎过筛,达到要求细度后,按配方称取配料。
配制好的物料,根据需要混合制粒、干燥、整粒、总棍后,再压片、包衣、抛光,经检验合格,按规定包装,送入成品库房。
2 . 4 、合剂工艺流程说明原料和辅料按处方称量后,加入纯化水配制成药液,经力热煮沸、冷却、过滤后,再灌装和轧盖,经过蒸汽检漏、晾瓶、灯检、贴签,检验合格后,装箱送入成品库房。
2 . 5 、糖浆剂工艺流程说明将原料和辅料按处方称量后,加入纯化水配制成药液,经力热煮沸、冷却、过滤、调整浓度后,再灌装和轧盖,经过幻检、贴签,检验合格后,装箱送入成品库房。
瓶装输液车间1、氯化钠注射液工艺流程图:++含量 115℃30ˊ——→ 氯化钠注射液生产过程质量控制要点:2、葡萄糖注射液工艺流程图:+ + 葡萄糖注射液生产过程质量控制要点:3、葡萄糖氯化钠注射液工艺流程图:+ 葡萄糖氯化钠注射液生产过程质量控制要点:4、复方氨基酸注射液(15AA)工艺流程图:复方氨基酸注射液(15AA)生产过程质量控制要点:5、复方氨基酸注射液(18AA)工艺流程图:复方氨基酸注射液(18AA)生产过程质量控制要点:6、复方氨基酸注射液(18AA)30g工艺流程图:复方氨基酸注射液(18AA)30g生产过程质量控制要点:7、甘露醇注射液工艺流程图:+ ++甘露醇注射液生产过程质量控制要点:8、甲硝唑氯化钠注射液工艺流程图:+ + + 测 115℃30ˊ甲硝唑氯化钠注射液生产过程质量控制要点:9、氧氟沙星葡萄糖注射液工艺流程图:+乳酸过滤———————→ 调节PH4.0-5.0 116℃———→ ———→ ———→ 30ˊ氧氟沙星葡萄糖注射液生产过程质量控制要点:10、硫酸依替米星氯化钠注射液工艺流程图:硫酸依替米星氯化钠注射液生产过程质量控制要点:软包装输液车间1、氯化钠注射液工艺流程图:+ + 含量 115℃30ˊ氯化钠注射液生产过程质量控制要点:2、葡萄糖注射液工艺流程图:+ + 115℃ ˊ 葡萄糖注射液生产过程质量控制要点:3、葡萄糖氯化钠注射液工艺流程图:+ 115℃ ˊ 葡萄糖氯化钠注射液生产过程质量控制要点:4、甲硝唑氯化钠注射液工艺流程图:+ ++ 测甲硝唑氯化钠注射液生产过程质量控制要点:小容量注射液车间1、苯甲醇注射液工艺流程图:搅拌至溶解测PH 值(必要时加热)测含量100℃30ˊ苯甲醇注射液生产过程质量控制要点:2、酚磺乙胺注射液工艺流程图:+ 30ˊ酚磺乙胺注射液生产过程质量控制要点:3、肌苷注射液工艺流程图:加热微沸边加边搅拌搅拌调PH 值85℃保温30分钟 测定含量通N 2100℃ + 30ˊ肌苷注射液生产过程质量控制要点:4、氟罗沙星注射液工艺流程图:85-90℃+ 30ˊ30ˊ氟罗沙星注射液生产过程质量控制要点:5、甲钴胺注射液工艺流程图:100℃30ˊ甲钴胺注射液生产过程质量控制要点:6、利巴韦林注射液工艺流程图: 搅拌后搅拌溶解过滤测PH 至澄明100℃含量30ˊ利巴韦林注射液生产过程质量控制要点:7、硫酸阿米卡星注射液:温度15~20℃+药液温度≤20℃用NaOH 调PH 值℃+ˊ硫酸阿米卡星注射液生产过程质量控制要点:8、硫酸奈替米星注射液工艺流程图:通氮气20+静置硫酸奈替米星注射液生产过程质量控制要点:9、硫酸庆大霉素注射液工艺流程图:硫酸庆大霉素注射液生产过程质量控制要点:10、硫酸小诺霉素注射液工艺流程图:搅拌+ 搅拌30ˊ充氮 100℃硫酸小诺霉素注射液生产过程质量控制要点:11、门冬氨酸洛美沙星注射液工艺流程图: 加热搅拌 60℃保温+ + 溶解溶解吸附30ˊ 冷至45℃澄明100℃30ˊ门冬氨酸洛美沙星注射液生产过程质量控制要点:12、灭菌注射用水工艺流程图: 过滤脱炭115℃灭菌注射用水生产过程质量控制要点:13、维生素B 6注射液工艺流程图:溶解+ 调PH 值测含量 100℃30ˊ维生素B 6注射液生产过程质量控制要点:14、维生素B 12注射液工艺流程图:搅拌溶解回流+溶解15ˊ维生素B12注射液生产过程质量控制要点:15、盐酸利多卡因注射液(溶剂用)工艺流程图:测含量调PH 值30ˊ 盐酸利多卡因注射液生产过程质量控制要点:16、盐酸林可霉素注射液工艺流程图:+ +盐酸林可霉素注射液生产过程质量控制要点:17、盐酸普鲁卡因注射液工艺流程图:++ + + 盐酸普鲁卡因注射液生产过程质量控制要点:18、甲磺酸培氟沙星注射液工艺流程图:甲磺酸培氟沙星注射液生产过程质量控制要点:固体制剂车间1、安乃近片工艺流程图: 加粘合剂2、吡嗪酰胺片工艺流程图:3、呋喃妥因肠溶片工艺流程图:呋喃妥因肠溶片生产过程质量控制要点:4、格列本脲片工艺流程图:5、红霉素肠溶片工艺流程图:测含量检验测水分红霉素肠溶片生产过程质量控制要点:6、甲钴胺分散片工艺流程图:7、甲钴胺片工艺流程图:过100目筛,混合均匀过50℃--60℃甲钴胺片生产过程质量控制要点:8、甲基斑蝥胺片工艺流程图:检验9、甲硝唑片工艺流程图:检 验10、卡马西平片工艺流程图:11、诺氟沙星胶囊工艺流程图:检验12、曲匹布通片工艺流程图:检 验13、香菇菌多糖片工艺流程图:测水份香菇菌多糖片生产过程质量控制要点:14、盐酸地芬尼多片该流程图:测含量检验检验测水份盐酸地芬尼多片生产过程质量控制要点:。
常见药品生产典型工艺流程框图
药品生产对环境的洁净等级要求与药品的品种、剂型和生产特点有关。
常见药品生产的典型工艺流程及环境区域划分如图1-1至图1-9。
图1-1 非无菌原料药精制、干燥、包装工艺流程框图及环境区域划分
图1-2 无菌原料药精制、干燥、包装工艺流程框图及环境区域划分
图1-3 片剂生产工艺流程框图及环境区域划分
图1-4 硬胶囊剂生产工艺流程框图及环境区域划分
图1-5 压制法软胶囊剂生产工艺流程框图及环境区域划分
图1-6 可灭菌小容量注射剂生产工艺流程框图及环境区域划分
图1-7 可灭菌大容量注射剂生产工艺流程框图及环境区域划分
图1-8 注射用无菌分装产品生产工艺流程框图及环境区域划分
图1-9 注射用冷冻干燥制品生产工艺流程框图及环境区域划分。
各制剂工艺流程图1 、片剂生产工艺流程图2、颗粒剂生产工艺流程图3、胶囊剂生产工艺流程图4、合剂生产工艺流程图2 、工艺流程说明2 . 1 、前处理工艺流程说明外购的药材经过挑、选、检、去杂质及非药用部位后,川选药机或不绣钢洗药池,将药材上的泥土、灰尘洗净,根据不同品种的要求湿润,以达到提取、榨油、细粉的标准。
用J 六提取的药材,采取切割的方法切片,后经多层带式}气燥机干燥,中药粉碎机粉碎,筛分得到合格粒度的药材,送到净药库。
用J 屯榨油的药材,经多层带式干燥机干燥后,直接送去榨汕。
榨油前,按配方要求混合,用中药粉碎机粗碎,经蒸汽湿润后进入螺旋榨油机榨油,榨出的油经过过滤,再送到综合伟lJ 剂车间。
用一于细粉的药材切片,经多层带式十燥机十燥后,送到双扇灭菌柜灭菌,再用高效粉碎机组和震荡筛粉碎,筛分合格后包装,转入综合制剂车间。
2 . 2 、热回流提取工艺流程说明来自净药库的药材,按配方配料,加入乙醇,用热回流抽提机组进行第·次醉提,过滤后剩余的药渣,加上辅料,再进行次水提,使有效成分尽量提出。
醇体液静置后过滤,除去杂质,减压浓缩,回收乙醉,并得到醇提浸膏。
水提液静置后过滤,除去杂质,减压浓缩,并得到水提浸膏。
将醇提浸膏与水提浸膏混合,采用可倾式反应锅浓缩,得到稠浸膏,用周转桶送到综合制剂车间。
2 .3 、片剂工艺流程说明原料和辅料经过粉碎过筛,达到要求细度后,按配方称取配料。
配制好的物料,根据需要混合制粒、干燥、整粒、总棍后,再压片、包衣、抛光,经检验合格,按规定包装,送入成品库房。
2 . 4 、合剂工艺流程说明原料和辅料按处方称量后,加入纯化水配制成药液,经力热煮沸、冷却、过滤后,再灌装和轧盖,经过蒸汽检漏、晾瓶、灯检、贴签,检验合格后,装箱送入成品库房。
2 . 5 、糖浆剂工艺流程说明将原料和辅料按处方称量后,加入纯化水配制成药液,经力热煮沸、冷却、过滤、调整浓度后,再灌装和轧盖,经过幻检、贴签,检验合格后,装箱送入成品库房。
瓶装输液车间1、氯化钠注射液工艺流程图:搅拌溶解煮沸+ ————→15ˊ过滤脱炭过滤脱炭————→ + —————→测pH含量115℃——→ ——→30ˊ——→ ——→氯化钠注射液生产过程质量控制要点:2、葡萄糖注射液工艺流程图:煮沸搅拌溶解+ + 煮沸+ 15ˊ过滤脱炭测pH值含量115℃30ˊ葡萄糖注射液生产过程质量控制要点:3、葡萄糖氯化钠注射液工艺流程图:煮沸+ 15ˊ过滤脱炭测pH值含量115℃30ˊ葡萄糖氯化钠注射液生产过程质量控制要点:4、复方氨基酸注射液(15AA)工艺流程图:复方氨基酸注射液(15AA)生产过程质量控制要点:5、复方氨基酸注射液(18AA)工艺流程图:复方氨基酸注射液(18AA)生产过程质量控制要点:6、复方氨基酸注射液(18AA)30g工艺流程图:复方氨基酸注射液(18AA)30g生产过程质量控制要点:7、甘露醇注射液工艺流程图:煮沸搅拌溶解+ +煮沸30 ˊ过滤脱炭过滤脱炭+泵至稀配锅测PH含量120℃40ˊ甘露醇注射液生产过程质量控制要点:8、甲硝唑氯化钠注射液工艺流程图:+ +过滤脱炭+测PH含量115℃30ˊ甲硝唑氯化钠注射液生产过程质量控制要点:9、氧氟沙星葡萄糖注射液工艺流程图:搅拌溶解煮沸+15ˊ冷却至30℃搅拌————→NaOH溶液乳酸过滤———————→调节PH4.0-5.0116℃———→ ———→ ———→ 30ˊ氧氟沙星葡萄糖注射液生产过程质量控制要点:10、硫酸依替米星氯化钠注射液工艺流程图:硫酸依替米星氯化钠注射液生产过程质量控制要点:软包装输液车间1、氯化钠注射液工艺流程图:搅拌溶解煮沸+15ˊ过滤脱炭过滤脱炭+测pH含量115℃30ˊ氯化钠注射液生产过程质量控制要点:2、葡萄糖注射液工艺流程图:煮沸搅拌溶解+ + 煮沸+ 15ˊ过滤脱炭测pH值含量葡萄糖注射液生产过程质量控制要点:3、葡萄糖氯化钠注射液工艺流程图:煮沸+ 15分钟过滤脱炭测pH值含量葡萄糖氯化钠注射液生产过程质量控制要点:4、甲硝唑氯化钠注射液工艺流程图:搅拌溶解+ +过滤脱炭115℃+测PH含量30ˊ甲硝唑氯化钠注射液生产过程质量控制要点:小容量注射液车间1、苯甲醇注射液工艺流程图:搅拌至溶解测PH值+ +(必要时加热)测含量100℃30ˊ苯甲醇注射液生产过程质量控制要点:2、酚磺乙胺注射液工艺流程图:+测PH值酚磺乙胺注射液生产过程质量控制要点:3、肌苷注射液工艺流程图:加热微沸边加边搅拌搅拌调PH值+85℃保温30分钟测定含量通N2100℃+30ˊ肌苷注射液生产过程质量控制要点:4、氟罗沙星注射液工艺流程图:加热至85-90℃+搅拌80℃保温30溶解冷却至45℃100℃30ˊ氟罗沙星注射液生产过程质量控制要点:5、甲钴胺注射液工艺流程图:+ + +甲钴胺注射液生产过程质量控制要点:6、利巴韦林注射液工艺流程图:搅拌后搅拌溶解+ +过滤测PH 至澄明100℃含量30ˊ利巴韦林注射液生产过程质量控制要点:7、硫酸阿米卡星注射液:充N2 30ˊ搅拌15~20℃搅拌搅拌均匀测PH值+药液温度≤20℃用NaOH调PH值通N2 搅拌15ˊ100℃+静止15ˊ30ˊ硫酸阿米卡星注射液生产过程质量控制要点:8、硫酸奈替米星注射液工艺流程图:通氮气20ˊ溶解后+ +搅拌均匀+ + 搅拌20ˊ105℃静置10ˊ20ˊ硫酸奈替米星注射液生产过程质量控制要点:9、硫酸庆大霉素注射液工艺流程图:+30ˊ硫酸庆大霉素注射液生产过程质量控制要点:10、硫酸小诺霉素注射液工艺流程图:搅拌+ +搅拌30ˊ充氮100℃+30ˊ硫酸小诺霉素注射液生产过程质量控制要点:11、门冬氨酸洛美沙星注射液工艺流程图:加热搅拌60℃保温+ +溶解溶解吸附30ˊ冷至45℃澄明100℃30ˊ门冬氨酸洛美沙星注射液生产过程质量控制要点:。
常见药品生产典型工艺流程框图
药品生产对环境的洁净等级要求与药品的品种、剂型和生产特点有关。
常见药品生产的典型工艺流程及环境区域划分如图1-1至图1-9。
图1-1 非无菌原料药精制、干燥、包装工艺流程框图及环境区域划分
图1-2 无菌原料药精制、干燥、包装工艺流程框图及环境区域划分
图1-3 片剂生产工艺流程框图及环境区域划分
图1-4 硬胶囊剂生产工艺流程框图及环境区域划分
图1-5 压制法软胶囊剂生产工艺流程框图及环境区域划分
图1-6 可灭菌小容量注射剂生产工艺流程框图及环境区域划分
图1-7 可灭菌大容量注射剂生产工艺流程框图及环境区域划分
图1-8 注射用无菌分装产品生产工艺流程框图及环境区域划分
图1-9 注射用冷冻干燥制品生产工艺流程框图及环境区域划分。