满记甜品制作工艺标准附图
- 格式:doc
- 大小:1.91 MB
- 文档页数:25
蒸煮类糕点生产工艺流程图**原辅料、包材验收GB2748-2003 、(GB317-2006、GB1355-1986)、GB9687-1988GB 9683-1988蛋处理打蛋废弃物牛奶、低筋粉、白糖、)、及工艺配方要求(搅拌机、电子秤:满足GB2760**配料搅拌色拉油、泡大粉等成成型操作台、成型模)以上20--30min;年糕类:2h(蒸锅:时间**蒸制根据具体产品规格不同而制定不同工艺规范书)摊凉入库配送()为关键设备及参数.备注:**标注为关键控制工序;小西饼生产工艺流程图GB2748-2003(GB317-200GB1355-198GB 9687-198GB 9683-198、及工艺配方要GB276150--18、时15--30min230--23纵150--16GB7099-200JJF1070入库配送()为关键设备及参数.备注:**标注为关键控制工序;蛋糕生产工艺流程图**原辅料、包材验收GB2748-2003 (GB317-2006、、GB8608-1988GB9683-1988、GB 9687-1988)蛋处理打蛋废弃物面粉、白糖、牛奶、打蛋机、(及工艺配方要求)、电子秤:满足GB2760**配料搅拌泡打粉、塔塔粉等成型操作台、蛋糕坯模:根据不同工艺规范书()成型**烘烤(电热平炉:温度120--200℃、时间10--45min 根据具体产品规格不同而制定不同工艺规范书)自然冷却脱模摊凉包材消毒间:紫外3mi以GB7099-200JJF1070入库配送()为关键设备及参数.备注:**标注为关键控制工序;面包生产工艺流程图(GB317-2006、LS/T3201-1993、GB2748-2003 原辅料、包材验收**QB/T1501-1992、NY479-2002、GB 9683-1988)面粉、白糖、酵母、**配料GB2760及工艺规范书)(电子秤:依据酥油、面包改良剂等搅拌和面(搅拌机)计量、自动分割滚圆(电子秤、分割机)37、湿75--85摇篮炉旋转炉温150--23时10--45min包材消毒间:紫外3mi以**内包材消GB7099-200JJF1070()为关键设备及参数.备注:**标注为关键控制工序;食品有限公司2F面包车间平面示意图食品有限公司2F面包车间人、物流向示意图食品有限公司2F蛋糕车间平面示意图酒精消毒器::楼梯:物料口:备注:门.食品有限公司2F蛋糕车间人、物流示意图物料走向:人流走向:备注:。
巧克力布丁蛋糕【巧克力布丁蛋糕】(参考分量:3个,数量依据模具大小而变化)配料:黄油60克,细砂糖50克,香草精1/2小勺,鸡蛋1个,低筋面粉60克,可可粉30克,泡打粉1小勺,牛奶 50ML,黑巧克力30克。
摩卡淋酱:黄油15克,黑巧克力40克,动物性淡奶油85ML,速溶咖啡粉1/2小勺,利口酒1大勺表面装饰:带皮大杏仁1个(切碎)制作过程:1、在小型布丁模具内壁涂抹上一层软化的黄油,作为防粘之用。
2、面粉、可可粉、泡打粉混合过筛。
3、黄油软化以后,加入细砂糖、香草精,用打蛋器打发,直到体积膨大,颜色变浅,状态轻盈。
4、分三次加入打散的鸡蛋。
5、加入鸡蛋后,继续搅打。
每一次加入鸡蛋,都必须打发到鸡蛋和黄油完全融合再加下一次。
6、把过筛后的面粉混合物倒1/3到黄油混合物里。
7、用橡皮刮刀翻拌均匀(尽量不要画圈搅拌)。
8、倒入1/3的牛奶。
9、用橡皮刮刀翻拌均匀。
10、再倒入1/3的面粉混合物。
11、如此交替的倒入牛奶、面粉,直到牛奶、面粉都加入完全,拌匀成面糊。
12、在面糊里倒入切碎的黑巧克力,并拌匀。
13、把拌好的面糊倒入模具里,2/3满即可。
把模具放入预热好180度的烤箱,烤15分钟左右。
直到蛋糕完全膨起定型。
14、蛋糕烤好取出来,稍微冷却到不烫手以后,用小刀沿着模具壁划一下,把蛋糕和模具分开,就可以把蛋糕倒出来了。
15、接下来可以制作摩卡淋酱。
把黄油、黑巧克力切成小块,和速溶咖啡粉一起倒入碗里。
16、倒入动物性淡奶油。
17、把碗放到热水里,隔水加热并不断搅拌,直到巧克力和黄油完全融化,成为光滑的液态。
18、把碗从水里取出来,调入利口酒。
把做好的淋酱淋在蛋糕上,并在蛋糕顶部撒上一些切碎的带皮大杏仁,就可以享用了。
TIPS:1、在打发好的黄油糊里加入面粉及牛奶的时候,采用交替加入的方法,可以更容易地将干粉和湿性材料拌匀。
不单制作这款蛋糕,在其他类似的配方里,都可以使用这样的方法,如蜜豆麦芬蛋糕。
满记甜品---芒果班戟用料:芒果2个;低筋面粉80克;白砂糖75克;牛奶250克;鸡蛋2个(或者4个蛋黄);食用油(或者黄油)1汤匙(15ml);鲜奶油300克做法:1. 将低筋面粉过筛后加入牛奶中,搅拌均匀至无颗粒。
2. 鸡蛋加入35克的砂糖搅拌均匀至砂糖溶化。
3. 将搅拌好的蛋液加入到面粉牛奶糊中,再加入油搅拌均匀,最后将面糊过筛待用。
4. 将不沾平底锅烧热,转小火,不放油,将一勺(乘汤用的勺子)面糊倒入锅中,迅速转匀,一面煎好以后翻面。
以此将所有面糊做成薄面饼,大约可做8个。
5. 将芒果去皮,沿果核切下果肉,再纵切成长条。
6. 鲜奶油加入40克砂糖用搅拌器将奶油打发(奶油呈凝固的固体状)。
7. 取一张面饼,在中心铺上一层奶油糊,再放一块芒果条,再铺一层奶油糊。
8. 最后将面饼包成四方形即可。
鮮雜果豆腐花 (芒果汁底)材料:黄豆200克;5g的葡萄糖酸内脂;黄花100g;木耳50g;胡萝卜一小根;鸡蛋两只;香葱两根;盐5g;2杯清水做法:1. 内脂豆腐做法:200豆子泡一夜,得到500g左右的湿豆子;2. 倒掉湿豆子里的水。
每次按豆子:清水,1:3的比例加入料理机,打成豆浆,最后除去鸡蛋肠粉原料:粘米粉120克;澄粉(也叫小麦淀粉)或红薯淀粉25克;水380克;油和盐少量(可省);肉馅少量;鸡蛋3个;葱花适量;(蒸粉皮(三人份));大蒜;生抽;蚝油;淀粉;(熬酱汁)做法:1. 大蒜五六瓣(我图中用的是比较小的)剁碎。
2. 淀粉两小勺(很小的勺),加一小碗水,加入生抽和蚝油适量,搅拌均匀。
自己把握咸度,我本来称量过,当时没记下来,现在忘了,自己尝一下最保险。
3. 热锅凉油放入蒜米,小火爆香,至蒜米呈金黄色时,加入步骤2的芡汁,大火煮开至晶莹剔透即可。
4. 将所有材料混合搅拌均匀。
所有材料和工具如图准备好(肉馅加少量料酒和生抽码味)。
5. 平底盘刷薄油,放少量肉馅,舀两勺粉浆. 半个鸡蛋,适量葱花。
本文部分内容来自网络整理,本司不为其真实性负责,如有异议或侵权请及时联系,本司将立即删除!== 本文为word格式,下载后可方便编辑和修改! ==满记甜点项目篇一:满记甜品的全套配方满记甜品的全套配方憋了好久好久,这次终于有得吃了,榴莲班戟,杨枝甘露,黑芝麻糊、雪山榴莲,双皮奶。
全都是招牌噢~还有超详细的教程,有兴趣的mm,自己在家DIY,超级划算~芒果牛奶西米露食材:台农芒果1个、西米70g、纯牛奶125ml、水适量、凉开水适量做法:1)准备好所有食材。
2)锅内倒入适量的水,中火烧开之后倒入西米。
3)期间要用勺子不断的搅拌。
4)煮20分钟后只有中间的一点点白芯时关火,加上锅盖,焖5分钟。
5)煮西米的同时,将芒果用挖球器挖球,剩下的芒果边角料待用。
6)将芒果边角料和纯牛奶一起倒入搅拌杯中。
7)搅拌成芒果牛奶汁,撇去浮沫,待用。
8)将煮好的西米用凉开水反复充淋,去除粘胶质。
9)把西米盛入容器内,倒入搅拌好的芒果牛奶汁,放入芒果球加以点缀即可。
芒果白雪黑糯米食材:芒果1个、椰浆150ml、芒果冰激凌50g、黑米100g、淡奶油30ml、细砂糖25g做法:1)准备好所有材料。
2)黑米提前浸泡2小时以上,加入细砂糖。
3)加水没过黑米3厘米,电饭锅按下煮饭键,煮至按键跳起后待三分钟后重按一下,再跳起后黑米饭煮好。
4)黑米饭凉后,用手蘸点水,搓成圆球。
5)冰激凌和椰浆,牛奶混合,用搅拌机打出现泡沫。
6)轻轻倒入甜品碗里,并将泡沫轻铺在表面。
7)芒果对剖切成两片,连皮切出网状纹路,轻轻一掰呈现菠萝形花纹。
8)将芒果摆在碗中即可。
杨枝甘露食材:芒果500g、椰浆200ml、西米100g、淡奶油100ml、西柚1/4个、白砂糖20g做法:1)准备好所有原料。
2)芒果切丁,其中1/3果肉装饰用,2/3果肉做果浆。
3)将2/3芒果的果肉混合椰浆、淡奶油、白糖,放入搅拌机搅拌成椰奶芒果浆,放入冰箱冷藏备用。
4)锅中煮水,水沸后放入西米煮1分钟,盖上盖子焖20分钟。
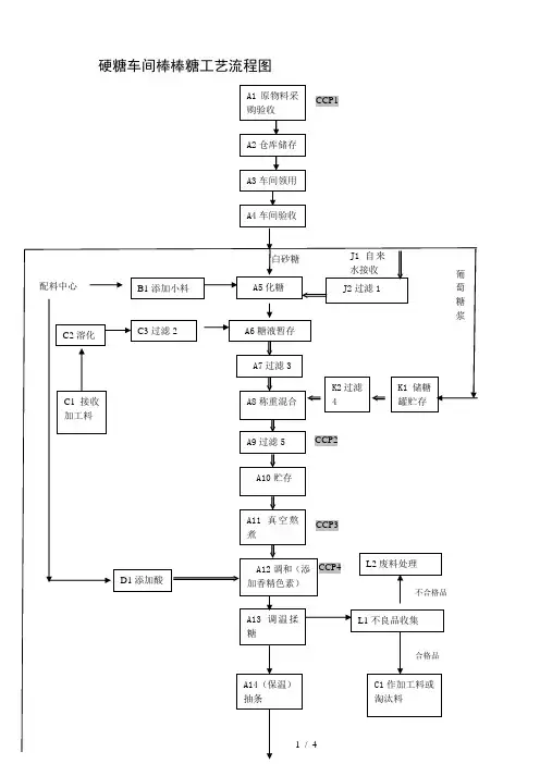
硬糖车间棒棒糖工艺流程图备注:表示管道硬糖车间棒棒糖工艺流程描述A:A1原物料采购验收:物资部或后勤部依《采购控制程序》在合格的供应商处采购符合标准要求的白砂糖等原材料,品管部按《原物料验收作业管理规定》进行抽样检验及审核原料供应商产品质量保证书或检测报告书是否合格,在合格的供方采购,凭检验合格单验收,进货时抽样检查;合格则入库。
A2仓库储存:控制储存时间和条件,按原料类别放于不同的仓库内储存,防虫鼠害、防包装破损、灰尘和杂质等导致污染内容物;A3车间领用:按照生产计划提前一天领用所需原物料;A4车间验收:按照不同原物料的质量标准进行感官检查验收;A5化糖:按照配方要求定量加水;按照配方要求在蒸汽夹层锅里加入定量的白砂糖、水并加热溶化:打开蒸汽保持压力0.4-0.6MPa,升温15-20分钟至105-110℃,使糖粒全部溶化;按照顺序定量加入相应辅料;糖浆固形物:81±1%,注:未添加加工料液;A6糖液暂存:以溶化前加工料计,同品种可加入不超过10%的加工料;A7过滤3:除去原料白砂糖所带来的各种杂质,糖浆在抽送至储存罐时60目过滤网过滤;过滤网每班前检查,班中每小时检查一次完好性,发现异物时及时清洗;A8称重混合:按照配方要求称量不同重量的白砂糖浆和葡萄糖浆(DE值:42-44,固形物:80%±0.5% ),在称重锅中搅拌混合;A9过滤5:除去混合糖浆中可能存的杂质,混合后的糖浆用(水果味≥120目、酸奶味≥120目、鲜奶味≥80目、奶油味≥80目、巧克力味≥60目)过滤网过滤,过滤网每班前检查,班中每小时检查一次完好性,发现异物时及时清洗;A10贮存:混合后的糖浆贮存在保温锅里浓度80±1%;A11真空熬煮:糖液经过蒸汽熬煮、真空浓缩进行灭菌及浓缩,产出符合生产工艺要求的糖膏。
熬糖温度:果味137-142℃、酸奶味134-137℃、奶味134-137℃,真空度:-0.85~-0.92bar;A12调和(添加香精色素):将配好的香精、色素溶液加入香精色素桶,调整香精色素泵流量,按照配方的用量定量添加香精、色素,调制成不同颜色、口味的糖膏;A13调温揉糖:通过调整揉糖钢带温度使糖膏冷却降温,揉糖钢带温度:前段35±5℃、中段40±5℃、后段45±5℃;A14(保温)抽条:环境温度≤30℃相对温度≤65% 调好温的糖膏导入保温抽条机里,并均匀抽条;A15成型:糖条经抽条及四段轮整形后送入装有模具的成型机制成不同规格重量棒棒形糖粒;A16冷却:成型后的糖粒冷却,确保不变形。
满记甜品的全套配方满记甜品好吃,这是公认的!一份的价格最便宜的十几,贵的三十几,可惜三五口就没了,远远满足不了吃货们的胃啊!美食杰精心整理了满记招牌甜品的配方,让你想吃多少就做多少!五块钱吃到饱!榴莲班戟,芒果班戟,杨枝甘露,芒果西米露,糖不甩,紫米糕,糯米糍...口水不要太多了~-芒果西米露-用料主料:西米适量;芒果1-2个调料:冰糖适量;牛奶适量做法1.锅中放水烧开,投入西米及冰糖转小火耐心的煮30分钟左右(期间需多次搅拌,以防粘锅),煮到还有少许白点时,关火焖至透明2.芒果削下果肉,与牛奶放入榨汁机中榨成牛奶芒果汁3.将煮好的西米冲凉沥干水,与牛奶芒果汁混合,调入少许蜂蜜,放冰箱冷藏4.将冷藏好的西米露取出,放入切成粒的芒果丁即可-椰汁紫米糕-用料主料:紫米适量辅料:牛奶适量;鱼胶粉适量;栗子粉适量调料:椰浆适量;糖粉适量做法1.紫米清洗干净,用水泡一个小时2.加三倍的水,煮至软糯3.煮好的紫米捞出,放凉4.椰浆、牛奶、糖粉、少许粟粉放微波炉热五分钟5.热好的椰奶加鱼胶粉迅速拌开,加入紫米继续拌匀6.倒入模具放冰箱至凝固后脱模即可-芒果班戟-用料主料:低粉75克;牛奶180毫升;黄油40克;蛋一只;芒果一只(中等大小);淡奶油150毫升辅料:糖两大匙;盐1/8茶匙做法1.低筋面粉,牛奶,蛋,糖,盐,融化的黄油混合2.搅拌顺滑,过筛,静置20分钟以上3.平底锅内用沾了黄油的纸巾转一下,倒入适量的面糊,转下锅子,做成薄饼的样子4.制作过程中一定要用很小的火,待表面成熟后折成扇形,做好的可丽饼一面应该是有淡褐色的花纹5.做法:芒果去皮,切出两片6.淡奶油加白砂糖,打发至有清晰纹路7.可丽饼有花纹的一面朝上,依次放上淡奶油和芒果8.折叠起来就完成了-芒果白雪黑糯米甜甜-用料主料:芒果1个;糯米(黑)300克辅料:甜玉米(粒)50克;冰淇淋(芒果)80克;牛奶80克;淡奶油50克调料:白糖60克做法1.黑糯米提前1小时用冷水泡一下,碗里加水至没过米粒约5厘米左右,加入玉米粒,糖,放蒸锅内蒸45分钟左右至熟。
蛋糕工艺流程备注:工艺流程图中标有"☆”为关键控制点。
1、原料验收2、配料3、烘烤一、工艺规程1、蛋糕工艺规程:、原材料验收:1、检查合格供应商目录,确认供应商是否为经过评审合格的供应商。
2、2、检查运输车辆是否专车专用,车厢是否清洁卫生。
3、3、检查货单,确认货物数量、名称,检查原料标识是否齐全,是否有QS标志,是否有详细的配料表、生产日期、保质期;4、4、检查内包装是否完好;、贮存:按照“先进先用”原则分类摆放于相应的库房中。
、鸡蛋清洗消毒:将鸡蛋放入洗蛋间进行清洗干净,确保鸡蛋表面没有污物和其他杂物,然后放配制好的消毒水中浸泡 5 分钟,浸泡时确保消毒水淹没鸡蛋,用流水冲洗鸡蛋, 冲去消毒剂残留。
、配料1、向打面机中加入适量糖、盐等调料。
2、向打面机中加入适量面粉,放入打好的鸡蛋。
3、向打面机中加入改良剂。
、搅拌、压面:向打面机中加入水搅拌至面团蓬松匀实状态;把打好的面团多次揉压,使面团有筋度。
、称量:按要求称量,制作面团。
、开酥:把压好的面团通过开酥机开酥。
、成型:1、按要求制作成各式蛋糕;2、做有馅的产品按要求将馅包在面包胚中,放在专用托盘中.、装饰:按要求进行装饰,要做到美观大方。
、烘烤:放入180 度的烤炉中烘烤10 分钟,注意面包表面不能发黑。
、放凉:取出蛋糕,放于专用货架上,放于凉冻间散热,等表面温度降下来时再用风机吹风进行凉冻。
、包装材料验收:1、对照合格供应商目录检查供应商资质。
2、检查包装是否完好。
3、定期抽样化验微生物指标,合格后方允许使用。
、内包装消毒:把内包装材料放入专用的消毒柜内用紫外灯进行消毒,放入专用的消毒柜内的包装材料有摊开,以便于消毒,消毒时间至少要保证1 小时以上。
、包装:1、检查包装材料包装是否完好,包装破损的不得使用;2、检查外观质量,挑拣杂质,然后进行包装;3、将包装好的餐包放于消毒好的专用周转箱内,置于成品仓库中。
、配送:1、装车前要检查车箱清洁状况;2、将产品周转箱按要求分类摆放在车箱内,摆平放稳,以确保运输过程中不会倒下。
椰汁馬豆糕馬豆1/4杯(就是甜豆吧?~)粟粉3/4杯沙糖3/4杯鮮奶1杯椰漿1小罐水2杯做法:1.先將馬豆洗淨,隨涷水放入煲內煮稔,取出隔乾水份。
2.用1杯清水將粟粉調勻備用。
3.將沙糖和1杯清水煮至滾,加入鮮奶和煮滾,待其滾時,加入馬豆,最後慢慢加入已調勻的粟粉水,徐徐拌勻。
4.把糕糊倒入已濕水的糕盆內,涼後便可放進雪櫃焗荔茸栗子西米布甸[材料]:(1人份)芋头100克、西米1/4杯、栗子碎粒60克、糖霜少许、草莓1粒[吉士料]:吉士粉11/2茶匙、糖2汤匙、花奶50毫升、椰奶50毫升[做法]:1. 西米浸水1小时,沥干水份,用滚水煮至透明,备用。
2. 芋头切小件,隔水蒸熟,捣烂成茸,加入栗子碎粒及西米拌匀。
3. 将吉士粉料拌匀加入2的材料中拌匀,放上已载水的焗盘上,放入焗炉大火焗10分钟即可。
[烹调心得]:焗布甸上热水来焗,使受热均匀,效果好。
糖的分量随自己口味调校。
[制作时间]:15分钟榴槤糯米糍(三粒)一盒250ml的维他芒果汁,250g糯米粉,10茶匙细砂糖,少许椰蓉,榴莲肉。
1. 准备好各材料.2. 榴莲肉切成肉丁准备3. 倒了250ml的维他芒果汁,放入细砂糖(喜欢甜一点的,可追加糖的份量),称好250g的糯米粉要一点一点慢慢倒入果汁里搅拌,直到形成无颗粒的糊状,倒入盆子内放入烧开水的锅内蒸15-20分钟,待凉.4. 带上手套,抹点黄油可避免回粘,将一块糯米团放在手心摊平.5/6. 放一块榴莲肉在中心,并搓圆7. 将成形的糯米糍放入装有椰蓉的碗内,滚一圈便成榴槤班戟材料:馅料:榴莲两块,淡奶油,糖班戟皮:鸡蛋两个,糖两汤匙,低筋面粉100克,牛奶100ml,牛油少许。
1.将鸡蛋的蛋白和蛋黄分别加糖打发,然后在蛋黄浆里加入低筋面粉拌匀,再加入蛋白浆拌匀,再倒入牛奶,最后加入牛油(事先隔水煮溶)。
做好的面糊以捞起能马上滴下来为宜。
2.将面糊一勺倒入平底锅,加少许油,用文火慢慢煎好班戟皮,摊凉备用。
3.用开水开鱼胶粉。
4.淡奶油加糖打发,打到企身。
5.将打发好的忌廉加入榴莲肉、鱼胶水,搅啊搅,搅到距匀。
跟住就放落冰箱(保鲜那层)冰到它凝固。
6.最后用班戟皮加入馅料,放落冰箱再冰多一会儿就搞定啦。
椰汁紫米軟糕黑糯米60克,水4杯,椰汁1杯,粟粉120 克,清水1/2杯,砂糖120克【做法】1. 洗净黑糯米,用4 杯清水泡浸4 小时。
2. 将黑糯米连泡浸用的水一起煮20-25 分钟至软透。
3. 椰汁与粟粉拌匀,备用。
4. 将糖与清水煮溶,加入粟粉椰汁,快手搅成糊状,再加入已煮熟的黑糯米。
5. 放入已涂油之盆中压平,待冻切件。
芒果糯米糍材料:一盒250ml的维他芒果汁,250g糯米粉,10茶匙细砂糖,少许椰蓉,1个芒果。
1. 准备好各材料.2. 芒果切成肉丁准备3. 倒了250ml的维他芒果汁,放入细砂糖(喜欢甜一点的,可追加糖的份量),称好250g的糯米粉要一点一点慢慢倒入果汁里搅拌,直到形成无颗粒的糊状,倒入盆子内放入烧开水的锅内蒸15-20分钟,待凉.4. 带上手套,抹点黄油可避免回粘,将一块糯米团放在手心摊平.5/6. 放一块芒果肉在中心,并搓圆7. 将成形的糯米糍放入装有椰蓉的碗内,滚一圈便成糖不甩材料:糯米粉200克、片糖2块、黄糖或砂糖60克、碾碎的花生2汤匙、粘米粉、椰丝、白芝麻等适量。
做法:(1)花生肉碎跟芝麻拌匀,用白镬中火炒香,待凉加入椰丝和砂糖拌匀;(2)用筛滤过糯米粉,倾入两汤匙至三汤匙冻开水搓成粉团,搓成小丸后放入滚水里煮熟,沥干水分;(3)锅中加水煮融片糖使成糖浆,当片糖完全溶化后,慢慢加入糯米汤丸,要不时用调羹搅拌,以免粘锅底;(4)待汤丸熟时取出,撒上炒好的花生芝麻等配料便成。
心得:粉团搓好后要滋润发光,有韧性、无粉粒、不粘手的才算标准材料:黑芝麻、米,比例大致为4:1(从体积上看)。
这是最基本的原料,在此基础上还可以添加核桃、花生等。
黑芝麻本身没有粘性,所以要想做出又香又稠的芝麻糊,还要加些米。
糙米、小米、黑米、紫米,糯米等等任何一种有粘性的米。
做法:1. 先把生的黑芝麻洗干净。
洗芝麻是件很麻烦的事情,芝麻漂在水上,一不小心就会被水冲走。
我是这样洗的:准备两个大碗,都放上水,在一个碗里洗完芝麻后,用细眼小漏勺捞到另一个碗里,这时会看到有一些尘土留在碗底,再换一碗干净水,这样来回倒几次后芝麻就洗干净了。
2. 洗干净的芝麻和糙米泡水八小时,然后用搅拌机打成糊,倒锅里煮,边煮边用筷子搅动防止粘锅,开锅后小火煮五分钟即可。
注意开锅后会有芝麻糊迸溅出来,不要被烫到泰式黑糯米甜甜(凍椰汁)材料:椰汁、牛奶、黑米、糖。
制作:米洗干净后要泡上两三个小时。
泡软后倒入电饭锅或者高压锅。
放入比煮饭多一半的水。
用电饭锅煮的话,煮饭的一档煮两回。
第一回放水,第二回放椰汁和糖。
把煮好的黑米放进碗里。
喜欢的话还可以倒点椰汁。
即成芝麻糊:材料:黑芝麻、米,比例大致为4:1。
做法:1. 先把生的黑芝麻洗干净。
洗芝麻是件很麻烦的事情,芝麻漂在水上,一不小心就会被水冲走。
我是这样洗的:准备两个大碗,都放上水,在一个碗里洗完芝麻后,用细眼小漏勺捞到另一个碗里,这时会看到有一些尘土留在碗底,再换一碗干净水,这样来回倒几次后芝麻就洗干净了。
2. 洗干净的芝麻和糙米泡水八小时,然后用搅拌机打成糊,倒锅里煮,边煮边用筷子搅动防止粘锅,开锅后小火煮五分钟即可。
注意开锅后会有芝麻糊迸溅出来,不要被烫到。
杏仁茶做法:将甜杏仁用热水浸泡后,去皮捣烂,滤出杏仁汁。
兑入清水煮开加糖,即成杏仁茶。
如在杏仁茶中加入牛奶即为杏仁糊,可直接冲食。
如加入适量牛奶或奶粉,味道更佳。
淨湯丸配姜水(六粒) 橘仁净汤丸:主料:糯米500克,蜜橘500克辅料:樱桃25克,豌豆25克,白芝麻5克,杏仁30克,葵花子仁30克,桃仁15克,鸡蛋5克,猪肉(肥)15克调料:冰糖250克,盐2克,白砂糖30克,糯米粉20克,芝麻酱5克,酱油5克,乌龙茶15克1.糯米用清水泡上,反复淘洗干净,见水不浑时,再放入清水泡大约24小时(其中换水2次)磨时再换清水,磨成极细的浆,装入紧密的白布袋内,用重物压干水分,即成湿汤元粉。
2.将榄仁(橄榄核里的果仁)50克、白芝麻、杏仁、瓜子仁、葵花子、五仁同调味料盐2克、白糖30克、糯米粉20克、芝麻酱5克、酱油5 克、肥肉20克、乌龙茶20克、鸡蛋浆5克一齐拌匀成五仁馅,再压成方形,切成小四方块,即成汤元馅;蜜桔剥去外皮,掰成掰,用刀片去内筋,取出桔仁。
3.将糯米粉放在湿白布上(或案上)揉软,到不粘手时搓成圆条形,揪成坨,搓圆后在后心按扁,填入馅心包好,再搓成3厘米大的汤元,即可下锅煮,煮时先将开水搅成漩涡,再下汤元,待水大开时,即加入冷水或用小火慢慢煮沸,以免将汤丸煮烂,汤刃浮在水上时表示已熟,捞出装入碗内。
4.将一净锅中放入1000克水,随即下入白糖烧开溶化,过罗筛,锅洗净,倒入糖水、汤丸和桔仁,烧开后装入各人的小碗内,撒上红樱桃和青豆即成。
鮮雜果豆腐花(芒果汁底) 材料:黄豆200克、5g的葡萄糖酸内脂、黄花100g、木耳50g、胡萝卜一小根、鸡蛋两只、香葱两根,盐5g、2杯清水。
做法:1、内脂豆腐做法:200豆子泡一夜,得到500g左右的湿豆子;2、倒掉湿豆子里的水。
每次按豆子:清水,1:3的比例加入料理机,打成豆浆,最后除去豆渣大概有1.5L左右的鲜豆浆;3、豆浆煮开三次,期间要搅拌别糊了底。
5g的葡萄糖酸内脂溶解在30g的冷水中,等沸腾的豆浆降温到85度左右,倒入轻轻拌匀,静置20分钟后,就得到了内脂豆腐;4、浇芒果汁,摆水果榴槤布甸榴莲布甸材料:蛋白1个榴莲肉100克鲜奶油100cc 鱼胶粉1 汤匙白砂糖30克做法: .蛋白和糖搅打至发泡,将鱼胶粉加少量冷水拌均,隔热水溶化,倒入发泡的蛋白中拌均, 将榴莲和鲜奶油搅打至浓稠状,将加了鱼胶粉的发泡蛋白,分次加入榴莲鲜奶油中拌均,倒入模型杯中冷藏4小时杏仁茶配黑糯米生磨杏仁茶材料:南杏仁100克,糯米30克,清水四碗,冰糖适量。
做法:南杏仁、糯米30洗淨泡水4-6小時加水用果汁搅拌机打烂至无颗粒,倒出过滤后煮沸,按自己的口味加适量冰糖,这样香滑的生磨杏仁茶就做好了。
如果稍加多些糯米做出来的就是杏仁糊杏仁蛋白原料:杏仁露1罐(240ml)、鱼胶粉5克(也可以用吉利丁片或者琼脂)做法:1、将鱼胶粉放入一个碗内,加入适量清水(约5倍的量)浸泡,搅拌鱼胶粉,让其均匀吸收水分。
2、将盛鱼胶粉的碗放入热水内,使鱼胶粉熔化。
3、将杏仁露倒入乐扣乐扣格拉斯玻璃保鲜盒中,放入微波炉加热,不用烧开。
4、将熔化的鱼胶粉倒入杏仁露中,搅拌均匀,晾凉。
5、将加入了鱼胶粉的杏仁露放入冰箱冷藏,2-3个小时,凝固成型即可杨枝甘露制作材料:小台农芒十个、西柚半个、西米半碗(米饭碗)、牛奶大半盒、椰粉两小袋(牛奶、椰粉也可用椰浆代替)、砂糖若干做法; 1.芒果去皮去核切粒西柚去皮去核拆肉 2. 一部分去了皮核的芒果放入搅拌料理机3加入牛奶、椰粉、砂糖,搅拌均匀4搅拌好的混合物过筛去除泡沫和没打碎的果肉5烧开清水后,放入西米煮约15分钟关火,闷5分钟,过筛,洗去胶质6将煮好的西米、芒果粒和西柚粒到入过筛的糖水中搅拌均匀,放入冰箱雪藏7要有好的味道,选用的材料很关键,芒果要选用香甜没有涩味小台农芒为好。
煮西米时水开再放入西米,这样不易粘锅,浸泡过的西米也较容易粘锅。
煮时用大火,中间要加水及搅拌。
整个过程数拆芒果、西柚肉最费劲、费时,完成了这一步可谓成功了一大半:)另外切芒果的时候可以把不好看的边边放到搅拌机里,好看的再切粒。
有食谱放三花淡奶或炼乳,还有食谱要放杨桃粒,可根据个人口味添加;有的食谱上说芒果要榨汁,那样很浪费,还是搅拌后再过滤比较好,很香滑。
过筛时可用个大勺在筛上搅动,可以加快速度。
如果能够买到椰果就更好了南北杏木瓜炖银耳1.银耳泡发洗干净,木瓜去皮去籽切块;2.将银耳与南北杏放入锅内加适量水炖一小时,再将木瓜红枣冰糖放入炖45分钟即可。
还可加入枸杞。
杏汁蓮子雪耳燉雪蛤膏原料:木瓜半个,杏仁露1000ml,雪耳莲子各少许。
做法:1. 木瓜去皮切成片; 2. 把杏仁露、木瓜片、雪耳、莲子一起放进玻璃容器(注意一定要有盖子哦!); 3. 玻璃容器放在蒸锅中,隔水蒸30-60分钟甜品原料:芒果3个,芒果味(或橙味)啫喱粉2盒,芒果香油1/4茶匙,鸡蛋(中型)2只,花奶1罐(大),热水2杯。
制作方法: 1.芒果去皮,切粒备用,啫喱粉加水搅匀; 2.鸡蛋打匀,加花奶再拌匀,然后倒入未凝固的啫喱水搅匀;3.最后加入芒果肉及芒果香油,倒入一个已用冰水搪过的盆内,冷后放入雪柜内雪至凝固,切件上碟即成。
提示:芒果可加随意增加份量,但不可以加太多,否则似食芒果似的鮮雜果西米露(芒果汁底)西米露做法:1、把西米放进清水里洗浸干净备用。