吉大机械制图答案
- 格式:doc
- 大小:620.00 KB
- 文档页数:6
习 题8.1 在图8.1所示单销四槽轮机构中,已知拨盘1转一周,槽轮停歇时间为15秒,求主动拨盘1的转速n 1及槽轮在一周期内的运动时间t d 。
解:槽轮机构的运动系数25.04224z 22z t t t j d d =⨯-=-=+=τ s 15t j =s 575.01525.025.01t 25.0t jd =⨯=-=∴ 拨盘运动一周的时间:s 20155t t t j d =+=+=min /r 32060n 1==∴8.2 试分析单万向联轴节中瞬时传动比不恒等于1的原因。
使双万向联轴节传动比恒等于1的条件是什么?解:单万向联轴节的传动比为:1221331cos sin 1cos i ϕααωω-== 当α为一常数时,i 31是随ϕ1的变化而变化的,1i 31≠∴可用双万向联轴节,使得131=i ,条件为:①中间轴叉平面应在同一平面内,②2312αα=。
8.3 对图8-9所示的棘轮机构,为保证棘爪能顺利进入棘轮齿底,应满足什么条件?解:为了保证工作时棘爪自动嵌入棘轮齿槽内,应使棘轮齿面倾斜角α大于摩擦角ϕ。
8.4 为什么不完全齿轮机构主动轮首、末两轮齿的齿高一般要削减?加上瞬心线附加杆后,是否仍须削减?为什么?解:为了保证不完全齿轮在主动轮正、反转和进入啮合的瞬时不与从动轮发生干涉,因此,主动轮的首、末两齿顶高要削减一点。
若加上瞬心线附加杆后,可不用削减。
因瞬心线附加杆可帮助从动轮的转速由零逐渐增加到正常的转速,可避免干涉。
8.5差动螺旋机构结构特点是什么?解:差动螺旋机构的结构特点是两螺旋相同。
8.6机构的组合和组合机构有何区别?解:机构的组合是各子机构保持原有结构及各自相对的独立。
组合机构是一种封闭式的传动机构,即利用一机构去约束或封闭另一个多自由度机构。
吉大16春学期《机械制图》在线作业一吉大16春学期《机械制图》在线作业一一、单选题(共 10 道试题,共 40 分。
)1. 半剖视图中,外形视图和剖视图的分界线应是( ) . 点划线. 实线. 虚线正确答案:2. 滚动轴承由四种基本结构组成但不包括( ). 轴承座. 滚动体. 保持架正确答案:3. 尺寸界线用什么线绘制( ). 点划线. 粗实线. 细实线正确答案:4. 形体的一般生成方法不包括( ). 运动生成法. 组合生成法. 扫描生成法正确答案:5. G规定图纸的基本幅面是( ). 4种. 5种. 6种正确答案:6. 下列哪个不是尺寸基准( ). 制造基准. 设计基准. 工艺基准正确答案:7. 在国标G/T17450-1998《技术制图图线》中规定的图线的基本线型不含有( ) . 粗实线. 细实线. 粗点划线. 细点划线. 对称线正确答案:8. 梯形螺纹旋合长度不包含( ). N. S. L正确答案:9. 相互配合的轴和孔,轴比孔的表面粗糙度( ). 高一级. 相等. 低一级正确答案:10. 组合体视图绘制的步骤( ). 形体分析,选择主视图,画图,确定比例,选择图幅. 形体分析,选择主视图,确定比例,选择图幅,画图. 形体分析,画图,选择主视图,确定比例,选择图幅正确答案:吉大16春学期《机械制图》在线作业一二、多选题(共 5 道试题,共 20 分。
)1. 截平面和圆柱轴线的相对位置不同,会产生的截交线有( ) . 两平行直线. 椭圆. 圆. 半圆. 抛物线正确答案:2. 特征建模顺序为( ). 基础特征. 主要特征. 规律排列的特征. 对称的特征. 次要的特征正确答案:3. 投影法可分为( ). 平行投影法. 中心投影法. 正投影法. 点投影法. 斜投影法正确答案:4. 当剖视图的主要轮廓线与水平线成45度时其剖面线应画成与水平线成( ). 45度. 135度. 30度. 60度. 50度正确答案:5. 装配图主要标注( ). 定位尺寸. 性能尺寸. 装配尺寸. 安装尺寸. 外形尺寸正确答案:吉大16春学期《机械制图》在线作业一三、判断题(共 10 道试题,共 40 分。
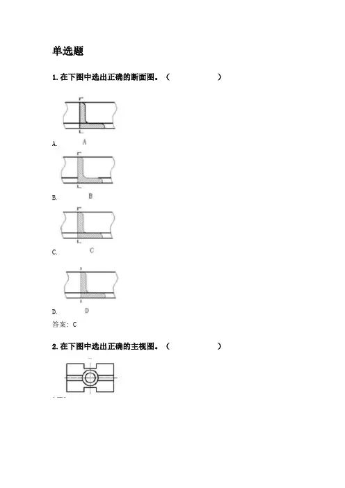
单选题1.在下图中选出正确的断面图。
()A.B.C.D.答案: C2.在下图中选出正确的主视图。
()A.B.C.D.答案: A3.在下图中选出正确的剖视图。
()A.B.C.D.答案: C4.在下图中,选出正确的视图。
( )A.B.C.D.答案: D5.下图是采用()画法。
A.简化B.折断C.对称D.示意答案: B6.在下图中,选出正确的断面图。
()A.B.C.D.答案: A7.在装配图中,当需要表达本部件与相邻部件间的装配关系时,可以()假想画出相邻部件的轮廓线。
A.虚线B.双点划线C.细实线D.点划线答案: B8.锥度是指整圆锥底圆()之比。
A.半径与锥高B.半径与母线C.直径与锥高D.直径与母线答案: C9.在同一金属零件的零件图中,当主要轮廓线与水平成45°时,该图形的剖面线应画成与水平成()的平行线。
A.30°B.45°C.30°或60°答案: C10.标注为M10-6g的螺纹是()。
A.细牙普通螺纹B.粗牙普通螺纹C.管螺纹D.普通螺纹答案: B11.φ16H6中的H是()代号。
A.孔的基本偏差B.轴的基本偏差C.孔的极限偏差D.轴的极限偏差答案: A12.尺寸应该尽量标注在()上。
A.主视图B.俯视图C.左视图D.特征视图答案: D13.用5:1的比例画机件,若图纸上该机件长30mm,,则该机件实际长度为()。
A.5mmB.30mmC.6mmD.150mm答案: C14.物体上互相平行的线段,轴测投影()。
A.平行B.垂直C.无法确定答案: A15.当一条直线垂直于投影面时,在该投影面上反映()。
A.实形性B.类似性C.积聚性答案: C16.下列比例当中表示放大比例的是()。
A.1:1B.2:1C.1:2答案: B17.对于零件上的肋板、轮辐、薄壁等,如()剖切,不画剖面符号,且用粗实线将它们与相邻结构分开。
A.横向B.斜向C.纵向D.反向答案: C18.机件具有若干相同结构(如齿、槽等),并按一定规律分布时,只需画出几个完整的结构,其余用()线连接,并注明该结构的总数。
吉林大学智慧树知到“机电一体化技术”《机械制图》网课测试题答案(图片大小可自由调整)第1卷一.综合考核(共15题)1.标注粗糙度的参数时优先选用轮廓算术平均偏差()。
A、错误B、正确正确答案:B2.读零件图的方法和步骤概括了解零件的名称、材料、数量、作用及它们之间的装配关系,了解技术要求,分析尺寸,分析视图,想象形状()。
A、错误B、正确正确答案:A3.直齿圆柱齿轮的设计、计算和制造的基准圆是节圆。
()A、错误B、正确4.国家标准把公差等级分为()。
A、17级B、18级C、20级5.截平面和圆锥体轴线的相对位置不同,会产生的截交线有()。
A、两直线B、椭圆C、圆D、双曲线E、抛物线6.常见的组合基准不包括()。
A、公共端面B、公共轴线C、公共中心平面7.向视图不可以自由配置。
()A、错误B、正确8.机械制图国家标准规定汉字应该书写成()。
A、草体B、长仿宋体C、楷体9.A1幅面的图框尺寸594*814()。
A、错误B、正确正确答案:A10.在国标GB/T14691-1993《技术制图字体》中规定的工程图样字体有()。
A、长仿宋体B、短仿宋体C、A型字母D、手写体E、希腊字11.一直母线沿着一曲导线运动且始终平行某一固定方向而形成的曲面称为()。
A、立面B、平面C、柱面12.满足使用要求的前提下,尽量选取()的公差等级,以降低加工成本。
A、高B、中C、低13.特征建模顺序为()。
A、基础特征B、主要特征C、规律排列的特征D、对称的特征E、次要的特征正确答案:A,B,C,D,E14.已知直齿圆柱齿轮的齿数Z=60,模数m=3,其分度圆直径是()。
A、φ180B、φ186C、φ17415.在画外螺纹时,一般将小径画成大径的0.85倍()。
A、错误B、正确正确答案:B第2卷一.综合考核(共15题)1.尺寸标注的三种形式不包含()。
A、链状式B、坐标式C、综合式D、环状式2.在机械制图中常用的线型有()。
《机械制图》含答案单选综合题根据图1所示AB、CD直线和P、Q平面,选择回答如下题:省略...1、AB、CD直线的侧面投影应标记为()。
正确选项1.a”b”、c”d”(V)2、AB、CD直线的水平投影应标记为()。
正确选项1.ab、cd(V)3、AB、CD直线的正面投影应标记为()。
正确选项1.正面投影(V)4、P、Q平面的侧面投影应标记为()。
正确选项1.p”、q”(V)5、P、Q平面的水平投影应标记为()。
正确选项1.p、q(V)6、P、Q平面的正面投影应标记为()。
7、平面P在侧面投影面上的投影具有积聚性,因此称之为()。
正确选项1.侧垂面(V)8、平面Q在()面上的投影反映实形,因此称之为侧平面。
正确选项1.侧面投影(V)9、直线AB的水平投影具有积聚性,因此称之为()。
正确选项1.铅垂线(V)10、直线CD在侧面投影面上的投影反映实长,因此称之为()。
正确选项1.侧平线(V)根据图1所示AB、CD直线和P、Q平面,选择回答如下题:省略...1、AB、CD直线的侧面投影应标记为()。
正确选项1.a”b”、c”d”(V)2、AB、CD直线的水平投影应标记为()。
3、AB、CD直线的正面投影应标记为()。
正确选项1.铅垂面(V)4、P、Q平面的侧面投影应标记为()。
正确选项1.p”、q”(V)5、P、Q平面的水平投影应标记为()。
正确选项1.p、q(V)6、P、Q平面的正面投影应标记为()。
正确选项1.p’、q’(V)7、平面P在()面上的投影具有积聚性,因此称之为正垂面。
正确选项1.正面投影(V)8、平面Q的正面投影反映实形,因此称之为()。
正确选项1.正平面(V)9、直线AB的正面投影反映实长,因此称之为()。
正确选项1.正平线(V)10、直线CD的正面投影具有积聚性,因此称之为()。
正确选项1.正垂线(V)根据图1所示AB、CD直线和P、Q平面,选择回答如下题:省略...1、AB、CD直线的侧面投影应标记为()。
吉大16秋学期《机械制图》在线作业二奥鹏17春吉大16秋学期《机械制图》在线作业二一、单选题(共10 道试题,共40 分。
)1. 下列正确的是( )A. 主视俯视长相等且对正B. 主视左视长相等且对正C. 俯视主视宽相等且对应正确答案:2. 垂直于H面的平面称为( )A. 正垂面B. 铅垂面C. 水平面正确答案:3. 普通螺纹的牙型符号是( )A. BB. TrC. M正确答案:4. 满足使用要求的前提下,尽量选取( )的公差等级,以降低加工成本A. 高B. 中C. 低正确答案:5. 零件几何要素分类按结构特征不包含( )A. 基准要素B. 轮廓要素C. 中心要素正确答案:6. 尺寸标注的三种形式不包含( )A. 链状式B. 坐标式C. 综合式D. 环状式正确答案:7. 零件图中的技术要求不包括( )A. 表面粗糙度B. 极限与配合C. 放大比例D. 形状与位置公差正确答案:8. 运动速度高、单位压力大的摩擦表面,比运动速度低、单位压力小的摩擦表面Ra值( )A. 小B. 相等C. 大正确答案:9. 装配图特殊画法不包含( )A. 沿结合面剖切或拆卸画法B. 假想画法C. 展开画法D. 整体夸大画法正确答案:10. 视图中的细点画线不能表示( )A. 回转体的轴线B. 圆的中心线C. 对称形体的对称平面迹线D. 立体表面交线正确答案:吉大16秋学期《机械制图》在线作业二二、多选题(共5 道试题,共20 分。
)1. 在国标GB/T14691-1993《技术制图字体》中规定的工程图样字体有( )A. 长仿宋体B. 短仿宋体C. A型字母D. 手写体E. 希腊字正确答案:2. 装配图中的零、部件序号编写时应按什么方向排列整齐( )A. 顺时针B. 逆时针C. 水平D. 垂直正确答案:3. 装配图中有些需要用文字在技术要求中说明如( )A. 装配体的功能、性能、安装、使用及维护要求B. 装配体的制造、检验和使用的方法和要求C. 装配体对润滑和密封等要求D. 零部件之间的相对位置正确答案:4. 螺纹的要素为( )A. 牙型B. 公称直径C. 线数D. 螺距和导程E. 旋向正确答案:5. 相贯线的性质( )A. 为一平面交线B. 一般为封闭的空间线C. 为两立体表面的共有线D. 是两立体表面的分界线E. 都是不规则曲线正确答案:吉大16秋学期《机械制图》在线作业二三、判断题(共10 道试题,共40 分。
吉大《机械制图》10秋复习题一填空题1.组合体尺寸标注的基本要求为:。
2.极限配合的两种基准制为:。
3.投影法分为:。
4.剖视图按切范围可分为:。
5.平面相对投影面的位置不同可分为:三种位置平面。
6.断面图分为:和两种。
7.同一零件各剖视图的剖面线方向间隔。
8.装配图中一般标注:。
9.六个基本视图的名称为:。
10.基孔制中基准孔的代号为:,基轴制中基准轴的代号为:。
11.与正垂面垂直的直线为:,与铅垂线的直线为:。
12.Φ30H6各项的含义:Φ30是、H是、 6是。
13.绘制圆柱齿轮的圆视图中,齿顶圆用线表示,分度圆用线表示,齿根圆用线表示,或省略不画。
14.外螺纹在非圆视图中,大径用表示、小径用表示。
15.相对投影面的三种位置直线是: 、、。
二.判断题1.判断下列两直线间的相对位置2.判断下列两直线间的相对位置3.判断下列两直线间的相对位置4.判断下列两直线间的相对位置三.点、线、面作图题1.过点C作直线CD与AB相交,使交点2.已知四边形的对角线BC为正平线,求作到V面的距离为15mm。
四边形的水平投影。
3. 已知直线AB上的点K到V和H4.已知△ABC的AB边,并知边AC平行EF,面的距离相等,求点K的三面投影。
另一边BC为水平线,试完成三角形的两投影。
5.已知DEF为一正垂面和水平投影,并知6.已知正方形ABCD为正垂面,其一边与H面的倾角α= 45,求该平面 AB为正平线,完成正方形的两面投影。
的另两个投影。
7.直线AB与CD相交,求直线CD的正 8.在平面CDE内确定一点K,使点K,面投影。
使点K比点D低12 mm ,距V面15 mm,求点K的两个投影。
9.过点C作正平线CD与直线AB相交 10.已知直线AB属于平面ΔCDE,并使其长度为20mm。
求AB的正面投影。
四.求截交线、相贯线1.完成圆球被截切的水平投影。
2.完成圆球被截切的水平投影。
3.完成圆柱被截切的水平投影。
4.完成圆柱被截切的侧面投影5.完成圆锥被截切的水平及侧面投影。
机械制图一、多项选择题(本大题共40分,共10小题,每小题4分)1.机械制图课程的主要任务是:()A.培养工程师的基本素质B. 了解现代制造技术及过程C,掌握三种绘图方法D.熟悉有关工程图样的国家标准2.三视图的投影规律是:()A.三等B.长对正C,宽相等D.高平齐3.线性尺寸标注的四要素,通常是:()A.尺寸界限B.尺寸线C,终端小点D.尺寸数字E.尺寸箭头4.机械制图课程的主要内容是:()A.用铅笔绘制工程图样B.绘制三视图C.使用计算机绘制CAD图样D.绘制剖视图和断面图5.平面可用几何元素来表示,下列正确定义平面的是:()A.三点确定一平面B.任意4点C,直线与线外一点D.平行两直线E.两直线F. 一个点6.机械制图课程的学习方法是:()A.联系实际B.大量练习C.遵守国标D.认真严谨7.尺寸标注的基本要求是:()A.正确B.完整C.清晰D.合理E.仿宋字8.三视图的绘图步骤是:()A.形体分析B.选主视图C,布置视图D.画出底图E.图线描深9.尺寸标注的基本规则是:()A.结构的真实大小和比例有关B.默认单位为毫米C. 一个尺寸可多次标注D.标注的尺寸为完工后的尺寸10.在投影图中,判断点是否在直线上,可选三种判定方法:()A. 一般位置线时,已知点的任两投影在直线的同面投影上,则点在线上。
B.投影面的平行线时,点的2面投影都在直线的同面投影上,则点在线上。
C,满足简比不变,则点在直线上D.投影面的平行线时,点的3面投影都在直线的同面投影上,则点在线上。
二、判断题(本大题共60分,共15小题,每小题4分)1.我们可用“四心法”或“同心法”画出椭圆图形。
()2.直线的投影可以由直线两端点的同面投影的连线来确定。
()3.点的“给2求3”,就是已知点的任意两面投影,就能迅速、唯一地确定它的第3面投影。
()4.当多种图线重合时,优先绘制的顺序是:粗实线、细虚线、细点画线、其它线。
()5.对圆弧的标注符号,一般地讲:大于半圆时在数字前加标小;小于等于半圆时加标R o ()6.标注球面半径或直径时,应在尺寸数字前加注“SR”、“S①”,但在不至引起误会时,也可不加。
《机械制图》习题库(附参考答案)一、单选题(共30题,每题1分,共30分)1、基本视图的个数()。
A、5B、6C、4D、3正确答案:B2、看图的方向符号是用()绘制在对中符号位置处的一个正三角形。
A、波浪线B、细实线C、粗实线D、点画线正确答案:B3、梯形螺纹常用于()。
A、连接管道B、连接零件C、单方向传递动力D、传递动力正确答案:D4、用于表达机件上倾斜部分的实形称为()。
A、向视图B、局部视图C、斜视图D、剖视图正确答案:C5、机械图样中,表示断裂处边界线、视图与剖视图的分界线采用()。
A、细实线B、粗实线C、细点画线D、波浪线正确答案:D6、在图样中不可用粗实线来表示的是()。
A、螺纹牙顶线B、可见轮廓线C、尺寸线D、图框线正确答案:C7、绘制平面图形中的线段,应该先画()线段,然后画()线段,最后画()线段。
A、连接、已知、中间B、中间、连接、已知C、已知、中间、连接D、中间、已知、连接正确答案:C8、国标规定图样中的汉字应写成()。
A、仿宋体B、楷体C、长仿宋体D、黑体正确答案:C9、机械图样中,表示不可见轮廓线采用()。
A、细点画线B、粗实线C、细虚线D、细实线正确答案:C10、可能具有间隙或过盈的配合称为()。
A、过渡配合B、间隙配合C、不明确性质D、过盈配合正确答案:A11、OY 轴简称 Y 轴是 H 面与 W 面的交线它代表()A、高度方向B、水平方向C、长度方向D、宽度方向正确答案:D12、主视图反映物体的关系()。
A、前后上下B、左右前后C、前后左右D、上下左右正确答案:D13、如果物体的外形简单,内形复杂并且不对称,常用()视图。
A、局部剖B、全剖C、阶梯剖D、半剖正确答案:B14、使用丁字尺及一组三角板至多可将一圆分成几等分( )。
A、6B、24C、12D、9正确答案:B15、在圆柱(或圆锥)内表面形成的螺纹,称为()。
A、外螺纹B、内螺纹C、标准螺纹D、表面螺纹正确答案:B16、机械图样中,表示轴线、对称中心线等采用()。
奥鹏吉大在线教育2015春学期《机械制图》在线作业二满分答案吉大15春学期《机械制图》在线作业二吉大15春学期《机械制图》在线作业二吉大15春学期《机械制图》在线作业二吉大15春学期《机械制图》在线作业二吉大15春学期《机械制图》在线作业二吉大15春学期《机械制图》在线作业二吉大15春学期《机械制图》在线作业二吉大15春学期《机械制图》在线作业二吉大15春学期《机械制图》在线作业二吉大15春学期《机械制图》在线作业二吉大15春学期《机械制图》在线作业二吉大15春学期《机械制图》在线作业二单选题多选题判断题一、单选题(共10 道试题,共40 分。
)1. 运动速度高、单位压力大的摩擦表面,比运动速度低、单位压力小的摩擦表面Ra值( )A. 小B. 相等C. 大-----------------选择:A2. 平面与圆球体相交,其截交线是( )A. 圆B. 直线C. 椭圆-----------------选择:A3. 已知直齿圆柱齿轮的齿数Z=55,模数M=3,其齿顶圆直径是( )A. Φ165B. Φ171C. Φ157.5-----------------选择:B4. 零件几何要素分类按结构特征不包含( )A. 基准要素B. 轮廓要素C. 中心要素-----------------选择:A5. 普通螺纹的牙型符号是( )A. BB. TrC. M-----------------选择:C6. 满足使用要求的前提下,尽量选取( )的公差等级,以降低加工成本A. 高B. 中C. 低-----------------选择:C7. 在机械制图中常用的线型有( )A. 交叉线B. 相交线C. 波浪线-----------------选择:C8. 国家标准把公差等级分为( )A. 17级B. 18级C. 20级-----------------选择:C9. 装配图特殊画法不包含( )A. 沿结合面剖切或拆卸画法B. 假想画法C. 展开画法D. 整体夸大画法-----------------选择:D10. 垂直于H面的平面称为( )A. 正垂面B. 铅垂面C. 水平面-----------------选择:B吉大15春学期《机械制图》在线作业二单选题多选题判断题二、多选题(共5 道试题,共20 分。
机械制图题库及参考答案一、单选题(共26题,每题1分,共26分)1.点的x坐标越大,其位置越靠()。
A、右B、前C、左D、后正确答案:C2.画旋转剖视图时应()。
A、先剖切后旋转B、先旋转后剖切C、以上说法都不正确D、只剖切不旋转正确答案:A3.不可见轮廓线采用()来绘制。
A、粗实线B、粗虚线C、细虚线D、细实线正确答案:C4.梯形螺纹常用于()。
A、单方向传递动力B、连接管道C、连接零件D、传递动力正确答案:D5.在判断重影点的可见性方面,若两点的水平投影重合,则视两点的正面投影()值大者为可见。
A、y 坐标B、z 坐标C、x 坐标D、不能判断正确答案:B6.直线从属于平面的条件是一直线经过属于平面的()。
A、三点B、两点C、一点D、四点正确答案:B7.相邻两牙在中径线上对应两点的距离指的是()。
A、螺距B、导程C、线数D、牙型正确答案:A8.画半剖视图时,剖视图与视图的分界线应该为()。
A、对称中心线B、虚线C、实线D、剖面线正确答案:A9.具有间隙的配合称为()。
A、间隙配合B、不明确性质C、过渡配合D、过盈配合正确答案:A10.截平面与立体表面的交线称为()A、截交线B、相贯线C、相交线D、以上都不是正确答案:A11.锥度应注写在()上,并于圆锥倾斜方向一致。
A、轮廓线B、基准线C、轴线D、指引正确答案:B12.如果同一机件上有四个部位需要局部放大表示时,若局部放大图图形相同或对称时,需要画出()个局部放大图。
A、4B、2C、1D、3正确答案:C13.对于半剖视图,视图与剖视图的分界线是()。
A、粗实线B、点画线C、虚线D、细实线正确答案:B14.一对互相啮合的齿轮它们的()必须相等。
A、模数和齿数B、模数和压力角C、分度圆直径D、齿数正确答案:B15.表示组合体各组成部分相对位置的尺寸()。
A、总体尺寸B、参考尺寸C、定形尺寸D、定位尺寸正确答案:D16.细点画线不能表达以下哪种结构()。
机械制图习题含参考答案一、单选题(共26题,每题1分,共26分)1.空间点位于投影面或投影轴上时称为()。
A、特殊位置点B、一般位置点C、以上都不对D、普通位置点正确答案:A2.后视图是()。
A、由后向前投影B、由右向左投影C、由前向后投影D、由左向右投影正确答案:A3.已知空间点 A(10,15,20),B(8,5,10)则 B 点相对 A 点在()A、右后下方B、左后下方C、右前上方D、右前下方正确答案:A4.绘制局部放大图时,如果同一机件上有几处被放大的部位,各处的放大比例可以不同,但必须用()依次编号,表明被放大的部位。
A、罗马数字B、大写中文数字C、阿拉伯数字D、英文大写字母正确答案:A5.产品用放大一倍的比例绘图,在标题栏比例项中应填()。
A、放大一倍B、1×2C、1:2D、2:1正确答案:D6.机件的真实大小以图样上标注的( )为依据,与图形的大小及绘制的准确度无关。
A、文字说明B、比例C、尺寸数值D、标题栏正确答案:C7.重合断面的轮廓用()画出。
A、波浪线B、点划线C、粗实线D、细实线正确答案:D8.机械图样中,表示轴线、对称中心线等采用()。
A、细点画线B、波浪线C、细实线D、粗实线正确答案:A9.某调整螺旋,采用双线粗牙螺纹,螺距为3mm,为使螺母相对螺杆沿轴向移动12mm,螺杆应转( )圈。
A、3B、4C、2.5D、2正确答案:D10.截交线所围成的截面图形称为()。
A、截断面B、截切体C、截交线D、截平面正确答案:A11.图样上的尺寸是零件的()尺寸。
A、修理B、毛胚C、最后完工D、下料正确答案:C12.图纸装订成册折迭时,图面之标题栏必须折在( )。
A、底面B、上面C、内侧D、背面正确答案:B13.以对称中心线为界,一半画成视图,一半画成剖视图,称为()。
A、局部视图B、全剖视图C、局部放大图D、半剖视图正确答案:D14.图纸中汉字应写成()体,采用国家正式公布的简体字。
一、点、线、面作图题(每题10分,共100分)
1.作一正平面线MN距V面12mm 2.已知三角形ABC的AB边为水平线,并与直线AB、CD均相交。
另一边AC为正平线,且点C在直线
EF上,完成三角形的两个投影。
1.
2.
3. 已知直线AB上的点K到V和H
4.已知△ABC的AB边,并知边AC平行EF,
面的距离相等,求点K的三面投影。
另一边BC为水平线,试完成三角形的两投影。
3.
4.
5.直线AB与CD相交,求直线CD的正
6.在平面CDE内确定一点K,使点K,
面投影。
使点K比点D低12 mm ,距V面
15 mm,求点K的两个投影。
5.
6.
7.过点C作正平线CD与直线AB相交8.已知直线AB属于平面ΔCDE,
并使其长度为20mm。
求AB的正面投影。
8.
9.过点K作直线与直线AB\CD均相10.已知四边形平面ABCD的水平投影,并知其
交AB边为水平线,完成该平面的正投影。
9.
10.。