口服液体制剂生产工艺流程图
- 格式:doc
- 大小:20.00 KB
- 文档页数:1
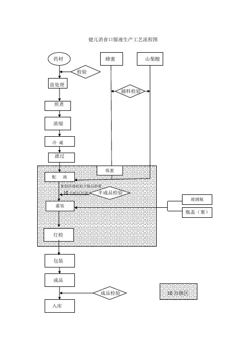
制药有限公司口服液生产工艺规程颁发单位:GMP办公室工艺规程批准程序目录1. 剂型、规格 (3)2. 生产工艺流程 (3)3. 操作过程及工艺条件 (4)4.质量控制要点 (6)5.设备一览表、主要设备生产能力 (6)6.工艺过程中的SOP (7)7.中间产品的控制 (7)8.验证工作要点 (7)9.工艺卫生和环境卫生 (8)10.劳动组织及岗位定员 (8)一、制剂类型:非最终灭菌口服液生产,500ml 规格,洁净塑料瓶包装。
二、流程图:口服液生产工艺流程图注:加粗部分为主要控制点三、操作过程及工艺条件1 生产前的检查与确认1.1是否还留有前批生产的产品或物料,是否已清洁并取得“清场合格证”。
1.2检查确认生产现场的机器设备和器具是否已清洁并准备完毕挂上“合格”标示。
1.3所使用原辅料是否准备齐全。
是否有质量检验报告单,合格品才能使用。
1.4 检查确认与生产品种相适应的批生产指令、配套文件及有关记录是否已准备齐全。
2 称量、配料2.1原辅料或中间产品,除去外包装、经净化处理后,经缓冲区进入称量室。
对称量室内的案称、天平、量筒等计量器具进行校零。
称量人核对原辅料、中间产品的品名、规格、批号、合格证等确认无误后记录、签名。
称量必须复核,复核人对品名、数量确认无误后记录、签名。
配好的批量辅料、中间产品装入洁净密闭容器中,附上标志,注明品名、规格、批号、数量称量人、日期。
3 配制、过滤3.1口服液的质量,采用纯水配制。
称量好的原辅料、中间产品加入到500L配液罐中,注根据不同产品的工艺要求进行配制,配制好的药液应作性状、PH、相对密度、定性、定量等质量检验。
配制中添加的防腐剂、抑菌剂的品种和用量应当无害、不影响疗效,对质量标准规定的检验方法无干扰。
3.2要求选用适宜的滤材及过滤方法(经验证确认的方法),过滤后药液先经含量、澄清度检查合格后打入灌装室。
4 灌装、旋盖、封口4.1瓶子必须是不低于10万级净化环境生产,并经微生物检验合格的产品。
鹿茸口服液生产工艺规程1.产品介绍 (3)1.1 产品名称及剂型 (3)1.2产品概述 (3)1.3处方与依据 (3)2.操作方法 (3)2.1药材洗涤 (3)2.2洗涤药材当归、白芍、甘草、党参、黄芪、川芎 (3)2.3操作方法 (3)2.4药材浸润 (3)2.5切制 (4)2.6干燥 (4)2.7炮制 (4)2.8将前处理结束的药材,车间质量员确认合格后,送至净料室。
车间领料员与仓库保 (4)2.9质量监控 (4)2.10醇沉 (5)2.11离心 (5)2.12合并芳香液与回收液 (6)2.13合并液离心分离 (6)2.14制剂操作过程 (6)2.15外包装 (8)3. 生产工艺流程图 (8)3.1 鹿茸口服液提取生产工艺流程图 (8)3.2 鹿茸口服液口服制剂生产工艺流程图 (9)4.物料、中间产品及成品的质量标准 (10)4.1原药材及辅料的质量标准: (10)4.2中间产品的质量标准: (10)4.3工艺用水质量标准: (11)4.4成品的质量标准: (11)4.5原药材的整理与炮制: (11)4.6装材料质量标准,标签、说明书内容及贮存注意事项 (11)5.设备一览表 (11)5.1提取主要生产设备一览表 (11)5.2 口服制剂主要生产设备一览表 (12)6技术安全及劳动保护 (13)6.1车间内有消防设施。
(13)6.2车间内有空调设施。
(13)7. 工艺卫生 (13)7.1关键工序工艺卫生: (13)7.2人员卫生 (13)8. 劳动组织与岗位定员 (13)9.附录 (14)9.1物料平衡的计算及消耗定额 (14)10.附页 (15)1.产品介绍1.1 产品名称及剂型产品名称:鹿茸口服液剂型:液体口服液剂1.2产品概述规格:每支装10ml。
性状:本品为橙黄色的澄清液体;气芳香,味甜。
功能与主治:温肾壮阳,生精养血,补髓健骨。
用于阳萎滑精,胃寒无力,血虚眩晕,腰膝痿软,虚寒血崩。
1. 主题内容 (2)2. 适用范围 (2)3. 责任 (3)4. 产品名称及剂型 (2)5. 产品概述 (3)5.1.产品特点 (3)6. 工艺流程图 (2)7. 操作过程及工艺条件 (3)7.1.处方 (4)7.2.称量 (3)7.3.配液 (4)7.4.理瓶 (5)7.5.洗瓶 (4)7.6.灌装加塞轧盖 (5)7.7.操作过程 (4)7.8.灭菌 (4)7.9.灯检 (6)7.10.包装 (7)8. 生产过程中重点工艺控制检查(包括中间体检查) (7)9. 技术安全与劳动保护 (8)9.1.工作场所 (8)9.2.机器设备 (6)9.3防火 (9)9.4.工艺卫生 (9)10.操作工时与生产周期 (7)11.原辅料质量标准 (10)12.包装材料质量标准 (10)13.成品、半成品、中间体质量标准 (8)14.劳动组织与岗位定员 (10)15.主要设备一览表 (11)16.原材料消耗定额 (11)17.物料平衡、收率 (11)1主题内容本文件规定了口服液的生产工艺过程、人员配备、原辅材料、包装材料的技术要求、安全生产要求、三废处理、物料平衡等内容。
2适用范围本文件是生产口服液的基础技术文件,用于指导生产操作。
3责任本文件由生产技术部负责起草,质量管理部经理审核,总经理批准。
4产品名称及剂型产品名称:单糖浆口服液汉语拼音名:dan tang jiang kou fu ye 5产品概述5.1产品特点5.1.1性状:本品为淡棕色的液体,无味5.1.2规格:10ml/瓶5.1.3类别:口服溶液剂5.1.4用法与用量:--5.1.5贮藏:遮光,密封保存5.1.6有效期:二年6工艺流程图灭菌:10万级洁净区:一般生产区7操作过程及工艺条件 7.1处方7.2称量按一批1600瓶[蔗糖13kg 、纯化水7kg],称量备好料 7.2.1工艺条件7.2.1.1称量操作在100,000级洁净区内进行,操作间温度控制在18-26℃度,湿度45-65%。
图1静心口服液生产工艺流程图(三)静心口服液生产工艺静心口服液生产涉及车间:提取车间、口服液车间、包装车间。
提取车间为一般生产区,涉及静心口服液中药材备料、提取、浓缩工序。
提取生产线由提取罐、分离机三效浓缩罐以及相关管道、储液罐组成。
口服液车间涉及静心口服液蜂蜜处理、物料称重、配液、罐装、灭菌等工序(塑料瓶注塑工序在口服液车间),其中称重、配液、灌封、蜂蜜处理区域为D级洁净区,灭菌区为一般生产区。
配液工序由配液罐、分离机、2级微滤及相关管道、储液罐组成。
罐装工序使用塑料瓶罐装机,灭菌工序由打压锅及灭菌柜组成,灭菌后清洗检漏工序由自动清洗机、自动检漏机组成。
塑料瓶注塑工序主要设备为注塑机,负责进行口服液塑料瓶身瓶底制作。
包装车间为一般生产区,主要负责产品包装,包装线主要由贴标机、捡重机、喷码机及监管码赋码追溯系统等组成。
1.中药材备料工序本产品所用药材为饮片,无需再炮制。
在提取车间备料室备料,每批13味药材按指令用量分2个亚批进行备料,分别称重复合,各药材称重顺序无特别规定,称重误差最大不超过±0.2kg。
每亚批鸡内金称重后单独用纱布分装,在装入编织袋内并标识。
每亚批菟丝子称重后用双层纱布分装,再装入编织袋内并标识。
每亚批余11味中药材称重后混料用纱布袋盛装,再装入编织袋并标识。
分装纱布袋时,每袋装量应适量,约占1/2~2/3容量,并扎紧袋口。
2.提取工序每亚批分别煎煮2次,所用设备:生产线提取罐,其中过滤器材料为20目不锈钢滤网,沸腾时罐内温度≥100℃,罐内压力≤0.05MP。
第一次煎煮:每个亚批煎煮时分别用1个提取罐。
每个亚批除鸡内金外,其他药材投入提取罐内,每罐分别加饮用水(每亚批除鸡内金外其他药材的5倍水量),浸泡规定时间内,温煎煮,当药液沸腾时,调节蒸汽阀门,保持药液微沸状态规定时间内,放液,煎煮液经管道、过滤器输送至储液罐中,放液量≥每亚批,药渣保留。
第二次煎煮:每罐再分别加入鸡内金,加入饮用水(每亚批全部药材的4倍水量),升温煎煮,保持微沸状到态规定时间内,放液,煎煮液经管道、过滤器输送储液罐中,放液量≥每亚批,药渣弃去。
各制剂工艺流程图各制剂工艺流程图1 、片剂生产工艺流程图包衣辅料包衣装小盒装中盒装箱片剂成品粉碎筛分(浸膏、药粉、辅料)混合制粒称量配料干燥整粒总混压片2、颗粒剂生产工艺流程图颗粒分装总混合装盒装箱颗粒剂成品粉碎筛分(浸膏,辅料)称量配料混合制粒干燥整粒3、胶囊剂生产工艺流程图铝塑包装胶囊填充装小盒装中盒装箱原料辅料称量配料粉碎筛分混合制粒干燥整粒胶囊成品总混4、合剂生产工艺流程图原料辅料纯化水配夜过滤洗瓶灭菌灌封灭菌灯检装盒装箱原料辅料配制煮沸洗瓶灌封过滤灭菌灯检糖浆成品装盒装箱检验装箱原料辅料称量配料粉碎筛分混合加炼蜜制丸整粒丸剂成品干燥2 、工艺流程说明2 . 1 、前处理工艺流程说明外购的药材经过挑、选、检、去杂质及非药用部位后,川选药机或不绣钢洗药池,将药材上的泥土、灰尘洗净,根据不同品种的要求湿润,以达到提取、榨油、细粉的标准。
用J 六提取的药材,采取切割的方法切片,后经多层带式}气燥机干燥,中药粉碎机粉碎,筛分得到合格粒度的药材,送到净药库。
用J 屯榨油的药材,经多层带式干燥机干燥后,直接送去榨汕。
榨油前,按配方要求混合,用中药粉碎机粗碎,经蒸汽湿润后进入螺旋榨油机榨油,榨出的油经过过滤,再送到综合伟lJ 剂车间。
用一于细粉的药材切片,经多层带式十燥机十燥后,送到双扇灭菌柜灭菌,再用高效粉碎机组和震荡筛粉碎,筛分合格后包装,转入综合制剂车间。
2 . 2 、热回流提取工艺流程说明来自净药库的药材,按配方配料,加入乙醇,用热回流抽提机组进行第·次醉提,过滤后剩余的药渣,加上辅料,再进行次水提,使有效成分尽量提出。
醇体液静置后过滤,除去杂质,减压浓缩,回收乙醉,并得到醇提浸膏。
水提液静置后过滤,除去杂质,减压浓缩,并得到水提浸膏。
将醇提浸膏与水提浸膏混合,采用可倾式反应锅浓缩,得到稠浸膏,用周转桶送到综合制剂车间。
2 .3 、片剂工艺流程说明原料和辅料经过粉碎过筛,达到要求细度后,按配方称取配料。
制剂生产工艺流程图《输液》制剂生产工艺流程图2004—11—22该系统设计目的:确保滤液质量,提高滤芯使用寿命。
原理:降低药液无效流量(回流不再经过三级过滤)。
二级过滤系统与三级过滤回流开关为互锁开关,防止回流液进入精滤系统造成污染。
使用:关闭二级过滤系统开关,开启泵,经三级过滤回流约三分钟,关闭三级过滤系统开关,开启二级过滤系统开关,进入正常过滤生产。
清洗:用清洁液经泵压入三级过滤,再用注射用水压入三级过滤即可。
物料储运规程的内容:1物料储运流程2转运过程和仓储条件3验收标准及依据4转运设备及转运能力5仓库面积及储备能力6技术安全、仓库卫生、及劳动保护7物料堆码的质量要求8储运组织与岗位定员9物料的标识与编码10原料、包装材料、与成品的仓储管理和控制11特殊情况的处理12附录(有关理化常数,曲线,图表,计算公式,换算表。
)(SOP)内容1储运标准操作程序2物料卫生与环境卫生标准操作程序3收货与发放的复核标准操作程序4安全、防火与防盗标准操作程序5转运设备的维护与使用标准操作程序6计量器具、仪器仪表的检查与校正标准操作程序7收货入库标准操作程序8异常情况的处理和报告标准操作程序9物料护养标准操作程序10物料发放(分零)标准操作程序11高位电动叉车转运标准操作程序12物料退库标准操作程序13平板叉车转运标准操作程序14电动叉车转运标准操作程序15物料堆码标准操作程序16专库转运标准操作程序17专库护养标准操作程序18抽样物料护养标准操作程序19特殊情况的处理标准操作程序20物料拒收标准操作程序21物料退货标准操作程序22失效物料报损处理标准操作程序23不合格品退库处理标准操作程序24高架货位维护保养标准操作程序25托盘架维护保养标准操作程序26仓库温湿度调节标准操作程序瓶子洁净技术一传统的瓶子洁净技术1水冲洗方法,2水气交替加压冲洗方法3超声波振荡松动微粒法4毛刷刷洗法5二瓶子洁净技术1从源头上加强对瓶子厂商的技术合作,使瓶子在制造到销售过程中保持瓶子的洁净,从而对瓶子的洁净处理不再是药厂的主要内容。
附件3:抗病毒口服液生产工艺流程图(玻璃瓶装)
板蓝根等九味药材 温浸(40℃~50℃、1小时)
煎煮(一次8倍量水,1.5小时;
二次,6倍水,1小时20分钟) 浓缩(真空度0.04~0.08Mpa 、温度≤90℃,相对密度1.20~1.25(70℃~75℃) 醇沉(含醇量70%,醇沉时间:48小时)
配液(PH 值4.0~6.0(内控5.0~5.8)
,相对密度1.10-1.16)(内控1.11-1.13) 轧 盖 灭菌(温度105℃,灭菌30分钟)
灯 检
包 装
入 库
预处理(第一次加8/3倍浸膏量水,沸腾30分
钟,二次加入4/3倍浸膏量水,冷藏48小时
收膏(真空度0.04~0.08Mpa 、温度70~
80℃),相对密度1.25-1.30(75~80℃)
过 滤 D 级区 一般生产区 收集挥发油及乳浊液 辅料、挥发油及乳浊液 外包材 玻璃瓶 炮 制 灌 装 瓶盖 洗瓶、烘干、灭菌 (温度200℃)。