财政预算执行系统业务总流程图
- 格式:doc
- 大小:72.50 KB
- 文档页数:8
财政预算业务内部控制流程图说明财政预算是政府的重要经济手段,涉及公共财政、国家发展规划等多个方面,具有复杂性和重要性。
为确保财政预算工作的有效性和可靠性,需要建立有效的内部控制流程。
下面将介绍财政预算业务的内部控制流程图说明。
一、编制预算内部控制流程预算编制是财政预算的第一步,主要涉及预算制定、收集、核算等步骤。
预算编制的内部控制流程主要包括以下几个环节:1、预算编制前期准备在预算编制之前,需要建立预算编制的计划和时间表,明确各个步骤和责任人。
此外,需要收集各项资料和数据,例如往年的预算和决算、政策法规和经济数据等。
2、预算编制预算编制的主要任务是收集、分析和评估必要的信息,以决定预算数额和分配。
预算编制应该根据制度规定和程序来进行,确保公正、合理、透明。
3、预算审核预算编制完成后需要进行内部审核,以确保预算数据的正确性和合规性。
审核人员可以根据财政法规和政策,检查各项预算数据的正确性,遵循预算编制的要求和流程。
4、预算报批预算报批是指对完成的预算进行上报审议的过程,也是财政部门的必要程序。
根据预算执行的要求,需经过上级财政部门审批后批准实施。
5、预算执行和监督预算执行和监督是预算管理的重点环节,也是有效实现预算编制目标的必要条件。
在预算执行和监督中,要根据预算编制的要求设置监督机制,加强对预算执行过程中的风险管理和控制,确保预算的实施效能和合规性。
二、预算执行内部控制流程预算执行主要包括财务管理、预算支出审批、预算支出发放和预算管理等步骤。
预算执行的内部控制流程主要包括以下几个环节:1、财务管理财务管理是预算执行的基础环节,包括编制财务报表和单据、记账、核算、审计等。
财务管理的目的是保证财务记录的准确性和及时性,及时发现偏差和问题,确保预算执行的正确性。
2、预算支出审批预算支出审批是对预算执行过程的重要环节,需要严格审核各项预算支出,并依据合规性和合理性来进行决策。
预算支出审批的内部控制应该按照对应的法规和审计要求来进行,如财政预算准备章程、审计管理办法等。
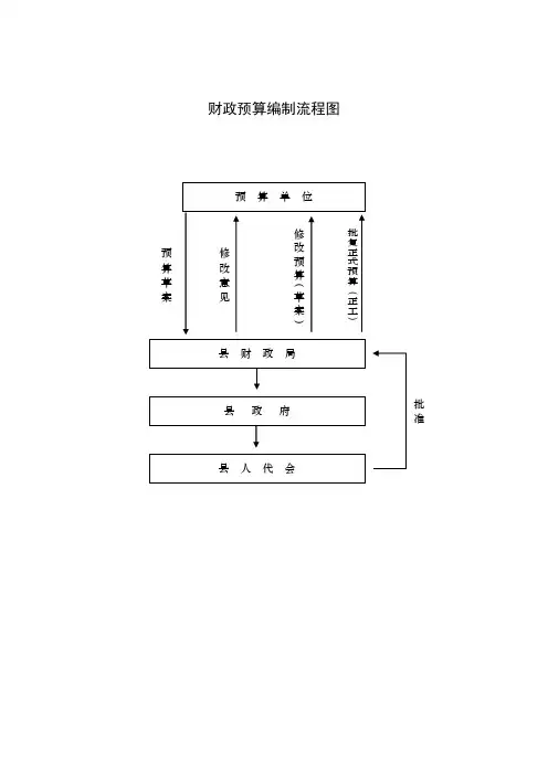
财政预算编制流程图
预算外资金支出管理流程图
行政事业单位国有资产产权登记工作流程图
行政事业单位资产处置流程图
资产处置事项包括:无偿调出、出售、报废、报损、非经营性资产转经营性资产等
财政集中支付流程图
行政事业单位账户审批流程图
国际金融组织和外国政府贷款管理流程图
办理契税工作流程图
政府采购管理流程图
耕地占用税征收工作流程图
控购管理工作流程图
非税收入管理工作流程图
财政票据管理工作流程图
企业国有资产产权登记工作流程图
企业国有资产产权交易流程图土
代理记帐机构执业资格审批流程图
会计从业资格审批流程图。
财政预算执行系统业务总流程图一、财政预算执行系统业务总流程1、预算指标导入财政预算执行系统后,由预算科批复至财政局各业务科,再由各业务科下达至预算单位。
2、预算单位根据批准的部门预算和项目进度编制分月用款计划,分月用款计划是办理财政性资金支付的依据。
分月用款计划报财政局业务科审核后,国库科审定并下达额度。
此时,授权支付额度入账通知书即可生成打印,预算单位据此登记预算内、外财政授权支付额度收入帐。
3、预算单位录入财政直接(授权)支付申请。
授权支付经会计核算中心审核后,由预算单位自行打印《财政资金支付凭证》,加盖印鉴后送单位零余额账户代理银行。
直接支付送会计核算中心审核并打印《财政资金支付凭证》,通知代理银行及时将资金直接支付给收款人或用款单位。
4、代理银行根据支付指令及时将资金支付到收款人或用款单位,并将当日实际支付的资金,汇总生成《**银行**支付申请划款凭证》,附《申请财政性资金划款明细清单》送会计核算中心。
5、核算中心审核无误后汇总生成《**财政**汇总清算通知单》,送国库科审核签章后,送人民银行国库或财政专户代理银行,与国库单一账户进行资金清算。
6、代理银行收到清算回的资金和回单后进行划款清算回单登记,国库科、核算中心依据清算回单进行划款清算登记。
7、支付完成后,预算单位从预算执行网络系统打印《财政直接支付入账通知书》,作为收到和付出款项的凭证,进入会计核算环节。
详见下图:财政预算执行系统业务总流程图二、分月用款计划流程分月用款计划是单位预算支出活动的月度执行方案,是一个时期(如一个月)预算执行的计划。
预算单位根据批准的部门预算、预算外收入完成情况和项目进度科学编制分月用款计划。
分月用款计划是办理财政性资金支付的依据。
1、预算单位计划经办人在预算执行网络系统中编制分月用款计划。
计划审核人审核并报财政局主管业务科室。
2、财政局主管业务科室初审后,用款计划由国库科审核并下达用款额度。
详见下图:三、财政资金支付管理1、财政直接支付业务流程2、财政授权支付业务流程3、退款业务流程四、工资统发管理工资统发同财政直接支付业务流程相似。
县委编办预算业务内部控制制度
一、预算编制控制环节流程图及风险点、控制点分析
1.预算编制控制环节流程图
2.预算编制环节流程概况
3.预算编制环节风险点及控制点分析
二、预算执行控制环节流程图及风险点、控制点分析
1.预算执行控制环节流程图
2.预算执行环节流程概况
3.预算执行环节风险点及控制点分析
三、预算追加调整控制环节流程图及风险点、控制点分析
1.预算追加调整控制环节流程图
四、预算业务决算编制环节流程图及风险点、控制点分析
1.预算业务决算编制环节流程图
2.预算业务决算编制环节流程概况
五、预算绩效评价控制环节流程图及风险点、控制点分析
1.预算绩效评价流程图。
预算业务流程图全套资料(全套资料,可以直接使用,可编辑优秀版资料,欢迎下载)
预算编制流程图:
预算批复下达流程图
预算执行环节流程图:
决算和绩效评价环节流程图:
卖方在电商平
台开铺,以图文形式展售商品
买方在平台
浏览搜索,
选择商品
买卖双方通过“旺旺”在
线沟通,买方下单,直接
购买或购物车购买
卖方确认
买方订单
买方通过支付宝绑定
的银行卡汇款至支付
宝,完成在线付款
平台通知卖方
发货给买方
卖方自行整合物流
资源发货给买方
买方退换货
发货10天后,支付
宝自动付款给卖方
支付宝付款,
汇给卖方
交易成功
卖方将货款从支付宝转
至自己的银行卡账户
买卖双方信用评级
买方双方通过“旺旺”
在线沟通,协商退换货
(一)施工准备阶段的监理工作流程图
(二)施工阶段监理工作流程图
(三)质量控制监理工作流程图1、质量控制流程图
2、工程例会纪要签发流程图
3、分部分项工程质量验收流程图
合
格
不合格
合
格6、质量缺陷处理工作程序
是
否
是
7、工程质量事故处理流程图复工令
(四)投资控制监理工作流程图
1、投资控制流程图
2、工程计量监理工作流程图
否
是
3、中期支付监理工作程序
4、最终支付监理工作程序
无
(五)进度控制监理工作流程图
(六)合同管理监理工作流程图
(七)施工安全监理工作流程
16
(八)竣工验收监理工作流程图
(九)保修期监理工作流程图
病案工作流程图。
财政预算执行系统业务总流程图
一、财政预算执行系统业务总流程
1、预算指标导入财政预算执行系统后,由预算科批复至财政局各业务科,再由各业务科下达至预算单位。
2、预算单位根据批准的部门预算和项目进度编制分月用款计划,分月用款计划是办理财政性资金支付的依据。
分月用款计划报财政局业务科审核后,国库科审定并下达额度。
此时,授权支付额度入账通知书即可生成打印,预算单位据此登记预算内、外财政授权支付额度收入帐。
3、预算单位录入财政直接(授权)支付申请。
授权支付经会计核算中心审核后,由预算单位自行打印《财政资金支付凭证》,加盖印鉴后送单位零余额账户代理银行。
直接支付送会计核算中心审核并打印《财政资金支付凭证》,通知代理银行及时将资金直接支付给收款人或用款单位。
4、代理银行根据支付指令及时将资金支付到收款人或用款单位,并将当日实际支付的资金,汇总生成《**银行**支付申请划款凭证》,附《申请财政性资金划款明细清单》送会计核算中心。
5、核算中心审核无误后汇总生成《**财政**汇总清算通知单》,送国库科审核签章后,送人民银行国库或财政专户代理银行,与国库单一账户进行资金清算。
6、代理银行收到清算回的资金和回单后进行划款清算回单登记,国库科、核算中心依据清算回单进行划款清算登记。
7、支付完成后,预算单位从预算执行网络系统打印《财政直接支付入账通知书》,作为收到和付出款项的凭证,进入会计核算环节。
详见下图:
财政预算执行系统业务总流程图
二、分月用款计划流程
分月用款计划是单位预算支出活动的月度执行方案,是一个时期(如一个月)预算执行的计划。
预算单位根据批准的部门预算、预算外收入完成情况和项目进度科学编制分月用款计划。
分月用款计划是办理财政性资金支付的依据。
1、预算单位计划经办人在预算执行网络系统中编制分月用款计划。
计划审核人审核并报财政局主管业务科室。
2、财政局主管业务科室初审后,用款计划由国库科审核并下达用款额度。
详见下图:
三、财政资金支付管理
1、财政直接支付业务流程
2、财政授权支付业务流程
3、退款业务流程
四、工资统发管理
工资统发同财政直接支付业务流程相似。
工资调整的申报材料为市组织、人事等部门的批件和单位工资表。
五、关于预算执行中有关事项的说明
1、预算内资金的清算是指商业银行与人民银行国库间的结算;预算外资金的清算是指商业银行与预算外财政专户代理银行间的结算。
代理银行是由财政部门确定的具体办理财政性资金支付业务的商业银行。
2、按照号文件的规定严格区分财政直接支付和授权支付的用款计划申请。
财政直接支付由财政部门根据预算单位的申请,向人民银行和代理银行签发支付令,代理银行根据支付令通过国库单一账户体系,将资金直接支付到收款人(即商品和劳务供应者)或用款单位账户。
实行财政直接支付的财政性资金包括工资支出、工程采购支出、物品和服务采购支出和其他具有特定用途的支出项目。
财政授权支付是预算单位根据财政授权,在批准的用款额度内,向代理银行签发支付令,代理银行根据支付令通过国库单一账户体系将资金支付到收款人账户。
财政授权支付适用于未纳入财政直接支付的其他支出,主要是日常公用经费、福利费等小额零星支出。
3、财政已批复预算单位用款计划年终结余资金(即额度结余),是指纳入国库管理制度改革的预算单位在预算年度内,按照财政局下达的用款计划,当年尚未支用并按照有关制度规定应留归预算单
位继续使用的财政性资金用款额度。
当年尚未支用的财政性资金用款额度是否结转下年,财政局会计核算中心要对各预算单位当年用款额度使用情况和年终结余资金按照有关制度规定进行审核,经过核定后的年终结余资金方可打印《财政已批复预算单位用款计划年终结余核定汇总表》及《财政已批复预算单位直接(授权)支付用款计划年终结余核定明细表》结转下年。
《财政已批复预算单位用款计划年终结余核定汇总表》及《财政已批复预算单位直接(授权)支付用款计划年终结余核定明细表》有别于一般意义的年度对账单,而是具有核定结转结余资金数额和账务处理依据双重功能的“年终结余核定表”。
4、严格按预算用途支付财政资金
预算单位在办理财政直接支付或财政授权支付时必须严格按照已批复的预算项目和用途办理资金支付。
由于工程项目发生变确需变更预算用途的,预算单位应提出书面申请报财政局业务主管科室审核,由预算科审定并签章后予以调整。
5、入账通知书打印
财政授权支付额度入账通知书的生成打印在额度下达后即可生成打印。
财政直接支付入账通知书的生成打印须在支付流程结束后生成打印。