外委样品送检测试流程
- 格式:pdf
- 大小:247.73 KB
- 文档页数:1
外委试验取样、送样及报告传递管理制度模版一、目的及适用范围本制度旨在明确外委试验取样、送样及报告传递的管理流程和责任分工,确保采样过程的准确性和报告结果的及时传递,并适用于公司内外委试验项目。
二、术语定义1. 外委试验:公司委托外部专业实验室进行的试验。
2. 试样:取样后进行试验的样品。
3. 试验报告:外部实验室提供的试验结果。
4. 委托单:委托外部实验室进行试验的申请单。
三、责任与义务1. 外委试验负责人负责组织外委试验的实施,并对试验结果的准确性负责。
2. 采样人员负责按照规定的采样方法进行取样,并确保采样过程的准确性和样品的代表性。
3. 送样人员负责按照规定的程序将试样送交外部实验室,并及时向外委试验负责人提交送样记录。
4. 外部实验室负责按照委托单的要求进行试验,并及时提供试验报告。
5. 报告接收人员负责接收试验报告,并及时通知相关人员。
四、外委试验取样流程1. 外委试验负责人根据项目需求制定委托单,并明确试验要求、试样数量和取样位置等。
2. 根据委托单要求,安排适当的采样人员进行取样工作。
采样人员需要具备相关的技术知识和操作经验,并严格按照规定的采样方法进行取样。
3. 取样过程中,采样人员需填写取样记录,包括取样时间、取样位置、样品编号等信息,并确认样品的密封性和完整性。
4. 采样完毕后,采样人员将样品交给送样人员,并填写送样记录,包括样品名称、样品数量、送样时间等信息。
5. 送样人员将样品送交外部实验室,并保存好送样记录和样品交接单。
五、试验报告传递流程1. 外委试验负责人在收到试验报告后,核对报告内容是否符合委托单要求,并填写报告接收记录,包括报告接收时间、报告编号等信息。
2. 外委试验负责人及时通知相关人员试验报告已经收到,并收集他们的意见和反馈。
3. 外委试验负责人根据需要将试验报告复制并分发给相关人员,同时建立试验报告的档案。
4. 外委试验负责人将试验报告归档,确保报告的安全性和可追溯性。
外委试验取样、送样及报告传递管理制度模版一、目的本制度的目的是规范外委试验取样、送样及报告传递的管理流程,确保取样质量和报告准确性,提高外委试验的效率和可靠性。
二、适用范围本制度适用于所有需要外委试验的部门和人员。
三、定义1. 外委试验:指组织外部实验室或机构进行的试验。
2. 取样:指从试验对象中提取样品以进行试验。
3. 送样:指将取样的样品送至实验室或机构进行试验。
4. 报告传递:指将试验结果报告传递给相关部门或人员。
四、流程1. 取样1.1 根据试验需求制定取样计划,明确取样的时间、地点和数量。
1.2 由指定人员按照取样计划进行取样,确保取样的准确性和代表性。
1.3 取得样品后,立即进行标识和封存,确保样品不被污染或丢失。
1.4 填写取样记录,包括取样时间、地点、数量、负责人等信息,确保取样过程可追溯。
2. 送样2.1 选择符合要求的实验室或机构,与其进行协商,确保能够及时完成试验。
2.2 将取样的样品装箱,并填写送样单,包括送样时间、实验室或机构名称、联系人等信息。
2.3 送样前对样品进行验收,确保样品与送样单上的信息一致。
2.4 选择合适的送样方式,如快递、专车等,确保样品的安全和完整性。
3. 报告传递3.1 在规定的时间内,实验室或机构完成试验,并生成试验报告。
3.2 接收试验报告的部门或人员进行核对和验收,确保报告的准确性和完整性。
3.3 在报告上填写接收人、接收时间等信息,确保报告到达的可追溯。
3.4 将试验报告及时传递给相关部门或人员,并保存相关的传递记录。
五、责任与权限1. 取样人员负责按照取样计划进行取样,并确保取样质量。
2. 送样人员负责将取样的样品送至实验室或机构,并确保样品的完整性。
3. 接收报告的部门或人员负责核对和验收试验报告,确保报告的准确性。
4. 管理人员负责对取样、送样及报告传递的流程进行监督和管理。
六、培训与考核1. 对取样、送样及报告传递的流程和要求进行培训,确保相关人员理解和掌握。
外委试验检测实施方案范本一、前言。
外委试验检测是指企业将自身无法完成的试验检测任务交由外部专业机构或实验室进行,以确保产品质量和安全性。
在实施外委试验检测时,需要制定详细的实施方案,以确保试验检测的准确性和可靠性。
本文档旨在为企业制定外委试验检测实施方案提供范本参考,希望能够帮助企业更好地进行外委试验检测工作。
二、实施方案。
1. 任务目标。
明确外委试验检测的任务目标,包括试验检测的内容、标准要求、时间节点等,确保外委试验检测的目标清晰明确。
2. 外委机构选择。
根据试验检测的具体内容和要求,选择具备相关资质和能力的外部专业机构或实验室进行外委试验检测。
3. 合同签订。
与外委机构进行合同谈判,明确试验检测的具体内容、标准要求、费用及结算方式等,签订合同并建立合作关系。
4. 试验检测方案制定。
与外委机构共同制定试验检测方案,明确试验检测的具体步骤、方法和要求,确保试验检测的科学性和规范性。
5. 信息沟通。
与外委机构保持密切的信息沟通,及时反馈试验检测的进展情况,确保试验检测的顺利进行。
6. 结果评定。
对外委试验检测的结果进行评定,确保结果的准确性和可靠性,为产品质量和安全性提供可靠依据。
7. 结束工作。
在试验检测结束后,与外委机构进行总结和评估,及时处理好相关文件和资料,确保试验检测工作的完整性和可追溯性。
三、注意事项。
1. 选择外委机构时,应充分考虑其资质和能力,确保其具备进行试验检测的条件。
2. 在与外委机构签订合同时,应明确合同条款,避免发生后续纠纷。
3. 制定试验检测方案时,应充分考虑试验检测的具体要求,确保方案的科学性和可行性。
4. 在试验检测过程中,应保持与外委机构的密切沟通,及时解决问题,确保试验检测的顺利进行。
5. 对试验检测结果进行评定时,应客观公正,确保评定结果的准确性和可靠性。
四、总结。
外委试验检测实施方案的制定对于企业的产品质量和安全性至关重要,只有制定科学合理的实施方案,才能确保试验检测的准确性和可靠性。
外委试验送检制度
1、对于超出项目部工地试验室检测范围的参数,应委托具有相应检测资质(参数通过“计量认证”,采用公路技术标准规定的试验方法,取得交通部相应检测资质),并且业绩良好的检测机构完成。
2、选择委外检测机构时,要对其资质(年检情况、有效期、业务范围)、技术力量、设备、业绩、营业执照等进行全面考察,并综合考虑检测费用等,择优选择。
初步确定委外检测机构后,及时上报第三方试验检测中心备案,获得批准后,方可确定为委外检测机构。
3、取样、送检,项目部工地试验室、监理工程师共同见证,填写委托单由监理工程师签字确认,并由外委检测机构盖章同报告一起返回后存档。
4、外委的试验报告原件由委托单位、监理单位分别存档,其他单位需要的复印件应由委托单位在报告上加盖公章。
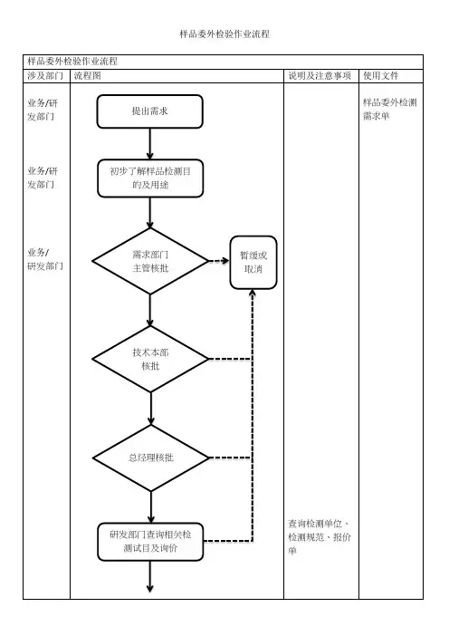
中国农业部农业科学院饲料研究所ROMER LABS联合实验室样品委托检验业务操作流程及规范为了向中国客户提供更好的技术服务,推进ROMER产品在中国市场中的销售和应用以及客户服务,ROMER国际贸易(北京)有限公司(下称ROMER LABS中国公司)决定将接受中国客户的样品送检委托分析的业务项目,并提供相关的检测分析数据和正式的检验报告,并收取相应的样品检验和服务费用。
根据ROMER中国公司与中国农业部农业科学院饲料研究所签订的《ROMER LABS 联合实验室合作协议》内容规定,中国农业部农业科学院饲料研究所将作为检验单位,依照实验室操作规范提供样品委托检验分析服务,并为样品送检委托检验客户出具正式的检验报告。
为此,我司拟定此项目的操作流程及规范如下:一、业务承接单位与职能1)接收送检样品单位:ROMER LABS中国公司,参见附件《ROMER LABS联络方式》2)送检费用收取单位:ROMER LABS中国公司,参见附件《ROMER LABS联络方式》3)样品检验分析单位:中国农业部农业科学院饲料研究所4)检验报告出具单位:中国农业部农业科学院饲料研究所二、委托检验服务与费用1)样品检验项目明细:见附件《ROMER LABS 联合实验室样品检验服务报价单》2)委托检验样品种类:接受饲料、养殖及乳制品企业的日常原料或成品等样品3)样品委托检验方法:ELISA 酶联免疫分析法、HPLC高效液相色谱法、HPLC/MS液相色谱-串联质谱法4)检验报告出具时间:检验费用款项到帐后7个工作日内完成检验,并出具《委托检验报告》,样本参见附件。
5)样品检验费用明细:见附件《ROMER LABS 联合实验室样品检验服务报价单》6)费用发票与报告出具:《技术服务发票》及《委托检验报告》正本将由ROMER LABS公司直接寄达送样客户指点地点。
三、样品委托检验业务操作流程1)委托信息确认:客户填写《样品检验委托单》后以传真的方式与ROMER LABS中国公司共同确认双方信息及样品委托检验信息,ROMER LABS中国公司以加盖签字章的方式确认接受客户样品检验委托事宜。
外委试验取样、送样及报告传递管理制度一、目的为确保外委试验取样、送样及报告传递的科学化、规范化和高效化,制定本管理制度。
二、适用范围本管理制度适用于公司委托外部实验室进行试验的场合。
三、主要内容及流程1. 取样管理(1)制定试验取样计划:根据试验项目的要求,制定取样计划,包括取样点、取样数量、取样设备等内容,并报经试验委托方批准。
(2)取样人员的资质:确保取样人员具备相关技术能力和操作经验。
(3)取样设备和容器的管理:确保取样设备和容器的清洁、准确和适用。
(4)临时存储:将取样及时进行临时存储,并妥善标识和记录。
2. 送样管理(1)确定样品送样计划:根据试验项目的要求,制定样品送样计划,包括送样时间、送样方式等内容,并报经试验委托方批准。
(2)样品封装和标识:对样品进行密封和标识,确保样品不发生变质和混乱。
(3)填写样品送样单:对每个样品填写送样单,包括样品名称、送样数量、取样时间等内容,并经取样人员签字确认。
(4)送样单的流转:按照流程,将样品送样单交给送样人员,并确保送样人员明确收到。
3. 报告传递管理(1)报告编制:实验室根据实验结果编制报告,并确保报告的准确性和可靠性。
(2)报告验证:试验委托方对报告进行验证,确保报告符合试验项目的要求。
(3)报告传递:将验证通过的报告及时传递给试验委托方,并确保传递的方式和途径安全可靠。
四、责任及考核(1)取样人员:负责按照取样计划进行取样,并确保取样的准确性和可靠性;(2)送样人员:负责按照送样计划进行样品的封装、标识和送样,并确保送样单的准确性和可靠性;(3)实验室:负责根据实验结果编制报告,并确保报告的准确性和可靠性;(4)试验委托方:负责对报告进行验证,确保报告符合试验项目的要求。
五、附件(1)取样计划模板(2)样品送样计划模板(3)送样单模板(4)报告传递记录模板六、补充说明本管理制度可根据实际情况进行调整和完善,如有需要,经公司主管部门批准后执行。
简述样品的检验流程那咱就来说说样品的检验流程哈。
一、样品的接收。
样品到的时候呀,就像来了个小客人。
我们得先看看它有没有受到什么“委屈”,包装是不是完好无损。
要是包装破了个大口子,那可不行,就像客人来的时候衣服破破烂烂的,得赶紧记录下来这个情况。
而且要核对一下样品的信息,名字啊、数量啊之类的,可不能把这个小客人认错喽。
这就好比是在人群里找自己的好朋友,得看清楚是不是找对人了。
二、登记入库。
把这个小样品当作是来住旅店的旅客。
要给它办个入住手续,也就是登记入库。
在登记本上或者电脑系统里,详细地写下它的各种信息,啥时候来的呀,从哪儿来的呀,长得啥模样(这里就是样品的外观特征之类的)。
这个过程可不能马虎,就像旅店老板不能随便给个不认识的人登记入住一样。
三、初步检查。
这一步就像是给小样品做个初步的“体检”。
看看它的颜色、气味、状态啥的。
比如说,如果是个食品样品,要是闻起来有股怪味,那就得小心了。
这就好比你看到一个人脸色蜡黄,精神不振,那肯定是身体有点毛病了。
如果初步检查就发现有问题,那就要特殊对待这个样品了,可能得赶紧跟相关的人汇报情况。
四、确定检验项目。
根据样品的类型和用途,我们要决定给它做哪些检查。
这就像是给病人看病,得先确定要做哪些项目的检查。
如果是个电子产品样品,可能就要检查它的电路是否正常、功能是否齐全。
要是个布料样品呢,就可能要检查它的材质、强度之类的。
这个过程得结合很多方面的知识,可不能瞎决定。
五、具体检验操作。
这可是重头戏呢。
不同的检验项目有不同的操作方法。
比如说化学检验,就得小心地调配试剂,就像厨师小心地调味一样。
按照规定的步骤,一步一步地进行操作。
这个时候要特别细心,稍微出点差错,就像做菜盐放多了一样,结果可就不对喽。
在检验的时候,还要做好记录,就像写日记一样,把每一个数据、每一个现象都记下来。
六、结果分析。
检验完了之后,就到了看结果的时候啦。
把那些记录下来的数据和现象拿出来分析。
这就像侦探破案一样,从各种线索里找出真相。
1.外检样外部检测管理流程1.1.流程图1.2.流程描述主流程各节点的描述和参与岗位如下表。
关联信息。
2、需建立标准报价库,统一管理测试分析中心的标准、方法、测试项目、基本价,等等。
2.可以按套餐、按产品、按测试类型进行选择。
3.标准报价库,可以将测试项目组合按套餐、按产品、按测试类型进行配置。
4.可导出报价表、测试申请表。
报价审核由授权的技术岗位进行审核。
分析测试中心根据报价和参考价计算折扣率,折扣低于0.8,需要分析测试中心主任审核。
报价回签业务员上传报价单、测试申请表。
分析测试中心业务员需要将客户签字盖章的报价单、测试申请表扫描件上传系统,将纸质文件进行归档。
回签确认由授权的岗位进行确认。
分析测试中心对上传的报价单、测试申请表扫描件进行确认。
生成委托单根据回签确认通过的报价单信息,系统自动生成委托单,可以对委托单进行维护。
分析测试中心委托单是实验室管理的业务载体,是业务从业务科室流转到实验科室的纽带,业务订单只有生成了委托单,实验科室才能够进入实验检测。
收样与测试安排1、班长进行收样,登记收样时间,生成样品编号,可批量打印样品编号。
2、班长对样品按测试项目分配设备(从设备与测试项目对应关系表获取授权设备)、实验期限。
3、可查看设备排期。
分析测试中心可设置样品的留样期限。
化学类设备,可查看设备当前在检、待检的测试项目量。
环境类设备,可查看设备占用架位、剩余架位、剩余测试时长。
样品状态调节登记班长、处理时间。
分析测试中心样品集中存放。
设备排期预约1、由检测员发起设备排期预约,由设备管理员确认有效。
2、预约期限七天内。
分析测试中心对于化学类设备的预约,可查看该设备已预约时间段,那么选择预约时间段需在之前或之后。
对于环境类设备的预约,可查看该设备已预约时间段及占用架位、剩余架位,那么该时间段内预约架位不能超过该剩余架位。
实验检测检测员做实验前,手持平板扫描设备,实现测试项目、设备、检测员三者关联。
外委试验取样、送样及报告传递管理制度范文一、概述本管理制度旨在规范外委试验的取样、送样及报告传递工作流程,确保取样、送样及报告传递过程的质量和准确性,保证实验结果的可靠性。
本制度适用于公司委托外部实验室进行试验的情况。
二、取样1. 取样人员取样人员应具有相应的资质和经验,责任人员要对其进行指导和监督。
2. 取样仪器及设备取样仪器和设备应符合试验要求,并保持良好的状态。
3. 取样点选择根据试验需要,确定取样地点,并进行事先标记。
4. 取样方法采用合适的取样方法进行取样,确保取样的准确性和代表性。
5. 取样记录取样时应做好相关的取样记录,包括时间、地点、取样人员、取样方法和样品编号等信息。
三、送样1. 送样人员送样人员应由负责该项试验的责任人员选派,要求具备一定的实验知识和操作经验。
2. 送样时间送样应在取样后的尽量短的时间内进行,以确保样品的新鲜度和准确性。
3. 送样方式根据试验要求,选择适当的送样方式,包括快递、专车等。
4. 送样记录送样人员应做好送样记录,包括送样时间、样品编号、送样方式和接收人等信息。
四、报告传递1. 报告编制实验室应按照试验结果进行报告编制,确保其准确性和规范性。
2. 报告传递方式根据需求,以电子邮件、快递、传真等方式传递报告。
同时,需确保报告的机密性和完整性。
3. 报告接收接收报告的人员应及时确认报告的准确性和完整性,并做好相关的记录。
五、管理要求1. 责任分工明确各个环节的责任人,确保各个环节的操作得到有效控制。
2. 管理监督负责各个环节的责任人要进行管理监督,确保操作符合要求并按时完成。
3. 文件管理对于取样、送样和报告传递过程中的记录和文件,要按规定进行保存和归档,并定期进行审核。
六、违规处理对于不按要求操作、不履行职责的人员,要按照公司规定进行相应的违规处理。
七、附则本管理制度经公司相关部门审定并正式发布,自发布之日起生效。
对于制度的修改和废止,应经公司相关部门审定并重新发布。
外协件检验流程范文1.确定外协件检验项目:根据企业的需求和外协件的特点,确定需要外包检验的具体项目和检验标准。
比如,产品外观检验、尺寸检验、性能测试等。
2.选择外部机构或个人:根据企业的要求和外协件的特点,选择合适的外部机构或个人进行外协件检验。
可以通过公开招标、邀请测试、协商合作等方式来确定合作伙伴。
3.签订检验协议:双方在选择外部机构或个人后,需要签订检验协议,明确双方的权责和约定。
协议中包括检验项目、检验方法、检验标准、费用结算方式等内容。
4.提供外协件样品:企业将需要检验的外协件样品提供给外部机构或个人,确保样品的真实性和准确性,并标明样品的批次、数量、规格等信息。
5.检验和测试:外部机构或个人根据检验协议的约定,进行外协件的检验和测试工作。
包括按照检验标准进行外观检查、尺寸测量、性能测试等环节,保证外协件的质量符合要求。
6.检验结果评估和报告:外部机构或个人根据检验结果,进行评估并生成检验报告。
报告中包括样品的检验结果、合格与否判断、存在的问题及改进意见等内容。
7.反馈和处理:外部机构或个人将检验报告反馈给企业,企业根据检验报告对外协件进行处理。
如果外协件不合格,企业需要与供应商协商解决方法,并追究责任。
8.验收和结算:企业根据外部机构或个人的检验结果,对外协件进行验收。
验收合格后,根据检验协议的约定进行结算。
9.评估和改进:企业根据外协件的检验结果和处理经验,对外部机构或个人的合作进行评估,并与其进行沟通,共同改进外协件的质量和检验流程。
外协件检验流程的落实需要企业内部建立一套完善的管理制度,并加强与外部机构或个人的沟通与协调。
同时,企业还需监督外部机构或个人的工作质量,确保检验结果的准确性和可靠性,以此提高外协件质量和企业的竞争力。
试验外委检测总结引言试验外委检测是指将试验项目委托给第三方检测机构进行自主检测和评价的一种常见做法。
通过外委检测可以提高试验的客观性、减少内部干扰和偏差,同时也能够获得专业的检测结果。
本文将对试验外委检测的过程和结果进行总结和分析。
试验外委检测的过程试验外委检测的过程主要包括委托书的编写、第三方机构的选择、样品的交付和检测过程的跟踪。
具体步骤如下:1.编写委托书:在委托书中需要明确试验项目、样品数量、检测标准、委托方和受托方的责任和义务等内容,确保双方的权益得到保障。
2.选择第三方机构:根据试验项目的性质和要求,选择合适的第三方检测机构。
重要的因素包括机构的资质、设备条件、技术能力和信誉度等。
3.样品交付:将样品按照要求交付给第三方机构,确保样品的完整性和可追溯性,同时提供样品相关的标准和说明。
4.检测过程跟踪:委托方需要跟踪第三方机构的检测过程,确保检测过程符合要求,并及时获取检测结果。
试验外委检测的优势试验外委检测具有以下优势:1.专业性:第三方机构通常具备先进的检测设备和技术能力,能够提供更专业、准确的检测结果。
2.客观性:外部机构的评价更客观,能够减少内部干扰和偏差,提供更客观的试验结果。
3.可比性:与内部自检相比,外委检测结果更容易与其他机构或行业标准进行比较和评估,提高结果的可靠性和通用性。
4.独立性:第三方机构独立于委托方和被委托方,能够提供公正、独立的评价和意见。
试验外委检测的注意事项在进行试验外委检测时,需要注意以下事项:1.选择合适的第三方机构:根据试验项目的要求和委托方的需求,选择具备相关资质和能力的第三方机构。
2.澄清委托要求:在委托书中明确试验项目、样品数量、检测标准、检测方法等要求,确保双方的理解一致。
3.确保样品的完整性:委托方在交付样品时需保证样品的完整性和可追溯性,以确保样品能够准确代表被测对象。
4.检测过程跟踪:委托方需要密切关注第三方机构的检测过程,确保检测过程符合要求,并及时与第三方机构沟通和协调。
外委试验取样、送样及报告传递管理制度范本第一章总则第一条为了规范外委试验取样、送样及报告传递管理,提高工作效率和质量,保证试验工作的顺利开展,制定本管理制度。
第二章外委试验取样管理第二条外委试验取样是指将试验样品委托给外单位进行试验,外单位按照约定的方法和标准进行试验。
第三条外委试验取样的目的是为了获得更准确、可靠的试验结果,并确保取样过程的科学性和公正性。
第四条外委试验取样的具体流程如下:(一)确定外委试验样品的种类和数量;(二)编制外委试验取样计划;(三)委托取样单位按照取样计划进行取样;(四)对取样进行标识,并填写《外委试验取样登记表》;(五)对样品进行保管,确保样品完整和安全;(六)委托取样单位将样品送交外单位;(七)对送样过程进行监督和记录。
第五条外委试验取样的要求如下:(一)取样过程应遵循相关的标准和规范,保证取样的科学性和准确性;(二)取样时应避免污染和混杂,确保取样样品的质量;(三)取样时应严格按照取样计划进行,确保样品的代表性和一致性;(四)取样过程应及时记录和报告,确保取样过程的可追溯性。
第三章外委试验送样管理第六条外委试验送样是指将取样的样品送至外单位进行试验。
第七条外委试验送样的具体流程如下:(一)通过邮寄、快递等方式将送样单及样品送至外单位;(二)外单位收到样品后,立即进行验收,并填写验收记录;(三)外单位按照试验计划进行试验,并按照约定时间提交试验报告。
第八条外委试验送样的要求如下:(一)送样单上应清晰标识样品的种类、数量、取样单位等信息;(二)送样单上应注明试验要求、标准和方法,确保外单位进行试验的准确性和可靠性;(三)外单位收到样品后,应立即进行验收,并及时进行试验,确保按时提交试验报告。
第四章外委试验报告传递管理第九条外委试验报告传递是指将外单位完成的试验报告传递至取样单位。
第十条外委试验报告传递的具体流程如下:(一)外单位完成试验后,编制试验报告;(二)试验报告按照规定的格式和要求进行整理和审核;(三)试验报告按照取样单位的要求进行打印和装订;(四)试验报告通过邮寄、快递等方式送至取样单位;(五)取样单位收到试验报告后,进行验收,并填写验收记录。
外送样本检测管理制度及流程下载温馨提示:该文档是我店铺精心编制而成,希望大家下载以后,能够帮助大家解决实际的问题。
文档下载后可定制随意修改,请根据实际需要进行相应的调整和使用,谢谢!并且,本店铺为大家提供各种各样类型的实用资料,如教育随笔、日记赏析、句子摘抄、古诗大全、经典美文、话题作文、工作总结、词语解析、文案摘录、其他资料等等,如想了解不同资料格式和写法,敬请关注!Download tips: This document is carefully compiled by theeditor. I hope that after you download them,they can help yousolve practical problems. The document can be customized andmodified after downloading,please adjust and use it according toactual needs, thank you!In addition, our shop provides you with various types ofpractical materials,such as educational essays, diaryappreciation,sentence excerpts,ancient poems,classicarticles,topic composition,work summary,word parsing,copy excerpts,other materials and so on,want to know different data formats andwriting methods,please pay attention!外送样本检测管理制度及流程是实验室管理中的重要环节,确保外送样本的准确性和可靠性。
委外送检样品操作规程委外送检样品操作规程一、引言委外送检样品是指单位或个人委托专业机构进行检验检测的样品。
为了保证委外送检样品的准确性、可靠性,并规范操作流程,制定本《委外送检样品操作规程》。
二、适用范围本规程适用于所有委外送检样品的操作流程。
三、操作流程1. 样品采集1.1 确定送检目的和方法,根据要求进行样品采集。
1.2 采集样品时应使用合适的容器,并注意避免样品污染。
1.3 样品采集时应进行合理标识,包括样品编号、名称、采样日期、采样地点等信息。
2. 样品处理2.1 样品采集后,根据需要进行样品处理,例如分离、提取、浓缩等。
2.2 样品处理过程要遵循相关操作规程,并记录处理步骤和结果。
3. 样品保存3.1 样品保存要遵循相关规定,确保样品在检验检测前后的完整性和可追溯性。
3.2 样品应妥善保存,防止变质、污染等不利影响。
4. 委外送检4.1 在选择委外机构时,应注意其检测资质和信誉。
4.2 按照委外机构的要求,填写送检申请表并提交样品。
4.3 样品送检前,应检查样品封装是否完好,填写送检清单,包括样品编号、名称、数量等信息。
4.4 样品送检后,应保留送检凭证,并及时与委外机构进行沟通,了解检测进展和结果。
5. 检测结果解读5.1 检测结果应根据相关标准和方法进行解读。
5.2 对于不合格结果,应及时进行复检或进行进一步分析。
6. 结果报告6.1 检测结果应及时向委托单位报告,并提供详细的结果数据和解读说明。
6.2 报告应准确、简明,包括样品编号、名称、检测值等信息。
四、文件管理1. 样品采集、送检、处理等操作记录应及时、完整地填写,并妥善保存。
2. 相关文件如送检申请表、样品处理记录、送检清单、结果报告等应进行分类归档,便于查阅。
五、质量保证1. 委外送检样品操作过程中应严格遵守相关质量管理规范,确保操作准确可靠。
2. 对于不合格样品或结果,应按照规定进行处理,并进行合理的纠正和预防措施。
六、安全措施1. 在样品采集、处理和运输过程中,应注意个人安全,遵守相关安全操作规程。
委外检测程序以下所附签名者代表已审阅并确认此份标准作业程序书所明列的细则且了解所有职责归属。
1.目的适用于本公司的原料委外送检2.范围无3.定义无4.权责4.1仓储部负责原料送检呈报4.2 RD负责提供相关原料有效期及检验标准4.3 品管部负责监督和相关审核5. 内容5.1.原料来料检测原则上本着简洁,准确,快捷的方针,检测标准由研发部(RD)根据原料生产厂家出具的SPEC(Specification)进行制定;检测项目的制定以本厂现有实验室检测能力允许的条件为主。
对于本公司不具备检测能力的项目,依据以下条件进行委外检测。
5.2.委外检测条件及流程:对于一些主要的原料,应每一批做委外检测。
主要原料为采购量大,且经常使用,对产品性质影响较大的原料,委外时主要检测其重要理化指标。
对新的供应商首次原料除进行常规检测外也要委外检测。
对于库存闲置的原料,在有效期内公司应有计划的安排每一年进行委外检测。
委外检测流程:对于需要委外检测的原料,由仓管人员定期对仓库剩余原料进行统计,上报至品质管理部(QC),由QC和RD工作人员复审,确认需进行委外检测。
出具委外检测文件并指定送检单位与检测项目,送公司技术总监审批。
审批后取样送检。
5.3.委外检测送检单位原则上选择为有独立认证资格的第三方检测机构,检测后出具第三方检测报告。
检测报告归档。
5.4.委外检测结果与同批次原料检测报告一同备案保存。
检测合格则原料在保质期内可继续使用。
若检测结果不合格,则原料以不合格品处理。
并且对已使用改批次原料的产品进行进一步严格跟踪检测,以确保其质量达标。
如有必要可对已使用改批次原料的产品同样委外送检,并做进一步质量处理。
5.5.通过委外检测建立供应商及生产商的诚信档案,建立指标及分级制度。
对于达到一定级别的商家,原则上可以采取抽检。