机关事业单位股级以下工作人员年度考核结果审核备案非行政许可审批流程图人社局
- 格式:doc
- 大小:407.50 KB
- 文档页数:44
吉林省人事厅审批项目流程图一、省直机关及无主管部门的事业单位工作人员增加工资及离退休人员增加离退休费审批审批时限:即办。
二、省直机关和事业单位调入工作人员核定工资审批审批时限:即办。
三、省直机关(含参照公务员法管理单位)公务员、工勤人员和事业单位工作人员退休、因病退休、退职的审批审批时限:即办。
四、省直机关和企事业单位工作人员离休的审批审批时限:即办。
五、省直事业单位高级专家延长退(离)休年龄审批审批时限: 3个工作日。
六、省直机关、事业单位工作人员参加工作时间的确认审批时限:即办。
七、省直机关、事业单位工作人员及企业干部建国前参加革命工作时间的审批审批时限:即办。
八、省直事业单位工作人员因工伤(亡)认定及审批审批时限:7个工作日。
九、省政府机关公务员、工勤人员及省直事业单位工作人员调配的审批审批时限:7个工作日。
十、省政府机关和垂直管理系统公务员及参照公务员法管理单位工作人员确定级别及任(晋升)调研员以下非领导职务的审批审批时限:7个工作日。
十一、省政府机关和垂直管理系统及参照公务员法管理单位录用(聘任)公务员或工作人员的审批审批时限:即办。
十二、省政府机关公务员、工勤人员及事业单位工作人员年度考核优秀等次名额的审批审批时限:即办。
十三、全省公务员和事业单位工作人员晋升奖励工资的审批审批时限:即办。
十四、省直机关系统奖励项目的批准审批时限:表彰决定下发后即办。
十五、省直机关行政奖励资金的审批审批时限:即办。
十六、省直事业单位专业技术职务聘任审批(不参加事改单位提供)审批时限:即办十七、专业技术岗位结构比例和专业技术岗位设置审批审批时限:5个工作日十八、省直事业单位非领导岗位职员职数和工勤岗位职数的核定审批时限:5个工作日十九、全省高级专业技术资格审批审批时限:即办。
二十、全省高级专业技术资格评审委员会组建的批准审批时限:即办。
二十一、无政审权的省政府部门及中直驻省部门(单位)因公出国人员政审审批时限:即办。
人事局工作流程图
办公室工作流程
1、沈阳市公务员(事业单位)考试录(聘)用工作流
程:
2、办理公务员调任工作流程:
3、机关事业单位人员调转工作程序:
4、随军家属安置工作流程:
5、计划安置军转干部工作流程:
工资福利科工作流程1、工资审核流程:
(1)职务(职称)及考核晋升流程:
(2)调入人员确定工资流程:
2、工人技术等级晋升流程:
3、工伤、评残鉴定流程:(1)工伤流程:
(2)评残流程:
4、统发工资审核流程:
专业技术职称管理科工作流程
1、国家省市级“百千万人才工程”人选选拔推荐工作流程:
2、企业博士后科研工作站(民营企业博士后科研基地)申报工作流程:
3、政府特殊津贴选拔工作流程:
4、专业技术职务任职资格晋升工作流程:
5、专业技术人员考核和职务聘任工作流程:
干部管理科工作流程
1、考核工作流程:
考核分为平时考核和年度考核。
(1)平时考核
(2)年度考核
2、非领导职务确定及晋升工作程序:
3、科级领导干部任职工作程序:
4辞职、辞退工作程序:
(1)辞职
(2)辞退
退休干部管理科工作流程1、退休审批:
2、劳模津贴和特殊贡献待遇的审批:
3、调整退休费及生活补贴的审批:
4、事业单位抚恤金和丧葬费的审批:
5、特殊工种审核:。
东台市人事局权力公开透明运行流程图一、行政执法权类1.人才服务中介机构审批与管理(一)文件依据《人才市场管理规定》(人事部、国家工商总局1号令)《江苏省人才流动管理暂行条例》《江苏省人才流动管理暂行条例实施细则》《关于做好全省人才中介组织服务许可证颁发、年检工作的通知》(二)办理流程单位或个人向市人才中心提交书面申请报告(报告的内容包括名称、性质、住所、宗旨、业务范围、人员构成、服务场所资金情况等)领取、填报《江苏省人才中介组织申请登记表》、《江苏省人才中介组织工作人员情况表》,提供从业人员培训证书、工作规范和章程、验资证明、住所证明,已经领取企业营业执照的提供副本复印件市人才中心审核材料、查看现场符合条件30个工作日内作出书面不符合条件书面通知并说明理由审批决定,发放《江苏省人才市场中介服务许可证》2. 社会中介机构组织人才招聘及人才交流会工作流程图中介机构向市人才中心提交书面申请报告人才中心审核申请人是否具备条件(条件:1、有相应的场所;2、有相应的供求信息;3、有完备的组织实施方案;4、有完善的安全保障和服务措施;5、县级以上人民政府规定的其他条件。
)对交流会举办场所现场进行勘察符合条件,15日内作出书面审批决定3. 招聘广告审批工作流程图招聘单位提供招聘信息,并出具相关材料:事业单位出具单位法人登记证及市编办的审批证明;企业单位出具企业营业执照副本复印件。
市人才中心审核备案在有效期内在指定媒体发布广告二、组织人事权类1. 公开招录国家公务员工作流程图2. 人员调配工作流程图1、市内调动各部门、单位申报招录计划和职位汇总审核招录计划和职位,经局长办公会研究并报市政府审定后上报盐城市人事局、省人事厅批准通过报纸、电台、电视节目等多种形式发布公务员招录信息报考人员登录盐城人事编制网,查阅招录信息,选择报考职位,按要求填写报名表初审合格的报考人员,登录盐人事编制网,上传照片、缴费、打印准考证 报考人员参加笔试、面试、体检、考核招录工作人员网上对报考人员的报考资格进行初审监督部门市纪委、监察局 市人事局纪检组拟录用人员经局长办公会审定并面向社会公示后,报盐城市人事局审批录用调动人员向市人事局职能科室递交由调出单位及其上级主管部门、调入单位及其上级主管部门盖章的调动审批表一式两份人事局职能科室审核后提请局长办公会审定对公务员开具干部介绍信,对事业单位人员开具聘用通知书,调动人员凭此到新单位报到2、市外调入调动人员向人事局职能科传递交由调出单位及其上级主管部门、调入单位及其上级主管部门盖章的调动审批表一式两份提请局分管领导、主要领导核准向调出地人事部门开具商调函,调阅调动人员档案审核调动人员的身份及相关信息,提请局长办公会审定报请市政府分管领导批准向调出地人事部门开具调动通知对公务员开具干部介绍信,对事业单位人员开具聘用通知书,调动人员凭此到新单位报到3.公务员培训工作流程图4. 年度考核工作流程图根据上级要求及我市公务员队伍现状拟定培训计划分管领导及相关职能部门审核会签主要领导签发考试培训中心组织实施培训结束后考核,并将培训考核情况记入个人培训登记证上培训考核情况送公务员管理科备案,培训考核结果反馈各单位并与个人年度考核挂钩各单位培训考核情况作为本单位年度考核内容之一承办科室拟定年度考核文件 相关职能科室审核、局领导审定发文各单位组织考核、评比公示其中副科级以上干部由市考核小组集体研究报市领导审批 监督部门:市纪委、监察局,各单位纪检组、监察室考核结果反馈个人签字报考核奖惩任免科备案报表返还各单位5. 公务员辞职辞退工作流程图6. 公务员奖励审核工作流程图一次性告知补充材料7. 事业单位公开招聘工作人员工作流程图各单位将公务员辞职、辞退材料上报考核奖惩任免科 向市政府出具专题报告,并附相关材料局领导审核报市政府审批由市政府发文 文件返还各单位并装入个人档案将辞职辞退者个人档案移交人才中心 受奖人填 写奖励登记表呈报单位呈报有关材料承办人初审科长审核局领导审批三等功及其以上奖励须按管理权限办理呈报手续,并以一定形式公示。
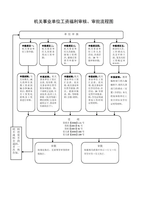
机关事业单位工资福利审核、审批流程图
机关事业单位工作人员退休审核、审批流程图
申请退休或提
前退休 受理条件:本人提出书面申请→单位(党组、党委)批复文件(病退、伤残附相关疾病及证明材料)
受理
送局领导审阅
送工资福利与劳动关系科审核
审核 1、查阅档案审核年龄、工龄、职务等信息。
2、政策依据:国发[1978]104号、青劳人险(94)452号、北人社发【2012】354号
条件不符
或资料不
全的退回,
并一次性
告知。
对符合因病提前退休
的工作人员统一在指
定医疗单位进行复
检。
劳动鉴定委员会鉴定
完全丧失工作(劳动)能力的。
未完全丧失工作(劳
动)能力的。
符合正常退休条件的。
审批 上报局务会研究→依据相关政策→行文→局领导审签→发文执行。
行政处罚类—“对用人单位制定的劳动规章制度违反法律、法规规定的处罚”行政处罚类—“对用人单位违反规定,延长劳动者工作时间的处罚”告行政处罚类—“对用人单位的劳动安全设施和劳动卫生条件不符合国家规定或者未向劳动者提供必要的劳动防护用品和劳动保护设施的处罚”行政处罚类—“未经人力资源和社会保障行政部门许可擅自经营劳务派遣业务及劳务派遣单位、用工单位违反本法有关劳务派遣规定的处罚”行政处罚类—“用人单位未建立职工名册或者职工名册内容不全的处罚”行政处罚类—“用人单位违反国家规定侵害女职工、未成年工合法权益的处罚”行政处罚类—“对用人单位不依法与建立劳动关系的劳动者订立劳动合同和用人单位自用工之日起日内,未到劳动保障行政部门办理用工备案手续的处罚的处罚”行政处罚类—“对用人单位申报应缴纳的社会保险费数额时瞒报工资总额或者职工人数的处罚”行政处罚类—“对职业介绍机构、职业技能培训机构或者职业技能考核鉴定机构违反国家有关职业介绍、职业技能培训或者职业技能考核鉴定规定、未经许可从事职业介绍、职业技能培训的处罚”行政处罚类—“对无理抗拒、阻挠劳动保障行政部门依照规定行使监督检查权的;不按照劳动保障行政部门的要求报送书面材料,隐瞒事实真相,出具伪证或者隐匿、毁灭证据的;经劳动保障行政部门责令改正拒不改正,或者拒不履行劳动保障行政部门的行政处理决定打击报复举报人投诉人的处罚”行政处罚类—“对未经许可和登记,擅自从事职业中介活动的处罚”行政处罚类—“对职业中介机构提供虚假就业信息,为无合法证照的用人单位提供职业中介服务,伪造、涂改、转让职业中介许可证的处罚”行政处罚类—“对职业中介机构违法扣押劳动者居民身份证等证件的;职业中介机构违法向劳动者收取押金的处罚”行政处罚类—“对企业未按照国家规定提取职工教育经费,或者挪用职工教育经费的处罚”行政处罚类—“对用人单位招用人员提供虚假招聘信息,发布虚假招聘广告;扣押被录用人员的居民身份证和其他证件;招用无合法身份证件的人员;以担保或者其他名义向劳动者收取财物;劳动者依法解除或终止劳动合同,用人单位扣押劳动者档案或者其它物品;招用未满周岁的未成年人以及国家法律、行政法规规定不得招用的其他人员;以招用人员为名牟取不正当利益或进行其他违法活动的处罚”行政处罚类—“对用人单位在国家法律、行政法规和国务院卫生行政部门规定禁止乙肝病毒携带者从事的工作岗位以外招用人员时,将乙肝病毒血清学指标作为体检标准的处罚”行政处罚类—“对职业中介机构未明示职业中介许可证、监督电话的处罚”行政处罚类—“对职业中介机构未建立服务台账,或虽建立服务台账但未记录服务对象、服务过程、服务结果和收费情况的处罚”行政处罚类—“对职业中介机构在职业中介服务不成功后未向劳动者退还所收取的中介服务费的处罚”行政处罚类—“对职业介绍机构提供虚假就业信息;发布的就业信息中包含歧视性内容;伪造、涂改、转让职业中介许可证;为无合法证照的用人单位提供职业中介服务;介绍未满周岁的未成年人就业;为无合法身份证件的劳动者提供职业中介服务;介绍劳动者从事法律法规禁止从事的职业;扣押劳动者的居民身份证和其他证件,或者向劳动者收取押金;以暴力、胁迫、欺诈等方式进行职业中介活动;超出核准的业务范围经营;其他违反法律、法规规定的行为的处罚”行政处罚类—“对用人单位违反本规定,未及时为劳动者办理就业登记手续的处罚”行政处罚类—“对用人单位招用未取得相应职业资格证书的劳动者从事技术工种工作的处罚”行政处罚类—“对用人单位使用童工的、在使用有毒物品的作业场所使用童工;逾期仍不将童工送交其父母或其他监护人的处罚”行政处罚类—“对单位或者个人为不满周岁的未成年人介绍就业的;职业中介机构为不满周岁的未成年人介绍就业的处罚”告行政处罚类—“对用人单位未按规定保存录用登记材料,或者伪造录用登记材料的处罚”告行政处罚类—“对无营业执照、被依法吊销营业执照的单位以及未依法登记、备案的单位使用童工或者介绍童工就业的处罚”告行政处罚类—“对用人单位未经劳动者本人同意公开其个人信息的处罚”告行政处罚类—“对用人单位未按照有关规定对从事易燃易爆、有毒有害高危险生产作业的职业人员进行安全生产知识、职业技能和职业病防治知识培训或者培训不合格安排其上岗的处罚”告行政处罚类—“对有拖欠职工工资行为的用人单位未在劳动保障行政部门指定的国有商业银行预存职工月工资总额三倍的保证金的处罚”告行政处罚类—“对用人单位与农民工建立劳动关系未依法签订劳动合同,或者劳动合同期满后存在劳动关系而未续订劳动合同的处罚”告行政处罚类—“对用人单位未向农民工提供劳动防护用品和劳动保护设施的处罚”告行政处罚类—“对用人单位收取职工抵押金、抵押物、保证金、集资款等财物,或者扣押其居民身份证等个人证件的;用人单位因职工不集资、不缴纳抵押性款物或者拒绝延长工作时间而拒绝与职工订立劳动合同或者解除劳动关系的处罚”告行政处罚类—“对用人单位违反《山西省最低工资规定》规定有关条款的处罚”告行政处罚类—“对用人单位不办理社会保险登记的处罚”告行政处罚类—“对用人单位未按时足额缴纳社会保险费的处罚”告行政处罚类—“对社会保险经办机构以及医疗机构、药品经营单位等社会保险服务机构以欺诈、伪造证明材料或者其他手段骗取社会保险基金支出的处罚”告行政处罚类—“对以欺诈、伪造证明材料或者其他手段骗取社会保险待遇的处罚”告行政处罚类—“对缴费单位未按规定办理社会保险登记,变更登记和注销登记,或者未按照规定申报应缴纳的社会保险费数额的处罚”告行政处罚类—“对缴费单位违反有关财务、会计、统计的法律、行政法规和国家有关规定,伪造、变造、故意毁灭有关帐册、材料,或者不设帐册,致使社会保险费缴费基数无法确定的;迟延缴纳社会保险费的处罚”告行政处罚类—“对用人单位伪造、变造社会保险登记证;用人单位未按规定从缴费个人工资中代扣代缴社会保险费;用人单位未按规定向职工公布本单位社会保险费缴纳情况的处罚”告行政处罚类—“对缴费单位未按规定办理社会保险登记的;在社会保险登记事项发生变更或者缴费单位依法终止后,未按规定到社会保险经办机构办理社会保险变更登记或者社会保险注销登记的;未按规定申报应当缴纳社会保险费数额的处罚”告行政处罚类—“对缴费单位因伪造、变造、故意毁灭有关帐册、材料造成社会保险费迟延缴纳的;因不设帐册造成社会保险费迟延缴纳的;因其他违法行为造成社会保险费迟延缴纳的处罚”告行政处罚类—“对阻挠劳动保障监察人员依法行使监察职权,拒绝检查的;隐瞒事实真相,谎报、瞒报,出具伪证,或者隐匿、毁灭证据的;拒绝提供与缴纳社会保险费有关的用人情况、工资表、财务报表等资料的;拒绝执行劳动保障行政部门下达的限期改正指令书的;打击报复举报人员的;法律、法规及规章规定的其他情况的处罚”告行政处罚类—“对用人单位拒不协助社会保险行政部门对事故进行调查核实的处罚”告行政处罚类—“对劳务派遣单位违法解除或终止被派遣劳动者的劳动合同的处罚”告。
XX 市人力资源与社会保障局事业单位各类岗位(管理岗位、专业技术岗位、工勤岗位)人员竞争上岗备案办理流程图附件2(一) 收件1.接收: ①窗口接收②网络接收2.登记(二) 受理1.审核2.补正材料3.受理决定(三) 审查①材料是否真实 ②竞聘人员是否符合条件、单位组织程序是否规范(四) 办理材料齐全、符合规定的,予以办理。
办理主要包括核准和备案。
(五)归档项目办结后由市人社局事业单位人事管理科具体办理人员负责归档。
事业单位人员岗位聘用备案表序号:x x x x x x x备注:本表一式二份,存入个人档案一份,单位或主管部门留存一份。
3附件3市直事业单位人员名册单位名称及编号:(公章)主管部门:(公章)单位编制x 实有人数: 空余编制数: 填表日说明:“岗位”是指:管理、专业技术或工勤岗位,需注明等级。
xx x 负责人:xx填表人:xxxxxxx4附件4事业单位专业技术岗位兼职审批表说明:1、表中“管理岗位”、“专业技术岗位”应填写机构名称和职务名称两项内容。
2、本表_4纸双面打印,一式__份,组织人事部门、主管部门、单位和本人人事档案各存一份。
附件5 市直事业单位岗位设置管理手册说明:1、此表经市人力资源和社会保障局核准备案后,作为岗位管理、聘用人员、核定工资的依据。
2、兼职的按为主的一个岗位进行统计。
3、手册中需要进一步说明的情况可另加附7页说明。
4、此表一式三份,由事业单位、主管部门、市人力资源和社会保障局岗位业务主管科室留存。
8附件6市直事业单位在职人员基本情况统计表(使用_____格式)9附件7编号:______省事业单位聘用合同(范本)聘用单位(甲方)受聘人员(乙方)______省人事厅制填写说明1、本合同一式三份,聘用单位和受聘人员当事人双方各执一份,一份存入受聘人员个人档案。
2、本聘用合同书须由聘用单位和受聘人员双方当事人亲自签订,因故确需代签的,须经本人书面委托,否则代签无效。
XX市人力资源和社会保障局行政权力运行流程图一、行政许可1-1(1)、民办学校筹设同意审批承办机构:市政务中心人社窗口、就业促进科服务电话:(政务窗口)(就业促进科)监督电话:(监察室)法定期限:30个工作日(不含评审、修改文本、听证和公示等时间)承诺期限:15个工作日(不含评审、修改文本、听证和公示等时间)1-1(2)、民办学校设立审批承办机构:市政务中心人社窗口、就业促进科服务电话:(政务窗口)(就业促进科)监督电话:(监察室)法定期限:3个月(不含评审、修改文本、听证和公示等时间)承诺期限:30个工作日(不含评审、修改文本、听证和公示等时间)1-1(3)、民办学校合并、分立、变更、终止审批承办机构:市政务中心人社窗口、就业促进科服务电话:(政务窗口)(就业促进科)监督电话:(监察室)法定期限:3个月(不含评审、修改文本、听证和公示等时间)承诺期限:30个工作日(不含评审、修改文本、听证和公示等时间)1-2、企业实行不定时工作制和综合计算工时工作制审批承办机构:市政务中心人社窗口、劳动关系与监察科服务电话:(政务窗口)(劳动关系与监察科)监督电话:(监察室)法定期限:20个工作日(不含评审、修改文本、听证和公示等时间)承诺期限:10个工作日(不含评审、修改文本、听证和公示等时间)1-3、经营劳务派遣业务许可承办机构:市政务中心人社窗口、劳动关系与监察科服务电话:(政务窗口)(劳动关系与监察科)监督电话:(监察室)法定期限:20个工作日(不含评审、修改文本、听证和公示等时间)承诺期限:14个工作日(不含评审、修改文本、听证和公示等时间)1-4(1)、设立人才中介服务机构及其业务范围审批承办机构:市政务中心人社窗口、人才管理科服务电话:(政务窗口)(人才管理科)监督电话:(监察室)法定期限:20个工作日(不含评审、修改文本、听证和公示等时间)承诺期限:10个工作日(不含评审、修改文本、听证和公示等时间)1-4(2)、职业介绍机构资格认定、设立中外合资(合作)职业介绍机构审批承办机构:市政务中心人社窗口、就业促进科服务电话:(政务窗口)(就业促进科)监督电话:(监察室)法定期限:20个工作日(不含评审、修改文本、听证和公示等时间)承诺期限:15个工作日(不含评审、修改文本、听证和公示等时间)1-5、外国人入境就业许可、台港澳人员在内地就业许可承办机构:市政务中心人社窗口、市政务中心人社局XX市引进国外智力办公室服务电话:(政务窗口)(市政务中心人社局XX市引进国外智力办公室)监督电话:(监察室)法定期限:20个工作日(不含评审、修改文本、听证和公示等时间)承诺期限:5个工作日(不含评审、修改文本、听证和公示等时间)二、行政处罚2-1、劳动保障监察行政处罚一般流程图承办机构:市劳动保障监察支队服务电话:(市劳动保障监察支队)监督电话:(监察室)三、行政检查3-1、行政检查一般流程图承办机构:基金监督科、就业促进科、劳动保障监察支队服务电话:(基金监督科)、(就业促进科)、(劳动保障监察支队)监督电话:(监察室)六、行政强制6-1、划拨社会保险费承办机构:市劳动保障监察支队服务电话:(市劳动保障监察支队)监督电话:(监察室)七、行政确认7-1、工伤认定承办机构:市政务中心人社窗口、工伤保险科服务电话:(政务窗口)(工伤保险科)监督电话:(监察室)法定期限:60个工作日(不含评审、修改文本、听证和公示等时间)承诺期限:50个工作日(不含评审、修改文本、听证和公示等时间)7-2、定点职业培训机构认定服务电话:(就业促进科)监督电话:(监察室)7-3、企业吸纳下岗失业人员的认定承办机构:就业促进科服务电话: (就业促进科)监督电话: (监察室 )八、行政奖励8-1、对举报违反劳动保障法律、法规或者规章行为有功的组织或者个人给予奖励承办机构:职业能力建设科、就业服务管理科、高校毕业生工作科、市职业技能鉴定中心 服务电话: (职业能力建设科)、 (就业服务管理科)、 (高校毕业生工作科)、(市职业技能鉴定中心)监督电话: (监察室 )10-2、定点培训机构年审、职业介绍机构年审承办机构:就业促进科服务电话:(就业促进科)监督电话:(监察室)10-3、办理《外国专家来华工作许可证》、《外国专家证》承办机构:市引进国外智力办公室服务电话: (市引进国外智力办公室) 监督电话: (监察室 )法定期限:20个工作日承诺期限:10个工作日10-4、公务员录用考试违纪违规行为处理承办机构:公务员管理科、市人事考试管理办公室服务电话:(公务员管理科)、市人事考试管理办公室监督电话:(监察室)10-5、专业技术人员专业技术资格评定、重新确认及专业技术资格证书核发服务电话:或(专技科)监督电话:(监察室)10-6、(其他行政权力)一般通用流程。
分项目编号:RS1-1仙游县公务员局行政许可项目 设立人才中介服务机构许可流程图承诺时限:10个工作日(不含现场勘验5个工作日) 本项目不收费分项目编号:RS1-2仙游县公务员局行政许可项目举办人才交流会许可流程图承诺时限:10个工作日(不含现场勘验5个工作日)本项目不收费分项目编号:RS2-1-1仙游县公务员局非行政许可项目机关事业单位工作人员工资基金审批流程图承诺时限:即办本项目不收费分项目编号:RS2-1-2仙游县公务员局非行政许可项目机关事业单位工作人员工资变动审批流程图承诺时限:即办本项目不收费分项目编号:RS2-2-1仙游县公务员局非行政许可项目机关事业单位工作人员退休审批流程图承诺时限:5个工作日本项目不收费分项目编号:RS2-2-2仙游县公务员局非行政许可项目机关事业单位工作人员遗属定期定额生活困难补助及一次性抚恤金审批流程图承诺时限:即办本项目不收费分项目编号:RS2-2-3仙游县公务员局非行政许可项目机关事业单位退休干部高龄补贴费审批流程图承诺时限:即办本项目不收费分项目编号:RS2-3-1仙游县公务员局非行政许可项目机关事业单位工作人员工龄伍龄认定流程图承诺时限:7个工作日本项目不收费分项目编号:RS2-3-2仙游县公务员局非行政许可项目机关事业单位工作人员年龄认定流程图承诺时限:7个工作日本项目不收费分项目编号:RS2-3-3仙游县公务员局非行政许可项目机关事业单位工作人员学历、学位更改认定流程图承诺时限:5个工作日本项目不收费分项目编号:RS2-4仙游县公务员局非行政许可项目初级专业技术职务批准确认任职资格流程图承诺时限:10个工作日本项目不收费分项目编号:RS2-5仙游县公务员局非行政许可项目初级专业技术职务评委库及评审委员会组建审批流程图承诺时限:10个工作日(不含部门组织专家评审)本项目不收费分项目编号:RS2-6仙游县公务员局非行政许可项目行政机关事业单位工作人员考核结果核准流程图承诺时限:即办本项目不收费分项目编号:RS2-7仙游县公务员局非行政许可项目专业技术人员继续教育学时验证流程图承诺时限:即办本项目不收费分项目编号:RS2-8仙游县公务员局非行政许可项目继续教育培训办班登记管理流程图承诺时限:7个工作日(不含网上公示1个工作日以及县委组织部审核时间)本项目不收费分项目编号:RS2-9仙游县公务员局非行政许可项目政府序列机关事业单位科级及以下干部离岗参加学习半年以上的审批流程图承诺时限:5个工作日本项目不收费分项目编号:RS2-10仙游县公务员局非行政许可项目机关事业单位工作人员辞职(退)费审批流程图承诺时限:5个工作日本项目不收费分项目编号:RS3-1仙游县公务员局服务类项目公务员登记(含参照)审批流程图承诺时限:7个工作日(不含县政府、市局、省厅审批时间) 本项目不收费分项目编号:RS3-2仙游县公务员局服务类项目政府序列机关事业单位股级干部调任审批流程图承诺时限:7个工作日(不含报县政府审批时间) 本项目不收费分项目编号:RS3-3-1仙游县公务员局服务类项目公务员培训基地认定流程图承诺时限:7个工作日(不含现场评估7个工作日、报市局审批时间)本项目不收费分项目编号:RS3-3-2仙游县公务员局服务类项目专业技术人员继续教育基地认定流程图承诺时限:7个工作日(不含现场评估7个工作日、报市局审批时间)本项目不收费分项目编号:RS3-4-1仙游县公务员局服务类项目 机关事业单位人员调动审批流程图承诺时限:7个工作日 (不含县政府审批时间) 本项目不收费分项目编号:RS3-4-2仙游县公务员局服务类项目 事业单位招收工作人员审批流程图承诺时限:7个工作日(不含县政府审批时间) 本项目不收费分项目编号:RS3-5仙游县公务员局服务类项目县外引进人才身份认定及留学回国人员身份审核流程图承诺时限:7个工作日(不含县政府审批时间) 本项目不收费分项目编号:RS3-6仙游县公务员局服务类项目机关事业单位工人技术等级(初、中、高级、技师)职务岗位考核流程图承诺时限:3个工作日 (不含市局、省厅审批时间) 本项目代收费分项目编号:RS3-7仙游县公务员局服务类项目事业单位岗位设置管理及结构比例核准流程图承诺时限:8个工作日 (不含市局审批时间) 本项目不收费分项目编号:RS3-8仙游县公务员局服务类项目中、高级专业技术职务批准确认任职资格流程图承诺时限:10个工作日 (不含市局、省厅审批时间) 本项目不收费分项目编号:RS3-9-1仙游县公务员局服务类项目专业技术人员职称考试资格审查流程图承诺时限:10个工作日(不含市局审批时间) 本项目不收费分项目编号:RS3-9-2仙游县公务员局服务类项目专业技术人员职称考试资格审查流程图承诺时限:10个工作日 (不含市局审批时间) 本项目不收费分项目编号:RS3-10仙游县公务员局服务类项目外国专家来华工作许可流程图承诺时限:5个工作日(不含县政府审核后报市局、省厅审批时间)本项目不收费分项目编号:RS3-11仙游县公务员局服务类项目聘请外国专家单位资格许可流程图承诺时限:5个工作日(不含县政府审核后报市局、省厅审批时间)本项目不收费、分项目编号:RS3-12仙游县公务员局服务类项目事业单位申报参照公务员管理审批流程图承诺时限:5个工作日(不含征求意见30个工作日以及县政府审核后报市局、省厅审批时间)本项目不收费分项目编号:RS3-13仙游县公务员局服务类项目公务员招考计划审批流程图承诺时限:5个工作日(不含征求意见30个工作日以及县政府审核后报市局、省厅审批时间)本项目不收费分项目编号:RS3-14仙游县公务员局服务类项目引进国外技术、管理人才项目计划(示范项目)审批流程图承诺时限:10个工作日(不含县政府审核后报市局、省厅审批时间) 本项目不收费分项目编号:RS3-15仙游县公务员局服务类项目博士后科研流动站、工作站申报流程图承诺时限:5个工作日(不含县政府审核后报市局、省厅审批时间) 本项目不收费分项目编号:RS3-16仙游县公务员局服务类项目新世纪百千万人才工程人选、国家有突出贡献青年专家、享受政府特殊津贴专家人选审核流程图承诺时限:5个工作日(不含专家评审、公示20个工作日以及县政府审核、市局、省厅审批时间)本项目不收费分项目编号:RS3-17仙游县公务员局服务类项目机关事业单位工人初、中、高级工及以上技术等级考试确认流程图承诺时限:5个工作日(不含市局、省厅审批时间)本项目代收费分项目编号:RS3-18仙游县公务员局服务类项目机关事业单位有特殊贡献的退休干部增发退休费和有重大贡献的正高级专家提高退休费审批流程图承诺时限:5个工作日(不含市局、省厅审批时间)本项目不收费分项目编号:RS3-19仙游县公务员局服务类项目评选莆田市青年专业技术后备人才流程图承诺时限:5个工作日(不含专家评审和公示20个工作日后转报市局审批时间)本项目不收费分项目编号:RS3-20仙游县公务员局服务类项目县内高层次人才享受政府生活津贴资格认定流程图承诺时限:7个工作日 (不含转报市局审批时间)本项目不收费分项目编号:RS3-21仙游县人事局服务类项目莆田市储备人才资格认定流程图承诺时限:7个工作日 (不含转报市局审批时间)本项目不收费分项目编号:RS3-22仙游县公务员局服务类项目举办高级研修班审批流程图承诺时限:5个工作日 (不含转报市局、省厅审批时间)本项目不收费。
人力资源和社会保障局关于印发《行政决策程序制度》等有关依法行政制度的通知局机关各科室、局属各单位:现将市人力资源和社会保障局《行政决策程序制度》、《重大行政决策专家咨询制度》、《行政决策合法性审查制度》、《行政决策听证制度》、《重大行政决策征求意见制度》、《重大行政决策集体决定制度》、《重大行政决策实施情况后评价制度》、《行政决策责任追究制度》印发给你们,请认真贯彻执行。
二〇一二年二月日市人力资源和社会保障局行政决策程序制度第一条为了规范行政决策行为,强化决策责任,减少决策失误,保证决策质量,根据《中华人民共和国地方各级人民代表大会和地方各级人民政府组织法》、国务院《全面推进依法行政实施纲要》的要求和规定,结合我局实际,特制定行政决策程序制度。
第二条本制度所称行政决策包括:(一)起草和制定涉及公众重大利益的规范性文件;(二)编制人力资源和社会保障事业发展规划;(三)其他涉及人民群众反映集中的热点、难点问题的决策事项;(四)其他关系人力资源和社会保障事业基础性、战略性、全局性的重大事项;(五)法律、法规、规章规定的其他决策事项。
人事任免、行政问责和重大突发事件的处理,不适用本制度。
第三条应当对涉及面广、与人民群众利益密切相关的决策事项,采取座谈会、听证会、论证会等方式,充分听取社会公众对行政决策的意见,并将意见及采纳情况形成专题报告。
举行公开听证的,应当按照听证程序规定办理。
第四条行政决策作出后,应当对工作任务和责任进行分解,明确工作要求。
涉及跨分管工作范围的,原则上由一位分管领导负责,有关领导配合。
第五条有关执行部门应当根据各自职责,全面、及时、正确地贯彻执行行政决策,不得拒不执行、不完全执行、变相执行、推诿执行、拖延执行。
第六条局办公室根据决策方案,采取跟踪检查、督促催办等措施,检查、督办、考核行政决策执行情况,确保决策方案的正确施行,并及时报告督查情况。
市人大代表、政协委员依法对本局行政决策及其执行情况进行监督。
人力资源社会保障部关于印发《职称评审监管暂行办法》的通知文章属性•【制定机关】人力资源和社会保障部•【公布日期】2024.07.25•【文号】人社部发〔2024〕56号•【施行日期】2024.07.25•【效力等级】部门规范性文件•【时效性】现行有效•【主题分类】专业技术人员管理正文人力资源社会保障部关于印发《职称评审监管暂行办法》的通知人社部发〔2024〕56号各省、自治区、直辖市及新疆生产建设兵团人力资源社会保障厅(局),中共海南省委人才发展局,中央和国家机关各部委、各直属机构人事部门,各中央企业人事部门:为进一步加强职称评审全过程监管,根据《关于深化职称制度改革的意见》《职称评审管理暂行规定》等有关规定,我部制定了《职称评审监管暂行办法》。
现印发给你们,请结合实际认真贯彻落实。
人力资源社会保障部2024年7月25日职称评审监管暂行办法目录第一章总则第二章监管内容第三章监管方式第四章监管措施第一章总则第一条为进一步加强职称评审监管,促进职称评审公平公正,营造良好的人才发展环境,根据《关于深化职称制度改革的意见》和《职称评审管理暂行规定》(人力资源社会保障部令第40号)等有关规定,制定本办法。
第二条职称评审监管遵循以下原则:(一)坚持依法监管。
职称评审监管要依法有序进行,规范监管行为,推进职称评审监管制度化、规范化。
(二)坚持全面监管。
谁授权、谁负责监管,谁主责、谁接受监督,加强职称评审事前、事中、事后全过程监管,构建政府监管、单位(行业)自律、社会监督的职称评审监管体系。
(三)坚持问题导向。
围绕职称评审领域反映突出、易发多发的问题,加强监管指导,督促整改落实,打通职称制度改革政策落地“最后一公里”。
(四)坚持公正高效。
职称评审监管要一视同仁,公开公平公正,提升监管效能,减少对正常职称评审活动的干扰,减轻职称评审主体负担。
第三条对职称评审组织实施中申报人、评审专家、职称评审相关工作人员等个人,以及职称评审委员会组建单位(以下简称评审单位)、申报人所在单位等单位进行监管适用本办法。
临泉县人社局办事指南25业务名称人员调配工作——调出(调往外地)业务类型行政审批文件依据有关政策办事程序1、个人申请(本人基本情况及调出理由),由调出单位、主管部门签字、盖章。
2、经人社局审查合格后,向对方人社部门发事业单位工作人员调动联系函(附调动人员情况简明登记表、现实表现、健康状况、计划生育情况、档案材料)。
3、调入地人社部门来函同意接收。
4、县人社局办理调出手续。
所需材料个人申请,单位、主管部门报告,《调动登记表》,商调函,个人档案,其他有关材料.办理时限承办机构人才流动开发股收费标准不收费调出办事流程个人申请(本人基本情况及调出理由),由调出单位、主管部门签字盖章经人社局审查合格后,向对方人社部门发事业单位工作人员调动联系函(附调动人员情况简明登记表、现实表现、健康状况、计划生育情况、档案材料)调入地人社部门来函同意接收县人社局办理调出手续临泉县人社局办事指南26业务名称人员调配工作;2、调入(外地调入)业务类型行政审批文件依据有关政策办事程序1、对方人社部门发来工作人员调动联系函(附调动登记表)。
2、经本局研究并报编委同意,落实接收单位后,发函要档案及附属材料,经审查符合条件,发接收函,本人办好有关手续(行政关系、工资关系、组织关系等)到县人社局报到,由县人社局介绍到新单位主管部门。
所需材料个人申请,单位、主管部门报告,《调动登记表》,商调函,个人档案,其他有关材料办理时限承办机构人才流动开发股收费标准不收费调入办事流程对方人社部门发来事业单位工作人员调动联系函(附调动登记表)经本局研究并报编委同意,落实接收单位后,发函要档案及附属材料,经审查符合条件发接收函,本人办好有关手续(行政关系、工资关系、组织关系等)到县人社局报到由县人社局介绍到新单位主管部门临泉县人社局办事指南27业务名称县内调动业务类型行政审批文件依据有关政策办事程序1、个人申请。
2、调出单位、调入单位签署意见。
3、按照正向流动原则、回避原则、工作需要、编制情况、综合审查,经局党组会议研究并报县编委会议研究同意后,发出调配通知,本人持单位行政介绍信到县人社局报到,人社局介绍到新调单位主管部门。
机关事业单位初级工非行政许可审批流程图成绩不合格者退卷xx 县人事劳动和社会保障局1、 法律依据:《河北省机关事业单位工人考核和工资制度改革实施办法》 2、 责任科室:干部科3、 办理时限:15日4、监督电话:xx 工资福利科 (下发 合格人员名单) 工资福利科(成绩﹑核实﹑登记,当场完结) 申报单位 (公示3天后按要求组卷)工资福利科 (审查﹑审批 当场完结)监督部门局办公室8711453审查不合格者 材料补充修改后再次报审 向监督部门备案 投诉﹑举报﹑落实﹑反馈政府系统公务员登记审批非行政许可流程图初审不合格,一次性告知申报单位或个人向监督部门备案投诉举报、落实、反馈1、法律依据:《公务员法》;《中华人民共和国公务员法实施方案》 1、 任科室:干部科 2、 办理时限:15日4、监督电话:xx单位或个人申承办人 (登记、初审)科长 (审定)监督部门 局办公室 8711453主管局长 (研究)xx 县人事劳动和社会保障局公务员培训登记管理非行政许可流程图反馈单位和本人反馈单位和本人1、 责律依据:《人事劳动和社会保障局规章制度汇编》2、 责任科室:干部科3、 办理时限:15日4、监督电话:xx申报单位组织公务员参承办人 组织培 训考核培训考 核记录存档查阅填入公务员 培训证书与考核任职 晋升挂钩向培训、考核机构交培训费、考务费监督部门 局办公室 87114531、 申报条件:组织公务员参加培训2、报送材料:1、培训人员花名册2、 培训考核费3、 公务员培训证书xx 县人事劳动和社会保障局破产企业无法清偿的社会保险费欠费核销非行政许可流程图1、 法律依据:《国务院关于保留部分非行政许可审批项目的通知》 2、 责任科室:企业科 3、 办理时限:15日 4、监督电话:xx破产企业申报企业科 初审局长办公会 (核定)监督部门 局办公室 8711453上报xx县人事劳动和社会保障局参照国家公务员医疗补助实施范围审批非行政许可流程图批复较难问题申报单位承办人主管局长局务会局长初审不合格,退回疑难问题1、法律依据:《国务院关于保留部门非行政许可审批项目的通知》2、责任科室:医保科3、办理时限:1个月4、监督电话8711453xx 县人事劳动和社会保障局 大宗物品采购内部管理权流 程 图1、 法律依据:《中华人民共和国政府采购法》 2、 责任科室:办公室 3、 办理时限:3日 4、监督电话:xx各科室提出计划办公室审核主管财务局长审核 班子成员集体研究 财政局审核 采购办确定采购方式 采购通过县政务公开栏公开 报县监察局备案 县政府审核xx县人事劳动和社会保障局基建工程招投标内部管理权流程图根据需要提出书面申请局办公室初步审核主管领导审查领导班子集体研究讨论确定工程项目向社会公示请专家论证听证制定可行性报告报县政府及有关机关审批招标代理机构组织招投标报县监察局备案办理监督及开工手续组织竣工验收(并备案)xx 县人事劳动和社会保障局 机关内部财务支配内部管理权流 程 图1. 法律依据:《中华人民共和国招标投标法》、《中华人民共和国建筑法》; 2. 责任科室:办公室 3. 办理时限:2周 4、监督电话:xx预算财务科编制年度预算,经局长办公会审定后,报县财政局申报承办人或经办人请示预算开支项目。
xx 县人事劳动和社会保障局机关事业单位股级以下工作人员年度考核结果审核备案非行政许可审批流程图1、 法律依据:《河北省国家公务员考核实施办法》2、 责任科室:干部科3、 办理时限:15日4、监督电话:xx一次性告知补充材料部署考核 工作 被考核人 填写考核表 县直单位呈报备案表、个人考核表 承办人 (初审) 科长 (审核)局务会 (研究)1、申报要求:①送审人员具有公务员身份。
②符合相关的考核要求。
2、送审材料①单位年度考核审核备案登记表。
②本年度考核登记表。
监督部门局办公室:8711453投诉、举报、核实、反馈主管局长 (审签)报人事局局长 (备案)xx 县人事劳动和社会保障局审批县政府机关事业单位科级以下工作人员年度考核评优评奖比例限额非行政许可审批流程图不符合要求的 ,通知申报单位办理完毕 通知申报单位1、法律依据:《河北省国家公务员考核实施办法》;《河北省事业单位工作人员考核实施办法》;《河北省国家公务员奖励暂行规定》2、责任科室:干部科3、办理时限:15日4、监督电话:xx事业单位 (申报)承办人 (登记、初审)科长 (审核)局务会 (研究)1、 申报材料2、申报条件:按年度考核文件有关规定执行 ①年度考核工作审核备案登记表; ②年度考核表;③人员等次确定花名册;主管局长 (审定)监督部门 局办公室 8711453局长办公会 (听取汇报)xx县人事劳动和社会保障局审核给予或撤销政府机关事业单位股级以下工作人员记三等功以下奖励非行政许可流程图1、法律依据:《河北省国家公务员奖励暂行规定》2、责任科室:干部科3、办理时限:15日4、监督电话:xx 主管部门推荐申报或撤消嘉奖、记三等功报县政府审批县人事部门审核申报或撤消记二等功的报市人事局审批发《奖励决定》颁发《奖励证书》xx 县人事劳动和社会保障局按权限受理政府系统股级以下公务员的申诉控告非行政许可流程图不符合要求的 ,通知申报单位办理完毕 通知申报单位1、法律依据:《国家公务员申诉控告暂行规定》2、责任科室:干部科3、办理时限:15日4、监督电话:xx各单位 (申报)承办人 (登记、初审)科长 (审核)局务会 (研究)2、 申报材料 2、申报条件:按年度考核文件有关规定执行 ①申诉控告审核备案登记表; ②年度考核表;③人员等次确定花名册;主管局长 (审定)监督部门 局办公室 8711453局长办公会 (听取汇报)xx 县人事劳动和社会保障局机关事业单位股级以下干部职务任免、奖惩、辞职、辞退管理非行政许可审批流程图不符合要求的 ,通知申报单位办理完毕 通知申报单位1、法律依据:《河北省国家公务员考核实施办法》;《河北省事业单位工作人员考核实施办法》;《河北省国家公务员奖励暂行规定》2、责任科室:干部科3、办理时限:15日4、监督电话:xx事业单位 (申报)承办人 (登记、初审)科长 (审核)局务会 (研究)3、 申报材料 2、申报条件:按年度考核文件有关规定执行 ①年度考核工作审核备案登记表; ②年度考核表;③人员等次确定花名册;主管局长 (审定)监督部门 局办公室 8711453局长办公会 (听取汇报)xx 县人事劳动和社会保障局机关事业单位初级工非行政许可审批流程图成绩不合格者退卷1、 法律依据:《河北省机关事业单位工人考核和工资制度改革实施办法》 2、 责任科室:干部科 3、 办理时限:15日 4、监督电话:xx工资福利科 (下发 合格人员名单) 工资福利科(成绩﹑核实﹑登记,当场完结) 申报单位 (公示3天后按要求组卷)工资福利科 (审查﹑审批 当场完结)监督部门局办公室 8711453审查不合格者 材料补充修改后再次报审 向监督部门备案 投诉﹑举报﹑落实﹑反馈xx 县人事劳动和社会保障局政府系统公务员登记审批非行政许可流程图初审不合格,一次性告知申报单位或个人向监督部门备案投诉举报、落实、反馈1、法律依据:《公务员法》;《中华人民共和国公务员法实施方案》 1、 任科室:干部科 2、 办理时限:15日4、监督电话:xx单位或个人申承办人 (登记、初审)科长 (审定)监督部门 局办公室 8711453主管局长 (研究)xx 县人事劳动和社会保障局公务员培训登记管理非行政许可流程图反馈单位和本人反馈单位和本人1、 责律依据:《人事劳动和社会保障局规章制度汇编》2、 责任科室:干部科3、 办理时限:15日4、监督电话:xx申报单位组织公务员参承办人 组织培 训考核培训考 核记录存档查阅填入公务员 培训证书与考核任职 晋升挂钩向培训、考核机构交培训费、考务费监督部门 局办公室 87114531、 申报条件:组织公务员参加培训2、报送材料:1、培训人员花名册2、 培训考核费3、 公务员培训证书xx 县人事劳动和社会保障局破产企业无法清偿的社会保险费欠费核销非行政许可流程图1、 法律依据:《国务院关于保留部分非行政许可审批项目的通知》 2、 责任科室:企业科 3、 办理时限:15日 4、监督电话:xx破产企业申报企业科 初审局长办公会 (核定)监督部门 局办公室 8711453上报xx县人事劳动和社会保障局参照国家公务员医疗补助实施范围审批非行政许可流程图批复较难问题申报单位承办人主管局长局务会局长初审不合格,退回疑难问题1、法律依据:《国务院关于保留部门非行政许可审批项目的通知》2、责任科室:医保科3、办理时限:1个月4、监督电话8711453xx 县人事劳动和社会保障局 大宗物品采购内部管理权流 程 图1、 法律依据:《中华人民共和国政府采购法》 2、 责任科室:办公室 3、 办理时限:3日 4、监督电话:xx各科室提出计划办公室审核主管财务局长审核 班子成员集体研究 财政局审核 采购办确定采购方式 采购通过县政务公开栏公开 报县监察局备案 县政府审核xx县人事劳动和社会保障局基建工程招投标内部管理权流程图根据需要提出书面申请局办公室初步审核主管领导审查领导班子集体研究讨论确定工程项目向社会公示请专家论证听证制定可行性报告报县政府及有关机关审批招标代理机构组织招投标报县监察局备案办理监督及开工手续组织竣工验收(并备案)xx 县人事劳动和社会保障局 机关内部财务支配内部管理权流 程 图1. 法律依据:《中华人民共和国招标投标法》、《中华人民共和国建筑法》; 2. 责任科室:办公室 3. 办理时限:2周 4、监督电话:xx预算财务科编制年度预算,经局长办公会审定后,报县财政局申报承办人或经办人请示预算开支项目。
审核财务科领导审核,3个工作日办结。
办理财务科岗位负责人按财务有关规定办理,当日办结。
每季度对财务收支情况进行公开,接受全局干部职工和监督部门监督,年度做好年终决算。
投诉、举报落实、反馈 需领导审批的1、 依据:《人事劳动和社会保障局规章制度汇编》 2、 责任科室:财务科 3、 办理时限:2周 4、监督电话:xx批准 局长或局长办公会决定审批 部门监督 (局监察室)初审不合格,一次性书面通知xx县人事劳动和社会保障局局机关及下属事业单位人事管理内部管理权流程图1依据:《xx县机构编制委员会关于印发人事劳动和社会保障局职能配置内设机构和人员编制规定的通知》2责任科室:办公室3办理时限:2周通知领取批复xx 县人事劳动和社会保障局企业职工档案管理机构审批其他行政权利流程图批复4 4、监督电话:xx申报科室(申报)承办人 (登记、初审)办公室主任 (复审)主管局长 (审核)监督部门 局监察室8711453局长办公会 (审定)县编委会 (批准)投诉、举报 落实、反馈向监督部门备案投诉举报、落实、反馈xx 县人事劳动和社会保障局工效挂钩方案审批其他行政权利流程图批复 疑难问题1、 法律依据:《关于加强企业职工档案管理工作的通知》2、 责任科室:劳动关系仲裁科3、 办理时限:15日4、监督电话:xx承办人 (登记、初审)科长 (审定)主管局长 (研究)1、 法律依据:《全民所有制企业工资总额管理暂行规定》2、 责任科室:工资福利科3、 办理时限:15日4、监督电话:xx财务部门 审批 承办人 初审科长 审定主管局长 批准申报材料:1、上年度企业年终结算会计报表 2、实行工效挂钩申请3、工资总额与实现税利挂钩企业基本情况表4、继续实行工资总额同实现税利挂钩办法企业方案审批表工资总额包干方案审批其他行政权利流程图1、 律依据:《全民所有制企业工资总额管理暂行规定》;2、 任科室:工资福利科3、 办理时限:一个月4、监督电话:xx 企业报送方案(提供:错误!未找到引用源。
包干企业工资总额清算表;错误!未找到引用源。
包干企业方案报审表;错误!未找到引用源。
劳动统计报送材料不全一次性告知补交 工资福利科受理(1个工作日)国资委管理企业由县国资委会同劳动保障、财政部门共同审批(3个工作日) 其他国有、集体企业由县劳动保障局、财政部门审批(3个工作日)劳动保障、财政部门下达包干总额基数(10个工作日) 备案 报送企业国有企业经营者年薪收入审批其他行政权利流程图1、 法律依据:《关于改进和完善国有企业经营者工资收入审批办法的通知》;2、 责任科室:工资福利科3、 办理时限:1日4、监督电话:xx企业报送《河北省国有企业经营者收入审批表》,提供:(错误!未找到引用源。
审计报告书;错误!未找到引用源。
财务决算;错误!未找到引用源。
劳动工资统计年报;错误!未找到引用源。
资产经报送材料不全一次性告知补交 县人事劳动和保障局(工资福利科) 受理(1个工作日)县国资局管理企业由县国资局负责批复 抄送同级劳动保障和财政部门备案其他国有企业由县人事劳动和保障局批复(1日) 报送同级财政和国资局 备案 报送企业xx 县人事劳动和社会保障局工资集体协商方案审批其他行政权利流程图批复向监督部门备案投诉举报、落实、反馈1、 法律依据:《工资集体协商试行办法》2、 责任科室:劳动关系仲裁科3、 办理时限:15日4、监督电话:xx单位申报承办人 (登记、初审)科长 (审定)监督部门 局办公室 8711453主管局长 (研究)xx 县人事劳动和社会保障局 职工退休审批其他行政权利流程图1、 法律依据:《河北省人民政府关于印发<河北省统一企业职工基本养老保险制度实施办法>的通知》 2、 责任科室:工资福利科 3、 办理时限:当日 4、监督电话:8719072职工所在单位申请携带职工本人档案企业职工退休审批表工资福利科 受理(当日) 审查(当日) 审查不符合退休条件退回 审查符合条件予以审批申请人xx 县人事劳动和社会保障局职工工龄接续审批其他行政权利流程图批 复 局长审核批准后,承办人落实初审不合格,退回接受监督投诉、举报1、 法律依据:《河北省劳动厅关于对部分临时工转为正式职工后工龄计算问题处理意见的通知 2、 责任科室:工资福利科 3、 办理时限:15日 4、监督电话:xx申报单位 (申报)主管部门 (审核)局长 (批准)主管局长 (审定) 局务会 (研究) 承办人 (初审) 监督部门局办公室 8711453申报材料:1、人事档案;2、个人申请、单位报告;3、《接续工龄审批表》科长 (复审)xx 县人事劳动和社会保障局技工学校招生审批其他行政权利流程图1、 法律依据:《中华人民共和国职业教育法》2、 任科室:就业服务局3、 办理时限:15日4、监督电话:xx考生报承办人 初审对符合条件的考行组织体验监督部门局办公室 8711453组档上级市 主管部门承办人将录取名单通知考生将录取结果返回承办人 主管部 门录取xx县人事劳动和社会保障局社会保险基金征缴基数审核其他行政权力流程图企业申报参保人数、基数(提供资料:统计年报,每年三月底之前)社保局业务科室审查(当日)决定许可或不许可申请人当场作出许可决定申请资料不全,一次性告知补交1、法律依据:《社会保险费征缴暂行条例》2、责任科室:社保局3、办理时限:1个月4、监督电话8711453xx 县人事劳动和社会保障局工伤保险待遇审核其他行政权利流程图批准 局长批准后,结算单交经办材料不全,退回补正申报单位 (申报)社保经办机构科长 (复查) 主管局长 (审定) 局长 (批准)经办机构财务部1、 法律依据:《河北省工伤保险实施办法》2、 责任科室:工伤科3、 办理时限:15日4、监督电话:8711453xx 县人事劳动和社会保障局收集发布劳动力供需信息职业培训其他行政权利流程图1、 律依据:劳部发(1994)328号(5)2、 责任科室:就业服务局3、 办理时限:15日4、监督电话:xx收集信息承办人 发布信息职业介绍 监督部门 局办公室 8711453职业培训xx 县人事劳动和社会保障局再就业优惠证年检其他行政权利流程图年检验证发放本人1、 法律依据:《关于进一步加强再就业工作的通知》2、 责任科室:就业服务局3、 办理时限:15日4、监督电话:xx申报人承办人 (登记、初审)科长(年检、盖章)监督部门 局办公室 87114531、 再就业优惠证2、 居民身份证 (原件、复印件)3、 年检登记表xx 县人事劳动和社会保障局转业军官安置其他行政权利流程图向县(市)区移通过小组批准后,返回军转办主任组织落实不符合条件的退回 交军转干部档案按时向市军转办报送定位 主任负责,与岗位责任人共同公示安置办法、落实计划方案结果和向部队发出报到通知 对每一名军转干部进行分配定位,安置结果报主管局长审定后 向监督部门备案投诉、举报 落实、反馈报局长备案1、 法律依据:《军队转业干事安置暂行办法》2、责任科室:干部科3、办理时限:15日4、监督电话:xx从市军转办接监督部门 局办公室承办人 (审查档案、登记军转办 主任向上级申请增人计划军转办 (拟制安置意局长 办公会县军转安置领接待、办理军转1、安置条件:2、 报到条件: (1)系当年度计划分配军转干部; (1)转业证;(2)符合留市安置的条件。