建筑工程全套质量管理手册汇编
- 格式:docx
- 大小:147.13 KB
- 文档页数:132
建筑业企业质量管理文件汇编1. 引言本文档是关于建筑业企业质量管理文件的汇编,旨在提供对建筑业企业质量管理的基本要求和指引。
建筑业企业应遵守本文档中的规定,并将其作为质量管理的参考。
2. 质量管理体系建筑业企业应建立和实施质量管理体系,以确保在工程过程中达到预期的质量标准。
质量管理体系应包括以下内容:- 质量方针和目标:建筑业企业应制定和明确质量方针和目标,以指导质量管理工作的实施。
- 质量管理责任:建筑业企业应明确质量管理的责任分工和权限,并分配相应的资源。
- 质量管理计划:建筑业企业应制定质量管理计划,包括质量目标、质量控制措施和质量评估方法等。
- 客户满意度管理:建筑业企业应关注客户需求和满意度,并采取措施提升客户满意度。
- 过程管理:建筑业企业应对工程过程进行有效的管理和控制,确保质量要求得到满足。
- 资源管理:建筑业企业应合理配置资源,包括人力、物资和设备,以支持质量管理工作的开展。
- 培训和教育:建筑业企业应开展员工培训和教育,提高员工的质量意识和专业水平。
- 内部审核:建筑业企业应定期进行内部审核,评估质量管理体系的有效性和符合性。
- 复查与纠正措施:建筑业企业应及时对质量问题进行复查,并采取纠正措施,防止问题再次发生。
3. 质量管理文件建筑业企业应编制和维护一系列质量管理文件,以支持质量管理的实施。
以下是常见的质量管理文件的示例:- 质量手册:包括质量管理体系的一般规定和流程。
- 质量计划:详细说明质量目标、质量控制措施和质量评估方法等。
- 检查记录:记录各项检查和测试的结果和数据。
- 验收报告:记录工程完成后的验收结果和评价。
- 故障报告:记录发生的故障情况和相应的纠正措施。
- 培训记录:记录员工培训和教育的内容和效果。
4. 质量评估与改进建筑业企业应定期进行质量评估,以检查质量管理的有效性和符合性。
评估结果应用于质量改进的决策和措施中,以不断提升建筑业企业的质量水平。
5. 结论本文档汇编了建筑业企业质量管理的基本要求和指引,希望能对建筑业企业实施质量管理工作提供帮助和指导。
建筑工程质量管理手册***有限公司二零**年六月目录2.适用范围 ......................................................................................3.解释和修改...................................................................................4.管理架构 ......................................................................................5.工程施工质量检查及评比制度.......................................................5.1目的.................................................5.2组织架构 ............................................5.3检查时间 ............................................5.4检查范围及内容 ......................................5.5评比办法 ............................................5.6其它.................................................6.施工质量控制流程及控制要点.......................................................6.1精装饰工程 ..........................................6.1.1编制依据 .........................................6.1.2工作流程 .........................................6.1.3工作方法及措施 ...................................6.1.4常见质量通病及防治措施...........................6.2.1工作流程 .........................................6.2.2质量控制要点及目标值 .............................6.2.3过程控制 .........................................6.3门窗工程 ............................................6.3.1工作流程 .........................................6.3.2质量控制要点及目标值 .............................6.4吊顶工程 ............................................6.4.1工作流程 .........................................6.4.2质量控制要点及目标值 .............................6.5轻质隔墙工程 ........................................6.5.1工作流程 .........................................6.5.2质量控制要点及目标值 .............................6.6饰面板(砖)工程 ....................................6.6.1工作流程 .........................................6.6.2质量控制要点及目标值 .............................6.7涂饰工程 ............................................6.7.1工作流程 .........................................6.7.2质量控制要点及目标值 .............................6.8裱糊与软包工程 ......................................6.8.1工作流程 .........................................6.8.2质量控制要点及目标值 .............................6.9细部工程 ............................................6.9.2质量控制要点及目标值 .............................6.10幕墙工程 ...........................................6.10.1编制依据 ........................................6.10.2质量管理流程 ....................................6.10.3质量控制要点及目标值 ............................6.10.4材料进场验收及见证取样..........................6.10.5现场质量控制 ....................................6.11变、配电室工程 .....................................6.11.1专业工程的特点 ..................................6.11.2编制依据 ........................................6.11.3工作流程 ........................................6.11.4质量控制要点及目标值 ............................6.11.5工作方法及措施 ..................................6.11.6材料/构配件/设备的进场验收......................6.11.7常见质量通病及防治措施..........................6.12布线工程 ...........................................6.12.1专业工程的特点 ..................................6.12.2编制依据 ........................................6.12.3工作流程 ........................................6.12.4质量控制要点及目标值 ............................6.12.5工作方法及措施 ..................................6.12.6材料进场验收及见证取样..........................6.13电缆敷设工程 .......................................6.13.1专业工程的特点 ..................................6.13.2编制依据 ........................................6.13.3工作流程 ........................................6.13.4质量控制要点及目标值 ............................6.13.5工作方法及措施 ..................................6.13.6材料的进场验收 ..................................6.13.7常见质量通病及防治措施..........................6.14电气照明工程 .......................................6.14.1专业工程的特点 ..................................6.14.2编制依据 ........................................6.14.3工作流程 ........................................6.14.4质量控制要点及目标值 ............................6.14.5工作方法及措施 ..................................6.14.6材料/构配件/设备进场验收 ........................6.14.7常见质量通病及防治措施..........................6.15防雷、接地装置及等电位联结安装工程 .................6.15.1专业工程的特点 ..................................6.15.2编制依据 ........................................6.15.3工作流程 ........................................6.15.4质量控制要点及目标值 ............................6.15.5工作方法及措施 ..................................6.15.7常见质量通病及防治措施..........................7.质量专题研讨会............................................................................8.质量后服务...................................................................................9.质量专题附件:............................................................................9.1《建筑外墙保温专题》................................9.2《建筑防渗漏专题》..................................9.3《建筑门窗专题》....................................1.目的从公司的总体战略目标出发,本着房地产业务可持续成长的原则,建立健全“质量第一”的项目管理制度,即建立健全对发展项目质量管理的动态监控体系,及时进行发展项目的质量后服务工作及经验总结与交流,不断提高发展项目的质量管控水平,不断提升企业的市场竞争力和品牌价值。
建筑工程质量管理规程手册1、前言建筑工程质量是确保建筑物安全、耐久以及满足设计要求的重要因素。
为了规范和提升建筑工程质量管理水平,本手册旨在制定建筑工程质量管理规程,并提供实施指南。
2、适用范围本手册适用于所有建筑工程的施工过程,包括但不限于房屋建筑、桥梁、道路和地下管网等。
3、质量管理责任3.1 项目负责人应确保建筑工程施工过程中质量管理的有效执行,并承担质量安全的最终责任。
3.2 工程监理单位应对施工过程进行监督,并及时提出质量问题的整改要求。
3.3 施工单位应严格按照质量管理规程执行,并负责组织施工质量的控制和改进工作。
4、质量管理体系4.1 建立质量目标:根据设计要求和施工实际情况,制定适合的质量目标。
4.2 制定施工组织设计:明确施工过程中的各项工作任务、责任和工作流程。
4.3 质量控制计划:制定质量控制计划,明确各项工作的质量检查要求和验收标准。
4.4 质量责任制度:建立施工人员的质量责任制度,明确各级人员的职责和权限。
4.5 文件管理和记录:建立建筑工程质量管理档案,包括施工记录、质量检查记录等。
5、质量控制要求5.1 设计控制:确保设计符合法律法规和技术要求,设计文件具备可操作性。
5.2 材料控制:对进场材料进行检验和验收,确保符合质量要求。
5.3 现场施工控制:严格按照施工组织设计和质量控制计划进行施工,确保工序正确、合理、安全、协调。
5.4 设备仪器控制:保证使用的设备仪器符合安全、可靠、有效的要求,并按规定进行维护和保养。
5.5 施工质量检验:制定合理的检验计划,对施工质量进行检查和验收,确保符合设计要求。
5.6 工序验收:按照施工组织设计和质量控制计划,对每个工序进行验收,确保符合规定的质量要求。
6、质量事故处理6.1 发生质量事故时,应立即采取措施进行抢修和整改,并及时报告相关部门。
6.2 质量事故应成立调查组进行原因分析,并制定相应的整改措施,防止类似事故再次发生。
6.3 质量事故的处理过程应按照相关法律法规和规章制度进行,保护相关当事人的合法权益。
建筑工程质量管理手册第1章建筑工程质量管理体系 (5)1.1 建筑工程质量管理的概念与原则 (5)1.2 建筑工程质量管理体系构建 (5)1.3 建筑工程质量管理的实施与改进 (5)第2章工程项目前期质量管理 (5)2.1 项目策划与可行性研究 (5)2.2 设计质量管理 (5)2.3 施工准备质量管理 (5)第3章材料与设备质量管理 (5)3.1 材料质量管理 (5)3.2 设备质量管理 (5)3.3 材料与设备验收及保管 (5)第4章施工过程质量管理 (5)4.1 施工过程质量控制 (5)4.2 施工过程质量检验 (5)4.3 质量问题处理与预防 (5)第5章工程项目验收质量管理 (5)5.1 验收标准与程序 (5)5.2 验收组织与实施 (5)5.3 验收问题处理 (5)第6章质量改进与持续改进 (5)6.1 质量改进方法与工具 (6)6.2 质量改进计划与实施 (6)6.3 持续改进机制 (6)第7章质量安全管理 (6)7.1 质量安全管理体系 (6)7.2 质量安全处理 (6)7.3 质量安全预防措施 (6)第8章环境保护与节能管理 (6)8.1 环境保护措施 (6)8.2 节能减排措施 (6)8.3 环保节能验收与监管 (6)第9章信息化管理 (6)9.1 信息化管理概述 (6)9.2 信息化管理系统建设 (6)9.3 信息化管理在工程质量中的应用 (6)第10章质量培训与教育 (6)10.1 质量意识培训 (6)10.2 质量管理技能培训 (6)10.3 质量教育体系建设 (6)第11章质量考核与评价 (6)11.2 质量考核方法与实施 (6)11.3 质量评价与反馈 (6)第12章质量法律法规与标准 (6)12.1 质量法律法规体系 (6)12.2 建筑工程质量标准 (6)12.3 法律法规与标准的贯彻落实 (6)第1章建筑工程质量管理体系 (6)1.1 建筑工程质量管理的概念与原则 (6)1.1.1 概念 (7)1.1.2 原则 (7)1.2 建筑工程质量管理体系构建 (7)1.2.1 构建目标 (7)1.2.2 构建内容 (7)1.3 建筑工程质量管理的实施与改进 (7)1.3.1 实施措施 (7)1.3.2 改进方向 (8)第2章工程项目前期质量管理 (8)2.1 项目策划与可行性研究 (8)2.1.1 项目目标确立 (8)2.1.2 项目可行性研究 (8)2.2 设计质量管理 (9)2.2.1 设计方案评审 (9)2.2.2 设计过程控制 (9)2.3 施工准备质量管理 (9)2.3.1 施工组织设计 (9)2.3.2 施工图纸审查 (9)第3章材料与设备质量管理 (10)3.1 材料质量管理 (10)3.1.1 材料选择与采购 (10)3.1.2 材料检验与质量控制 (10)3.1.3 材料存储与保管 (10)3.2 设备质量管理 (10)3.2.1 设备选型与采购 (10)3.2.2 设备检验与验收 (10)3.2.3 设备安装与调试 (10)3.3 材料与设备验收及保管 (11)3.3.1 验收流程 (11)3.3.2 验收标准 (11)3.3.3 保管措施 (11)3.3.4 信息化管理 (11)第4章施工过程质量管理 (11)4.1 施工过程质量控制 (11)4.2 施工过程质量检验 (11)第5章工程项目验收质量管理 (12)5.1 验收标准与程序 (12)5.1.1 验收标准 (12)5.1.2 验收程序 (12)5.2 验收组织与实施 (13)5.2.1 验收组织 (13)5.2.2 验收实施 (13)5.3 验收问题处理 (14)第6章质量改进与持续改进 (14)6.1 质量改进方法与工具 (14)6.1.1 方法 (14)6.1.2 工具 (14)6.2 质量改进计划与实施 (14)6.2.1 质量改进计划 (14)6.2.2 质量改进实施 (15)6.3 持续改进机制 (15)6.3.1 建立持续改进文化 (15)6.3.2 建立持续改进体系 (15)第7章质量安全管理 (15)7.1 质量安全管理体系 (15)7.1.1 质量安全目标 (15)7.1.2 组织结构 (15)7.1.3 质量安全程序 (15)7.1.4 质量安全过程 (16)7.1.5 资源配置 (16)7.2 质量安全处理 (16)7.2.1 报告 (16)7.2.2 调查 (16)7.2.3 应急处理 (16)7.2.4 处理 (16)7.2.5 信息公开 (16)7.3 质量安全预防措施 (16)7.3.1 员工培训 (16)7.3.2 设备管理 (16)7.3.3 原材料控制 (16)7.3.4 生产过程控制 (16)7.3.5 质量检验 (17)7.3.6 风险评估 (17)第8章环境保护与节能管理 (17)8.1 环境保护措施 (17)8.1.1 完善环境保护法律法规体系 (17)8.1.2 强化环境监测与污染源治理 (17)8.1.3 推广绿色生产与消费模式 (17)8.1.5 提高环保意识与公众参与 (17)8.2 节能减排措施 (17)8.2.1 加大产业结构调整力度 (17)8.2.2 推广节能减排技术 (17)8.2.3 强化能源管理 (18)8.2.4 发展清洁能源 (18)8.2.5 倡导低碳生活方式 (18)8.3 环保节能验收与监管 (18)8.3.1 建立环保节能验收制度 (18)8.3.2 加强环保节能监管力度 (18)8.3.3 完善环保节能评价指标体系 (18)8.3.4 强化责任追究制度 (18)第9章信息化管理 (18)9.1 信息化管理概述 (18)9.1.1 信息化管理的概念 (18)9.1.2 信息化管理的特点 (19)9.1.3 信息化管理的作用 (19)9.2 信息化管理系统建设 (19)9.2.1 信息化管理系统规划 (19)9.2.2 信息化管理系统设计 (19)9.2.3 信息化管理系统实施 (20)9.2.4 信息化管理系统运维 (20)9.3 信息化管理在工程质量中的应用 (20)9.3.1 工程项目管理 (20)9.3.2 工程质量控制 (20)9.3.3 工程资料管理 (20)9.3.4 工程安全管理 (20)9.3.5 工程成本管理 (20)第10章质量培训与教育 (21)10.1 质量意识培训 (21)10.2 质量管理技能培训 (21)10.3 质量教育体系建设 (21)第11章质量考核与评价 (22)11.1 质量考核指标体系 (22)11.2 质量考核方法与实施 (22)11.3 质量评价与反馈 (23)第12章质量法律法规与标准 (23)12.1 质量法律法规体系 (23)12.1.1 法律 (24)12.1.2 行政法规 (24)12.1.3 部门规章 (24)12.1.4 地方性法规、规章 (24)12.2 建筑工程质量标准 (24)12.2.2 行业标准 (24)12.2.3 地方标准 (24)12.2.4 企业标准 (25)12.3 法律法规与标准的贯彻落实 (25)12.3.1 加强法律法规与标准的宣传和培训 (25)12.3.2 强化监督检查 (25)12.3.3 严格法律责任 (25)12.3.4 深化体制改革 (25)第1章建筑工程质量管理体系1.1 建筑工程质量管理的概念与原则1.2 建筑工程质量管理体系构建1.3 建筑工程质量管理的实施与改进第2章工程项目前期质量管理2.1 项目策划与可行性研究2.2 设计质量管理2.3 施工准备质量管理第3章材料与设备质量管理3.1 材料质量管理3.2 设备质量管理3.3 材料与设备验收及保管第4章施工过程质量管理4.1 施工过程质量控制4.2 施工过程质量检验4.3 质量问题处理与预防第5章工程项目验收质量管理5.1 验收标准与程序5.2 验收组织与实施5.3 验收问题处理第6章质量改进与持续改进6.1 质量改进方法与工具6.2 质量改进计划与实施6.3 持续改进机制第7章质量安全管理7.1 质量安全管理体系7.2 质量安全处理7.3 质量安全预防措施第8章环境保护与节能管理8.1 环境保护措施8.2 节能减排措施8.3 环保节能验收与监管第9章信息化管理9.1 信息化管理概述9.2 信息化管理系统建设9.3 信息化管理在工程质量中的应用第10章质量培训与教育10.1 质量意识培训10.2 质量管理技能培训10.3 质量教育体系建设第11章质量考核与评价11.1 质量考核指标体系11.2 质量考核方法与实施11.3 质量评价与反馈第12章质量法律法规与标准12.1 质量法律法规体系12.2 建筑工程质量标准12.3 法律法规与标准的贯彻落实第1章建筑工程质量管理体系1.1 建筑工程质量管理的概念与原则1.1.1 概念建筑工程质量管理是指在建筑工程建设过程中,对工程质量进行全面、系统的策划、组织、协调、控制和监督的活动。
建筑工程项目质量管理手册第一章质量管理概述 (3)1.1 质量管理的基本概念 (3)1.1.1 质量策划:在工程项目启动阶段,对项目质量目标、质量计划、质量保证措施等进行系统规划的过程。
(3)1.1.2 质量控制:在工程项目实施过程中,对各项质量要求进行监督、检查、分析和改进,以保证项目质量满足预定要求的过程。
(3)1.1.3 质量保证:通过建立健全的质量管理体系,对工程项目实施过程中的质量进行系统性保障,保证项目质量达到预定要求。
(3)1.1.4 质量改进:在工程项目实施过程中,对质量管理体系、质量控制措施等进行不断优化,以提高项目质量水平的过程。
(4)1.2 质量管理的目标与任务 (4)1.2.1 质量管理的目标 (4)1.2.2 质量管理的任务 (4)第二章质量管理体系 (4)2.1 质量管理体系标准 (4)2.1.1 质量管理体系标准概述 (4)2.1.2 质量管理体系标准内容 (4)2.2 质量管理体系文件的编制 (5)2.2.1 质量管理体系文件编制原则 (5)2.2.2 质量管理体系文件内容 (5)2.3 质量管理体系文件的审批与发布 (5)2.3.1 质量管理体系文件的审批 (5)2.3.2 质量管理体系文件的发布 (5)第三章质量计划 (6)3.1 质量计划编制的原则 (6)3.2 质量计划的编制方法 (6)3.3 质量计划的实施与监控 (6)第四章设计质量管理 (7)4.1 设计质量管理的基本要求 (7)4.1.1 符合法律法规 (7)4.1.2 满足功能需求 (7)4.1.3 安全性 (7)4.1.4 经济性 (7)4.1.5 创新性 (7)4.2 设计过程的控制 (7)4.2.1 设计策划 (7)4.2.2 设计输入 (8)4.2.3 设计过程 (8)4.2.4 设计输出 (8)4.2.5 设计评审 (8)4.2.6 设计变更 (8)4.3 设计变更与修改 (8)4.3.1 变更原因 (8)4.3.2 变更程序 (8)4.3.3 变更记录 (8)4.3.4 变更后的设计审查 (8)4.3.5 变更后的施工配合 (8)第五章施工质量管理 (8)5.1 施工质量管理的基本要求 (8)5.2 施工过程的控制 (9)5.3 施工质量验收与评定 (9)第六章材料设备质量管理 (10)6.1 材料设备质量控制的基本要求 (10)6.1.1 材料设备的质量是建筑工程项目质量的基础。
建筑工程质量管理制度汇编第一章总则第一条为规范建筑工程质量管理行为,提高建筑工程质量,保障工程建设的安全性、可靠性、经济性和环保性,制定本建筑工程质量管理制度。
第二条本制度适用于建筑工程的设计、施工、验收、竣工以及使用、维护等过程中的质量管理行为。
第三条建筑工程质量管理应遵循“科学、规范、合理、严格”的原则,实行全过程、全方位、全要素的质量管理。
第四条建筑工程质量管理应结合国家有关法律法规和标准规范,符合工程设计、施工、验收标准要求。
第五条各项目部门依据本制度制定相应的质量管理方案,明确质量目标和责任,实行分工、协作,确保建筑工程质量。
第二章设计阶段第六条设计单位应当按照相关法律法规和标准,严格履行设计程序和要求,落实设计质量管理制度。
第七条设计单位应当开展设计前期勘察,确保设计依据准确、完整、可靠。
第八条设计单位应当建立设计审查程序,确保设计方案符合国家法律法规和标准。
第九条设计单位应当加强与建设单位和施工单位的沟通与协作,及时调整设计方案。
第十条设计单位应当对设计文档进行认真审核,确保设计文件的准确性和完整性。
第十一条设计单位应当建立设计变更管理制度,确保变更前后设计文件一致性。
第三章施工阶段第十二条施工单位应当按照设计文件要求,安排施工作业,确保施工质量。
第十三条施工单位应当建立质量验收制度,对施工过程进行监督和检查。
第十四条施工单位应当建立质量记录档案,留存相关检查记录和验收报告。
第十五条施工单位应当定期对施工现场进行安全检查,确保施工安全。
第十六条施工单位应当建立施工进度管理制度,确保施工按时完成。
第十七条施工单位应当定期对施工人员进行培训,提高员工素质和技术水平。
第四章验收阶段第十八条验收单位应当按照设计文件和验收标准要求,对建筑工程进行质量验收。
第十九条验收单位应当建立验收记录档案,留存验收报告和相关检验数据。
第二十条验收单位应当定期对建筑工程进行检查和维护,确保建筑工程质量。
第二十一条验收单位应当加强与设计单位和施工单位的沟通与协作,及时解决质量问题。
建筑工程质量管理制度汇编一、总则第一条为了加强建筑工程质量管理,保证建筑工程的质量和安全,根据《建筑法》、《质量管理法》等有关法律法规,制定本制度。
第二条本制度适用于我国境内的建筑工程质量管理工作,包括新建、扩建、改建和加固等各类建筑工程。
第三条建筑工程质量管理工作应遵循科学管理、预防为主、综合治理的原则,建立健全质量管理体系,确保建筑工程质量。
第四条国家实行建筑工程质量监督制度,各级建筑工程质量监督机构应依法对建筑工程质量进行监督检查。
二、质量管理制度第五条建筑工程质量管理制度应包括以下内容:(一)质量管理体系:明确质量管理组织机构、职责和权限,制定质量管理程序和文件。
(二)质量计划:根据工程特点,制定工程质量目标、措施和要求,明确各参与方的质量责任。
(三)设计文件审查制度:对设计文件进行审查,确保设计符合法律法规、技术标准和工程实际需求。
(四)施工许可制度:施工前应依法办理施工许可证,确保施工单位具备相应资质和条件。
(五)施工质量控制制度:对施工过程进行质量控制,确保施工质量符合设计要求和标准。
(六)工程验收制度:工程完成后,进行验收,确保工程质量符合法律法规和合同要求。
(七)质量事故处理制度:对质量事故进行调查、处理和报告,采取措施防止类似事故再次发生。
(八)质量监督制度:各级建筑工程质量监督机构对建筑工程质量进行监督检查,发现问题及时处理。
第六条建设单位应按照法律法规和合同约定,对建筑工程质量负总责。
第七条设计单位应根据工程特点和需求,制定合理的设计方案,并对其设计的质量负责。
第八条施工单位应按照设计文件和施工标准,组织施工,并对其施工的质量负责。
第九条监理单位应按照法律法规和合同约定,对施工过程进行监理,确保施工质量。
第十条建筑工程质量检测机构应依法取得资质,对其检测结果负责。
三、质量管理措施第十一条建设单位、设计单位、施工单位、监理单位和建筑工程质量检测机构应建立健全质量管理体系,明确各自的职责和权限,确保建筑工程质量。
1、建设工程所有安全使用功能项目符合实际要求,所有分项分部工程和单位工程符合工程质量验收统一标准,合格率达到100%。
其中专项质量达到:①所有隐蔽工程质量经项目专业工程须检查验收合格;②卫生间、屋面、地面不渗漏,所有门窗和外墙不渗雨水;③所有设备安装调试符合设计要求和施工规范规定;④装饰装修材料符合环保要求;⑤结构几何尺寸符合设计要求和施工验收规范标准;⑥粗装修墙面和砼墙、板基层处理不裂缝,装修工程质量符合施工规范验收标准。
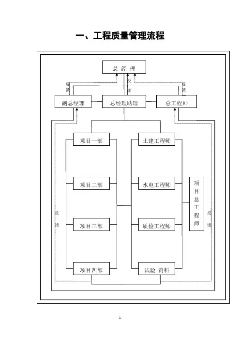
2、创精品和品牌工程三、检查制度与检查组织为了检查公司各项目工程质量控制情况,促进各项目之间相互学习,不断改进和提高工程质量,实现公司质量管理目标,公司每月末组织各项目工程质量、工程进度、安全生产及文明施工进行综合联查,下月初召开联查总结大会,对各项目联查结果进行通报。
会议参加人员:总经理、副总经理、总经理助理、总工程师、公司各部门负责人、项目经理、项目总工程师、质检员、安全员1、检查组织总经理、副总经理、总经理助理、总工程师、公司各部门负责人、项目经理2、检查要求①项目综合联查后,由公司主管部门领导及主管专业进行整理汇总,并报办公室备案。
②由项目经理部组织项目各专业主管和班组长每周对工程质量、工程进度、安全生产及文明施工进行综合检查,对检查出的问题,原因分析、采取措施、整改完成时间及复查结果做好检查记录,以备公司检查。
③奖励与处罚:每月公司对综合联查第一名的项目部主要管理人员给予100—500元奖励,对综合联查最后一名的项目部主要管理人员给予50—100处罚。
项目部每周联查报表未及时上报公司的,给予项目经理100元/次处罚。
四、工程质量控制程序、方法及原则1、工程质量控制程序施工班组自检合格——项目部工长检查合格——项目部专职质检员验收合格——项目总工程师抽验合格——报监理工程师验收2、工程质量控制方法采用事前控制,结合事中和事后控制,把管结果变为管因素、管过程,以预防为主,事后处理为辅。
建筑工程质量管理体系及制度汇编一、建筑工程质量管理体系1. 质量管理体系的目的:建立科学、有效的建筑工程质量管理制度,以确保工程质量的稳定和提升。
2. 质量管理组织机构:建筑项目质量管理应设立项目质量负责人、监理负责人、施工单位质量员等,并建立完善的质量管理组织机构。
3. 质量管理责任制度:明确各岗位的质量管理职责,建立健全的质量管理责任制度。
4. 质量管理文件体系:制定完善的质量管理文件,包括质量管理手册、施工组织设计、施工方案、施工图纸等。
5. 质量控制流程:建立工程质量控制全过程管理制度,包括质量检验、不合格品处理、责任追究等环节。
6. 质量评估体系:建立科学的质量评估体系,对工程质量进行定期评估和检查。
7. 不合格品处理制度:建立完善的不合格品处理制度,及时处理工程质量问题,避免出现严重后果。
8. 质量改进机制:建立质量改进机制,及时总结工程质量管理经验,提高施工质量水平。
二、建筑工程质量管理制度1. 施工单位质量管理制度:明确施工单位质量管理职责,建立施工单位质量管理体系。
2. 材料质量管理制度:严格控制施工材料的质量,确保材料符合工程质量要求。
3. 工序管控制度:建立施工过程中的工序管控制度,保证各施工工序按照规范进行。
4. 现场管理制度:建立现场管理制度,包括施工现场安全管理、环境保护管理等。
5. 设备管理制度:确保施工设备的正常运行,避免因设备故障导致工程质量问题。
6. 员工培训制度:培训施工人员,提高他们的技术水平和质量意识。
7. 质量验收制度:建立质量验收制度,对工程质量进行验收,确保符合规范和要求。
8. 客户满意度调查制度:定期进行客户满意度调查,了解客户对工程质量的评价,及时改进工作。
以上建筑工程质量管理体系及制度汇编仅供参考,实际工程项目中应根据具体情况进行调整和完善。
建筑工程质量管理是一个综合性的系统工程,只有建立科学、严格的质量管理体系和制度,才能保障工程质量,确保工程安全和可靠。
质量管理手册带建筑工程SANY标准化小组 #QS8QHH-HHGX8Q8-GNHHJ8-HHMHGN#受控状态:受控编号:LXJZ/GS—2014发放编号:版本号: A/0管理手册(依据GB/T19001-2008、GB/T24001-2004、GB/T28001-2014、GB/T50430-2007四标准编制)受控状态:是□否□版本: A/0文件编号: LXJZ/GS-2014生效日期: 2014年03月01日修订日期: 2014年03月01日编制:综合办公室审核:张王批准:赵武2014年03月01日发布 2014年03月01日实施河南建筑工程有限公司目录内容页码0 总则目录 (2)管理手册发布令 (5)管理方针批准令 (6)目标批准令 (7)管理者代表任命书 (8)公司简介 (9)管理手册说明 (10)管理手册的更改和修订 (10)管理手册的管理 (10)1范围 (11)管理手册编制的依据 (11)管理手册规定的内容 (11)管理手册删减的内容 (11)管理手册适用领域和范围 (11)2术语和定义 (12)通用术语 (12)专用术语 (12)常用缩略语 (12)3组织结构及管理职能分配 (12)管理体系组织结构 (12)管理体系职能分配 (12)公司机关总平面布置图及管网布置图 (12)4管理体系 (13)总要求 (13)文件要求 (13)总则 (13)管理手册 (13)文件控制 (14)记录控制 (14)法律、法规及其他要求 (14)5管理职责 (15)管理承诺 (15)以顾客为关注焦点 (15)管理方针 (15)策划 (15)质量目标、环境、职业健康安全目标、指标和管理方案 (16)管理体系策划 (16)职责、权限和沟通 (16)职责和权限 (17)管理者代表 (18)内外沟通与交流 (18)管理评审 (20)总则 (20)评审输入 (20)评审输出 (20)管理评审记录的保持 (20)6资源管理 (21)资源的提供…………………………………………………………………………………………人力资源 (21)总则 (21)能力、培训和意识 (21)基础设施 (21)工作环境 (21)7产品实现 (22)产品实现的策划 (22)与顾客有关的过程 (22)设计和开发(已删减) (23)采购 (23)生产和服务的提供 (24)生产和服务提供的控制 (24)生产和服务提供过程的确认 (24)标识和可追溯性 (25)顾客财产 (25)产品防护 (25)监视和测量设备的控制 (25)环境、职业健康安全风险管理 (26)环境因素 (26)对危险源辨识、风险评价和风险控制的策划 (26)环境运行控制 (27)职业健康安全运行控制 (27)应急准备和响应 (27)8测量、分析和改进 (28)总则 (28)监视和测量 (28)顾客满意 (28)内部审核 (29)过程的监视和测量 (29)产品的监视和测量 (30)环境绩效和测量 (30)职业健康安全绩效监视和测量 (30)合规性评价 (31)不合格品的控制 (31)不合格品的控制 (31)环境不符合的控制 (31)事故、事件、不符合的控制 (32)数据分析 (32)改进 (32)持续改进 (32)纠正措施 (33)预防措施 (33)附录 (33)附录1:管理体系组织机构图附录2:管理体系程序文件清单附录3:管理体系职能分配表附件4:工艺流程图《管理手册》发布令公司LH/GS-2014《管理手册》是依据GB/T19001—2008《质量管理体系——要求》、GB/T24001-2004《环境管理体系——要求及使用指南》、GB/T28001-2014《职业健康安全管理体系——规范》、GB/T50430-2007《工程建设施工企业质量管理规范》标准,结合当前进行的管理体制和经营机制改革,对公司的管理体系策划后进行编制的。
建筑工程质量管理手册*** 有限公司二零** 年六月1. ................................................................................................... 目的52. 适用范围 (5)3. 解释和修改 (5)4. 管理架构 (6)5. 工程施工质量检查及评比制度 (7)5.1 目的 (7)5.2 组织架构 (7)5.3 检查时间 (7)5.4 检查范围及内容 (7)5.5 评比办法 (8)5.6 其它 (9)6. 施工质量控制流程及控制要点 (16)6.1 精装饰工程 .............................................................166.1.1 编制依据..........................................................166.1.2 工作流程............................................................176.1.3 工作方法及措施 ......................................................196.1.4 常见质量通病及防治措施 ..............................................216.2 抹灰工程 (23)6.2.1 工作流程............................................................236.2.2 质量控制要点及目标值 ................................................236.2.3 过程控制............................................................266.3 门窗工程 ...............................................................276.3.1 工作流程............................................................276.3.2 质量控制要点及目标值 ................................................286.4 吊顶工程 ...............................................................346.4.1 工作流程............................................................346.4.2 质量控制要点及目标值 ................................................356.5 轻质隔墙工程 ...........................................................396.5.1 工作流程............................................................396.5.2 质量控制要点及目标值 ................................................396.6 饰面板(砖)工程 (43)6.6.1 工作流程 (43)6.6.2 质量控制要点及目标值 (43)6.7 涂饰工程 (48)6.7.1 工作流程 (48)6.7.2 质量控制要点及目标值 (48)6.8 裱糊与软包工程 (52)6.8.1 工作流程 (52)6.8.2 质量控制要点及目标值 (52)6.9 细部工程 (57)6.9.1 工作流程 (57)6.9.2 质量控制要点及目标值 (57)6.10 幕墙工程 (61)6.10.1 编制依据 (61)6.10.2 质量管理流程 (62)6.10.3 质量控制要点及目标值 (63)6.10.4 材料进场验收及见证取样 (68)6.10.5 现场质量控制 (70)6.11 变、配电室工程 (72)6.11.1 专业工程的特点 (72)6.11.2 编制依据 (73)6.11.3 工作流程 (73)6.11.4质量控制要点及目标值 (74)6.11.5 工作方法及措施 (78)6.11.6材料/构配件/设备的进场验收 (81)6.11.7 常见质量通病及防治措施 (81)6.12 布线工程 (83)6.12.1 专业工程的特点 (83)6.12.2 编制依据 (83)6.12.3 工作流程 (84)6.12.4 质量控制要点及目标值 (85)6.12.5 工作方法及措施 (88)6.12.6 材料进场验收及见证取样 (90)6.12.7 常见质量通病及防治措施 (91)6.13 电缆敷设工程 (94)6.13.1 专业工程的特点 (94)6.13.2 编制依据 (95)6.13.3 工作流程 (95)6.13.4 质量控制要点及目标值 (96)6.13.5 工作方法及措施 (99)6.13.6 材料的进场验收 (103)6.13.7 常见质量通病及防治措施 (103)6.14 电气照明工程 (104)6.14.1 专业工程的特点 (104)6.14.2 编制依据 (104)6.14.3 工作流程 (104)6.14.4 质量控制要点及目标值 (105)6.14.5 工作方法及措施 (111)6.14.6 材料/构配件/设备进场验收 (114)6.14.7 常见质量通病及防治措施 (114)6.15 防雷、接地装置及等电位联结安装工程 (116)6.15.1 专业工程的特点 (116)6.15.2 编制依据 (116)6.15.3 工作流程 (116)6.15.4 质量控制要点及目标值 (117)6.15.5 工作方法及措施 (120)6.15.6 材料/构配件/设备的进场验收 (123)6.15.7 常见质量通病及防治措施 (123)7. ............................................................................................... 质量专题研讨会 .. (125)8. ............................................................................................... 质量后服务 (125)9. ............................................................................................... 质量专题附件: .. (126)9.1《建筑外墙保温专题》 (126)9.2《建筑防渗漏专题》 (126)9.3《建筑门窗专题》 (126)1. 目的从公司的总体战略目标出发,本着房地产业务可持续成长的原则,建立健全“质量第一”的项目管理制度,即建立健全对发展项目质量管理的动态监控体系,及时进行发展项目的质量后服务工作及经验总结与交流,不断提高发展项目的质量管控水平,不断提升企业的市场竞争力和品牌价值。
《工程质量安全手册》实施方法汇编(试行)中建三局2019年10月前言住建部2018年9月发布了《工程质量安全手册(试行)》,(以下简称手册),《手册》以人民群众对高品质建筑需求作为根本出发点和落脚点,对完善企业质量安全管理体系,规范企业质量安全行为,落实企业主体责任,提出了具体要求。
中建三局牢记企业使命,致力于拓展幸福空间,始终将质量安全管理放在首位,通过技术优化、工艺优化、措施优化,管理方式改进、建造方式转变和施工技术创新等方式,推动质量安全变革、促进质量安全提升。
为提高《手册》执行效率,结合企业管理体系、管理制度,编制了配套的实施文件,对《手册》内容进行了充实、细化和完善,形成了中建三局《工程质量安全手册》实施方法汇编,实现《手册》与企业日常质量安全管理体系相融合。
本汇编结合中建三局现有管理方法以及实践成果,总结形成可复制、可推广的实践经验,为质量、安全管理提升及推动建筑业管理的标准化、信息化、精细化提供有力支撑,助力建筑业高质量发展。
目录1.管理行为 (4)1.1质量管理行为 (4)1.2安全管理行为 (13)2.质量控制方法 (23)2.1地基基础工程 (23)2.2钢筋工程 (25)2.3混凝土工程 (34)2.4装配式混凝土工程 (43)2.5砌体工程 (47)2.6防水工程 (54)2.7装修工程 (62)2.8机电工程................................................................663.安全管理 (71)3.1高坠、物体打击风险管控 (71)3.2坍塌、倾覆风险管控 (78)3.3机械、起重伤害风险管控 (82)3.4火灾风险管控 (85)3.5触电风险管控 (89)3.6职业健康风险管控 (93)4.工程资料管理 (99)5.特色活动 (104)5.1质量特色活动 (104)5.2安全特色活动 (109)1.管理行为1.1质量管理行为3实操手册按照中建三局《企业管理标准》、《项目管理标准》、《岗位管理标准》(2016局“三个标准”)的具体要求,编制了《中南公司标准化项目实操手册》简明扼要、通俗易懂、内容全面能全面指导项目开展各项质量活动,提升质量品质★★★可复制可推广4劳务总包一体化管理分包与总包质量管理人员集体办公加大项目质量管控的能力及凝聚力,形成融合共同体,共同推进品质提升★★★可复制可推广9混凝土浇灌申请单混凝土浇筑前,由施工员填写浇灌申请单,并报商务、生产经理及项目经理进行审批通过项目各部门各部门联动,多方审核浇筑混凝土的部位、标号及方量,防止混凝土的标号错误,方量偏差较大等问题的产生★★★可复制可推广10搅拌站飞检项目相关管理人员随时对搅拌站混凝土的原材料、材料配合比进行抽查第一手把关混凝土原材料的质量,做到混凝土的质量从源头抓起★★★可复制可推广1.2安全管理行为序号实施方法方法介绍图片实施目的推广指数推广说明1责任制及考核体系建立管理人员安全生产责任制及考核体系,考核结果作为个人KPI 组成部分,不同岗位KPI 安全履职指标占比不同全面深化“党政同责、一岗双责”,明确企业、项目部门各岗位安全生产职责,安全履职情况与个人KPI 挂钩,进一步推进全员安全管理★★★可复制可推广2责任区域管理项目施工现场实行属地化安全管理,根据项目实际,划分责任区域、明确区域责任人、包括总包、分包单位责任人将安全责任明确到个人,增强主动安全履职意识;为项目管理人员及分包安全考核建立基础★★★可复制可推广3深化设计开工阶段,项目与业主沟通,提升建造思维,组织深化设计,依托《中建三局住宅工程精益建造实施指南2.0》、《中建三局公建工程精益建造实施指南1.0》,优化部分传统做法通过两图融合,进行设计优化、工艺优化、措施优化,消除危险源或减少存在时间,推动精益安全管理,提升本质安全水平★行业水平要求高4BIM 技术应用项目前期策划使用BlM 工具,对现场进行虚拟建模、三维场布,用于临建设计、场平布设、外架设计、洞口防护等优化施工空间;保证文明施工;分析专业碰撞,提前发现隐患,避免施工中因未考虑到因素而引发事故发生★行业水平要求高5施工安全指导编制《中建三局危险作业指导书》《中建三局施工现场安全防护标准化图册》《项目标准化管理实操手册》等一系列指导文件管理标准化作业标准化防护标准化★★资源组织能力要求高6专项整治规定针对项目风险集中情况,建立各类集中风险安全管理规定针对风险做专项整治规定,以点成面,推动全覆盖安全管理★★★可复制可推广7管理动作可视化1、将施工方案编审、安全交底(方案交底、安全技术交底)、过程旁站监督检查、验收、作业人员安全教育培训等管理行为通过展牌现场公示2、对现场安全防护设施及危大工程实行挂牌验收管理1、安全管理透明化、可视化,增强主动安全履职意识2、对作业人员和其他管理人员起到提醒作用★★★可复制可推广9多样化检查1、领导带班检查2、早巡场、晚闭合3、设备班前检查4、“检到位”系统运用5、内部第三方评估通过多项检查模式,全方位提高隐患发现整改能力,全面、系统、客观反映项目安全生产情况,为调整安全发展方向提供数据支撑★★部分需一定成本及资源组织10关键作业监督定点巡更,对大型设备及现场危险作业关键部位安装安全巡查打卡点,责任工程师通过打卡器定点监督关键工艺推进落实情况实时监控现场作业情况,促进实际检查效果,保留安全履职痕迹★★★可复制可推广11个人安全档案1、与实名制管理相结合,建立人员入场规定流程:工人进场→职业健康体检→三级安全教育→录入信息,办理实名制门禁→日常安全教育、交底2、个人安全档案:将作业人员入场后所有信息统计成册,一人一档,包含:基本信息卡、职业健康档案、安全教育卡、奖惩信息卡、行为准则、操作规程等有效掌握现场作业人员基本信息及作业情况,对个人行为不规范、身体异常人员第一时间反应,及时纠正或清退★★门禁需完全落实实名制管理2.质量控制方法2.1地基基础工程序号实施方法方法介绍图片实施目的推广指数推广说明1预制混凝土承台基础承台根据图纸进行深化设计,在预制加工场对PC 板进行加工,运输至施工现场进行拼装替代传统砖胎模的施工方法使用预制混凝土承台代替传统的砌筑承台,提高承台成型质量及精确度,可加快施工进度★需要一定的成本及技术支持2预制止水钢板应用BIM 技术对止水钢板进行三维深化,在加工棚集中对转角止水钢板提前焊接,现场只对直线段搭接部位进行焊接降低材料的损耗,缩短了止水钢板安装时间,大大提高了非直线部位止水钢板焊接质量★★★可复制可推广3型钢支架基础底板钢筋施工中选用型钢支架作为面层钢筋的支撑体系,代替传统的钢管支架有效控制板筋间距、标高,提高底板钢筋绑扎过程中的稳定性、安全性,减小基础底板渗漏隐患★★需要一定成本4超前封闭后浇带通过搭设支撑架体并铺设模板,绑扎板筋至后浇带处,将齿形盖板、侧边钢栏板、型钢斜撑预留插筋依次焊接完成,安装两侧后浇带盖板,并将柔性材料填充至封闭后浇带可实现后浇带提前封闭,减少后浇带处渗漏质量隐患及安全隐患,避免后浇带敞开阶段向地下室流水,减少安全文明施工费用★★★可复制可推广2.2钢筋工程序号实施方法方法介绍图片实施目的推广指数推广说明1钢筋信息平台运用在钢筋验收过程中,通过手机终端和电脑终端,将钢筋的验收过程及结果上传至单机版信息平台上实现推动建造质量管理系统化、及时化和信息化★需要信息化及一定成本支持2BIM钢筋放样钢筋工程施工图中融入BIM技术,通过BIM建立专业模型能够摒弃传统平法施工图的诸多局限性,把钢筋放样图清晰的呈现出来,既简单,又直观。
建筑工程质量管理手册一、引言本手册旨在规范和提高建筑工程质量管理水平,确保建筑工程的安全性、可靠性和质量标准的达到。
本手册适用于所有建筑工程项目,并应由所有相关人员严格遵守。
二、质量管理体系1. 质量方针和目标a. 确立建筑工程质量方针,如安全、可持续、符合法规等;b. 设定质量目标,达到并超越客户期望。
2. 组织架构a. 确定质量管理部门,负责建筑工程质量管理;b. 建立沟通协调机制,确保信息畅通。
3. 质量管理流程a. 制定建筑工程质量管理流程图,明确各环节责任和流程;b. 执行并监督质量管理流程,及时发现和解决问题。
三、人员管理1. 岗位职责a.明确各岗位的职责和权限;b.建立相应的培训计划,提高人员专业素质。
2. 培训和教育a. 进行必要的培训,提高员工的技术和管理水平;b. 定期组织内外部培训,与建筑行业的最新技术和规范保持同步。
3. 人员配备a. 根据项目需求,合理配置人员;b. 要求具备相应的从业资格和经验。
四、施工管理1. 设计管理a. 严格按照设计文件进行施工;b. 遵循设计规范和法规要求。
2. 材料管理a. 选择合格的材料供应商;b. 做好材料验收和登记工作;c. 确保材料质量符合规范。
3. 施工工艺a. 按照工程流程执行施工;b. 严格遵守相关施工规范。
4. 质量控制a. 制定施工技术规范和操作规程;b. 对施工过程进行全程监控和检查;c. 针对问题及时采取纠正措施。
五、质量检验1. 设备和设施a. 保证使用的设备和设施符合要求;b. 定期进行设备维护和检修。
2. 检测和试验a. 进行必要的质量检测和试验;b. 检测结果符合标准,方可进行下一步施工。
3. 质量记录a. 记录施工过程中的质量控制数据;b. 整理和保存相关质量文件和记录。
六、质量改进1. 故障分析a. 对施工中的质量问题进行分析;b. 寻找问题原因和责任方,并采取相应措施防止再次发生。
2. 反馈和总结a. 定期汇总质量问题和解决方案;b. 提出建议和改进措施。
建筑工程质量管理手册(总22页)-CAL-FENGHAI.-(YICAI)-Company One1-CAL-本页仅作为文档封面,使用请直接删除建筑施工组织与管理原则(一)认真执行工程建设程序(二)保证重点,统筹安排(三)遵循施工工艺及技术规程,合理安排工序(四)利用电子计算机进行施工管理(五)尽量采用先进技术与科学管理方法(六)验收程序执行双鹰建筑公司定陶美景国际现代城项目的规章第一章.建筑施工质量控制质量管理,在工程项目“三控、三管、一协调”中占主导地位。
要求从业人员不但要具备较强的理论功底,且要有丰富的施工经验,临危不乱的处理突发事故的能力。
阐述如下:一.首先要看懂图纸、吃透规范、熟练运用图集;图纸审核要点:1.审查设计图纸是否与标书中的说明一致。
2.是否符合国家有关工程建设的方针、政策。
3.是否符合国家或行业的规范与标准。
4.图纸中是否有矛盾和错误。
5.土建施工是否满足设备安装的要求。
6.与现行规范、标准、图集有冲突时,以现行规范、标准、图集标准为准。
二.做好事前控制、重视事中检查、跟踪事后处理;三、检查技术交底及施工组织设计、专项方案是否慢足项目工程需要,然后检查落实情况;1.单位工程、分部工程和分项工程开工前,项目技术负责人应向承担施工的负责人或分包人进行书面技术交底、技术交底应办理签字手续并归档。
2.在施工过程中,项目技术负责人对发包人或监理工程师提出的有关施工方案、技术措施及设计变更的要求,应在执行前向执行人员进行书面技术交底。
四、跟踪“三检”制度落实情况。
(单独阐述)五、工程测量应符合下列规定:1.在项目开工前应编制测量控制方案,经项目技术负责人批准后方可实施,测量记录应归档保存。
2.在施工过程中应对测量点妥善保护,严禁擅自移动。
六、材料质量控制应符合下列规定:1.项目经理应在质量计划确定的合格材料供应名录中按计划招标采购材料、半成品和构配件。
2.材料的搬运和储存应按搬运储存规定进行,并应建立台帐。
建筑工程质量管理手册一、引言本手册旨在规范建筑工程质量管理流程,确保工程项目的顺利进行和质量的稳定提升。
本手册适用于所有相关参与方,包括建筑公司、工程师、设计师和监理等。
二、质量管理责任1. 建筑公司承担整个工程项目的总体质量管理责任,包括施工过程中的所有环节。
2. 工程项目相关人员应具备相应的资质和经验,并承担相应的质量管理责任。
三、质量管理流程1. 预备阶段1.1 完善项目规划和设计,并与相关部门进行协商。
1.2 制定工程项目实施计划和时间表,并明确质量管理目标。
1.3 设定各阶段的质量指标和评估标准。
2. 施工阶段2.1 按照施工图纸和规范要求进行施工,并确保各项工程的合理顺序进行。
2.2 严格执行材料采购和验收标准,杜绝使用不合格材料。
2.3 定期进行工地巡查和隐蔽工程检查,确保施工质量符合要求。
2.4 建立完善的施工质量档案,包括工程进展记录、变更管理和质量检测报告等。
3. 竣工阶段3.1 对已完成的工程进行全面的质量检查,确保各项工程符合设计要求和规范标准。
3.2 编制工程竣工验收报告,并邀请相关部门和专家对工程进行评估。
3.3 在竣工验收合格后,办理相关手续和文件归档工作。
四、质量管理措施1. 建立质量管理体系和流程,确保质量管理的顺利进行。
2. 加强对施工人员的技能培训和管理,提高施工质量和效率。
3. 强化供应商管理,确保选用的材料符合质量要求。
4. 在施工现场设立质量管理岗位,负责监督和检查工程质量。
5. 建立质量问题反馈和整改机制,及时解决施工过程中出现的问题。
五、质量评估和改进1. 定期开展工程质量评估,通过综合评价和外部专家评审,发现并改进存在的问题。
2. 分析和总结施工过程中的质量管理经验和教训,为后续工程提供参考。
3. 建立持续改进机制,定期修订和更新本质量管理手册。
六、法律责任和违规处理1. 对于严重质量问题,依法追究相关责任人的法律责任。
2. 对于质量违规行为,采取相应的纪律处分和监督措施。
建筑工程全套质量管理手册汇编1.目的为建立健全工程质量管理体系,规范工程质量管理工作,全面提升公司工程质量管理水平,创精品工程,特制定本手册。
2.适用范围适用于公司、分公司和项目部工程质量管理及控制。
3.术语和定义3.1质量控制点a.对施工质量有重要影响的关键质量特性、关键部位或重要影响因素;b.工艺上有严格要求,对下道工序的活动有重要影响的关键质量特性、部位;c.严重影响项目质量的材料的质量和性能;d.影响下道工序质量的技术间歇时间;e.某些与施工质量密切相关的技术参数;f.容易出现质量通病的部位;g.紧缺建筑材料、构配件和设备或可能对生产安排有严重影响的关键项目。
4.职责4.1科技管理中心质量职责4.1.1负责公司质量管理系统组织结构的建立,监督分公司、项目部质量保证体系的建立和实施。
4.1.2对质量员持证上岗情况进行监督检查。
4.1.3负责与质量有关法律、法规及其他要求文件的识别、评审、管理。
4.1.4负责公司质量管理规章、制度及办法等的编制和修订。
4.1.5确定公司年度质量目标,制定工作计划及培训计划。
4.1.6负责工程合同履约中质量目标和公司确定的创优目标的管理。
4.1.7负责组织国优及鲁班奖等国家级奖项工程的申报、复查等事宜。
对创优工程进行重点监控。
4.1.8负责创优奖罚和过程管理奖罚的实施。
4.1.9负责施工组织设计中施工质量计划及保证措施的审核,并对其实施情况进行监督管理。
4.1.10负责对分公司的质量管理情况进行监督检查。
4.1.11负责对重点项目工程质量进行监控,对其他项目进行抽样检查,掌握现场质量动态,对现场出现的问题提出指导性意见,对共性问题制定纠正措施并实施。
4.1.12参加地基与基础分部、主体分部及单位工程的质量验收,并对质量验收资料是否符合程序要求负责。
4.1.13确定公司样板工程,组织召开现场质量观摩会。
4.1.14对内、外部来文接受、传达及处理。
4.1.15负责质量问题信息的管理;参与对质量问题调查和处理。
本文从网络收集而来,上传到平台为了帮到更多的人,如果您需要使用本文档,请点击下载,另外祝您生活愉快,工作顺利,万事如意!
建筑工程全套质量管理手册汇编
1.目的
为建立健全工程质量管理体系,规范工程质量管理工作,全面提升公司工程质量管理水平,创精品工程,特制定本手册。
2.适用范围
适用于公司、分公司和项目部工程质量管理及控制。
3.术语和定义
3.1质量控制点
a.对施工质量有重要影响的关键质量特性、关键部位或重要影响因素;
b.工艺上有严格要求,对下道工序的活动有重要影响的关键质量特性、部位;
c.严重影响项目质量的材料的质量和性能;
d.影响下道工序质量的技术间歇时间;
e.某些与施工质量密切相关的技术参数;
f.容易出现质量通病的部位;
g.紧缺建筑材料、构配件和设备或可能对生产安排有严重影响的关键项目。
4.职责
4.1科技管理中心质量职责
4.1.1负责公司质量管理系统组织结构的建立,监督分公司、项目部质量保证体系的建立和
实施。
4.1.2对质量员持证上岗情况进行监督检查。
4.1.3负责与质量有关法律、法规及其他要求文件的识别、评审、管理。
4.1.4负责公司质
量管理规章、制度及办法等的编制和修订。
4.1.5确定公司年度质量目标,制定工作计划及培训计划。
4.1.6负责工程合同履约中质量目标和公司确定的创优目标的管理。
4.1.7负责组织国优及鲁班奖等国家级奖项工程的申报、复查等事宜。
对创优工程进行重点
监控。
4.1.8负责创优奖罚和过程管理奖罚的实施。
4.1.9负责施工组织设计中施工质量计划及保证措施的审核,并对其实施情况进行监督管理。
4.1.10负责对分公司的质量管理情况进行监督检查。
4.1.11负责对重点项目工程质量进行监控,对其他项目进行抽样检查,掌握现场质量动态,
对现场出现的问题提出指导性意见,对共性问题制定纠正措施并实施。
4.1.12参加地基与基础分部、主体分部及单位工程的质量验收,并对质量验收资料是否符合
程序要求负责。
4.1.13确定公司样板工程,组织召开现场质量观摩会。
4.1.14对内、外部来文接受、传达及处理。
4.1.15负责质量问题信息的管理;参与对质量问题调查和处理。
4.1.16负责工程质量报表的统计、上报工作。
4.1.17对顾客有关质量方面的抱怨、投诉进行有效沟通,予以答复并采取措施。
4.1.18对工程竣工验收后移交前产品防护的管理。
4.1.19对工程质量的保修进行控制、检查和验收。
4.1.20经常与上级主管单位或政府机构进行沟通,收集工程建设有关方对公司工程质量和管理水平的评价资料。
4.2分公司质量职责
负责对项目施工全过程质量进行监督检查,并负责:
4.2.1按照要求配置分公司及项目部质量管理岗位,确保质量保证体系的建立和实施。
4.2.2收集和认真宣传贯彻有关质量管理法律、法规、标准、规范及其他要求文件,及时将上级的文件精神传达到下属各单位和项目管理人员。
4.2.3负责落实公司的各项质量管理制度。
制定分公司工程质量管理方面的规章制度并组织落实。
4.2.4负责组织开展有关质量方面的培训、教育等各项活动。
4.2.5 负责质量目标的分解,与项目部签订的责任状中明确质量目标,并组织落实。
4.2.6负责工程合同履约中质量目标和公司确定的创优目标的管理。
组织汾水杯、省优工程及以下创优工程的申报。
4.2.7按照《施工组织设计管理办法》规定,对施工质量计划部分进行审核或审批,掌握该项目质量控制点,并对其实施情况进行跟踪检查。
4.2.8监督项目部实施样板制、质量奖罚制度、三检及交接检制度等各项制度。
4.2.9组织对所属工程的工程质量情况的日常检查,负责督促项目对质量检查问题的整改,并负责对整改情况进行跟踪检查。
4.2.10对工程资料的正确性负责,对地基与基础、主体结构和重要设备安装分部及单位工程资料的检查,参加建设单位组织的工程竣工验收。
4.2.11负责对工程竣工验收后移交前产品防护的管理。
按照工程质量保修协议,承担工程质量保修责任。
4.2.12组织不合格物资的评审处置,对处置结果进行验证。
4.2.13参加工程质量事故报告、调查、分析、处理,并监督项目部按照确定的技术方案实施整改。
4.2.14 每月汇总上报质量工作月报,并负责各项质量信息的收集。
4.3项目部质量职责
项目部负责从施工准备到竣工验收全过程中工程质量组织管理工作的实施。
主要质量职责如下:
4.3.1项目部建立质量保证体系,明确各岗位职责。
4.3.2负责向分公司及科技管理中心传递地方规章制度性文件。
4.3.3按照国家、行业及地方法律、法规、标准、规范及其他要求组织施工质量管理,
4.3.4贯彻执行公司、分公司质量管理规章制度。
制定并实施项目样板制、质量奖罚制、三检及交接检等制度。
4.3.5负责完成合同质量目标及公司确定质量目标。
4.3.6对工程创优过程进行策划,并按照策划内容完成分阶段创优目标。
4.3.7做好质量策划工作,及时编制施工组织设计及专项施工方案,确定质量控制点,制定控制措施,并按策划内容实施。
4.3.8落实有关质量方面的纠正和预防措施。
4.3.9及时组织检验批、分项、分部质量验收工作,符合相关法规的规定。
4.3.10负责工程竣工验收后移交前的产品保管和防护。
4.3.11接受公司、分公司及社会质量监督部门的监督检查,对所提问题组织制定纠正措施并实施。
4.3.12项目部负责对不合格物资的标识、记录,并向有关方信息传递。
4.3.13及时向上级报告工程质量事故,负责配合有关部门进行事故调查和处理。
4.3.14对质量记录进行有效管理,对记录的真实性、有效性负责。
4.3.15对发现的质量缺陷或潜在的质量问题进行数据和信息分析,及时制定相应的纠正或预防措施,并对所采取的纠正预防措施有效性进行评价。
4.4 相关部门质量职责
4.4.1物资事业供应部负责材料管理,审核物资生产厂及供应商的资质资料,发布合格供方名录。
对不合格物资的监督管理。
4.4.2人力资源中心负责对质量员资格证培训、申报、取证、注册、复审及转移工作。
5.建立健全工程质量管理体系
5.1公司设置科技管理中心,明确工作管理流程,规定各岗位职责,监督分公司、项目部质量保证体系的建立和实施。
5.2项目部建立质量保证体系,分公司按照以下要求配备项目质量员:
a土建工程每个项目必须配备1名质量检查员,每超过五万平方米增加1名专职质量检。