医疗机构设置审批须知
- 格式:doc
- 大小:47.50 KB
- 文档页数:5
医疗机构设置审批须知通州区医疗机构设置审批须知第一程序选址测量一、受理范围:综合、中医、中西医结合、口腔、医疗美容、整形外科、普通专科(皮肤性病科、产科除外)门诊部。
二、需提交材料1、《通州区拟设医疗机构测距申请书》。
2、方位图:标出主要道路及周边标志性建筑并明确门牌号码。
3、法人单位设置须提交设置单位的《组织机构代码证》、《法人代码证书》,企业等单位设置的要提交《企业法人代码证》、《工商营业执照》。
以上材料齐全后在十个工作日内出现场进行测量,并现场出具距离测量备案单。
符合《医疗机构管理条例》、《医疗机构管理条例实施细则》及《通州区医疗机构设置规划(2010-2015)》的进入下一个程序。
第二程序设置审批一、受理范围:(一)三级综合医院、专科医院、内部医务室、村卫生室等;(二)符合第一程序要求的综合、中医、中西医结合、口腔、医疗美容、整形外科、普通专科(皮肤性病科、产科除外)门诊部。
二、需提交的材料:(一)通用材料:1.《设置医疗机构申请书》。
2.申请人身份证(单位设置的提供法人代表证)复印件;合伙或合作申请的,还需提交合伙或合作的协议书及复印件。
(11)拟设医疗机构的通讯、供电、上下水道、消防设施情况;(12)资金来源、投资方式、投资总额、注册资金(资本);(13)拟设医疗机构的投资预算;(14)拟设医疗机构五年内的成本效益预测分析。
并附申请设置单位或设置人的资信证明。
4.选址报告:(1)选址报告包括:选址的依据;选址所在地区的环境和公用设施情况;选址与周围托幼机构、中小学校、食品生产经营单位布局的关系;占地和建筑面积。
(2)建筑设计平面图:有上下水的房间要进行标注;标出所设置的全部科室所在位置及科室面积。
5.由两个以上的法人、组织和个人共同合伙申请设置医疗机构的,必须提交《合作协议书》。
6.名称预先核准书(营利性机构名称核准书经卫生局同意后由工商局出具,非营利性机构由卫生局批准后到民政局办理法人登记手续)。
第1篇第一章总则第一条为了加强医疗机构的管理,保障医疗质量和医疗安全,促进医疗卫生事业健康发展,根据《中华人民共和国执业医师法》、《医疗机构管理条例》等法律法规,制定本规定。
第二条本规定适用于在我国境内设立的各类医疗机构,包括医院、卫生院、门诊部、诊所、卫生所(室)、社区卫生服务中心(站)、护理院(站)、急救中心(站)、康复医院、专科疾病防治院、妇幼保健院、专科医院、疗养院、康复中心、护理院等。
第三条医疗机构审批管理应当遵循以下原则:(一)依法行政,公开透明;(二)分类管理,分级审批;(三)优化服务,提高效率;(四)保障医疗质量和医疗安全;(五)鼓励社会办医,促进医疗卫生事业多元化发展。
第二章医疗机构设置标准第四条医疗机构设置应当符合以下标准:(一)符合国家卫生发展规划和区域卫生规划;(二)具有符合规定的医疗机构名称、诊疗科目和床位规模;(三)具有符合规定的医疗机构负责人和医务人员;(四)具有符合规定的医疗设施、设备和房屋;(五)具有符合规定的规章制度和应急预案;(六)具有符合规定的财务管理制度和收费标准。
第五条医疗机构设置应当根据以下分类进行管理:(一)一级医疗机构:包括乡镇卫生院、社区卫生服务中心(站)、门诊部、诊所、卫生所(室)等;(二)二级医疗机构:包括县级医院、社区卫生服务中心(站)、专科医院、康复医院、护理院等;(三)三级医疗机构:包括市级医院、省级医院、专科医院、康复医院、护理院等。
第三章医疗机构审批程序第六条医疗机构设立申请应当向所在地县级卫生行政部门提出。
第七条医疗机构设立申请应当提交以下材料:(一)医疗机构设立申请书;(二)医疗机构设置标准相关证明材料;(三)医疗机构负责人和医务人员资质证明;(四)医疗设施、设备和房屋相关证明材料;(五)规章制度和应急预案;(六)财务管理制度和收费标准。
第八条县级卫生行政部门收到医疗机构设立申请后,应当在法定时限内进行审查,并作出批准或者不予批准的决定。
医疗机构设置审批医疗机构设置是指根据国家卫生健康部门的规定和程序,审批新建或者调整医疗机构的类型、级别、名称、地址等重要事项的行为。
医疗机构设置审批的目的是保障人民群众的就医需求,规范医疗机构的运营,提高医疗服务的质量和安全。
1.申请阶段:医疗机构设置的申请者应当根据国家卫生健康部门要求的内容和要求,填写相应的申请表格,并提交相关的证明材料。
2.初审阶段:国家卫生健康部门对医疗机构设置申请进行初步审查。
主要包括对申请表格的真实性、完整性和合法性进行核实,并对提交的证明材料进行初步审核。
3.现场评估阶段:国家卫生健康部门会组织相关专家组对申请机构进行现场评估。
评估内容包括对医疗机构的场地、设备、人员、管理等方面进行全面评估,并对申请机构的规划和设置方案进行审核。
4.审批决策阶段:根据申请机构的评估结果、相关政策的规定以及国家卫生健康部门的要求,审批决策机构会做出是否批准申请的决策。
如果决策结果为批准,医疗机构可以进行进一步的设备采购、人员招聘和手续办理;如果决策结果为不批准,申请机构可以根据意见进行调整和改进,再次提交申请。
5.公示阶段:医疗机构设置审批的决策结果会在指定的报刊、官方网站等渠道进行公示。
公示期通常为10个工作日,公示期内,任何单位和个人都可以对决策结果提出异议和建议。
此外,医疗机构设置审批还可以控制医疗机构的数量和分布,避免资源过度集中和浪费。
通过合理的审批和设置政策,可以保证医疗机构在不同地区和不同层次的覆盖面,使医疗资源更加公平合理地分配。
医疗机构设置审批也有利于规范医疗市场,防止不合法、不规范的医疗机构滋生,保护患者的合法权益。
总的来说,医疗机构设置审批是一个重要的行政管理措施,通过相关的程序和机构的审核,确保医疗机构的设备、人员和管理水平都达到国家要求,保障人民群众的就医需求,提高医疗服务的质量和安全。
医疗机构设置及执业登记许可须知医疗机构设置审批办事须知一、受理范围:诊所、不设床位的卫生院;门诊部、护理站(院);区属设床位的卫生院;100张床位以上的卫生院、一级综合医院;床位在80张以上的一级中医医院;二级综合医院、二级中医医院、二级中西医结合医院、二级专科医院、二级妇幼保健院(所);市专科防治院;150张床位以下的康复医院、疗养院;市急救站、市临检中心;部、省、市、区属机关、企业、事业单位的门诊部、诊所、卫生所(室、站)、医务室等医疗机构。
淮安市卫生局直属设置的各级各类医疗机构。
二、需提交材料:1、医疗机构设置申请书2、设置可行性研究报告,要包括下列内容:(1)申请单位名称、基本情况以及申请人姓名、年龄、专业履历、身份证号码;(2)所在地区的人口、经济和社会发展等概况;(3)所在地区人群健康状况和疾病流行以及有关疾病患病率;(4)所在地区医疗资源分布情况以及医疗服务需求分析;(5)拟设医疗机构的名称、选址、功能、任务、服务半径;(6)拟设医疗机构的服务方式、时间、诊疗科目和床位编制;(7)拟设医疗机构的组织结构、人员配备;(8)拟设医疗机构的仪器、设备配备;(9)拟设医疗机构与服务半径区域内其他医疗机构的关系和影响;(10)拟设医疗机构的污水、污物、粪便处理方案;(11)拟设医疗机构的通讯、供电、上下水道、消防设施情况;(12)资金来源、投资方式、投资总额、注册资金(资本);(13)拟设医疗机构的投资预算;(14)拟设医疗机构五年内的成本效益预测分析。
并附申请设计单位或者设置人的资信证明。
申请设置门诊部、诊所、卫生所、医务室、卫生保健所、卫生站、村卫生室(所)、护理站等医疗机构的,提交的可行性报告应当包括上述2(1)、(2)、(5)-(9)、(12)、(13)条(三)选址报告(包括以下内容):(1)选址的依据;(2)选址所在地区的环境和公用设施情况;(3)选址与周围托幼机构、中小学校、食品生产经营单位布局的关系;(4)占地和建筑面积。
通州区医疗机构设置审批须知设置审批一、受理范围:(一)三级综合医院、专科医院、内部医务室、村卫生室等;(二 ) 综合、中医、中西医结合、口腔、医疗美容、整形外科、普通专科(皮肤性病科、产科除外)门诊部。
(需要测距,具体要求见“附加”)二、设置申请材料:(一)通用材料:1.《设置医疗机构申请书》。
2.申请人身份证(单位设置的提供法人代表证)复印件;合伙或合作申请的,还需提交合伙或合作的协议书及复印件。
3.设置可行性研究报告。
(1)申请单位名称、基本情况或申请人姓名、年龄、专业履历、身份证号码;(2)所在地区的人口、经济和社会发展等概况;(3)所在地区人群健康状况和疾病流行以及有关疾病患病率;(4)所在地区医疗资源分布情况以及医疗服务需求分析;(5)拟设医疗机构的名称、选址、功能、任务、服务半径;(6)拟设医疗机构的服务方式(在“门诊、急诊、巡诊、住院、家庭病床及其他”服务方式中任选,选其他的要注明具体是什么方式)、服务时间、诊疗科目(从附表1中选择)和床位编制;(7)拟设医疗机构的组织结构、人员配备(人员配备情况见附表2)组织结构中要明确法人、主要负责人,并提交法人、主要负责人的工作简历(每个工作阶段都应有证明人)、不在医疗机构岗位证明(可以是以下的一种:档案存储证明、离退休证、辞职证明、户口所在地居委会或村委会提供的证明);法定代表人或主要负责人是卫生技术人员的,同时提供资格证书、执业证书及职称证书。
(8)拟设医疗机构的仪器、设备配备(见附表3);(9)拟设医疗机构与服务半径区域内其他医疗机构的关系和影响;(10)依法处理医疗废物承诺书及拟设医疗机构的污水、污物、粪便处理方案。
污水处理方案:由环保部门认可的单位出具;污物处理方案:与医院或环保局认可的医疗垃圾处理单位签署的医疗垃圾回收处理合同(协议)。
(11)拟设医疗机构的通讯、供电、上下水道、消防设施情况;并提交所用建筑物的消防合格证明。
(12)资金来源、投资方式、投资总额、注册资金(资本);(13)拟设医疗机构的投资预算;(14)拟设医疗机构五年内的成本效益预测分析。
医疗机构设置审批办事指南当你怀揣着在医疗领域大展拳脚的梦想,准备开启医疗机构设置审批之旅时,这就像是一场充满挑战与希望的冒险,每一步都有着独特的风景与需要攻克的关卡。
选址的考量好似为医疗机构寻觅理想的栖息地。
那地方不能像荒郊野外的孤堡,交通不便得让患者望而却步,得像城市中心的繁华商场,周边道路像四通八达的河流,公交线路、停车场等配套就像商场周边的便利设施,方便患者和医护人员轻松抵达。
周围环境也不能像嘈杂的菜市场,影响患者的就医体验,而应像宁静的公园,给人以舒适安心之感。
场地面积更不能像狭小的储物间,要足够宽敞,以容纳各类医疗设备、病房以及诊疗区域,这难道不像为一艘大船挑选合适的港湾,空间小了可不行?人员资质的准备仿佛组建一支医疗行业的精英战队。
医生团队就像一群技艺高超的魔法师,他们的执业资格证书像是魔法棒上的魔力标识,必须齐全且有效,没有这些,就像魔法师没了魔杖,如何施展治病救人的神奇法术?护士们则像温柔的天使,她们的专业资质如同天使的翅膀,有了扎实的专业知识和技能,才能在病床前悉心照料患者。
管理人员像是战队的指挥官,丰富的医疗管理经验就是他们的战略宝典,没有经验的指挥官,是不是像没头苍蝇在战场上乱撞,会让医疗机构的运营陷入混乱?医疗设备的配置像是为战士们配备精良的武器。
基础的检查设备如X 光机、超声诊断仪等,就像战士手中的常规武器,必不可少。
这些设备的质量和精准度像武器的锋利程度,稍有差池,会不会像钝刀砍柴,延误患者病情的诊断?大型的治疗设备如手术机器人、放疗设备等,像是威力巨大的重型武器,购置和维护成本高昂,但却是开展高端医疗服务的关键,没有它们,医疗机构在疑难病症治疗领域是不是像赤手空拳的士兵面对强大的敌人?申报材料的整理如同精心包装一份珍贵的礼物。
申请书像礼物的精美外皮,格式规范、内容完整,不能像破了洞的口袋,漏洞百出。
可行性研究报告像是礼物里的说明书,详细阐述医疗机构的发展规划、市场需求分析等,没有清晰的规划,是不是像送出去的礼物不知道有什么用途?相关人员的身份证明、资质证明等材料像礼物的附加赠品,一样都不能少,缺了任何一份,就像礼物少了关键部件,不完整,审批部门怎么能放心收下这份“礼物”?审批流程的跟进好似在漫长的旅途中紧盯路线图。
申请医疗机构设置审批流程一、申请过程与条件:1.申请人须为合法注册的医务人员,具备相关医疗专业资质;2.申请人应具备一定规模的资金和场地,并提供相应证明材料;3.申请人应提供详细的医疗机构设立方案,包括机构名称、机构类型、机构规模、设备、人员配置等;4.申请人应提供符合国家和地方相关医疗法规的其他必要材料,如营业执照、卫生许可证等;5.申请人应参加相关培训并通过考核。
二、申请流程:1.申请人提交医疗机构设立申请书及相关材料,包括机构设立方案和证明材料;2.医疗行政部门对申请材料进行初步审核,对合格的材料进行登记备案;3.医疗行政部门组织专家对申请材料进行评估,包括机构设立方案的合理性和可行性分析;4.评估结果通过审查委员会审议,形成初步审批意见;5.医疗行政部门将初步审批意见反馈给申请人,并要求其补充材料或调整机构设立方案;6.申请人根据要求进行材料补充或方案调整,并重新提交申请材料;7.医疗行政部门再次审核补充后的申请材料,并重新组织专家评估;8.评估结果再次提交审查委员会审议,形成最终审批意见;9.医疗行政部门将最终审批意见反馈给申请人,如果通过审批,颁发医疗机构执照;10.申请人按照批准的机构设立方案进行准备工作,包括设备购买、人员招募、培训等;11.完成准备工作后,申请人将医疗机构投入运营,并向医疗行政部门报备。
三、监督管理:1.医疗行政部门对医疗机构进行定期检查,包括设备、人员、资质等方面的检查;2.医疗行政部门对医疗机构的服务质量进行监督,通过医疗事故报告、投诉处理等方式;3.医疗行政部门对医疗机构的经营情况进行监督,包括经济运行情况、财务管理等方面的监管;4.医疗行政部门对医疗机构的违法违规行为进行处理,包括处罚、吊销执照等。
通过以上流程,可以实现对医疗机构设置的严格管理和监督。
这有助于提高医疗机构的规范化程度,保障医疗质量和患者的合法权益,促进医疗卫生事业的发展。
医疗机构设置审批执业登记一、医疗机构设置审批:首先,医疗机构需要通过相应的申请程序,向行政主管部门申请设置医疗机构。
申请时需要提供有关机构设立的详细信息,如机构名称、机构类型、经营范围、机构负责人等。
其次,行政主管部门会对申请的医疗机构进行审查和评估。
这个过程通常包括医疗机构的资质、设备设施、医疗人员的资质和数量、财务状况等方面的审核。
审查和评估的结果将直接影响机构是否能够获得设置批准。
最后,审批部门会根据审查和评估的结果,决定是否给予医疗机构设置批准。
如果符合相关法律法规的要求,医疗机构将获得批准并获得相应的执业证书。
二、医疗机构执业登记:医疗机构执业登记是指医疗机构在获得设置批准后,进一步向行政主管部门进行登记备案,获得合法的执业资格,才能正式开展医疗服务。
其次,行政主管部门将对这些材料进行审核,以确保医疗机构的合法性和合规性。
这个过程通常包括机构资质的审核、章程和管理制度的合规性审核、财务状况的审核等。
审核合格的医疗机构将获得相应的执业登记。
最后,医疗机构在获得执业登记后,将获得正式的执业证书,成为合法的医疗机构,可以正式提供医疗服务。
医疗机构设置审批和执业登记的目的是为了确保医疗机构的合法合规运营,保障公众的健康和安全。
它有助于规范医疗机构的经营行为,提高医疗服务的质量和效果。
同时,也为公众提供了一个便捷可靠的方式来确认医疗机构的合法性和信誉度。
总结起来,医疗机构设置审批和执业登记是确保医疗机构合法合规运营的重要环节。
通过相应的审核和登记程序,可以保障医疗机构的质量和效果,提供高品质的医疗服务,保护公众的健康和安全。
同时,也为公众提供了便捷的方式来选择合法可靠的医疗机构。
医疗机构设置审批、登记注册、变更登记、年度校验流程1、主要法律依据:《医疗机构管理条例》、《医疗机构管理实施细则》、《辽宁省医疗机构管理实施办法》2、工作部门:市卫生局医政科3、材料不全:当日内或3日内一次性告知4、医疗机构设置:受理设置申请(材料齐全)之日起30日内答复;医疗机构登记注册:受理执业登记申请(材料齐全)之日起45日内予以答复。
未取得设置批准书不得开工建设,未取得《医疗机构执业许可证》不得开展医疗活动。
中外合资、合作医疗机构设置审核5、设置审核:组织监督员、专家组审验材料,现场勘验,检查和论证,提交局长办公会议。
同意设置的,核发《设置医疗机构审批书》,不同意的向申请人书面答复。
登记审核:取得《设置医疗机构批准书》,经审核后方可施工,并要求在有效期内完工,再经有关专家现场检查和审核,并对有关人员进行基本知识考核(包括消毒、隔离和无菌技术操作),合格的核发《医疗机构执业许可证》,不合格的书面告知。
6、备案:要求核发《设置医疗机构批准书》的卫生行政部门在10日内向上级卫生行政部门备案,上级卫生行政部门在接到备案报告之日起30日内有权纠正或撤销设置审批。
医疗机构变更登记审批注:1、医疗机构变更事项:名称、地址、法定代表人或主要负责人、所有制形式、服务对象、服务方式、注册资金(资本)、诊疗科目、床位(牙椅);2、由注册、审批、登记机关负责;3、工作时限:20个工作日。
医疗机构校验注:1、医疗机构校在验期内遗失《医疗机构执业许可证》,应当申明和公告,向原登记机关申请补发;2、100张床以上医院校验期3年,其他医疗机构校验期1年;3、由设置审批、登记机关负责,工作时限30日。
医师执业注册流程注:1、重新申请注册(中止执业活动2年以上、《医师执业注册暂行办法》第五条情形消失的),除提交2-8项规定材料外,还应提交医师重新注册申请审核表和市卫生行政部门指定的医疗、预防、保健机构或组织出具的业务水平考核结果证明;2、获得执业医师资格或执业助理医师资格后2年内未注册者申请注册时,还应提交经省卫生厅指定的机构接受3-6个月的培训,并经考核合格的证明,跨区域注册需提交颁发《医师资格证书》当地卫生局未注册证明;3、变更注册需提交2-7项材料外,应提交《医师变更注册申请审核表》(一式两份)。
医疗机构设置审批制度医疗机构设置审批制度一、医疗机构设置审批的管理(一)医疗机构设置的管理的机关医疗机构设置审批制度,是关于医疗机构设置申请、审批的法律制度的统一体。
医疗机构设置的管理机关,也就是有权审批设立医疗机构的卫生行政管理机关。
我国国务院《医疗机构管理条例》第五条规定:“国务院卫生行政部门负责全国医疗机构的监督管理工作。
县级以上地方人民政府卫生行政部门负责本行政区域内医疗机构的监督管理工作。
中国人民解放军卫生主管部门依照本条和国家有关规定,对军队的医疗机构实施监督管理。
”我国卫生部《例实施细则》第八条第一款规定:“各省、自治区、直辖市应当按照当地《医疗机构设置规划》合理配置和合理利用医疗资源。
” 《医疗机构管理条例实施细则》第八条第二款规定:“《医疗机构设置规划》由县级以上卫生行政部门依据《医疗机构设置规划指导原则》制定,经上一级卫生行政部门审核,报同级人民政府批准,在本行政区域内发布实施。
”我国卫生部《实施细则》第九条规定:“县级以家有关规定,对军队的医疗机构实施监督管理。
所谓共同负责,是指我国的医疗卫生管理特别是医疗机构的管理,首先由地方各县级以上卫生行政部门依据《医疗机构设置规划指导原则》制定《医疗机构设置规划》,然后经上一级卫生行政部门审核,报同级人民政府批准,之后再在本行政区域内发布实施。
这就在医疗卫生机构的设置上形成了一个垂直领导、分级分类管理、共同负责的格局,由中央和地方共同管理我国的医疗卫生事业,共同履行管理我国的医疗卫生事业的使命和职责。
(三)医疗机构设置审批的分工根据我国卫生部《实施细则》第十一条的有关规定,床位在一百张以上的综合医院、中医医院、中西医结合医院、民族医医院、专科医院、疗养院、康复医院、妇幼保健院、急救中心、临床检验中心、专科疾病防治机构的设置审批权的划分,由省、自治区、直辖市卫生行政部门规定;其他医疗机构的设置,由县级卫生行政部门负责审批。
这就是说,医院类,疗养院、急救中心、临床检验等较大型的医疗机构的审批权,是省级卫生行政部门;较小、诊所、护理类、卫生所等医疗机构的审批权,归县级卫生行政部门。
医疗机构设置、审批、校验和管理的有关规定一、主要政策依据国务院《医疗机构管理条例》;卫生部《医疗机构管理条例实施细则》、《医疗机构校验管理办法(试行)》、《关于医疗机构审批管理的若干规定》;省卫生厅《山东省医疗机构管理条例实施办法》、《山东省村卫生室管理办法》。
二、医疗机构的设置设置医疗机构应符合医疗机构设置规划。
县级以上卫生行政部门应当根据本行政区域内的人口、医疗资源、医疗需求和现有医疗机构的分布情况,制定本行政区域医疗设置规划。
机关、企业和事业单位可以根据需要设置医疗机构,并纳入当地医疗机构的设置规划。
(一)医疗机构的设置条件1、基本条件设置医疗机构应符合国家规定的基本标准,并具备以下条件:(1)符合当地《医疗机构设置规划》;(2)有与执业范围相应的医、药、护、技人员。
人员配备符合相关规定,有一定组织机构。
(3)有与执业范围相适应的医疗业务用房,选址合理,布局合理,并符合卫生要求。
(4)有与执业范围相适应的床位数、仪器、设备配备。
(5)有必要的通讯、供电、上下水道、消防设施等基本设施,并符合卫生要求。
(6)有相应的规章制度。
(7)有符合法定要求的资金。
(8)能独立承担民事责任。
2、其他要求按照《医疗机构管理条例实施细则》和《山东省医疗机构管理条例实施办法》有关规定,在城市设置诊所的个人,必须同时具备下列条件:(1)经医师执业技术考核合格取得《医师执业证书》;(2)取得《医师执业证书》或者医师职称者,连续从事五年以上同一专业的临床工作;(3)男性年龄在65周岁以下,女性年龄在60周岁以下,并具有所在地正式城市户籍。
有下列情形之一的,不得申请设置医疗机构:(1)不能独立承担民事责任的单位;(2)正在服刑或者不具有完全全民事行为能力的个人;(3)医疗机构在职、因病退职或者停薪留职的卫生技术人员;(4)违反有关法律、法规和规章,被吊销执业证书的卫生技术人员;(5)发生二级以上医疗事故未满五年的卫生技术人员;(6)被吊销《医疗机构执业许可证》的医疗机构法定代表人或者主要负责人;(7)患有不适于从事医疗工作疾病的卫生技术人员;(8)全民及集体所有制职工擅自离职或被开除公职未满五年的卫生技术人员;(9)离退休医师未经原工作单位同意的;(10)不具有医疗业务知识和医疗管理能力者。
医疗机构设置审批、变更、注销程序一、法律依据1、《中华人民共和国执业医师法》;2、国务院149号令公布的《医疗机构治理条例》;3、卫生部35号令公布的《医疗机构治理条例实施细则》;4、陕西省人民政府38号令公布的《陕西省医疗机构治理条例实施方法》。
二、办理程序(一)、设置医疗机构申请1、审批权限:医疗机构的设置审批实行分级责任制。
不设床位的和设置床位不足100张的医疗机构,由县级卫生行政部门负责审批;设置床位在100张以上499张以下的医院、卫生院或100张以上199张以下床位的中医医院由县级人民政府卫生行政部门初审同意后报地(市)卫生行政部门审批;500张以上床位的医院或200张以上床位的中医医院由地(市)卫生行政部门初审同意后报省人民政府卫生行政部门或省中医治理行政部门审批。
(《陕西省医疗机构治理条例实施方法》第三条)2、申请:(1)申请人的规定:地点各级人民政府设置医疗机构,由政府指定或者任命的拟设医疗机构的筹建负责人申请;法人或者其他组织设置医疗机构,由其代表人申请;个人设置医疗机构,由设置人申请;两人以上合伙设置医疗机构,由合伙人共同申请。
(《医疗机构治理条例实施细则》第十三条)有下列情形之一的,不得申请设置医疗机构:①不能独立承担民事责任的单位;②正在服刑或者不具有完全民事行为能力的个人;③医疗机构在职、因病退职或者停薪留职的医务人员;、④发生二级以上医疗事故未满五年的医务人员;⑤因违反有关法律、法规和规章,已被吊销执业证书的医务人员;⑥被吊销《医疗机构执业许可证》的医疗机构法定代表人或者要紧负责人;⑦省、自治区、直辖市政府卫生行政部门规定的其他情形。
有前款第(二)、(三)、(四)、(五)、(六)项所列情形之一者,不得充任医疗机构的法定代表人或者要紧负责人。
(《医疗机构治理条例实施细则》第十二条)⑧患传染病、精神病的;⑨国有或集体医疗卫生气构的医务人员擅自离职不足5年,开除公职不足7年的;⑩执业申请人因健康缘故不能坚持正常工作的;(《陕西省医疗机构治理条例实施方法》第四条)(2)申请需提交的资料:①设置申请书②设置可行性研究报告③选址报告和建筑设计平面图(《医疗机构治理条例》第十条)④申请人有关资质证明原件复印件。
医疗机构设置须知一、办理对象:拟设医疗机构的单位或个人。
二、办理依据:1、《行政许可法》2、《医疗机构管理条例》3、《医疗机构管理条例实施细则》等。
三、办理程序:申请人选址→筹备材料提交卫计局医政科→医政科受理→现场勘查→公示→审核→审定→核发《设置医疗机构批准书》/上报上级卫生计生行政部门进一步审批。
四、提交申请材料:1、行政许可申请表(原件1份);2、设置医疗机构申请书(原件1份) ;3、设置可行性研究报告(原件1份);4、选址报告(原件1份);5、建筑设计平面图(复印件1份);6、房屋产权证(复印件1份);7、资信证明(原件1份,指银行出具的资信证明);8、医疗机构名称申请核定表(原件1份);9、工商行政管理部门出具的名称预先核准通知书(复印件1份,设置营利性医疗机构的需提交该项材料);10、申请人的法定代表人身份证或申请人的身份证(复印件1份);11、申请人的企业法人营业执照副本(复印件1份);12、申请人的组织机构代码证副本(复印件1份);13、设置医疗机构申请人声明书(原件1份);14、合伙协议书(原件1份,由两个以上个人或法人或其他组织合伙申请的需提交该项材料);15、授权委托书(原件1份,委托代理人办理的需提交该项材料);16、受委托人身份证(复印件1份)。
五、办理时限:选址在受理5个工作日内完成,注册验收自受理申请之日起15个工作日内完成。
六、提交材料的有关要求1、申请方须如实提交有关材料和反映真实情况,并对其申请材料内容的真实性负责。
2、申请材料应用黑色钢笔、签字笔填写或打印,内容须完整、清楚,不得空项;网上下载表格不等改变其样式和规格;申请材料应按顺序提交,用A4纸打印或复印各项材料。
3、所有材料应由设置单位加盖公章或由设置人签字并标明日期,复印件应在材料上注明“此复印件与原件相符”字样并盖章或签字。
4、申请方如委托代理人办理相关许可事项,应填写《授权委托书》,并提交委托人、受委托人身份证复印件1份。
医疗机构设置审批有关规定参考模板第一章总则第二条医疗机构设置审批应遵循公平、公正、公开的原则,保障人民群众合法的医疗需求和权益。
第三条医疗机构设置审批是指对医疗机构的设立、变更、扩建、合并、分立、迁址等申请进行的审查、核准和登记工作。
第四条医疗机构设置审批工作由县级以上人民政府卫生主管部门负责。
第五条医疗机构设置审批应建立健全信息化管理系统,提高审批效率和服务质量。
第六条医疗机构设置审批过程中,应充分听取有关方面的意见和建议,并将其纳入审批决策的参考。
第七条医疗机构设置审批应当依法严格控制,避免出现重复建设、礼崩乐坏等问题。
第二章设立审批第八条医疗机构的设立申请应详细填写有关申请表,并附上下列材料:(一)申请机构基本情况的介绍材料,包括机构名称、组织结构、人员编制、财务状况等;(二)申请机构的办公场所租赁或自有证明;(三)机构负责人的相关资格证明;(四)从业人员的相关资格证明;(五)申请机构的设备、设施、药品等材料清单;(六)其他相关证明材料。
第九条医疗机构设立审批应按照规定的程序进行,程序包括:受理、初审、现场核查、评审、决策、发送审批文书、公示等。
第十条医疗机构设立应根据医疗服务需求和区域平衡发展原则,合理控制设立数量和布局,避免重复投入和过度竞争。
第十一条设立申请被驳回的,申请人可以在收到驳回通知后30日内提出复议。
复议结果为最终决定。
第三章变更、扩建、合并、分立、迁址审批第十二条医疗机构变更、扩建、合并、分立、迁址的申请应详细填写有关申请表,并附上下列材料:(一)申请机构基本情况的介绍材料,包括机构名称、组织结构、人员编制、财务状况等;(二)申请机构变更、扩建、合并、分立、迁址的具体方案;(三)申请机构的办公场所租赁或自有证明;(四)机构负责人的相关资格证明;(五)从业人员的相关资格证明;(六)申请机构的设备、设施、药品等材料清单;(七)其他相关证明材料。
第十三条医疗机构变更、扩建、合并、分立、迁址的审批应按照规定的程序进行,程序包括:受理、初审、现场核查、评审、决策等。
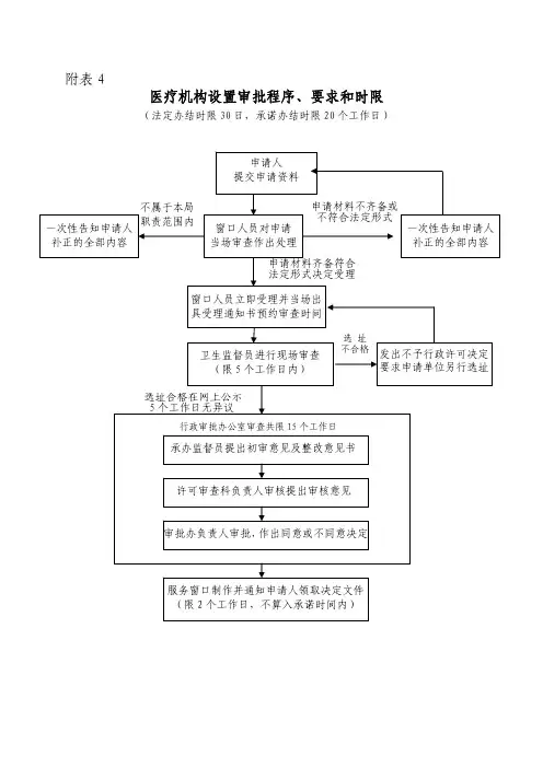
通州区医疗机构设置审批须知
第一程序选址测量
一、受理范围:综合、中医、中西医结合、口腔、医疗美容、整形外科、普通专科(皮肤性病科、产科除外)门诊部。
二、需提交材料
1、《通州区拟设医疗机构测距申请书》。
2、方位图:标出主要道路及周边标志性建筑并明确门牌号码。
3、法人单位设置须提交设置单位的《组织机构代码证》、《法人代码证书》,企业等单位设置的要提交《企业法人代码证》、《工商营业执照》。
以上材料齐全后在十个工作日内出现场进行测量,并现场出具距离测量备案单。
符合《医疗机构管理条例》、《医疗机构管理条例实施细则》及《通州区医疗机构设置规划(2010-2015)》的进入下一个程序。
第二程序设置审批
一、受理范围:
(一)三级综合医院、专科医院、内部医务室、村卫生室等;
(二)符合第一程序要求的综合、中医、中西医结合、口腔、医疗美容、整形外科、普通专科(皮肤性病科、产科除外)门诊部。
二、需提交的材料:
(一)通用材料:
1.《设置医疗机构申请书》。
2.申请人身份证(单位设置的提供法人代表证)复印件;合伙或合作申请的,还需提交合伙或合作的协议书及复印件。
3.设置可行性研究报告。
(1)申请单位名称、基本情况或申请人姓名、年龄、专业履历、身份证号码;
(2)所在地区的人口、经济和社会发展等概况;
(3)所在地区人群健康状况和疾病流行以及有关疾病患病率;
(4)所在地区医疗资源分布情况以及医疗服务需求分析;
(5)拟设医疗机构的名称、选址、功能、任务、服务半径;
(6)拟设医疗机构的服务方式(在“门诊、急诊、巡诊、住院、家庭病床及其他”服务方式中任选,选其他的要注明具体是什么方式)、服务时间、诊疗科目(从附表1中选择)和床位编制;
(7)拟设医疗机构的组织结构、人员配备(人员配备情况见附表2)
组织结构中要明确法人、主要负责人,并提交法人、主要负责人的工作简历(每个工作阶段都应有证明人)、不在医疗机构岗位证明(可以是以下的一种:档案存储证明、离退休证、辞职证明、户口所在地居委会或村委会提供的证明);法定代表人或主要负责人是卫生技术人员的,同时提供资格证书、执业证书及职称证书。
(8)拟设医疗机构的仪器、设备配备(见附表3);
(9)拟设医疗机构与服务半径区域内其他医疗机构的关系和影响;
(10)依法处理医疗废物承诺书及拟设医疗机构的污水、污物、粪便处理方案。
污水处理方案:由环保部门认可的单位出具,开业三个月后还应提交环保局出具的污水处理检测报告;污物处理方案:与医院或环保局认可的医疗垃圾处理单位签署的医疗垃圾回收处理合同(协议)。
(11)拟设医疗机构的通讯、供电、上下水道、消防设施情况;
(12)资金来源、投资方式、投资总额、注册资金(资本);
(13)拟设医疗机构的投资预算;
(14)拟设医疗机构五年内的成本效益预测分析。
并附申请设置单位或设置人的资信证明。
4.选址报告:
(1)选址报告包括:选址的依据;选址所在地区的环境和公用设施情况;选址与周围托幼机构、中小学校、食品生产经营单位布局的关系;占地和建筑面积。
(2)建筑设计平面图:有上下水的房间要进行标注;标出所设置的全部科室所在位置及科室面积。
5.由两个以上的法人、组织和个人共同合伙申请设置医疗机构的,必须提交《合作协议书》。
6.名称预先核准书(营利性机构名称核准书经卫生局同意后由工商局出具,非营利性机构由卫生局批准后到民政局办理法人登记手续)。
7.由法人单位设置须提交设置单位的《组织机构代码证》、《法人代码证书》,企业等单位设置的要提交《企业法人代码证》、《工商营业执照》。
8.机构所在辖区政府(街道办事处、乡镇政府、居(村)委会)或物业管理部门出具的同意设置医疗机构意见。
9. 选址新建医疗机构的,医疗机构设置用地需有国土资源部门前置审核意见;使用现有房屋的,需有北京市国土资源和房屋管理局核发的《房地产所有权证》及房屋使用证明等能够证明医疗机构使用建筑为合法建筑的证明。
10.现场测量距离的备案单。
(二)设置美容医疗机构还需提交以下材料:
1.负责实施美容项目的主诊医师必须提供:
(1)经执业医师注册机关注册的《医师执业证书》;
(2)从事相关临床学科工作经历证明:
其中,负责实施美容外科项目的应具有6年以上从事美容外科或整形外科等相关专业临床工作经历;负责实施美容牙科项目的应具有5年以上从事美容牙科或口腔科专业临床工作经历;负责实施美容中医科和美容皮肤科项目的应分别具有3年以上从事中医专业和皮肤专业临床工作经历;
(3)经过医疗美容专业培训或进修并持有相关证书,或已从事医疗美容临床工作1年以上的证明。
2.医疗美容护理工作的人员必须提供:
(1)经护士注册机关注册的《护士执业证书》;
(2)具有二年以上护理工作经历证明;
(3)经过医疗美容护理专业培训或进修并持有相关证书,或已从事医疗美容
临床护理工作6个月以上的证明。
(三)中外合资、合作医疗机构同时提交以下材料:
1.合资、合作双方法定代表人签署的项目建议书;
2.合资、合作双方各自的注册登记证明、法定代表人身份证明;
(四)专科妇产医院需要同时符合妇科、产科专科评审的基本条件
详见北京市卫生局关于印发新修订的《开展助产技术服务的医疗保健机构的基本条件》京卫妇精字〔2010〕13号的通知。
以上提供的材料中:
1.填表要求用黑色钢笔、签字笔或打印,文字要求简练、清楚,不得有空项,网上下载表格不得改变其样式和规格。
2.各种有效证件都要提供原件及A4纸复印件:其中原件备查复印件存档。
证件是个人的,其复印件由证件本人签名并签上“与原件一致,年月日”;证件是单位的,其复印件由单位加盖公章。
3.凡专门为申请设置本医疗机构而出具的材料,必须提供原件并存档。
4.凡要求提交的材料,要求用A4纸打印、按顺序整理好后提交。
个人设置的由本人签名并签上“年月日”;单位设置的,由单位加盖公章。
5.凡设置人或法人或主要负责人不能前来申请的,要提交授权委托书,同时提供设置人或法人或主要负责人、被委托人的身份证原件及复印件。
6、申请人申请行政许可,应当如实向行政机关提交有关材料和反映真实情况,并对其申请材料实质内容的真实性负责。
三、办理时限:自受理申请之日起30个工作日内完成。
四、咨询电话:69512436、69514537 ;办理部门名称:北京市通州区投资服务中心
办公时间:周一至周五8:30-12:00;13:30-17:00,节假日除外。
地址:北京市通州区永顺镇滨惠北二街5号(通州区工商分局二楼)邮编:101100
附表
1、医疗机构诊疗科目
□01. 预防保健科□02. 全科医疗科□03. 内科
□04. 外科□05. 妇产科□05.01妇科专业
□06 . 妇女保健科□07. 儿科□08. 小儿外科
□09. 儿童保健□10. 眼科□11. 耳鼻咽喉科
□12. 口腔科□14. 医疗美容科□15. 精神科
□16. 传染科□17. 结核病科□18. 地方病科
□19. 肿瘤科□20. 急诊医学科□21. 康复医学科
□22. 运动医学科□23. 职业病科□24. 临终关怀科
□25. 特种医学与军事医学科□26. 麻醉科□30. 医学检验科
□31. 病理科□32. 医学影像科□32.01 X线诊断科专业□50. 中医科□51. 民族医学科□52. 中西医结合科
2、拟设医疗机构的人员配备数量(人)
科室名称人员总数高级职称中级职称初级及以下职称无职称
3、拟设医疗机构的仪器、设备配备数量
及使用科室(台或个)
仪器设备名称数量使用科室。