汽车发动机连杆的设计分析
- 格式:pdf
- 大小:347.96 KB
- 文档页数:1
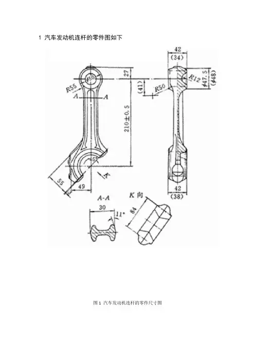
1 汽车发动机连杆的零件图如下图1 汽车发动机连杆的零件尺寸图2 服役条件与性能分析连杆(link)是指连杆机构中两端分别与主动和从动构件铰接以传递运动和力的杆件。
例如在往复活塞式动力机械和压缩机中,用连杆来连接活塞与曲柄。
连杆多为钢件,其主体部分的截面多为圆形或工字形,两端有孔,孔内装有青铜衬套或滚针轴承,供装入轴销而构成铰接。
连杆是汽车发动机中的重要零件,它连接着活塞和曲轴,其作用是将活塞的往复运动转变为曲轴的旋转运动,并把作用在活塞上的力传给曲轴以输出功率。
服役条件:连杆在工作中,其受力状态如下:1)承受燃烧室燃气膨胀产生的压力。
2)活塞连杆作往复运动的惯性力(承受拉伸载荷)作用。
3)连杆高速作往返运动所产生的纵向和横向惯性力(承受弯曲载荷)的作用因此,连杆在一个复杂的应力状态下工作。
它既受交变的拉压应力、又受弯曲应力。
失效形式:连杆的主要损坏形式是疲劳断裂和过量变形。
通常疲劳断裂的部位是在连杆上的三个高应力区域,,即杆部中间、小头和杆部的过渡区以及大头和杆部过渡区( 螺栓孔附近)。
性能要求:连杆的工作条件要求连杆具有较高的强度和抗疲劳性能;又要求具有足够的钢性和韧性。
3 技术要求连杆的热处理技术要求为:根据中华人民共和国汽车行业标准(QC/T527-1999)--汽车发动机连杆技术条件规定:连杆经调质处理,硬度为HB217~293(20~30HRC),显微组织为均匀细小晶粒的索氏体。
4 选材连杆通常采用中碳钢或合金钢模锻或辊锻而成,常用的材料有45、40Cr、35CrMo等,也有少数采用稀土镁球墨铸铁制造连杆,然后经过机械加工和热处理。
连杆杆身多制成“工”形截面,该截面可以在质量尽可能小的情况下,获得足够的刚度和强度。
(1)比较40Cr, 35CrMo, 45如下:①45钢45钢是普通的中碳结构钢,冷热加工性能都不错,机械性能较好,且价格低、来源广,所以应用广泛。
它用做截面尺寸较小或不要求完全淬透的零件,经过调质处理后,硬度可达到20-25HRC,表面淬火之后硬度为48-52HRC。
实验一:发动机曲柄连杆机构和配气机构1.实验目的:掌握曲柄连杆机构的布置,主要部件的安装位置和相互关系;理解配气机构的组成,共用和工作原理。
通过拆装发动机,初步帐务发动机曲柄连杆机构,配气机构的组成,共用,结构特点及拆装要点。
2.实验设备和工具:凌志400;时代超人;大众polo;螺丝刀;老虎钳;扳手3.实验的步骤: 1.在老师的带领下,观看了凌志400发动机的工作状态,并初步了解了发动机的各部分组成有曲柄连杆机构、配气机构、燃料供给系、点火系、润滑系、冷却系起动系等组成。
2.老师讲解了有关曲柄连杆机构、配气机构的结构及其功用3. 拆装1台柴油机,初步了解曲柄连杆机构、配气机构各零部件的名称、位置、相互关系及构造特点,摇转曲轴,以了解各零部件的相互关系、运动规律和特点。
拆卸时,先拆除发动机外表的所有附件。
如:空气滤清器、进排气管、水箱、电气设备、燃油供给系统、机油滤清器等等,然后拆卸气门室盖,拆下配气机构零部件,卸下气缸盖以及油底壳,必要时,还须拆卸正时齿轮室和飞轮等。
而后进行曲柄连杆机构的拆卸。
安装时,应逆拆卸顺序进行。
安装飞轮时,需用专用扳手上紧螺母,并用手锤敲击扳手柄的尾端,直到上紧为止。
观察并研究曲柄连杆机构的组成与各零、部件的结构特点:气缸、缸体、缸盖、曲轴箱等机体零件的总体布置,不同型号发动机机体零件的结构特点。
不同类型燃烧室的组成和结构特点。
活塞连杆组的组成,各部分的功用、型式和结构特点。
连杆小头、活塞销和活塞销座间的固定方法。
比较不同型号发动机活塞环的类型、数量和断面形状。
整体式曲轴和组合式曲轴结构上的区别。
曲轴各部分的作用和结构特点,曲轴轴向游动量的限制方法,平衡重的作用与位置。
连杆轴承和主轴承的类型、数量结构特点、定位方法和紧固方式。
曲轴与飞轮的连接方法,飞轮上各记号的意义。
曲轴箱通气管的作用、位置和构造。
4.原理描述:我们最常见的两种发动机为汽油发动机和柴油发动机,一般而言,汽油机由两大机构和五大系统组成,即曲柄连杆机构,配气机构、燃料供给系统、润滑系统、冷却系统、点火系统和起动系统组成;柴油机两大机构和四大系统组成,即由曲柄连杆机构、配气机构、燃料供给系统、润滑系统、冷却系统和起动系统组成,柴油机是压燃的,不需要点火系统。
基于ANSYS的汽车发动机连杆性能分析作者:王鹏飞来源:《山东工业技术》2019年第11期摘要:本文用ANSYS软件对汽车发动机连杆进行了静力学分析和模态分析,建立了发动机连杆性能分析模型。
通过静力学分析,建立了发动机连杆的力学性能模型,得出了连杆总变形、定向变形、等效应力以及等效弹性应变分布情况。
通过模态分析,得出了发动机连杆模型的模态分布情况以及每一模态下的模态振型。
最后,综合得出了连杆的易变形位置,并提出了相应的防治措施,为高性能连杆的设计提供改良依据。
关键词:发动机连杆;ANSYS;有限元;静力学分析;模态分析DOI:10.16640/ki.37-1222/t.2019.11.0030 引言汽车发动机连杆是发动机的重要零部件之一,它的性能影响着发动机整体结构的运动可靠性和工作稳定性。
发动机连杆的作用是把活塞与曲轴连接起来,把作用在活塞上的力传递给曲轴,使活塞的往复运动转变为曲轴的旋转运动[2],从而对外输出做功。
发动机连杆由大头、小头和杆身三部分构成。
与活塞销连接的部分称连杆小头,连杆小头与活塞一起做往复运动;与曲轴连接的部分称连杆大头,连杆大头与曲轴一起做旋转运动;连接小头与大头的杆部称连杆杆身。
发动机连杆的运动有上下运动以及左右摆动,从而形成复杂多变的平面运动。
因此,发动机连杆的受力情况也是复杂多变的,在工作过程中经常受到拉伸、压缩、弯曲和扭转等多种交变载荷的复杂应力的作用,工作环境恶劣。
如此复杂的应力作用容易造成发动机连杆的疲劳、磨损、弯曲甚至断裂,进而影响发动机正常工作[3]。
因此,对发动机连杆进行性能分析就显得尤为重要。
多数发动机连杆性能问题很难通过经典的弹性力学分析,进而求解微分方程而得到其解析解。
但基于ANSYS的有限元分析方法则可以避免求解微分方程。
基于此,本文用ANSYS软件对汽车发动机连杆进行了静力学分析和模态分析,建立了发动机连杆性能分析模型,为发动机连杆的改良设计提供一定思路。
.摘要以桑塔纳2000AJR型发动机为例,基于相关参数对发动机曲柄滑块机构主要零部件进行结构设计计算,同时进行强度、刚度等方面的校核,并进行相关力学分析和机构运动仿真分析,以达到良好的生产经济效益。
目前国内外对发动机曲柄连杆机构的动力学分析的方法很多,而且已经完善和成熟,但仍缺乏一种基于良好生产效益、经济效益上的综合性分析,本次设计在清晰、全面剖析的基础上,有机地将各研究模块联系起来,达到既简便又清晰的设计目的,力求为发动机曲柄滑块机构的设计提供一种综合全面的思路。
分析研究的主要模块分为以下三个部分:第一,对发动机曲柄滑块机构进行力学分析,着重分析活塞的位移、速度、加速度以及工质的作用力和机构的惯性力;第二,进行曲柄滑块机构活塞组、连杆组以及曲轴的结构设计,并对其强度和刚度进行校核;第三,应用Pro∕Engineer 建立曲柄滑块机构主要零部件的几何模型,并利用Pro/Mechanism进行机构仿真。
关键词:发动机;曲柄滑块机构;力学分析;机构仿真目录第一章绪论 (1)1.1国内外发展现状 (1)1.2研究的主要内容 (1)第二章总体方案的设计 (2)2.1原始参数的选定 (2)2.2原理性方案设计 (2)2.3 结构的设计 (3)2.4 确定设计方案 (3)第三章中心曲柄连杆机构的设计 (4)3.1 气缸内的作用力分析 (4)3.2 惯性力的计算 (4)第四章活塞以及连杆组件的设计 (6)4.1 设计活塞组件 (6)4.2 设计活塞销 (7)4.3 活塞销座 (7)4.4 连杆的设计 (7)第五章曲轴的设计 (9)5.1 曲轴的材料的选择 (9)5.2 确定曲轴的主要尺寸和结构细节 (9)第六章曲柄连杆机构的创建 (11)6.1 活塞的创建 (11)6.2 连杆的创建 (12)6.3 曲轴的创建 (14)6.4 曲柄连杆机构其它零件的创建 (16)第七章活塞及连杆的装配 (17)7.1添加活塞组件 (17)7.2添加连杆体组件 (17)7.3曲轴连杆的连接 (18)总结....................................................... 错误!未定义书签。
汽车发动机曲柄连杆机构结构设计及其实例分析作者:王九合来源:《山东工业技术》2013年第08期【摘要】曲柄连杆机构的运动件主要包括活塞组、连杆组、曲轴与轴承组。
在进行零部件设计时,首先,要分析其工作情况及对零件的要求,然后,根据内燃机的总体设计指标以及工厂生产条件选择适当的材料,并采取适当的措施以满足提出的要求。
最后,决定零件的主要尺寸,并进行强度、刚度等方面的校核计算。
【关键词】曲柄连杆;结构设计;整体稳定性;空间刚度;疲劳断裂;组合变形;强度校核;经济性0 引言曲柄连杆机构即活塞组、连杆组和曲轴组。
曲柄连杆机构是发动机中的能源转化机构,它将化学能转化为机械能,将活塞的往复运动传递给曲轴带动外设运转。
1 曲柄连杆机构的结构设计1.1 活塞的结构设计1.1.1 活塞的载荷在内燃机中,活塞组是工作强度最大的组件之一。
活塞的工作条件比较恶劣,其受到的主要载荷有以下几点:1)承受很大的机械载荷在内燃机工作中,活塞组承受的机械载荷包括气体压力、惯性力以及由此产生的侧向作用力。
近代内燃机中,汽油机的最大气体压力Pg max约为3-6MPa,非增压柴油机Pg max值约为6-9MPa,而增压柴油机Pg max值约为13-15MPa。
由于内燃机的转速不断提高,活塞的往复运动也日益增大,一般车用内燃机活塞平均速度一般可高达9~13m/s。
由于加速度很大,活塞组在往复运动中会产生很大的惯性力,同时,内燃机在速燃期,其压力升高率dp/dφ可达0.6-0.8MPa/(°)。
所以对曲柄连杆机构来说,具有很大的冲击作用。
活塞各部位在机械载荷的作用下产生不同的压力:活塞顶部有动态弯曲压力,活塞销座承受拉力及弯曲,环岸承受弯曲及剪应力。
此外,在环槽及裙部还有较大的磨损。
2)承受很高的热载荷在内燃机工作过程中,内室中燃气的最高温度一般可达到2000℃左右,因为活塞顶是直接和燃气接触的,因此活塞承受的温度很高。
除此之外,它还需要接受摩擦生成的热量。
摘要汽车发动机连杆胀断系统连杆胀断工艺是国际上九十年代初发展起来的一种连杆加工新技术,它从根本上改变了传统的连杆加工方法,大幅度提高了整体发动机的生产技术水平,具有十分显著的经济效益和社会效益。
本文在对胀断工艺原理、胀断主机、装配螺栓及工件自动化传送装置的详细分析的基础上,主要研究了胀断生产线的控制系统。
文中,首先确定了系统的电气控制方案并进行了必要的论证。
根据电气控制方案,对具体硬件电路进行了详细设计,并做了具体的说明。
本文的研究方法与技术线路是按胀断工艺的技术特点而确定,通过制定整体技术方案、合理确定胀断主机的结构与主要技术参数、研究并设计胀断自动化生产装备的液压、电气及微机控制系统,全面满足连杆胀断技术高精度、高质量、高效率的精益生产要求。
关键词:连杆胀断工艺,可编程控制器AbstractThe bloated and broken technology of engine connecting rod of the automobile is a new kind of processing technology of automobile connecting rod which developed at the beginning of the 1990s in the world. it changes the traditional processing method of connecting rod fundamentally, and it improves the level of technology of the whole engine by a large margin .It has very remarkable economic benefits and social benefit.This text firstly analyzes the principle of bloated disconnected craft, the bloated disconnected host machine and the automatic assembling line in detail,then the text mainly study the control systems of the production line.In the text, we give the electrical control of the system and carrie on an essential demonstration. According to control method,the text designed the hardware circuit in detail, and gave the concrete explanation.The research approach of this text and technological circuit are fixed according to the technological characteristics of the craft .By making the whole technological scheme, confirming the structure of the bloated disconnected host machine and main technical parameters, we study and design the hydraulic pressure,electrical and computer control system of the bloated disconnected automatic eqippment.The design meet the requests of high-accuracy, high quality, high-efficiency for the the bloated disconnected production line in an all-round way.Keyword: the bloated disconnected technology of engine connecting rod, the programmable logic controller ,目录第一章绪论..................................................................................................................... - 1 -1.1 引言................................................................................................................. - 1 -1.2 项目背景及研究意义..................................................................................... - 1 -1.3 本文主要完成的工作........................................................................................ - 2 - 第二章可编程控制器概述....................................................................................... - 3 -2.1 可编程控制器的发展........................................................................................ - 3 -2.2 PLC的特点 ........................................................................................................ - 4 -2.3可编程控制器程序语言设计............................................................................. - 6 -2.4 S7-200系列PLC的指令系统.......................................................................... - 7 -2.6 MCGS组态软件................................................................................................ - 10 - 第三章设计论证..................................................................................................... - 12 - 3.1 系统控制流程概述....................................................................................... - 12 - 3.2 系统硬件设计概述....................................................................................... - 12 - 3.2.1 胀断主机的原理与结构设计........................................................... - 13 -3.2.2 定扭矩装配螺栓装置的原理与结构设计....................................... - 13 -3.2.3 自动化传送装置的原理与结构设计............................................... - 13 -3.2.4 步进梁机械手夹持定位精度与纵、横项运动精度 ....................... - 13 -3.2.5 微机控制系统的功能制定与设计................................................... - 13 -3.2.6 微机控制系统的设计....................................................................... - 14 - 3.3 电动机的启动................................................................................................ - 14 - 第四章系统硬件设计........................................................................................... - 17 -4.1 系统硬件总述................................................................................................. - 17 -胀断实验装置由机械,液压,电控三部分组成;胀断主机共有10个液压缸,按连杆胀断工艺要求,先后顺序动作,完成胀断任务。
毕业设计(论文)题目:发动机连杆机械加工工艺研究院系:专业班级:学号:姓名:指导老师:教务二处制摘要连杆是汽车发动机中重要的组成部分,本文主要论述了发动机连杆的机械加工工艺。
连杆主要是把活塞和曲轴连接起来,使活塞的往复直线运动转换为曲轴的旋转运动。
连杆承受的是冲击动载荷,因此要求连杆刚度和强度。
由于连杆既是传动零件又是运动件,须综合材料选用、结构设计。
在对其设计中我们先对连杆工艺过程分析,联系实际通过对其具体设计的了解进行连杆机械加工工艺过程分析及其机械加工余量、工序尺寸的确定。
关键词:连杆;工艺设计;加工余量;工序尺寸AbstractAutomotive engine connecting rod is an important part of this paper discusses the machining process of engine connecting rod. The main link is connected to the piston and the crankshaft, so that the reciprocating linear motion of the piston is converted to rotary motion of the crankshaft. Link to withstand the impact of dynamic load, thus requiring the link stiffness and strength. Since both the transmission link is part of moving parts, must be integrated material selection, structural design. In its design, we first link process analysis, and practice by conducting rod machining process analysis and mechanical allowance, the process to determine the size of their understanding of the specific design.Keywords: Link; Process design; Allowance目录摘要 (II)目录 (I)1绪论 (1)1.1 设计的主要研究内容 (1)1.2 加工工艺设计的目的及意义 (2)2 汽车连杆机械加工工艺设计 (2)2.1 连杆的结构特点及作用 (2)2.2 连杆的主要技术要求 (3)2.2.1 大、小头孔的尺寸精度、形状精度 (4)2.2.2 大、小头孔中心距 (4)2.3 连杆的材料和毛坯 (4)2.4 连杆的机械加工工艺过程分析 (5)2.4.1 工艺过程的安排 (5)2.4.2 定位基准的选择 (5)2.4.3 连杆两端面的加工 (5)2.4.4 大头侧面的加工 (6)3 连杆加工工艺卡片及工序卡片的填写 (6)3.1 连杆加工工艺卡片及工序卡片的填写..... 错误!未定义书签。
连杆设计说明书课程设计要求:课程设计要求:1.了解活塞、连杆、曲轴的设计基准、工艺基准、和加工基准。
2.正确的表达零件的形状,合理布置试图。
3.正确理解和标注尺寸公差和形位公差。
4.能读懂图样上的技术要求。
5.正确编写课程设计说明书。
6.熟练掌握AutoCAD 绘制工程图纸。
连杆的作用连杆的作用是将活塞承受的力传给曲轴,并使活塞的往复运动转变为曲轴的旋转运动。
连杆由连杆体、连杆盖、连杆螺栓和连杆轴瓦等零件组成,连杆体与连杆盖分为连杆小头、杆身和连杆大头。
连杆小头用来安装活塞销,以连接活塞。
连杆大头与曲轴的连杆轴颈相连。
一般做成分开式,与杆身切开的一半称为连杆盖,二者靠连杆螺栓连接为一体。
连杆轴瓦安装在连杆大头孔座中,与曲轴上的连杆轴颈装和在一起,是发动机中最重要的配合副之一。
常用的减磨合金主要有白合金、铜铅合金和铝基合金。
连杆机构中两端分别与主动和从动构件铰接以传递运动和力的杆件。
例如在往复活塞式动力机械和压缩机中,用连杆来连接活塞与曲柄。
连杆多为钢件,其主体部分的截面多为圆形或工字形,两端有孔,孔内装有青铜衬套或滚针轴承,供装入轴销而构成铰接。
连杆是汽车发动机中的重要零件,它连接着活塞和曲轴,其作用是将活塞的往复运动转变为曲轴的旋转运动,并把作用在活塞上的力传给曲轴以输出功率。
连杆在工作中,除承受燃烧室燃气产生的压力外,还要承受纵向和横向的惯性力。
因此,连杆在一个复杂的应力状态下工作。
它既受交变的拉压应力、又受弯曲应力。
连杆的主要损坏形式是疲劳断裂和过量变形。
通常疲劳断裂的部位是在连杆上的三个高应力区域。
连杆的工作条件要求连杆具有较高的强度和抗疲劳性能;又要求具有足够的钢性和韧性。
传统连杆加工工艺中其材料一般采用45 钢、40Cr 或40MnB 等调质钢。
连杆组连杆组包括连杆体、连杆盖、小头衬套、连杆瓦、连杆螺栓、连杆螺母等。
在三维造型时,可以将连杆体、盖、螺栓等作为一体,因小头衬套材料为铜铅合金,可以分开造型,然后组装成一体进行分析。