微量注射泵使用故障应急预案
- 格式:doc
- 大小:100.50 KB
- 文档页数:2
随着医疗技术的不断进步,抢救仪器在临床救治中扮演着至关重要的角色。
然而,由于设备老化、操作失误、外部因素等多种原因,抢救仪器可能发生故障,影响患者的救治效果。
为保障患者生命安全,提高医护人员应对抢救仪器故障的应急能力,确保医疗救治工作的连续性和有效性,特制定以下抢救仪器故障应急预案。
一、预案概述本预案旨在规范抢救仪器故障应急处理流程,明确各级人员职责,确保在抢救仪器发生故障时,能够迅速、有效地采取应急措施,最大限度地减少故障对医疗救治工作的影响。
二、预案适用范围本预案适用于我院所有抢救仪器设备,包括但不限于心电监护仪、呼吸机、除颤仪、心电图机、电动吸引器、微量输液泵/注射泵等。
三、应急预案及处理流程1. 抢救仪器故障报警(1)医护人员发现抢救仪器故障时,应立即停止使用,并报告上级领导和设备科。
(2)设备科接到报告后,应迅速查明故障原因,并采取相应措施。
2. 应急处理措施(1)启动应急预案,组织相关人员参与故障处理。
(2)根据故障情况,采取以下应急措施:① 若故障仪器不影响患者救治,可暂时关闭该仪器,待维修后恢复正常使用。
② 若故障仪器影响患者救治,应立即启用备用设备或采取其他替代措施。
③ 若故障仪器无法立即修复,应向上级领导和相关部门汇报,寻求支援。
3. 故障修复及恢复使用(1)设备科负责修复故障仪器,确保设备恢复正常使用。
(2)修复后的仪器需经设备科验收合格后方可投入使用。
4. 故障原因分析及改进措施(1)对故障原因进行分析,查找潜在隐患,制定改进措施。
(2)对相关人员进行培训,提高其应对抢救仪器故障的能力。
四、应急预案演练1. 定期组织抢救仪器故障应急演练,提高医护人员应对故障的实战能力。
2. 演练内容包括:故障报警、应急处理、故障修复等环节。
3. 演练结束后,对演练过程进行总结评估,找出不足之处,不断优化应急预案。
五、预案执行与监督1. 各部门应严格执行本预案,确保抢救仪器故障应急处理工作的顺利进行。
微量注射泵发生故障的应急预案与处理流程下载提示:该文档是本店铺精心编制而成的,希望大家下载后,能够帮助大家解决实际问题。
文档下载后可定制修改,请根据实际需要进行调整和使用,谢谢!本店铺为大家提供各种类型的实用资料,如教育随笔、日记赏析、句子摘抄、古诗大全、经典美文、话题作文、工作总结、词语解析、文案摘录、其他资料等等,想了解不同资料格式和写法,敬请关注!Download tips: This document is carefully compiled by this editor. I hope that after you download it, it can help you solve practical problems. The document can be customized and modified after downloading, please adjust and use it according to actual needs, thank you! In addition, this shop provides you with various types of practical materials, such as educational essays, diary appreciation, sentence excerpts, ancient poems, classic articles, topic composition, work summary, word parsing, copy excerpts, other materials and so on, want to know different data formats and writing methods, please pay attention!微量注射泵发生故障的应急预案与处理流程引言微量注射泵在医疗领域扮演着至关重要的角色,但在使用过程中难免会出现故障。
微量注射泵操作规程一、引言微量注射泵是一种常用的医疗设备,用于精确控制药物的输注速度和剂量,以提高治疗效果和减少患者的不适感。
为了确保微量注射泵的安全和正确使用,制定本操作规程。
二、适用范围本操作规程适用于医疗机构内使用的微量注射泵。
三、术语和定义1. 微量注射泵:指用于输注微量药物的医疗设备。
2. 输注速度:指微量注射泵输注药物的速度,通常以单位时间内输注的药物体积表示。
3. 输注剂量:指微量注射泵每次输注的药物剂量。
四、设备准备1. 检查设备:在使用微量注射泵之前,应仔细检查设备是否完好无损,如有损坏或异常应立即上报维修部门。
2. 准备药物:根据医嘱准备好需要输注的药物,并确保药物的正确性和完整性。
五、操作步骤1. 将微量注射泵放置在平稳的工作台上,并将电源插头插入电源插座。
2. 打开微量注射泵的电源开关,待设备启动完成后,进入主界面。
3. 选择输注模式:根据医嘱选择合适的输注模式,如连续输注、间断输注等。
4. 设置输注速度:根据医嘱设置合适的输注速度,确保药物按照正确的速度输注。
5. 设置输注剂量:根据医嘱设置合适的输注剂量,确保每次输注的药物剂量准确。
6. 检查输注管路:确保输注管路连接正确,无漏气、漏液等现象。
7. 将药物容器连接至输注泵,确保连接牢固。
8. 打开药物容器的阀门,将药物流向输注泵。
9. 按下开始输注按钮,开始输注药物。
10. 监测输注过程:在输注过程中,应不断监测药物的输注速度和剂量,确保其符合医嘱要求。
11. 输注完成后,按下停止输注按钮,关闭药物容器的阀门。
12. 关闭微量注射泵的电源开关,拔出电源插头。
六、注意事项1. 在操作微量注射泵之前,应详细阅读设备的操作说明书,并按照说明书的要求进行操作。
2. 操作过程中应注意个人卫生,洗手并佩戴手套,以防止交叉感染。
3. 在输注药物之前,应检查药物的有效期和外观,如有异常应及时更换。
4. 在输注过程中,应密切观察患者的病情变化,如发现异常情况应及时报告医生。
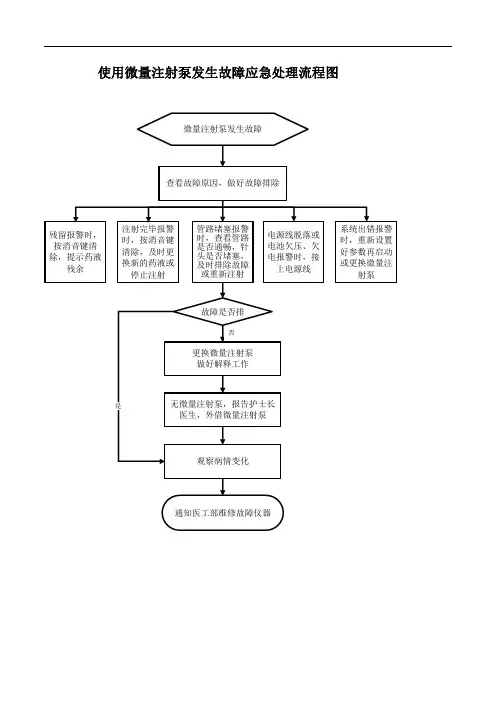
查看故障原因,做好故障排除
使用微量注射泵发生故障应急处理流程图
微量注射泵发生故障
通知医工部维修故障仪器
残留报警时,
按消音键清
除,提示药液
残余 注射完毕报警时,按消音键清除,及时更换新的药液或
停止注射 管路堵塞报警时,查看管路是否通畅,针头是否堵塞,及时排除故障或重新注射 电源线脱落或电池欠压、欠电报警时,接上电源线 系统出错报警时,重新设置好参数再启动或更换微量注
射泵
更换微量注射泵
做好解释工作
无微量注射泵,报告护士长
医生,外借微量注射泵
观察病情变化
故障是否排
否
是。
一、引言微量注射泵在临床工作中广泛应用于药物输注,能够精确控制药物的剂量和速度,对于患者的治疗具有重要意义。
然而,在使用过程中,由于设备故障、操作失误或患者反应等原因,可能会发生意外情况。
为了提高医务人员对微量注射泵意外情况的处理能力,确保患者安全,特制定本应急预案及演练方案。
二、应急预案1. 应急预案目标- 确保患者安全,最大程度减少因微量注射泵故障或操作失误造成的损害。
- 提高医务人员对微量注射泵意外情况的应对能力。
- 优化医疗资源配置,提高医疗服务质量。
2. 应急预案原则- 预防为主,防治结合。
- 快速响应,高效处置。
- 安全第一,确保患者生命安全。
3. 应急预案组织架构- 成立应急小组,由科室主任担任组长,护士长担任副组长,相关医护人员为成员。
- 设立应急值班室,负责接收和处理紧急情况。
- 明确各成员职责,确保应急工作有序开展。
4. 应急预案内容(1)设备故障- 发现微量注射泵故障时,立即停止使用,并通知设备维护人员。
- 在设备维修期间,根据患者病情,选择合适的替代方案。
- 维修完成后,对设备进行全面检查,确保安全可靠。
(2)操作失误- 发现操作失误时,立即纠正错误,并通知相关人员。
- 对操作人员进行再次培训,提高其操作技能。
- 记录操作失误情况,分析原因,防止类似事件再次发生。
(3)患者反应- 发现患者出现不良反应时,立即停止药物输注,并通知医生。
- 根据患者病情,采取相应的急救措施。
- 密切观察患者病情变化,及时调整治疗方案。
5. 应急预案流程(1)报警- 发现微量注射泵异常时,立即按下报警按钮,通知应急小组。
- 应急小组接到报警后,立即启动应急预案。
(2)响应- 应急小组迅速到达现场,了解情况,评估风险。
- 根据应急预案,采取相应措施,确保患者安全。
(3)处置- 对设备故障、操作失误或患者反应进行处理。
- 恢复微量注射泵正常使用或调整治疗方案。
(4)总结- 对应急事件进行总结,分析原因,提出改进措施。
微量注射泵操作规程引言概述:微量注射泵是一种常用的医疗设备,用于精确控制药物或液体的注射。
正确操作微量注射泵对于保证患者的安全和治疗效果至关重要。
本文将详细介绍微量注射泵的操作规程,包括设备准备、操作步骤、注意事项等。
一、设备准备:1.1 确认设备完整性:在使用微量注射泵之前,首先要检查设备是否完整,包括泵头、输液管、电源线等部件是否齐全。
1.2 清洁消毒:使用前应对微量注射泵进行清洁消毒,以确保设备的卫生。
1.3 确认药物准备:在操作微量注射泵之前,要准备好需要注射的药物,确保药物的名称、剂量和浓度准确无误。
二、操作步骤:2.1 连接输液管:将输液管连接到微量注射泵的输液接口上,并确保连接牢固,避免漏液或脱落。
2.2 设置参数:根据医嘱或药物使用说明,设置微量注射泵的注射速度、剂量和注射时间等参数。
2.3 开始注射:确认参数设置正确后,按下启动按钮开始注射。
在注射过程中,要定期检查药物的注射情况,确保注射速度和剂量的准确性。
三、注意事项:3.1 观察患者反应:在使用微量注射泵注射药物时,要密切观察患者的反应,如出现异常情况应及时停止注射并报告医生。
3.2 定期检查设备:在注射过程中,要定期检查微量注射泵的工作状态,如发现异常应及时维修或更换设备。
3.3 防止交叉感染:在使用微量注射泵时,要注意消毒和无菌操作,避免交叉感染的发生。
四、故障处理:4.1 声音报警:如果微量注射泵发出声音报警,应立即停止注射,检查故障原因并进行处理。
4.2 输液阻力:如果注射过程中出现输液阻力,应检查输液管路是否有异常,并及时清除阻塞物。
4.3 电源故障:如微量注射泵出现电源故障,应立即切换到备用电源或更换电源线。
五、操作结束:5.1 停止注射:在药物注射完成后,应及时停止微量注射泵的工作。
5.2 清洁消毒:使用完毕后,要对微量注射泵进行清洁消毒,以确保下次使用时的卫生。
5.3 记录信息:在操作结束后,要及时记录微量注射泵的使用情况,包括注射药物、剂量、注射时间等信息。
微量注射泵使用故障应急预案一、引言微量注射泵在医疗领域扮演着非常重要的角色,它可以准确、稳定地输送药物。
然而,由于各种原因,微量注射泵在使用过程中可能会出现故障,给患者的治疗带来风险。
因此,建立一套完善的微量注射泵使用故障应急预案十分必要。
二、常见故障及处理方法1. 注射泵无法启动可能原因:- 电源故障:检查电源是否插好,电源开关是否打开。
- 电池电量不足:更换或充电电池。
- 控制面板故障:重启或联系供应商维修。
2. 注射泵输液速度不稳定可能原因:- 输液管路堵塞:检查输液管是否有异物堵塞,如有,及时清理。
- 输液管路连接不稳:检查连接是否牢固。
- 滑轮松动:调整滑轮紧度。
3. 注射泵报警可能原因:- 输液管路断开:检查输液管路是否连接正确。
- 输液管路漏液:检查输液管路是否漏液。
- 药液用尽:更换药液。
三、微量注射泵使用故障应急预案为应对微量注射泵使用故障,保证患者的安全和稳定的输液,建议制定以下应急预案:1. 设立专业团队成立负责微量注射泵故障处理的专业团队,团队成员应包括医生、护士、维修人员等。
团队成员需要接受相关培训,了解微量注射泵的工作原理和故障处理方法。
2. 建立故障处理流程制定微量注射泵故障处理的具体流程,并将其纳入医院的安全管理制度。
流程包括以下内容:- 故障报警信号的识别。
- 确定故障原因,判断是否需要进行紧急处理。
- 按照具体故障处理方法进行修复或更换设备。
3. 定期维护和检查建立定期维护和检查制度,包括:- 对微量注射泵进行定期维护保养,清洁输液管路,检查各部件是否完好。
- 配备合格的专职或兼职维修人员,定期检查微量注射泵的性能和安全性,并进行必要的维修和更换。
4. 建立信息反馈机制设立微量注射泵故障信息反馈机制,包括:- 医务人员及时将发生的故障情况汇报给专业团队,并记录在相关档案中。
- 回顾故障,总结原因,并完善应急预案。
四、总结微量注射泵故障预案是确保患者安全的重要措施,合理有效的应对微量注射泵故障,可以更好地保障患者的治疗效果。
微量注射泵应急预案脚本
【应急准备】
医疗机构应建立一套完善的微量注射泵管理制度,包括设备的定期检查、维护、操作培训等内容。
同时,应配备一定数量的备用微量注射泵,并确保所有医护人员都熟悉设备的操作流程和应急措施。
【应急响应】
一旦发现微量注射泵出现异常或故障,操作人员应立即停止使用该设备,并按照以下步骤进行操作:
1. 立即通知设备管理人员和值班医生,说明故障情况。
2. 若情况允许,迅速切换至备用微量注射泵,保证患者治疗不中断。
3. 对故障设备进行初步诊断,判断是否可以现场快速修复。
4. 记录故障发生的时间、症状、可能的原因及采取的措施,为后续维修提供信息。
【应急处理】
对于无法现场快速修复的微量注射泵,应执行以下步骤:
1. 将患者转移至其他治疗设备或房间,确保治疗继续进行。
2. 联系设备供应商或专业维修人员,请求技术支持和维修服务。
3. 分析故障原因,总结经验教训,完善应急预案。
【应急演练】
为提高应急预案的有效性,医疗机构应定期组织微量注射泵应急演练,模拟各种可能出现的紧急情况,检验预案的可行性和医护人员的应急反应能力。
通过演练,可以发现预案中的不足之处,及时进行调整和完善。
【总结与改进】
每次应急事件发生后,都应进行详细的总结和分析,找出问题的根源,制定改进措施。
同时,根据医疗设备的发展和临床需求的变化,不断更新和完善应急预案,提高医疗机构应对突发事件的能力。
打针泵罕有故障及清除办法
罕有微量泵的报警及处理:
1.残留提示(NEA.EMPTY):
当药液在3ml以下时,微量泵会主动报警,红灯亮闪, 提示你即将用完,此时报警,不要按STOP键,以免症结药物停滞进入影响病情,按消音键既可,将打针器和滑座向后移动1~2cm,红灯停滞亮闪,可使打针器内残剩药液全体匀速注入体内,防止药液糟蹋,包管药物足量供应,以包管药液在血液中中断保持有用浓度.夜间清除报警声音,使患者睡眠充足,清除重要心理.此时,可预备好另一打针器的药物.
2.打针完毕报警(EMPTY):
报警提示完整用完,应按STOP 键消音.
3.壅塞报警(OCCLUSION):
(1)针头壅塞,可试抽回血.推肝素液,甚至重建静脉通路;
(2)管道的壅塞.受压反折.三通开关放置错误.一路静脉应用多路微量打针泵等.针对原因解除故障.另开静脉通路;
(3)针头脱出血管外,要立刻停滞用药,重建静脉通路;
(4)打针泵本身的故障,有待维修.
4.电池欠压报警.电池电量耗尽报警(LOW-BATT).电源线脱落报警
(1)蓄电池能源耗尽,应立刻接通外电源,使其中断工作.
(2)发明电源插头松脱,应立刻接好电源.
5打针器装夹不准确报警
无意碰撞使打针器松动,应检讨打针器是否处于正常地位.。
本页仅作为文档封面,使用时可以删除This document is for reference only-rar21 yeai\March微量桃时预防微量泵操作并发症的预防及处理流程微泵操作并发症有:微量泵报警' 血液回流、注射部位疼痛或静脉炎等一、微量泵报警2、原因(1)机器运转报警,如阻塞' 残液报警等。
(2)电源报警,如电力不足、使用电池等。
(3)机器故障。
2、临床表现微量泵岀现报警音,显示报警项目3、预防(1)熟悉微量泵的性能及操作程序,掌握不同用药剂量计速度换算。
(2 )规范操作程序,连续微量泵前常规推注少量生理盐水, 保证管路通畅。
(3)使用过程中加强巡视,严格床边交接班。
(4)确保电源连接紧密,注射器正确卡入微量泵卡槽内, 查看延长管有无打折' 脱落。
(5)保证机器正常运转。
(6)保证电源没有故障。
(7)保证管路通畅,延长管无打折、脱落、无气泡。
(8 )确保穿刺针处无回血凝固。
4、处理流程出现微量泵报警一查看报警原因(低电压、阻塞、残量报警等)一根据原因处理报警一按开始键运行一再次确认泵管输注通畅〜向患者及家属交代注意事项。
二、血液回流lx原因(1)更换液体后未冲管或封管不当。
(2)患者穿刺处活动过多,肢体用力。
(3)输注流量过慢。
2、临床表现输液管内有回血,微量泵报警管道堵塞。
3、预防(1)加强巡视,发现回血及时处理。
(2)留置针或深静脉置管,微量泵使用完毕后,正压封管。
(3 )将微量泵置于高于静脉穿刺肢体10~20cm左右,防止血液回流。
(4)出现血液回流,可用生理盐水将回血回输。
如回血已发生堵塞,切勿用力推注,以免血栓进入静脉,可去掉肝素帽,消毒后接注射器乳头直接抽吸出血栓,如无效,则拔管重新穿刺。
4、处理流程(1)出现血液回流一用于生理盐水将回血回输一确认静脉置管通畅后将延长管接上一将微量泵置于高于静脉穿刺肢体10~20cm左右位置一按开始键运行一再次确认泵注通畅、无血液回流现象一向患者及家属交代注意事项。
医疗设备故障和意外事件应急预案医疗设备故障和意外事件的管理部门及职责医疗设备故障和意外事件的应急管理设在管理办公室(即设备科),设备科科长为负责人。
其职责和工作内容主要包括以下各项:1、建立应急设备台账,重点应建立抢救类设备、急诊急救类设备、生命支持类设备的应急账册。
2、设置应急设备和物资储备库(考虑平战结合,如在ICU 设置呼吸机中心库房、监护仪中心库房、输液泵中心库房等),闲置和备用设备由设备科保管。
建立CT、MRI、医用直线加速器等大型设备和涉及使用科室众多的设备常用维修备件库。
3、定期对应急设备和物资进行清点、维护、保养和维修。
4、应急时负责应急设备的搬运、安装、调试和协助应用。
5、负责建立院外应急设备和物资支援信息库与外援单位,重点考虑设备供应商和同类设备在本地区医院的分布和使用情况。
6、对在用及备用医疗设备进行定期检测和预防性维护维修,以备能正常使用。
7、保持与医疗设备维修方、设备科维修工程师的联系畅通,当重大急救设备发生故障后,相关设备维修工程师应在1个小时内到达现场并做相应处置,以确保在突发事件下损坏的仪器能够得到及时修复。
8、带有蓄电功能在用及备用医疗设备应及时充电,以保证应急时启用。
9、对呼吸机等设备做好可替代抢救二级准备,每台呼吸机配备人工呼吸面罩、皮球等。
10、保持与相应设备供应商的联系畅通,建立协调机制。
11、为保证在发生突发事件时,各部门能够及时、协调、有效地完成工作,医院应每年进行一次应急演习。
急救类和生命支持类装备应急预案呼吸机故障应急预案1、值班护士应熟知本病房、本班次使用的呼吸机及使用患者的病情,严密观察生命体征。
2、在使用呼吸机过程中,随时观察呼吸机的动态变化,保持管道畅通,氧气充足。
如呼吸机出现紧急情况,如意外停电、设备故障、氧气压力不足、气管切开套管或气管插管脱出等,医护人员应采取补救措施,以保护患者使用呼吸机的安全。
3、设备科应定期检查呼吸机状况,确保设备运转良好,做好维修、维护登记。
注射泵使用故障应急预案
【应急预案】
1.带有蓄电池的注射泵,平时定期充电使蓄电池处于饱和状态。
2.应定期检查注射泵状况,确保设备运转良好,做好维修、维护登记。
3.有故障的注射泵挂上“仪器故障牌”,及时通知设备处维修。
维修过程及维修结果应及时登记备案.
4.护士应熟练掌握注射泵的操作流程。
5.护士应熟知本病房、本班使用的注射泵及使用患者的病情,严密观察患者生命体征及病情变化.
6.在使用过程中,随时观察注射泵的动态变化,确保设备设置参数与实际运行参数相符合.如遇注射泵出现紧急情况,如意外停电、空气报警、管路阻塞、速度失控等设备故障时,医护人员应采取补救措施,以保护患者使用注射泵的安全,并向患者及家属做好解释工作.
【程序】。
护理应急预案演练
(三)演练剧本
场景:12床李红正在使用输液泵以41ml/h输注善宁,突然输液泵报警。
角色扮演:护士甲、家属、病人
家属:护士,护士,12床的泵滴滴滴直报警啊!
护士甲:好,我马上来。
(护士到达后查看输液泵,报警提示:管路堵塞,检查留置针回血正常,无肿胀渗漏。
)。
护士甲:李红,请把胳膊抬起来让我看看输液器的管道好吗?
病人:好。
(抬起胳膊)
护士甲:(发现输液管反折压在病人胳膊下,将反折处打开并调节输液泵。
)李红,是管道折住了而引起的报警,我已经都处理好了,您再活动的时候注意不要压住输液器,如果再出现报警请随时叫我,我待会儿再来看你。
病人:好的,谢谢你。
一、演练目的为了提高医护人员对微量注射泵使用过程中可能出现的意外情况的处理能力,确保患者安全,提高医疗质量,本演练旨在检验和提升医护人员应对微量注射泵使用过程中的突发事件的能力。
二、演练背景某医院重症监护病房,一名患者因急性胰腺炎需要使用微量注射泵持续泵入抗生素。
在泵入过程中,医护人员发现注射泵出现异常,导致患者用药剂量不准确,存在安全隐患。
三、演练时间2023年4月15日四、演练地点医院重症监护病房五、演练组织1. 演练领导小组:由医院分管领导、护理部、药剂科、重症监护病房等部门负责人组成。
2. 演练指挥小组:由重症监护病房护士长担任指挥,负责演练的整体协调和指挥。
3. 演练参演人员:重症监护病房医护人员、护士、药剂科人员等。
4. 观摩人员:医院其他科室医护人员、实习生等。
六、演练内容1. 演练情景:患者使用微量注射泵泵入抗生素过程中,注射泵出现故障,导致用药剂量不准确。
2. 演练步骤:(1)发现异常:护士在巡视病房时发现注射泵显示屏出现异常,提示用药剂量不准确。
(2)立即报告:护士立即向护士长汇报,护士长接到报告后,立即启动应急预案。
(3)现场处理:护士长组织人员对注射泵进行检查,确认故障原因,并采取相应措施。
(4)更换注射泵:如无法修复,立即更换备用注射泵,确保患者用药安全。
(5)通知医生:护士长通知主管医生,医生立即对患者进行评估,调整用药方案。
(6)调查原因:演练结束后,组织相关人员调查注射泵故障原因,并提出改进措施。
(7)总结经验:对演练过程进行总结,形成书面报告,提出改进建议。
七、演练流程1. 准备阶段:成立演练领导小组和指挥小组,明确参演人员,制定演练方案,准备演练所需物资。
2. 实施阶段:按照演练方案进行演练,参演人员按照各自职责进行操作。
3. 总结阶段:对演练过程进行总结,形成书面报告,提出改进建议。
八、演练评估1. 评估参演人员的应急处置能力,包括发现异常、报告、处理、更换设备等环节。
微量注射泵操作规程一、引言微量注射泵是一种用于输注微量药物或液体的医疗设备,广泛应用于临床医疗环境中。
为了确保安全和有效地使用微量注射泵,本文将详细介绍微量注射泵的操作规程。
二、设备准备1. 确保微量注射泵处于工作状态,并检查设备是否正常运行。
2. 准备所需的输注液体和药物,并确保其符合临床要求和规范。
三、操作步骤1. 将输注液体连接到微量注射泵的输液管路上,并确保连接牢固、无泄漏。
2. 打开微量注射泵的电源开关,并确保显示屏正常显示。
3. 根据医嘱或临床要求,在微量注射泵的控制面板上设置输注速度、输注容量和输注时间等参数。
4. 按下微量注射泵上的开始/停止按钮,开始输注过程。
5. 定期检查微量注射泵的工作状态和输注情况,确保输注过程正常进行。
6. 输注结束后,按下微量注射泵上的停止按钮,停止输注过程。
7. 关闭微量注射泵的电源开关,断开输液管路。
四、注意事项1. 在操作微量注射泵之前,操作人员应接受相关培训,了解设备的使用方法和安全注意事项。
2. 在设置输注参数时,应仔细核对医嘱或临床要求,确保输注参数的准确性。
3. 在输注过程中,操作人员应随时监测微量注射泵的运行情况,如发现异常应及时处理。
4. 输注结束后,应清洁和消毒微量注射泵的输液管路,确保设备的卫生和安全。
5. 如遇停电或其他突发情况,应立即停止输注并采取相应的应急措施。
五、故障排除1. 若微量注射泵出现故障,请立即停止输注并联系维修人员进行检修。
2. 在等待维修期间,可以考虑手动输注或使用备用设备进行输注。
六、总结微量注射泵是一种重要的医疗设备,正确操作微量注射泵可以确保输注过程的安全和有效。
操作人员应熟悉微量注射泵的使用方法和操作规程,并严格按照标准操作程序进行操作。
在操作过程中,应注意安全、准确和细致,及时处理异常情况,并定期维护和检修设备,以确保其正常运行。
微量注射泵使用故障应急预案微量注射泵使用故障应急预案1.引言微量注射泵是一种常用的医疗器械,用于给患者输送微量药物。
然而,在使用微量注射泵的过程中,可能会出现故障,导致药物输送中断或出现其他安全问题。
为应对这些紧急情况,制定本应急预案,以确保操作人员能够迅速正确地处理故障,并保障患者的安全。
2.应急预案2.1 前期准备2.1.1 确保所有操作人员对微量注射泵的使用方法和操作流程进行培训和学习,并熟悉本应急预案;2.1.2 检查微量注射泵的外观,确保设备正常,无明显损坏;2.1.3 确认微量注射泵是否正常工作,包括检查注射器的运动是否流畅、报警系统是否正常等;2.1.4 确保微量注射泵附近配备有常用的药物和相关设备,如输液器、药物和输液管等。
2.2 故障处理2.2.1 在发现微量注射泵出现故障时,应立即停止使用,确保患者的安全;2.2.2 根据故障类型,进行以下处理:2.2.2.1 输注速度故障:2.2.2.1.1 检查输注速度设置是否正确,是否与医嘱一致;2.2.2.1.2 检查输注管路是否堵塞;2.2.2.1.3 重新设置输注速度或更换输注管路;2.2.2.2 药液漏泄故障:2.2.2.2.1 停止输注,清理药液漏出的部分;2.2.2.2.2 检查注射器连接是否紧固;2.2.2.2.3 更换注射器或注射器连接部分;2.2.2.3 报警故障:2.2.2.3.1 查看报警信息,并根据报警类型进行相应处理;2.2.2.3.2 若无法解决报警故障,及时联系维修人员维修;2.2.2.4 其他故障:2.2.2.4.1 根据具体情况进行处理,若无法解决,及时联系维修人员维修。
2.3 报告和记录2.3.1 在处理故障后,应及时向上级报告,并向维修人员提供详细的故障现象描述;2.3.2 对故障处理过程进行记录,包括故障时间、处理方法、处理结果等信息。
附件:无法律名词及注释:1.医疗器械:指依据国家卫生主管部门核发的注册证书,在医疗保健活动中用于检查、治疗、缓解疾病的设备、仪器、器具、材料或其他相关物品,包括配件、附件及软件。
微量注射泵使用故障应急预
案
-标准化文件发布号:(9556-EUATWK-MWUB-WUNN-INNUL-DDQTY-KII
注射泵使用故障应急预案
【应急预案】
1.带有蓄电池的注射泵,平时定期充电使蓄电池处于饱和状态。
2.应定期检查注射泵状况,确保设备运转良好,做好维修、维护登记。
3.有故障的注射泵挂上“仪器故障牌”,及时通知设备处维修。
维修过程及维修结果应及时登记备案。
4.护士应熟练掌握注射泵的操作流程。
5.护士应熟知本病房、本班使用的注射泵及使用患者的病情,严密观察患者生命体征及病情变化。
6.在使用过程中,随时观察注射泵的动态变化,确保设备设置参数与实际运行参数相符合。
如遇注射泵出现紧急情况,如意外停电、空气报警、管路阻塞、速度失控等设备故障时,医护人员应采取补救措施,以保护患者使用注射泵的安全,并向患者及家属做好解释工作。
【程序】。