最新互换性第四章的习题讲解图标注和改错学习资料
- 格式:doc
- 大小:543.00 KB
- 文档页数:16
互换性与测量技术基础第四版答案(总19页)--本页仅作预览文档封面,使用时请删除本页--《互换性与测量技术基础》习题参考解答(第3版)第二章 光滑圆柱体结合的公差与配合1.孔或轴 最大极限尺寸最小极限尺寸上偏差下偏差公差 尺寸标注 孔: Φ10 Φ10015.0030.0--孔: Φ18 18 + 0 Φ18017.00+孔: Φ30 + Φ30012.0009.0+- 轴: Φ40 Φ40050.0112.0--轴: Φ60 + + Φ60041.0011.0++轴: Φ85 85Φ850022.0-max X min = 0 - =T f = | | = 2) Y max = 0 – = Y min = – = T f = | + | = 3) X max = = Y max = – 0 = T f = | – | = 4) X max = - = Y max = 0 – = T f =| – | = 5) X max = – = X min = 0 - = +T f =| – | = 6) X max = – = Y max = – 0 = T f =| – | =3. (1) Φ50)(7f )(8H 025.0050.0039.00--+ Xmax = Xmin = 基孔制、间隙配合 (2)Φ80)(10h )(10G 0120.0130.0010.0-++ Xmax = Xmin = 基轴制、间隙配合 (3)Φ30)(6h )(7K 0013.0006.0015.0-+- X max = Y max = 基轴制、过渡配合 (4)Φ140)(8r )(8H 126.0063.0063.00+++ Y max = Y min = 0mm 基孔制、过盈配合 第2题(5)Φ180)(6u )(7H 235.0210.0040.00+++ X max = Y min = 基孔制、过盈配合 (6)Φ18)(5h )(6M 0008.0004.0015.0--- X max = Y max = 基轴制、过渡配合 (7)Φ50)(6js )(7H 008.0008.0025.00+-+ X max = Y max = 基孔制、过渡配合 (8)Φ100)(6k )(7H 025.0003.0035.00+++ X max = Y max = 基孔制、过渡配合 (9)Φ30)(6n )(7H 028.0015.0021.00+++ X max = Y max = 基孔制、过渡配合 (10)Φ50)(6h )(7K 0016.0007.0018.0-+- X max = Y max = 基轴制、过渡配合 4. (1) Φ60)(9h )(9D 0074.0174.0100.0-++ (2) Φ30)(8h )(8F 0033.0053.0020.0-++ (3) Φ50)(6k )(7H 018.0002.0025.00+++ (4) Φ30)(6s )(7H 048.0035.0021.00+++ (5) Φ50)(6h )(7U 0016.0061.0086.0--- 5. ∵ X min = , X max = . ∴配合公差T f =| –| = ,∵T f = T h + T s ,选基孔制.查表,孔为7级,轴为6级T h = T s = 符合要求.∴选Φ40)(6f )(7H 025.0041.0025.00--+。
完整版互换性习题及答案.doc第⼀章绪论1-1.什么叫互换性?为什么说互换性已成为现代机械制造业中⼀个普遍遵守原则?列举互换性应⽤实例。
(⾄少三个)。
答:(1)互换性是指机器零件(或部件)相互之间可以代换且能保证使⽤要求的⼀种特性。
(2)因为互换性对保证产品质量,提⾼⽣产率和增加经济效益具有重要意义,所以互换性已成为现代机械制造业中⼀个普遍遵守的原则。
(3)列举应⽤实例如下:a、⾃⾏车的螺钉掉了,买⼀个相同规格的螺钉装上后就能照常使⽤。
b、⼿机的显⽰屏坏了,买⼀个相同型号的显⽰屏装上后就能正常使⽤。
c、缝纫机的传动带失效了,买⼀个相同型号的传动带换上后就能照常使⽤。
d、灯泡坏了,买⼀个相同的灯泡换上即可。
1-2 按互换程度来分,互换性可分为哪两类?它们有何区别?各适⽤于什么场合?答:(1)按互换的程来分,互换性可以完全互换和不完全互换。
(2)其区别是:a、完全互换是⼀批零件或部件在装配时不需分组、挑选、调整和修配,装配后即能满⾜预定要求。
⽽不完全互换是零件加⼯好后,通过测量将零件按实际尺⼨的⼤⼩分为若⼲组,仅同⼀组内零件有互换性,组与组之间不能互换。
b、当装配精度要求较⾼时,采⽤完全互换将使零件制造精度要求提⾼,加⼯困难,成本增⾼;⽽采⽤不完全互换,可适当降低零件的制造精度,使之便于加⼯,成本降低。
(3)适⽤场合:⼀般来说,使⽤要求与制造⽔平,经济效益没有⽭盾时,可采⽤完全互换;反之,采⽤不完全互换。
1-3.什么叫公差、检测和标准化?它们与互换性有何关系?答:(1)公差是零件⼏何参数误差的允许范围。
(2)检测是兼有测量和检验两种特性的⼀个综合鉴别过程。
(3)标准化是反映制定、贯彻标准的全过程。
(4)公差与检测是实现互换性的⼿段和条件,标准化是实现互换性的前提。
1-4.按标准颁布的级别来分,我国的标准有哪⼏种?答:按标准颁布的级别来分,我国标准分为国家标准、⾏业标准、地⽅标准和企业标准。
1-5.什么叫优先数系和优先数?答:(1)优先数系是⼀种⽆量纲的分级数值,它是⼗进制等⽐数列,适⽤于各种量值的分级。
精品文档
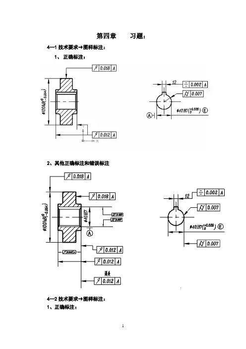
第四章习题:4—1技术要求→图样标注:1、正确标注:
、其他正确标注和错误标注2
技术要求→图样标注:4—2 1、正确标注:精品文档.
精品文档
其他正确标注和错误标注2、
技术要求→图样标注:4—3 正确标注1.
精品文档.
精品文档
(2)
错误标注2.
精品文档.
精品文档
技术要求→图样标注: 4 4—
精品文档.
精品文档
1、正确标注:
2.其他正确标注和错误标注
4—5 技术要求→图样标注:
精品文档.
精品文档
1、正确标注:
2、其他正确标注和错误标注
4—6 技术要求→图样标注:
精品文档.
精品文档
1、正确标注:
2.错误的标注
精品文档.
精品文档
2、其他正确标注和错误标注
改错题:
题图 a()
精品文档.
精品文档
题图改错后的标注)(a
(a)题图标注
精品文档.
精品文档
(b) 题图
题图改错(b)
精品文档.
精品文档
(c) 题图
(c)题图改错题图(d)
精品文档.
精品文档
题图改错(d)
精品文档.
精品文档
:题图(e) (f)
题图改错(e) (f)
精品文档.
精品文档
公差原则的应用:74—
4-9形状误差评定:P98
见教材
精品文档.
精品文档
平面度误差为:18.75-(-12.5)= (单位)。
精品文档.精品文档
精品文档.。
报告1:完成题图绘制,并分析、更正题图可能存在的问题。
若发现题图问题,在此报告中分析、指正。
(1)纵观全图,没有标题栏,在工程图中,应该有符合国家标准的标题栏。
(2)右边的剖视图有错误,在直径为8的空与直径为32和直径为12的孔相交部分的先存在错误,在相交的地方应该化成曲线才对。
改成(3)和上一题的错误一样。
直径为6的孔与直径为12的孔的相交线为带有弧度的曲线。
而原图中则被画为了直线。
改成(4)没有制造相关的技术要求,有些隐含的东西没有标出来,例如:(5) 在国家标准中工程图中没有虚线具体改正如下:改成(5)各个孔没有标每个尺寸的具体偏差,例如:报告2:图样是否符合国家标准(图纸幅面和格式、标题栏、比例、字体、视图、剖视图和断面图、图线、尺寸注法、中心孔表示法、花键表示法、尺寸注法、尺寸公差与配合注法、剖面符号、螺纹及螺纹紧固件表示法、简化表示法、指引线和基准线的基本规定等)?报告设计中解决的问题和所依据的国家标准号及标准名称全称。
(满分30)(1)图纸幅面和格式:图纸幅面选用(GBT/T 14689-1993)的A3纸,见面尺寸为297×420,留边宽度为a为25mm,b为5,c为10的国家标准,图纸横放。
(2)标题栏:标题栏的格式和尺寸遵照GB/T 10690.1-1989的规定。
图纸(3)比例(GB/T 14690—1993),在图中选用1:1的比例。
绘制图样时,应尽量采用1∶1的比例,这样可从图形上获得机件的真实大小。
由于物体的大小及结构的复杂程度不同,也可选择放大或缩小的比例,此时应选择表1-2中规定的比例,但标注尺寸时必须标注物体的实际尺寸。
绘制同一物体的各个视图,应采用相同的比例,并在标题栏的比例一栏中填写。
当某些视图采用不同的比例时,必须另行标注。
国家标准规定的比例( 4 )字体图样和技术文件中的汉字、数字、字母等在书写时都必须按照国家标准的规定,做到字体工整、笔画清楚、排列整齐、间隔均匀。
第四章习题:4—1技术要求→图样标注:
1、正确标注:
2、其他正确标注和错误标注
4—2技术要求→图样标注:
1、正确标注:
2、其他正确标注和错误标注
4—3技术要求→图样标注:
1.正确标注
(2)
2.错误标注
4—4 技术要求→图样标注:
2.其他正确标注和错误标注
4—5 技术要求→图样标注:
2、其他正确标注和错误标注
4—6 技术要求→图样标注:
1、正确标注:
2.错误的标注
2、其他正确标注和错误标注
改错题:
(a)题图
(a)题图改错后的标注
(a)题图标注
(b) 题图
(b) 题图改错
(c) 题图
(c)
题
图
改
错
(
d)
题
图
(d) 题图改错
(e) (f)题图:
(e) (f)题图改错
4—7公差原则的应用:
4-9形状误差评定:
见教材P98
平面度误差为:()= (单位)。
7.改正图2-1中各项形位公差标注上的错误(不得改变形位公差项目)答案图2-18.改正图2-2中各项形位公差标注上的错误(不得改变形位公差项目)答案图2-29.改正图2-3中各项形位公差标注上的错误(不得改变形位公差项目)答案图2-310.改正图2-4中各项形位公差标注上的错误(不得改变形位公差项目)答案图2-411.改正图2-5中各项形位公差标注上的错误(不得改变形位公差项目)答案图2-512.改正图2-6中各项形位公差标注上的错误(不得改变形位公差项目)答案图2-613.改正图2-7中各项形位公差标注上的错误(不得改变形位公差项目)答案图2-714.改正图2-8中各项形位公差标注上的错误(不得改变形位公差项目)答案图2-816.将下列技术要求标注在图2-10。
(1)圆锥面的圆度公差为0.01 mm,圆锥素线直线度公差为0.02 mm。
(2)圆锥轴线对φd1和φd2两圆柱面公共轴线的同轴度为0.05 mm。
(3)端面Ⅰ对φd1和φd2两圆柱面公共轴线的端面圆跳动公差为0.03 mm。
(4)φd1和φd2圆柱面的圆柱度公差分别为0.008 mm和0.006 mm。
答案图2-1015.将下列技术要求标注在图2-9上。
(1)φ100h6圆柱表面的圆度公差为0.005mm。
(2)φ100h6轴线对φ40P7孔轴线的同轴度公差为φ0.015mm。
(3)φ40P7孔的圆柱度公差为0.005mm。
(4)左端的凸台平面对φ40P7孔轴线的垂直度公差为0.01 mm。
(5)右凸台端面对左凸台端面的平行度公差为0.02 mm。
答案图2-917.将下列技术要求标注在图2-11上。
(1)左端面的平面度公差为0.01 mm,右端面对左端面的平行度公差为0.04 mm。
(2)φ70H7孔的轴线对左端面的垂直度公差为0.02mm。
(3)φ210h7轴线对φ70H7孔轴线的同轴度公差为φ0.03mm。
(4)4-φ20H8孔的轴线对左端面(第一基准)和φ70H7孔轴线的位置度公差为φ0.15mm。
1.4 互换性的意义及作用?设计方面:可以最大限度地采用标准件、通用件和标准部件,大大简化了绘图和计算工作,缩短了设计周期,加速产品更新。
有利于计算机辅助设计和产品的多样化。
制造方面:有利于组织专业化生产,便于采用先进工艺和高效率的专用设备,提高产品质量和生产率,降低制造成本。
装配过程:提高装配质量,缩短装配周期。
使用维修方面:缩短机器的维护时间,节约修护费用,提高机器的使用价值。
1-6 判断下面说法是否正确。
(对或错以 √ 或 × 表示)(1)对大批量生产的同规格零件要求有互换性,单件生产则不必遵循互换性原则。
(×)(2)遵循互换性原则将使设计工作简化,生产效率提高,制造成本降低,使用维修方便。
(√)(3)标准化是通过制定、发布和实施标准,并达到统一的过程,因而标准是标准化活动的核心。
(√) 1-7 填空:(1)零部件具有互换性必须满足三个条件,即装配前不需要挑选,装配时不调整或修配,装配后满足使用要求。
(2)在生产中采用的分组装配法,是在设计阶段就确定了的,它属于不完全互换。
(3)为了控制加工误差,在设计时需要规定公差,在制造时需要进行检测。
(4)保证互换性生产的基础是标准化。
(5)R5系列中10~100的优先数是10、16、25、40、63、100。
(6)优先数系R10系列中在1~10的进段中包含11个优先数。
它们分别为1.00,1.25,1.60,2.00,2.50,3.15,4.00,5.00,6.30,8.00,10.00第二章 习题 2-1 图样上给定的轴直径为)017.0033.0(645++n φ。
根据此要求加工了一批轴,实测后得其中最大直径(即最大实际尺寸)为45.033 mm ,最小直径(即最小实际尺寸)为 45.000mm 。
问加工后的这批轴是否全部合格(写出不合格零件的尺寸范围)?为什么?这批轴的尺寸公差是多少? 答:轴直径的技术要求)017.0033.0(645++n φ决定了轴的极限尺寸为033.45max =d mm 和017.45min =d mm 。
互换性与测量技术基础习题第一章:绪论一、判断题(×)1.为了使零件具有完全互换性,必须使零件的几何尺寸完全一致。
(×)2.有了公差标准,就能保证零件的互换性。
(√)3.为使零件的几何参数具有互换性,必须把零件的加工误差控制在给定的公差围。
(√)4.完全互换的装配效率必定高于不完全互换。
二、选择题1.保证互换性生产的基础是(A)。
A.标准化B.生产现代化 C.大批量生产 D.协作化生产2.下列论述中正确的有(ADE)。
A.因为有了大批量生产,所以才有零件互换性,因为有互换性生产才制定公差制.B.具有互换性的零件,其几何参数应是绝对准确的。
C.在装配时,只要不需经过挑选就能装配,就称为有互换性。
D.一个零件经过调整后再进行装配,检验合格,也称为具有互换性的生产。
E.不完全互换不会降低使用性能,且经济效益较好。
三、填空题:1.根据零部件互换程度的不同,互换性可分(完全)互换和(不完全)互换。
2.互换性是指产品零部件在装配时要求:装配前(不经挑选),装配中(不需调整或修配),装配后(能满足功能要求)。
3.公差标准是对(几何量误差) 的限制性措施,( 采用相应的技术措施)是贯彻公差与配合制的技术保证。
4.优先数系的基本系列有: (R5 )(R10)(R20)(R40)和R80,各系列的公比分别为:()()()()和()。
5.公差类型有(尺寸(角度))公差,(形状)公差,(位置)公差和(表面粗糙度)。
6.零件几何要求的允许误差称为(几何量公差),简称(公差)。
四、问答题:1.什么叫互换性?它在机械制造业中有何作用?答:*互换性是指制成的同一规格的零(部)件中,在装配时不作任何选择,附加调整或修配,能达到预定使用性能的要求。
*它在机械制造业中的作用反映在以下几个方面:(1)在设计方面,可简化设计程序,缩短设计周期,并便于用计算机辅助设计;(2)在制造方面,可保证优质高效生产;(3)在使用方面,使机器维修方便,可延长机器寿命。
《互换性与测量技术基础》第三版周兆元李翔英主编教材课后习题答案第一章习题及答案1-1什么叫互换性?它在机械制造中有何重要意义?是否只适用于大批量生产?答:同一规格的零部件,不需要做任何挑选、调整或修配,就能装配到机器中去,并达到使用要求,这种特性就叫互换性。
互换性给产品的设计、制造和使用维修都带来了很大方便。
它不仅适用于大批量生产,也适用于单件小批生产,互换性已经成为现代机械制造企业中一个普遍遵守的原则。
1-2完全互换和不完全互换有何区别?各用于什么场合?答:互换程度不同:完全互换是同一规格的零部件,不需要做任何挑选、调整或修配,就能装配到机器中而满足使用要求;不完全互换是同一规格的零部件,需要经过挑选、调整或修配,再装配到机器中去才能使用要求。
当使用要求和零件制造水平、经济效益没有矛盾,即机器部件装配精度不高,各零件制造公差较大时,可采用完全互换进行零件生产;反之,当机器部件装配精度要求较高或很高,零件制造公差较小时,采用不完全互换。
1-5下面两列数据属于哪种系列?公比为多少?(1)电动机转速:375,750,1500,3000,、、、(2)摇臂钻床的主参数(钻孔直径):25,40,63,80,100,125等(12答:(1)此系列为派生系列:R40/12,公比为(2)此系列为复合系列,前三个数为R5系列,后三位为R10系列。
补充题:写出1~100之内的派生系列R20/3和R10/2的优先数常用值。
答:R20/3:1.00,1.40,2.00,2.80,4.00,5.60,8.00,11.2,16.0,22.4,31.5,45.0,63.0,90.0R10/2:1.00,1.60,2.50,4.00,6.30,10.0,16.0,25.0,40.0,63.0,100第二章习题及答案2-5(略)2-9试从83块一套的量块中,同时组合下列尺寸:48.98mm,29.875mm,10.56mm。
答:48.98=(1.48+7.5+40)29.875=(1.005+1.37+7.5+20)10.56=(1.06+9.5)提示:组合量块数量最多不超过4块,数量越少越好(因误差越小)。
第四章习题:4—1技术要求→图样标注:
1、正确标注:
2、其他正确标注和错误标注
4—2技术要求→图样标注:
1、正确标注:
2、其他正确标注和错误标注
4—3技术要求→图样标注:1.正确标注
(2)
2.错误标注
4—4 技术要求→图样标注:
2.其他正确标注和错误标注
4—5 技术要求→图样标注:
2、其他正确标注和错误标注
4—6 技术要求→图样标注:
1、正确标注:
2.错误的标注
2、其他正确标注和错误标注
改错题:
(a)题图
(a)题图改错后的标注
(a)题图标注
(b) 题图
(b) 题图改错
(c)题图改错
(d) 题图改错
(e) (f)题图:
(e) (f)题图改错
4—7公差原则的应用:
4-9形状误差评定:
见教材P98
平面度误差为:18.75-(-12.5)= (单位)。
4.4 解释题4.4图中各项几何公差标注的含义,填在题4.4表中4.5 将下列各项几何公差要求标注在题4.5图上mm;①小端圆柱面的尺寸为φ30-0.0025mm;②大端圆柱面的尺寸为φ50-0.0039③键槽中心平面对其轴线的对称度公差为0.02mm;④大端圆柱面对小端圆柱轴线的径向圆跳动公差为0.03mm,轴肩端平面对小端圆柱轴线的端面圆跳动公差为0.05mm ;⑤小端圆柱面的圆柱度公差为0.006mm ;题4.5图4.6 将下列各项几何公差要求标注在题4.6图上①孔径Φ25H6采用包容要求;②大端外圆尺寸Φ70f8,;其轴线对Φ25H6轴线的同轴度公差为0.050mm;③左端面相对于Φ25H6轴线的垂直度公差为0.020 mm;④锥面相对于对Φ25H6轴线的斜向圆跳动公差为0.022 mm, 锥面圆度公差为0.010mm,。
4.7 将下列各项几何公差要求标注在题4.7图上① 小端外圆柱面的尺寸为φ30-0025.0 mm ,圆柱面的圆柱度公差为0.006mm ; ② 大端外圆柱面的尺寸为φ50-0039.0 mm ,采用独立原则;③ 小端内孔尺寸φ15027.00+ mm ; ④ 大端圆柱面对小端圆柱轴线的径向圆跳动公差为0.03mm ,轴肩端平面Ⅰ对小端圆柱轴线的端面圆跳动公差为0.05mm ;⑤大端内孔尺寸φ20021..00+ mm ,采用包容要求。
题4.7图4.8 改正题4.8图中几何公差标注的错误(直接改在图上,不改变几何公差项目)。
(a) (b)(c)(d)题4.8图4.9 根据题4.9图的公差要求填写题4.9表,并绘出动态公差带图。
(a) (b) (c)(d) (e) (f)题4.9图题 4.9 表。
第四章习题:4—1技术要求→图样标注:
1、正确标注:
2、其他正确标注和错误标注
4—2技术要求→图样标注:
1、正确标注:
2、其他正确标注和错误标注
4—3技术要求→图样标注:1.正确标注
(2)
2.错误标注
4—4 技术要求→图样标注:
2.其他正确标注和错误标注
4—5 技术要求→图样标注:
2、其他正确标注和错误标注
4—6 技术要求→图样标注:
1、正确标注:
2.错误的标注
2、其他正确标注和错误标注
改错题:
(a)题图
(a)题图改错后的标注
(a)题图标注
(b) 题图
(b) 题图改错
(c) 题图
(c)
题
图
改
错
(d)
题
图
(d) 题图改错
(e) (f)题图:
(e) (f)题图改错
4—7公差原则的应用:
4-9形状误差评定:
见教材P98
平面度误差为:18.75-(-12.5)= (单位)。
四年级语文学业水平测试试卷(2016.9)
班级学号姓名
第一部分积累与运用
一、下面每道小题
....中,都有一个字的读音是错的。
请你把它找出来,并把这个
答案涂在答题卡的相应位置上。
1. A 荆(jīnɡ)棘 B 拼(pīng)命 C 纳闷(mèn) D 俘虏(lǔ)
2. A雏鹰(yīng)B稻穗(shuì)C开凿(záo) D 租(zū)约
3. A 塑(sù) 料 B 萧(xiāo) 条C埋(máí)怨 D 谦逊( xùn)
4. A 剖(pō) 开B都(dū) 督C传递( dì) D 捕杀( bǔ)
二、下面每道小题
....中,都有一个词语含有错别字。
请你把它找出来,并把这个答案涂在答题卡的相应位置上。
5. A 坚苦 B 欺负C掌握 D 星罗棋布
6. A 锻炼 B 嘱咐 C 茏罩 D 流连忘返
7. A 功击 B 怒吼 C 俊俏 D 不知所措
8. A 蜿蜒 B 发泄C抖动D出类拔翠
三、下面每道小题
...?请你把它找出来,....中,哪一个词语和加点词语的意思最接近
并把这个答案涂在答题卡的相应位置上。
9. 胆怯
..A怯弱B害怕C胆识D胆量
10. 贮存
.. A 存在 B 贮藏 C 生存 D 存放
11. 抱负
..A报复B志向C背负D怀抱
12. 讲究
..A研究B追究C讲评 D 注重
四、下面每道小题
...?请你把它找出来,....中,哪一个词语或成语填入画线处最恰当
并把这个答案涂在答题卡的相应位置上。
13. “雷公先唱歌,有雨也不多。
”不一会儿,雨停了。
A居然B果然C忽然D偶然
14. 奥运健儿在赛场上拼搏,为祖国赢得了巨大的荣誉。
A 坚强B顽强C勉强D刚强
15. 我再也无法自己的情绪,泪水就像断了线的珠子,不断滚落下来。
A 控制
B 遏制
C 限制
D 压制
16. 步行街在电视塔的北边,在地图上标得,你怎么会找不到呢?
A一目了然B一如既往C一清二楚 D 一成不变
17. 孙小龙模仿赵本山的表演真是,让大家不时地捧腹大笑。
A栩栩如生B惟妙惟肖C得天独厚 D 神采飞扬。