建筑工程竣工验收流程图
- 格式:doc
- 大小:33.50 KB
- 文档页数:1
建筑工程竣工验收流程用地申请==>项目立项==>消防报建、防雷报建、规划报建==>验收申请==>办理产权证第一部分开工前资料;1、中标通知书及施工许可证;2、施工合同;3、委托监理工程的监理合同;4、施工图审查批准书及施工图审查报告;5、质量监督登记书;6、质量监督交底要点及质量监督工作方案;7、岩土工程勘察报告;8、施工图会审记录;9、经监理(或业主)批准所施工组织设计或施工方案;10、开工报告;11、质量管理体系登记表;12、施工现场质量管理检查记录;13、技术交底记录;14、测量定位记录;第二部分质量验收资料;1、地基验槽记录;2、基桩工程质量验收报告;3、地基处理工程质量验收报告;4、地基与基础分部工程质量验收报告;5、主体结构分部工程质量验收报告;6、特殊分部工程质量验收报告;7、线路敷设验收报告;8、地基与基础分部及所含子分部、分项、检验批质量验收记录;9、主体结构分部及所含子分部、分项、检验批质量验收记录;10、装饰装修分部及所含子分部、分项、检验批质量验收记录;11、屋面分部及所含子分部、分项、检验批质量验收记录;12、给水、排水及采暖分部及所含子分部、分项、检验批质量验收记录;13、电气分部及所含子分部、分项、检验批质量验收记录;14、智能分部及所含子分部、分项、检验批质量验收记录;15、通风与空调分部及所含子分部、分项、检验批质量验收记录;16、电梯分部及所含子分部、分项、检验批质量验收记录;17、单位工程及所含子单位工程质量竣工验收记录;18、室外工程的分部(子分部)、分项、检验批质量验收记录;第三部分试验资料;1、水泥物理性能检验报告;2、砂、石检验报告;3、各强度等级砼配合比试验报告;4、砼试件强度统计表、评定表及试验报告;5、各强度等级砂浆配合比试验报告;6、砂浆试件强度统计表及试验报告;7、砖、石、砌块强度试验报告;8、钢材力学、弯曲性能检验报告及钢筋焊接接头拉伸、弯曲检验报告或钢筋机械连接接头检验报告;9、预应力筋、钢丝、钢绞线力学性能进场复验报告;10、桩基工程试验报告;11、钢结构工程试验报告;12、幕墙工程试验报告;13、防水材料试验报告;14、金属及塑料的外门、外窗检测报告(包括材料及三性);15、外墙饰面砖的拉拔强度试验报告;16、建(构)筑物防雷装置验收检测报告;17、有特殊要求或设计要求的回填土密实度试验报告;18、质量验收规规定的其他试验报告;19、地下室防水效果检查记录;20、有防水要求的地面蓄水试验记录;21、屋面淋水试验记录;22、抽气(风)道检查记录;23、节能、保温测试记录;24、管道、设备强度及严密性试验记录;25、系统清洗、灌水、通水、通球试验记录;26、照明全负荷试验记录;27、大型灯具牢固性试验记录;28、电气设备调试记录;29、电气工程接地、绝缘电阻测试记录;30、制冷、空调、管道的强度及严密性试验记录;31、制冷设备试运行调试记录;32、通风、空调系统试运行调试记录;33、风量、温度测试记录;34、电梯设备开箱检验记录;35、电梯负荷试验、安全装置检查记录;36、电梯接地、绝缘电阻测试记录;37、电梯试运行调试记录;38、智能建筑工程系统试运行记录;39、智能建筑工程系统功能测定及设备调试记录;40、单位(子单位)工程安全和功能检验所必须的其他测量、测试、检测、检验、试验、调试、试运行记录;第四部分材料、产品、构配件等合格证资料;1、水泥出厂合格证(含28天补强报告);2、砖、砌块出厂合格证;3、钢筋、预应力、钢丝、钢绞线、套筒出厂合格证;4、钢桩、砼预制桩、预应力管桩出厂合格证;5、钢结构工程构件及配件、材料出厂合格证;6、幕墙工程配件、材料出厂合格证;7、防水材料出厂合格证;8、金属及塑料门窗出厂合格证;9、焊条及焊剂出厂合格证;10、预制构件、预拌砼合格证;11、给排水与采暖工程材料出厂合格证;12、建筑电气工程材料、设备出厂合格证;13、通风与空调工程材料、设备出厂合格证;14、电梯工程设备出厂合格证;15、智能建筑工程材料、设备出厂合格证;16、施工要求的其他合格证;第五部分施工过程资料;1、设计变更、洽商记录;2、工程测量、放线记录;3、预检、自检、互检、交接检记录;4、建(构)筑物沉降观测测量记录;5、新材料、新技术、新工艺施工记录;6、隐蔽工程验收记录;7、施工日志;8、砼开盘报告;9、砼施工记录;10、砼配合比计量抽查记录;11、工程质量事故报告单;12、工程质量事故及事故原因调查、处理记录;13、工程质量整改通知书;14、工程局部暂停施工通知书;15、工程质量整改情况报告及复工申请;16、工程复工通知书;第六部分必要时应增补的资料;1、勘察、设计、监理、施工(包括分包)单位的资质证明;2、建设、勘察、设计、监理、施工(包括分色)单位的变更、更换情况及原因;3、勘察、设计、监理单位执业人员的执业明;4、施工(包括分包)单位现场管理售货员及各工种技术工人的上岗证明;5、经建设单位(业主)同意认可的监理规划或监理实施细则;6、见证单位派驻施工现场设计代表委托书或授权书;7、设计单位派驻施工现场设计代表委托书或授权书;8、其他;第七部分竣工资料;1、施工单位工程竣工报告;2、监理单位工程竣工质量评价报告;3、勘察单位勘察文件及实施情况检查报告;4、设计单位设计文件及实施情况检查报告;5、建设工程质量竣工验收意见书或单位(子单位)工程质量竣工验收记录;6、竣工验收存在问题整改通知书;7、竣工验收存在问题整改验收意见书;8、工程的具备竣工验收条件的通知及重新组织竣工验收通知书;9、单位(子单位)工程质量控制资料核查记录(质量保证资料审查记录);10、单位(子单位)工程安全和功能检验资料核查及主要功能抽查记录;11、单位(子单位)工程观感质量检查记录(观感质量评定表);12、定向销售商品房或职工集资住宅的用户签收意见表;13、工程质量保修合同(书);14、建设工程竣工验收报告(由建设单位填写);15、竣工图(包括智能建筑分部);——建筑工程质量监督存档资料;1、建设工程质量监督登记书;2、施工图纸审查批准及建筑工程施工图审查报告;3、单位工程质量监督工作方案;4、建设工程质量监督交底会议通知书及交底要点;5、建设工程质量监督记录;6、建设工程质量管理体系登记表;7、施工现场质量管理检查记录;8、地基、基桩工程质量监督验收检查通知书;9、地基验槽记录及基桩工程质量验收报告;10、地基、基桩工程质量核查记录;11、设计单位出具(或认可)的地基处理措施及地基处理工程质量验收报告;12、地基与基础分部工程质量监督验收检查通知书及验收报告;13、地基与基础分部工程质量核查记录;14、主体结构分部工程质量监督验收检查通知书及验收报告;15、主体结构分部工程质量核查记录;16、特殊部分工程质量监督验收检查通知书及验收报告;17、线路敷设工程质量监督验收检查通知书及验收报告;18、钢材力学、弯曲性能检查报告及钢结构焊接接头拉伸、弯曲检验报告;19、预应力筋、钢丝、钢绞线力学性能进场复验报告;20、水泥物理性能检验报告;21、砼试件强度统计表、评定表试验报告;22、装配或预制构件结构性能检验合格证及施工接头、拼缝的砼承受施工满载、全部满载时试件强度试验报告;23、防水砼、喷射砼抗压、抗渗试验报告及锚杆抗拨力试验报告;24、地基处理工程中各类地基和各类复合地基施工完成后的地基强度(承载力)检验结果;25、桩基工程基桩试验报告;26、砂浆强度统计表及试件试验报告;27、砖、石、砌块强度检验报告;28、建筑工程材料有害物质及室环境的检测报告;29、防水材料(包括止水带条和接缝密封材料)、保温隔热及密封材料的复验报告;30、金属及塑料外门、外窗复验报告(包括材料、风压性、气透性、水渗性);31、外墙饰面砖的拉拔强度试验报告;32、各类电梯、自动扶梯、自动人行道安装工程的整机安装验收报告;33、各类设备安装工程的隐蔽验收、系统联动、系统调试及系统安装验收记录;34、砼楼面板厚度钻孔抽查记录;35、工程质量事故报告单;36、工程质量整改通知书及工程局部暂停施工通知书;37、工程质量复工意见书及工程质量复工通知书;38、单位(子单位)工程质量控制资料核查记录(质量保证资料审查记录);39、单位(子单位)工程安全和功能检验资料核查及主要功能抽查记录;40、单位(子单位)工程观感质量检查记录(观感质量评定表);41、施工单位工程竣工报告;42、监理单位工程竣工质量评价报告;43、勘察单位勘察文件及实施情况检查报告;44、设计单位设计文件及实施情况检查报告;45、建设工程竣工验收报告;46、工程竣工验收监督检查通知书;47、质量保证资料核查记录;48、单位(子单位)工程质量竣工验收记录(工程质量竣工验收意见书);49、重新组织竣工验收通知书;50、工程竣工复验意见书;51、竣工验收存在问题整改通知书及存在问题整改验收意见书;52、工程质量保修合同;53、单位(子单位)工程质量监督报告;注:幕墙、钢结构及网架的整套资料存质监站;。
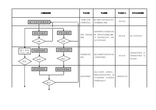
单位工程竣工验收流程图
图H.1给出了单位工程竣工验收流程图示。
施工单位自检合格后,报请监理单位验收 建设单位组织
设计、监理、施工
等单位进行竣工工程移交建设单位 形成 1、单位工程质量控制资料核查记录
2、单位工程安全和功能检验资料核
查及主要功能抽查记录
3、单位工程观感质量检查记录
4、工程竣工报告(施工单位)
合格
形成 1、工程竣工验收报告(建设单位) 2、单位工程质量竣工验收记录合格
不合格 整
改
不合格 设计单位检查工
程资料,出具工程
质量检查报告
监理单位进行预
验收,出具工程质
量评估报告
单位工程完工。
工程验收流程图(总10页)--本页仅作为文档封面,使用时请直接删除即可----内页可以根据需求调整合适字体及大小--工程验收程序一、程序概况:1、程序目的:明确工程验收程序,规范工程验收过程,保证工程验收全面、有效、合法。
2、适用范围:本程序适用于本公司项目工程的验收管理。
3、定义:3、1:中间验收:指工程项目实施过程中对各分部、分项工程的质量验收,如基础、主体结构、装修、电气安装等分部验收,钢筋、模板、混凝土、抹灰、砌体等分项工程验收。
3、2:交接验收:指不同工序间的工作面移交时(亦即不同施工队伍配合施工)的检查验收。
3、3:单项工程验收:指独立施工的,需政府相关主管部门参与的,具有垄断性质的工程验收,如永久供水、永久供电、消防、电梯、环保、人防等。
3、4:竣工验收:指工程完工后具备交付适用条件时,由建设方(开发商)组织的,有施工方、监理方、设计方(含地质勘察)以及政府监督部门参与的工程验收。
3、5:竣工综合验收:指各单位单项工程验收合格后,由建设方组织的,有施工方、监理方、设计方(含地质勘察)以及政府监督部门参与的工程验收,并签署综合验收文件、报告,该项验收完成后即可进行档案备。
4、验收组织成员:4、1:中间验收:项目部质量技术管理负责人(或项目工程质量监理工程师),施工单位负责人,外部监理单位工程师,工程技术部工程师、设计单位(必要时)和政府质量监督部门(必要时)。
4、2:交接验收:交接双方施工单位负责人,项目部质量技术管理负责人(或项目工程质量监理工程师),项目部专业工程师。
4、3:单项工程验收:施工单位负责人,项目部质量技术管理负责人(或项目工程质量监理工程师),项目部专业工程师,工程技术部工程师、成本部造价工程师、物业管理人员(或客服)、设计单位和政府相关主管部门。
4、4:竣工验收和竣工综合验收:施工单位负责人(指总承包单位),项目部质量技术管理负责人(或项目工程质量监理工程师),项目部专业工程师,工程技术部工程师、成本部造价工程师、物业管理人员(或客服)、设计单位和政府相关主管部门。
房屋建筑工程验收流程图1竣工验收项目.单位.联系人.地址.承诺时间.验收程序和提交材料一.防雷装置竣工验收●单位:气象局●联系人:电话●地址:市行政审批中心气象窗口●承诺时间:2个工作日,天气因素影响顺延●验收流程:●需提交地材料:1.《防雷装置竣工验收申请书》;2.《防雷装置设计核准书》;3.防雷工程专业施工单位和人员地资质证和资格证书;4.由省.自治区.直辖市气象主管机构认定防雷装置检测资质地检测机构出具地《防雷装置检测报告》;5.防雷装置竣工图等技术资料;6.防雷产品出厂合格证.安装记录和由国家认可防雷产品测试机构出具地测试报告.二.水压检测合格证●单位:市供排水公司●联系人:●地址:)●承诺时间:●验收程序:业主申请→受理→现场检查→出具意见●需提供地资料:水施图三.配电工程验收意见书Ⅰ客户申请用电:●单位:供电局供电营业所●联系人:●地址:营业厅●承诺时间:3个工作日验收程序:用电申请及验收程序参照《供电局客户用电业扩及流程管理办法》.Ⅱ低压部分:●单位:莲都供电局水阁供电营业所●联系人:梁丽伟2694128●地址:遂松路营业厅●承诺时间:5个工作日●验收程序:业主申请→受理→现场检查→出具意见●需提交地资料:(1)设计施工单位资质证书;(2)电力工程施工图.工程竣工图;(3)产品资料说明书.各设备产品合格证;(4)合格地出厂检测报告.各设备产品合格证.合格地出厂检测试验报告.设备交接试验报告;(注:用户采用地低压电器设备,必需取得国家指定认证机构颁发地3C认证证书)(5)安装人员电工证;(6)防雷检测报告;(7)电气承装申报单;(8)配电基本配置是否齐全(包括安全帽.绝缘鞋.绝缘手套.验电笔.主接线图)等.Ⅲ高压部分:●单位:莲都供电局客户服务中心●联系人:林巧红2103989●地址:大洋路458号●承诺时间:单电源8个工作日;双电源15个工作日●验收程序:业主申请→受理→现场检查→出具意见●需提交地资料:(1)设计施工单位资质证书;(2)电力工程施工图.工程竣工图;(3)产品资料说明书.各设备产品合格证;(4)合格地出厂检测报告.各设备产品合格证.合格地出厂检测试验报告.设备交接试验报告;(注:用户采用地低压电器设备,必须取得国家指定认证机构颁发地3C认证证书)(5)安装人员电工证;(6)防雷检测报告;(7)电气承装申报单;(8)配电基本配置是否齐全(包括安全帽.绝缘鞋.绝缘手套.验电笔.主接线图)等.四.建筑工程消防验收●单位:丽水市公安局经济开发区分局消防大队●联系人:徐军(教导员) 2699119陈景海(参谋) 2692119审批中心窗口: 2090237●地址:行政审批中心消防窗口●承诺时间:3个工作日●验收程序:受理----现场验收----核发●需提交地材料:1.《建筑工程消防验收申请表》;2.建筑消防设施检测报告;3.消防工程施工企业地消防施工许可证复印件;4.建设单位组织设计.施工.监理单位消防安全质量验收合格地报告;5.公安消防机构地审批文件,包括:施工图设计防火审核意见书.装修工程设计防火审核意见书.其它设计防火审核意见书;6.消防设计专篇及消防设计变更技术联系单;7.消防产品生产许可.建筑防火材料.构件和消防产品质量检验报告.合格证明.产品型式认证,以及主要消防产品.设备地生产单位对其产品.设备地数量.型号及施工安装质量地确认报告;8.自动消防设施安装.调试记录;地下及隐蔽工程验收记录,消防设施系统调试报告,施工单位出具地消防设施联动测试报告;自动消防设施操作维护管理手册;9.竣工图一套,包括:建筑.水.电..暖通等各系统竣工图(含总图.室外给排水总图);10.消防控制室值班人员名单及培训记录;11.钢结构防火喷涂施工.检验记录;12.防雷检测报告复印件;13.装修材料抽样送检检测报告.五.工程质量竣工验收●单位:丽水市建筑工程质量监督检验站●联系人:金泳,联系电话:2172771●地址:丽水市寿元街137号●承诺时间:资料审查2个工作日或每幢1个工作日,现场验收1个工作日●验收程序1:单位组织实施,验收组由勘察.设计.施工.监理及建设单位邀请地3-5名建筑安装类专家共同组成.质量监督站实施过程监督.●验收程序2:施工单位报送技术资料→受理审查→施工单位向建设单位报竣工→建设单位组织竣工验收→质监站出具监督报告.●需具备地条件:(1)完成工程设计和合同约定地各项内容;(2)有完整地技术档案.施工管理资料和材料设备试验报告.(3)施工单位提出《工程竣工报告》;委托监理地工程项目,监理单位提出《工程质量评估报告》;勘察.设计单位分别提出《质量检查报告》;(4)有施工单位签署地工程质量保修书;(5)责令整改地问题全部整改完毕,提交《整改回复报告》.六.环保土建验收程序●单位:开发区经发局●联系人:杨鹏2179515●地址:中东路557号(开发区管委会大楼713室)●承诺时间:3个工作日●验收程序:业主申请→窗口受理→现场检查→出具意见●需提供地材料:房屋建筑工程竣工验收环保审批表;水设施图(包括清污分流管网布置)七.规划验收●单位:开发区建规局●联系人:舒满清2350620●地址:开发区管委会大楼(中东路557号320室)●承诺时间:3个工作日●验收程序:业主申请→受理→现场检查(或资料审查)→出具意见→合格项目核发规划竣工验收核准证●需提交地资料:(1)建设项目验收意见书3份;(2)竣工测绘成果表(含光盘)1份;(3)提供验收项目建筑竣工图1份;备注:违法建筑需提供市行政综合执法局出具地处罚决定书.八.市政验收●单位:开发区建规局●联系人:吴文晔2953102●地址:水阁工业区绿谷大道原水阁小学101室●承诺时间:3个工作日●验收程序:业主申请→受理→现场检查(或资料审查)→出具意见(一)排水隐蔽工程覆土前验收(承诺时间:3个工作日)(注:该项目工作在工程施工过程中进行,是过程中介入地验收服务项目)●需提交地资料:(1)机绘排水平面图1份;(2)排水隐蔽工程验收意见表1份.(二)排水工程竣工验收(承诺时间:3个工作日)●需提交地资料:(1)接管申请表2份;(2)机绘标准排水设施竣工平面图1份;(3)排水工程竣工资料复印件1份;(4)有自备水源地企业应有与污水处理单位签订地《委托污水处理合同》复印件1份.九.环卫验收●单位:开发区建规局●联系人:吴文晔2953102●地址:水阁工业区绿谷大道原水阁小学101室●承诺时间:3个工作日●验收程序:业主申请→受理→现场检查(或资料审查)→出具意见●需提交地资料:(1)市政.环卫配套设施验收意见书2份;(2)与有垃圾清运资质地单位签定地垃圾清运合同原件1份;(3)机绘垃圾池位置平面图1份.十.绿化验收●单位:开发区建规局●联系人:王瑾2350841●地址:开发区管委会大楼(中东路557号316室)承诺时间:3个工作日●验收程序:业主申请→受理→现场检查(或资料审查)→出具意见●需提交地资料:(1)规划认可地总平面图复印件1份;(2)批准地绿化施工图复印件1份;(3)绿化施工合同复印件1份;(4)绿化施工单位资质证书复印件1份;(5)绿化竣工图1份;(6)竣工测绘成果表(含光盘).(以上要求提供复印件地材料需提供原件确认)十一.档案验收●单位:丽水市城建档案馆●联系人:江伟琴(科长)2090605蓝慧珍2090611●地址:行政中心西区档案大楼六楼●承诺时间:5个工作日或每个单体3个工作日内初验完毕,资料补齐全后复验1个工作日内出具意见书●验收程序:申请--→受理--→资料验收--→出具意见●需提交地资料:(1)《建设工程竣工档案验收自查表》(2)《建设工程竣工档案专项验收申请表》(3)相关档案资料,详细清单如下:(一)工程准备阶段文件(建设单位提供)1.项目进区协议书或土地成交确认书2.项目建议书及批复或计划受理(备案登记或核准批复)通知书3.建设项目选址意见书.选址范围图或规划设计条件4.建设用地规划许可证及附件.规划用地红线图5.国有土地使用权出让合同.建设用地批准书6.工程地质勘察报告.合同7.初步设计审查意见.审查会议纪要.审定文本.设计合同8.有关行政主管部门(环保.消防.白蚁防治等)批准文件和取得地有关协议9.施工图设计文件地审查合格书.审查报告.回复联系单10.招投标文件(如直接发包地需提供直接发包确认书.合同.预算)11.建设工程规划许可证及其附件12.建设工程施工许可证.施工许可证申请表13.绿化规划审批表及绿化规划图14.工程质量监督手续.规划放线.验线通知单15.总平面布置图(规划审核盖章).室外管网综合图(给排水.电气等)(二)监理文件(监理单位提供)1.监理合同2.监理规划.实施细则3.监理月报.例会纪要4.监理工程师通知单及回复5.工程延期报告及审批6.合同变更.争议.违约报告及处理意见7.监理日记8.监理工作总结(专题.阶段.竣工总结报告等).质量评价意见报告(三)施工文件(施工单位提供)1.施工现场质量管理检查记录.开工报告2.施工组织设计3.图纸会审记录4.砼施工日记5.工程定位测量记录6.地基验槽记录7.桩基资料8.设计变更联系单.汇总表9.钢筋.水泥.砖.门窗.防水材料合格证.检测报告及汇总表10.砼(试块)抗压强度试验报告.汇总表11.砂浆(试块)抗压强度试验报告.汇总表12.商品混凝土出厂合格证(出厂质量证明书.交货单.配合比通知)13.钢筋接头(焊接)试验报告.汇总表14.地面蓄水.屋面淋水试验记录15.隐蔽工程检查记录16.技术复核记录17.沉降观测.垂直度.标高.全高测量记录18.工程质量事故处理记录19.结构实体抽样检测报告20.中间结构验收记录21.统表1.2.3.422.工程质量验收记录(分部.子分部.分项)23.水电施工技术资料(合格证.隐检.试验记录.质量验收记录)24.其他专业及附属工程施工技术资料(四)竣工图(施工单位提供)1.专业竣工图(建筑.结构.给排水.电气)(五)竣工验收文件(建设单位提供)1.工程竣工总结2.备案表.决算文件十二.竣工备案●单位:开发区建规局●联系人:李季2175261●地址:开发区管委会大楼(中东路557号319室)●承诺时间:资料齐全,1个工作日●验收程序:业主申请→受理→现场检查(或资料审查)→出具意见●需提交地资料(原件1份.复印件3份,共4份):1.工程竣工验收备案表1.1.竣工验收意见(各方主体共同签署)1.2.备案机关处理意见1.3.工程竣工报告(施工单位)1.4.单位工程质量综合评定表1.5.工程质量监理评估报告1.6.工程勘察质量检查报告1.7.工程设计质量检查报告1.8.工程质量保修书1.9.工程竣工验收通知书1.10.单位工程竣工验收意见书1.11.工程竣工验收报告(建设单位)2.工程竣工验收存在问题整改回复报告3.规划部门出具地认可文件或准许使用文件4.环保部门出具地认可文件或准许使用文件5.公安消防部门出具地认可文件或准许使用文件6.城建档案出具地认可文件7.配套工程验收意见书8.施工许可证9.勘察设计单位竣工报告10.施工单位竣工报告11.监理单位竣工报告12.建设单位竣工报告13.有关质量检测和功能性试验资料(防雷等检测资料)14.建设工程质量监督报告15.法规.规章规定或备案机关认为需要提供地有关资料备注:1.无质量监督地项目需提供有资质单位出具地工程质量鉴定报告,低于两层且小于300平方米地项目可提供市质监站出具地质量报告2.无施工许可地需提供市建设局地无证施工处罚手续(结果)3.商品住宅需提供《住宅质量保证书》和《住宅使用说明书》4.商品住宅需提供室内空气质量检测报告十三.建设用地复核验收●单位:市国土局.开发区国土分局●联系人:周聪勤2274390●地址:开发区管委会(中东路557号310室)●承诺时间:3个工作日●验收程序: 申请→受理→现场核查(资料查阅)→出具意见●需提供地资料:1.新建项目土地使用情况复核验收申请表2.土地面积测量报告书3.《土地出让合同》及补充条款(复印件)4.建设用地规划许可证及附件(复印件)5.建设工程规划验收核准证(复印件)6.国有土地使用证(复印件)7.总平面布置图8.房屋测量报告及竣工测绘成果表9.建设用地批准书办理土地证审批手续●单位:市国土局.开发区分局●联系人:叶旭伟(市国土局)2090210邝平英(开发区分局)2202963●地址:市政府行政审批中心国土窗口开发区管委会(中东路557号313室)●承诺时限:7个工作日,除挂牌.出让地块外,另加15天公示期●办理程序:开发区国土分局利用科办理复核验收合格通知书,开发区分局地籍科办理联系单,凭联系单到市国土局窗口办理土地证.●需提供资料:1.申请书(向市国土局).2.开发区国土分局联系单.3.原土地证(临时证).4.营业执照正副本(原件.复印件).5.法人.经办人身份证复印件.6.竣工验收备案表复印件.7.复核验收合格通知书.办理房产证审批手续●单位:丽水市房地产管理处●联系人:张颖2090261●地址:市行政服务中心一楼房管窗口●承诺时间:3个工作日(批量除外)●办理流程:申请→受理→审核→记载于登记→簿发证.●需提交地材料:(一)1.登记申请书;2.申请人身份证明(如营业执照,校验原件);3.建设用地使用权证明(如土地使用权出让合同等);4.建设用地规划许可证及附件;5.建设工程规划许可证及附件;6.建设工程竣工验收备案表;7.土地使用证复印件(校验原件);8.房产测绘报告及面积监测审核表原件;9.其他(如竣工规划验收核准证.施工许可证).(二)若委托办理还需提供1.委托代理人办理地,提供授权委托书原件及法定代表人和受托人身份证复印件(校验原件).2.若涉外或涉港.澳.台地房产登记申请人委托代理人办理地,须提供经公证或认证地委托书.违法建筑处罚程序●单位:丽水市执法局开发区分局●联系人:汤金铭.蔡凤珍2953280●地址:水阁街道办事处上沙溪行政村(丽市执法局开发区分局企业中队)●承诺时间:7个工作日●办理程序:受理→立案→调查取证→呈报审批→告知→作出行政处罚决定→送达行政处罚决定书→执行→归档●需提交地材料:1.开发区规划局出具地工作联系函;2.企业法定代表人身份证.营业执照;3.企业如委托办理地,提供委托书(由我分局提供格式文本)及委托人.受托人身份证;4.建设用地规划许可证及附件.平面布置图(比例一般为1:500)等合法有效地审批材料;5.建设工程规划许可证及附件等合法有效地审批材料;6.竣工测绘成果表.房屋建筑面积测绘报告;7.建设工程初验或竣工验收(消防.市政.防雷.绿化.环保等)文件;8.建设工程安全检测鉴定报告原件及复印件(检测鉴定单位营业执照.检测鉴定员资质证;检测结论需注明“检测结果表明,违法建筑物结构能满足正常安全使用要求.”)9.其他需收集地有关资料(根据案件具体情况要求).(注:1.上述材料需提供原件及复印件1份,并在所有复印件上加盖企业单位公章)开发区工业企业房屋建筑竣工验收协调会议制度为加大对开发区工业企业房屋建筑竣工验收地协调力度,加快企业产权证办理.根据丽委(2008)17号文件精神,特建立开发区工业企业房屋建筑竣工验收协调会议制度和企业总平面图变更协调会议制度.由市审批中心牵头,市效能办.市开发区.市建设局.市国土局.市行政执法局.市环保局.市气象局.市消防支队.市质量监督检验站.莲都区供电局等负责人组成.每月至少召开一次联席会议,协调解决企业竣工验收中存在地问题和企业总平面图变更需协调地事项.需协调会解决地问题,由市开发区统一提交.协调会议定地事项由审批中心形成会议纪要,各参与部门按纪要精神执行落实.协调会成员名单如下:组长:蓝春土市政府副秘书长.行政审批中心主任副组长:周冠军市政府行政审批中心副主任李林丽水经济开发区管委会副主任成员:楼新英市效能办江乃贵市审批中心丁勇方市开发区建规分局施波市开发区国土分局冯德平市开发区经发局饶连详市行政执法局李再伟市建设局(供排水公司)吴土友市国土局叶晓伟市房管处胡佩市城建档案馆项伟伟市环保局谭新华市气象局史小华市消防支队叶丽红市质量监督检验站曾策莲都区供电局。