如何申请工程咨询资质
- 格式:docx
- 大小:65.48 KB
- 文档页数:5
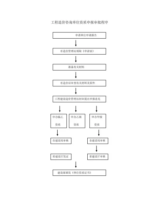
工程造价咨询单位资质申报审批程序工程造价咨询单位资质等级申请书申请等级所属地区(部门)申请单位(公章)河北省建设厅制填表说明一、本表适用于工程造价咨询单位在申请设立和定级时使用。
二、申请设立咨询单位在填写此表时,其基本情况表中的“成立时间”填本单位原成立时间,“主管部门’按本单位隶属关系填写,“法人治理结构”填董事会、监事会、法人负责制等。
三、在“申请审批情况”表中“申请内客”一栏由各单位填写已做过的工程项目数量。
四、申请书与其它申报资料分开装订《各打中一式三份),其它申报资料按《河北省工程造价咨询管理暂行规定》的要求执行。
申请报告1基本情况23法人代表情况4技术负责人情况5造价工程师一览表7专业人员一览表7工程造价咨询单位人事托管名单8技术装备一览表9承担过的主要建设项目工程造价咨询业务10委托方评价意见注:评价意见可在其它资料中另附委托方的意见或证明。
申请审批情况121、专业技术负责人具有高级专业技术职称,从事工程造价专业工作10年以上,具备造价工程师执业资格;2、具有专业技术职称、从事工程造价专业工作的专职人员不少于20人。
其中具有高级专业技术职称的人员不少于6 人,中级专业技术职称的人员不少于10人,取得造价工程师执业资格的人员不少于8人,取得省建设行政主管部门核发的二级以上(含二级)工程建设概预算资格证书的专职人员不少于8人;3、注册资金不少于1-00万元:4、具有固定的办公场所,健全的组织机构,完善的技术经济档案管理制度和严格的质量保证体系:5、近三年已完成5个大型或8个中型以上建设项目工程造价的咨询工作;6、有良好的社会信誉。
1、专业技术负责人具有高级专业技术职称,从事工程造价专业工作8年以上,具备造价工程师执业资格:2、具有专业技术职称、从事工程造价专业工作的专职人员不少于12人。
其中具有高级专业技术职称的人员不少于3 人,中级专业技术职称的人员不少于8人,取得造价工程师执业资格的人员不少于4人,取得省建设行政主管部门核发的二级以上(含二级)工程建设概预算资格证书的专职人员不少于5人;3、注册资金不少于50万元;4、具有固定的办公场所,健全的组织机构,完善的技术经济档案管理制度和严格的质量保证体系;5、近三年已完成5个以上建中小型设项日工程造价的咨询工作;6、有较好的社会信誉。
工程咨询丙级资质申请流程工程咨询资质申请需要的条件一、丙级工程咨询单位应当具备以下资格标准1、注册资金不低于50万元(事业单位除外);满足(二)专业技术人员不得少于15人,其中具有高级专业技术、经济职称的人员不得少于30%(5人),注册咨询工程师(投资)不得低于技术人员总数的15(3人),聘用专职离退休专业技术人员不得高于技术人员总数的10(2人);以上所有专业技术人员和注册咨询工程师,不能为在职事业单位人员,需要提供所有人员在申请单位的半年社保证明和一年以上劳动合同。
不满足2、每个专业领域配备相应的专业技术人员不少于5人和至少1名注册咨询工程师(投资);不满足3、主要技术负责人应具有中级以上专业技术职称或具有注册咨询工程师(投资)执业资格,从事工程咨询及相关业务不少于5年;不满足4、有固定的办公场所,人均使用面积不少于6平方米;(好像不满足,应该要求办公场所产权为公司所有或法人所有)5、有严格的质量管理制度。
满足6、业绩证明。
凡新申请工程咨询资格的单位,一般应从丙级资格做起。
二、目前最需要注册咨询工程师(投资)3人,路桥专业方向和经济专业方向的共3人,需要咨询工程师注册在我公司。
注册条件(一)初始注册包括初始注册申请表、人员证明材料和业绩证明材料三部分,分别装订成册。
1.初始注册申请表(1)行政许可事项申请表(封面);(2)承诺书;(3)基本情况;(4)工作简历;(5)相应专业的工程咨询业绩。
2.人员证明材料(1)正在生效的执业单位企业法人营业执照或事业单位法人证书(副本)复印件;(2)执业单位的工程咨询资格证书(正本)复印件(注册在拟新申请工程咨询资格的单位无需提供);(3)执业资格证书(编号页、照片及签章页)、身份证、毕业证书和职称证书复印件。
其中,2003年通过考核认定方式取得执业资格证书的,还需提交注册咨询工程师(投资)认定合格人员培训班结业证书的复印件;(4)执业单位出具的正在生效的一年以上申请人被任命文件(或聘用合同)复印件和申请人的职业道德证明;(5)企业法人执业单位为申请人缴纳的社会养老保险证明材料,内容包括参保单位名称及公章、交费人员姓名及社会保险号、社保部门有效印章;事业法人执业单位需提交申请人的人事证明材料(必须由上级主管单位的人事部门出具并加盖公章)。
工程咨询单位资格认定制度背景为了保证工程咨询服务的质量,提高行业水平,保障人民生命财产安全,加强工程咨询单位的管理,并促进工程咨询市场健康有序发展,国家出台了工程咨询单位资格认定制度。
认定依据工程咨询单位资格认定按照《工程咨询单位资格认定规定》实施。
根据单位的注册资金,专业人员岗位设置及其资格条件、工程设计管理线体系建设情况、工程咨询业务质量管理体系建设情况等技术、管理和质量等因素,对工程咨询单位进行评估和审核。
认定流程第一步:申请材料的准备1.填写《工程咨询单位资格认定申请表》;2.单位法人代表或经主管部门核准的负责人签署的《工程咨询单位承诺书》;3.单位营业执照副本复印件、组织机构代码证副本复印件、税务登记证副本复印件;4.单位章程、组织机构及人员情况、质量管理体系和业绩的相关材料复印件。
第二步:申请审查1.申请材料初审。
工程咨询单位应向省级工程咨询管理部门提交上述材料。
管理部门对申请材料进行初审,对通过初审的申请材料进行备案。
2.申请材料复审。
管理部门根据所备案的申请材料,组织复审。
复审的内容主要包括单位人员数量结构和资质的符合条件情况以及管理制度和质量管理体系的完备性。
3.现场审核。
复审合格后,管理部门组织对其实际经营的场所和所提供的各项工程咨询服务的情况进行现场审核。
4.评定资格等次。
根据初审、复审、现场审核的结果以及其它有关材料,对工程咨询单位给予资格等次评定。
第三步:公示和颁证1.管理部门依据资格评定结果,对外公示合格的工程咨询单位名单。
公示期不少于10日。
2.资格认定通过的工程咨询单位,由省级工程咨询管理部门颁发《工程咨询单位资格证书》。
认定结果的效力工程咨询单位经过资格认定后,取得相应的资格证书,该证书的效力是根据国家有关法律、法规和规定等规定执行的。
资格认定部门应当将认定结果及时予以公示,并报送国家工程咨询管理部门备案。
拓展阅读•工程咨询:指在工程建设项目起始阶段,棘手或争议性工程设计、施工等方案备选期,向投资人提供技术咨询、经济咨询、管理咨询、市场咨询和环境咨询。
狭义的工程咨询的主要业务是编写投资项目可行性研究报告、项目建议书、项目申请报告、资金申请报告、规划咨询、评估咨询等。
从总体上说,工程咨询是指遵循独立、科学、公正的原则,运用工程技术、科学技术、经济管理和法律法规等多学科方面的知识和经验,为政府部门、项目业主及其他各类客户的工程建设项目决策和管理提供咨询活动的智力服务,包括前期立项阶段咨询、勘察设计阶段咨询、施工阶段咨询、投产或交付使用后的评价等工作。
工程咨询单位资格共设甲、乙、丙三个等级。
丙级工程咨询单位资格,由省、自治区、直辖市、计划单列市以及新疆生产建设兵团工程咨询协会负责评审认定,并颁发相应的《工程咨询资格证书》,报中国工程咨询协会备案。
丙级工程咨询单位的资格标准:
1、注册资金不低于50万元,或固定资产不低于30万元。
2、专业技术人员不得少于10人,其中具有高级专业技术职称或注册咨询工程师资格的人员不少于2人。
3、主要技术负责人应具有中级以上专业技术职称,从事3年以上工程咨询
业务,并主持2个以上小型项目工程咨询任务的经历。
4、地方工程咨询协会可以结合本地区实际,补充提出其他具体实施标准。
以上便是本文的分享,如果想了解更多关于工程咨询资质如何办理的相关内容,可以咨询河南捷宁工程咨询服务有限公司,我们公司现有各专业技术人员60余名(高级职称占30%),从事专业涵盖地质、采矿、测量、选矿、安全工程、水文、物探、化探、环境、机械、化工、建筑等。
公司管理体制健全、规范、合理,已通过了ISO9001:2008质量管理体系认证。
工程造价咨询企业资质标准摘要:一、工程造价咨询企业资质标准概述二、资质等级及划分三、资质申请条件及流程四、资质管理及监管五、提升企业资质的建议与策略正文:一、工程造价咨询企业资质标准概述工程造价咨询企业资质标准是我国对工程造价咨询行业进行规范和管理的重要手段。
根据《工程造价咨询企业资质管理规定》,工程造价咨询企业需按照一定的资质标准进行划分,以保障工程造价咨询服务的专业性和可靠性。
二、资质等级及划分工程造价咨询企业资质分为甲级、乙级和丙级三个等级。
其中,甲级为最高等级,适用于具有广泛业务范围、较高服务质量和技术水平的企业;乙级适用于具有一定业务范围、服务质量和技术水平的企业;丙级适用于业务范围较窄、服务质量和技术水平相对较低的企业。
三、资质申请条件及流程1.申请条件:申请工程造价咨询企业资质的企业需具备独立法人资格,具备相应的注册资本、办公场所、专业技术人员等条件。
不同等级的资质有相应的申请条件要求,如甲级资质要求企业具有5名以上具有高级职称的造价工程师。
2.申请流程:企业向所在地省级建设主管部门提交资质申请材料,包括企业法人营业执照、公司章程、造价工程师资格证书等。
省级建设主管部门对企业申请材料进行审核,符合条件的颁发相应等级的资质证书。
四、资质管理及监管1.资质管理:工程造价咨询企业应按照资质等级和业务范围开展咨询业务,遵守相关法律法规和技术规范。
企业应在资质有效期内,定期向所在地省级建设主管部门提交资质检查材料。
2.监管措施:建设主管部门应对工程造价咨询企业的业务开展、服务质量、技术水平等进行监督检查。
对存在违法违规行为的企业,依法予以处罚,并记入企业信用档案。
五、提升企业资质的建议与策略1.加强人才培养:企业应重视人才培养,通过培训、考核等手段提高员工的专业技能和业务水平,为申请更高等级的资质奠定基础。
2.完善内部管理:企业应建立健全内部管理制度,规范业务流程,提高服务质量,以满足资质标准的要求。
工程咨询单位乙级资质证书摘要:1.乙级资质证书的定义与重要性2.乙级资质证书的申请标准与条件3.乙级资质证书的申请流程4.乙级资质证书对于工程咨询单位的意义5.结论正文:一、乙级资质证书的定义与重要性乙级资质证书是指工程咨询单位在满足相关条件后,获得的一种资格认证。
根据《工程咨询行业管理办法》(国家发展改革委2017 年第9 号令)规定,乙级资质证书是工程咨询单位从事工程咨询业务的基本准入门槛。
持有乙级资质证书的单位,可以承担国家发展和改革委员会规定的乙级咨询业务范围,为国家和社会提供专业的工程咨询服务。
二、乙级资质证书的申请标准与条件申请乙级资质证书需要满足以下标准和条件:1.单位咨询工程师(投资)不少于6 人;2.申请评价的专业应配备至少3 名咨询工程师(投资)和至少1 名具有本专业高级技术职称的人员,两者不重复计算;3.单位主要技术负责人为咨询工程师(投资),具有工程或工程经济类高级技术职称,且从事工程咨询相关工作5 年以上。
三、乙级资质证书的申请流程乙级资质证书的申请流程分为以下几个步骤:1.提交《工程咨询单位资信预评价申请书》;2.提供工商行政管理部门核发的《企业法人营业执照》副本原件及复印件;3.提供其他相关证明文件,如资质证书、专业技术人员聘书等;4.通过网上系统提交申请;5.准备一套申请材料原件和复印件,以备检查。
四、乙级资质证书对于工程咨询单位的意义持有乙级资质证书的工程咨询单位,可以承担更多的咨询业务,提高企业的市场竞争力。
此外,乙级资质证书也是评价工程咨询单位专业服务能力和业务水平的重要依据,对于提升企业的品牌形象和知名度具有积极意义。
五、结论总之,乙级资质证书对于工程咨询单位而言具有重要意义。
它既是从事工程咨询业务的基本准入门槛,也是提升企业竞争力和品牌形象的关键因素。
工程咨询资质申请需要的条件一、丙级工程咨询单位应当具备以下资格标准:1、注册资金不低于50万元(事业单位除外);(二)专业技术人员不得少于15人,其中具有高级专业技术、经济职称的人员不得少于30%(5人),注册咨询工程师不得低于技术人员总数的15%(3人),聘用专职离退休专业技术人员不得高于技术人员总数的10%(2人);以上所有专业技术人员和注册咨询工程师,不能为在职事业单位人员,需要提供所有人员在申请单位的半年社保证明和一年以上劳动合同。
2、每个专业领域配备相应的专业技术人员不少于5人和至少1名注册咨询工程师;不3、主要技术负责人应具有中级以上专业技术职称或具有注册咨询工程师执业资格,从事工程咨询及相关业务不少于5年;4、有固定的办公场所,人均使用面积不少于6平方米;5、有严格的质量管理制度。
(此制度不可用ISO9000证书替代,不确定是否满足)6、业绩证明。
不满足凡新申请工程咨询资格的单位,一般应从丙级资格做起。
二、目前最需要注册咨询工程师(投资)3人,路桥专业方向和经济专业方向的共3人,需要咨询工程师注册在我公司。
注册条件(一)初始注册:包括初始注册申请表、人员证明材料和业绩证明材料三部分,分别装订成册。
1.初始注册申请表:(1)行政许可事项申请表(封面);(2)承诺书;(3)基本情况;(4)工作简历;(5)相应专业的工程咨询业绩。
2.人员证明材料:(1)正在生效的执业单位企业法人营业执照或事业单位法人证书(副本)复印件;(2)执业单位的工程咨询资格证书(正本)复印件(注册在拟新申请工程咨询资格的单位无需提供);(3)执业资格证书(编号页、照片及签章页)、身份证、毕业证书和职称证书复印件。
其中,2003年通过考核认定方式取得执业资格证书的,还需提交注册咨询工程师(投资)认定合格人员培训班结业证书的复印件;(4)执业单位出具的正在生效的一年以上申请人被任命文件(或聘用合同)复印件和申请人的职业道德证明;(5)企业法人执业单位为申请人缴纳的社会养老保险证明材料,内容包括:参保单位名称及公章、交费人员姓名及社会保险号、社保部门有效印章;事业法人执业单位需提交申请人的人事证明材料(必须由上级主管单位的人事部门出具并加盖公章)。
工程咨询单位乙级资质证书一、乙级资质证书的含义和作用工程咨询单位乙级资质证书是我国建设部门颁发的一种资质认证,用以认可具备一定工程咨询能力的单位。
持有乙级资质证书的单位,可在国内开展相应的工程咨询服务业务,为企业和个人提供专业、高效的技术支持与咨询服务。
乙级资质是工程咨询单位进入市场、获取项目的重要门槛,对于提升企业竞争力和市场份额具有积极意义。
二、工程咨询单位乙级资质标准根据我国相关规定,申请乙级资质的单位需满足以下标准:1.注册资本:不低于50万元人民币;2.专业技术人员:拥有不少于10名具备相关专业背景和工作经验的技术人员;3.业务范围:具备工程咨询、项目评估、工程监理等至少两项业务能力;4.业绩要求:近三年内完成不少于5项工程咨询项目,项目投资总额不低于1亿元;5.规章制度:建立健全的内部管理制度和质量控制体系。
三、申请乙级资质所需材料和流程1.申请材料:包括企业法人营业执照、组织机构代码证、税务登记证、注册资本证明、专业技术人员名单及资格证书、业绩证明材料等;2.申请流程:首先向所在地建设部门提交申请,经过初审、复核、公示等环节,符合条件的单位获得乙级资质证书。
四、维护和管理乙级资质的重要性持有乙级资质的单位应重视资质的维护和管理,确保企业在市场竞争中保持优势。
主要措施包括:1.持续加强人才队伍建设,提升企业整体技术水平;2.关注政策动态,及时了解和掌握行业最新要求;3.建立健全内部管理体系,提高服务质量和管理水平;4.积极拓展业务范围,提升企业市场竞争力。
五、提升乙级资质的途径1.提升企业实力,扩大业务规模,争取更多高端项目;2.加强与行业内外合作伙伴的合作,共享资源,互惠互利;3.注重品牌建设,提升企业知名度和市场影响力;4.鼓励技术创新,积极参与行业标准和规范的制定。
工程咨询单位甲级资信证书申请条件1. 想申请工程咨询单位甲级资信证书那可得有一定实力呢!就像爬山,没点耐力可到不了山顶。
比如说,你得有固定的办公场所,不能今天在这明天在那,像个流浪的小商贩似的。
2. 申请甲级资信证书,人员可是关键因素哦!这就好比一支篮球队,没有厉害的球员怎么行?你得有足够数量的咨询工程师,而且这些人得经验丰富,不能是刚入行啥都不懂的小白,像我之前遇到个单位,找来一堆没经验的,那肯定不行。
3. 业绩也是重头戏啊!要是把申请甲级资信证书比作一场考试,业绩就是你的答卷。
你得有不少成功的工程咨询项目案例,就像我朋友的公司,做了好几个大型项目,这才有底气去申请。
5. 技术装备不能少。
这就像厨师做菜,没有趁手的厨具(技术装备),怎么能做出美味佳肴呢?例如要有专业的软件和设备来支持工程咨询工作。
6. 财务状况也要良好呢。
这就如同一个人的健康状况,身体不好(财务差)啥都干不了。
要有足够的注册资金,而且不能老是亏损,像有些公司负债累累,根本别想申请。
7. 信用可是个大问题!这就像一个人的名声,名声坏了谁还信你?不能有不良信用记录,我听说有个单位老拖欠货款,这种肯定不符合甲级资信申请条件。
8. 质量管理体系必须健全。
这好比盖房子,没有坚实的地基(质量管理体系),房子能牢固吗?要有明确的质量标准和控制流程。
9. 申请甲级资信证书,创新能力也很重要。
这就像鸟儿的翅膀,没有创新就飞不高。
比如要能在工程咨询方法上有新的探索,不能总是按老一套来。
10. 对市场的适应能力也得考量。
这就像在大海里航行的船,不能适应风浪(市场变化)就会翻船。
要能根据市场需求及时调整业务方向。
11. 专业技术水平要高呀。
这就如同武林高手的武艺,不高强怎么行?要有精通各种工程咨询专业知识的人才,像有的单位连基本的工程计算都搞不定,肯定不符合要求。
12. 安全管理也不能忽视。
这就像走钢丝,没有安全保障(安全管理)随时会掉下去。
在工程咨询过程中要重视安全相关的因素。
工程咨询资质
工程咨询单位资格等级分为甲级、乙级、丙级。
各级工程咨询单位按照国家有关规定和业主要求依法开展业务。
凡新申请工程咨询资格的单位,一般应从丙级资格做起。
企业必须具备丙级资质3年才可升为乙级,乙级2年后才可生为甲级。
丙级要求我们需具备的条件:
1. 注册资金不低于50万元。
2. 专业技术人员不得少于15人,其中具有高级专业技术、经济职称的人员不得
少于30%,注册咨询工程师不得低于技术人员总数的15%,聘用专职离退休专业技术人员不得高于技术人员总数的10%。
3. 专业领域配备相应的专业技术人员不少于5人和至少1名注册咨询工程师;
4. 主要技术负责人应具有中级以上专业技术职称或具有注册咨询工程师执业资
格,从事工程咨询及相关业务不少于5年;
5. 有固定的办公场所,人均使用面积不少于6平方米;
6. 有严格的质量管理制度。
办理流程和时间
办理这个资质的程序是分2个阶段跨度是2个年度
第一个阶段:要先找3个咨询师,准备办理注册的手续,按照网上通知时间去办理注册。
第二阶段:到当年年底公示结果注册是否成功,注册成功的在第二年4月份(按网上通知时间)交申请资质的材料,在到年底公式结果。
费用
费用主要产生在工程人员的招募上初级(助理)4000每人、中级5000-6000每人。
工程咨询资格认定方案一、引言随着工程行业的不断发展,工程咨询在工程项目中扮演着越来越重要的角色。
工程咨询公司的资格认定成为一个重要的问题。
而资格认定方案,不仅是一项重要的工作,更是对工程咨询公司能力和行为的一种约束和规范,也是对用户权益的一种保障。
本文将探讨工程咨询资格认定的方案,以期为工程咨询公司的发展和规范提供一些参考和建议。
二、目的工程咨询资格认定的目的,在于明确工程咨询公司的资质和能力,保障用户的权益,促进工程行业的健康发展。
通过资格认定,可以建立起一套行之有效的考核标准和流程,从而提高工程咨询公司的专业水平,促进行业的可持续发展。
三、资格认定标准1.法律法规及规定的符合程度工程咨询公司的资格认定首先应符合国家有关法律法规的要求。
包括但不限于工程咨询公司所取得的资质证书是否合法有效,公司是否具有独立法人地位等。
此外,还应符合国家有关工程建设领域的相关规定,包括公司的注册资金、业绩、人员组成及专业技术人员的数量及水平等。
2.经济实力经济实力是工程咨询公司资格认定的重要指标。
包括公司的注册资本、近三年的经营业绩、公司的稳定性和发展潜力等。
只有具备了强大的经济实力的企业,才能够更好地为用户提供优质的咨询服务。
3.技术实力技术实力是工程咨询公司资格认定的重要考核因素。
包括公司的专业技术人员的数量及水平、公司的技术设备和软件工具等。
只有具备了强大的技术实力的企业,才能够更好地为用户提供具有竞争力的咨询服务。
4.管理能力管理能力是工程咨询公司资格认定的重要考核指标。
包括公司的管理体系、内部运作机制、人员管理及外部合作机制。
只有具备了良好的管理能力的企业,才能够更好地为用户提供高效的服务。
5.社会责任社会责任是工程咨询公司资格认定的重要考核因素。
包括公司的社会信誉、社会形象、行为规范、员工的职业操守等。
只有具备了良好的社会责任的企业,才能够更好地为用户提供信誉良好的服务。
四、资格认定流程1.资格认定申请工程咨询公司在申请资格认定时,应提供相关资料并填写申请表格,申请表格包括但不限于公司的注册证书、执照、资质证书、经济情况、技术情况、管理情况等。
工程咨询资质工程咨询资质是指企业或个人在进行工程咨询活动时所需具备的相关资格和认证。
工程咨询是指对工程项目进行咨询、评估、设计等相关活动的专业服务。
在进行这些活动时,拥有相应资质的机构或人员能够提供专业的技术支持和建议,确保工程项目的顺利进行和高质量完成。
工程咨询资质的重要性工程咨询资质的重要性不言而喻。
首先,拥有合格的资质证书可以证明从业机构或个人具备相关领域的专业知识和技能,客户更愿意选择有资质的咨询机构合作。
其次,具备合格资质的咨询机构通常能够提供更加全面、专业和可靠的服务,确保项目的高质量执行和最终达成客户的期望目标。
此外,持有资质证书还可以增加从业机构或个人在行业内的声誉和竞争力,为未来发展奠定基础。
工程咨询资质的认证流程获得工程咨询资质需要经过一系列的认证流程。
首先,申请机构或个人需要向相关单位提交申请,并提供相关的申请资料,包括企业资质、从业人员的相关证书和资格等。
其次,申请单位可能需要参加相关的资格考试或审核,以验证其在工程咨询领域的专业知识和能力。
最后,经过评审委员会或相关认证机构的审核并通过评定,成功获得工程咨询资质证书。
工程咨询资质对行业的影响拥有工程咨询资质的机构或个人对行业的影响是积极的。
首先,合格资质将有效减少行业内的不良竞争,提升整体行业的专业水准和服务质量。
其次,有资质的咨询机构通常能够吸引更多的优质项目和客户,为行业的稳定和发展注入活力。
同时,具备资质的从业者还能为行业带来更多的创新和发展机会,推动整个行业走向更加繁荣和可持续发展的方向。
总结起来,工程咨询资质对于相关从业者来说是一个非常重要且必要的认证。
拥有合格的资质证书将为从业机构或个人带来更多的机遇和发展空间,同时也有助于提升行业整体的专业水准和服务质量。
持续提升自身的专业知识和技能,积极获得相关的资质认证,将是工程咨询领域从业者不断追求的目标。
以上是关于工程咨询资质的相关信息,希望对读者有所帮助。
工程咨询资格登记制度一、目的和依据为了提高工程咨询服务的质量,保障工程项目的安全与效益,根据国家相关法律法规和行业标准,特制定本资格登记制度。
通过明确资格申请、评审、登记及监督管理等程序,确保咨询机构的专业性和服务的可靠性。
二、资格申请条件1. 申请机构应为依法设立的企业法人或其他组织,具有独立承担民事责任的能力。
2. 申请机构应具备相应的专业技术人员和管理人员,其中主要技术负责人应具有高级职称或相当的专业水平。
3. 申请机构应有固定的办公场所和必要的业务设备。
4. 申请机构应有良好的信誉和健全的质量管理体系。
三、申请材料申请机构需提交以下材料:1. 申请书及法人资格证明文件。
2. 法定代表人和技术负责人的身份证明及职称证书。
3. 办公场所的产权证明或租赁合同。
4. 近三年的工程咨询业绩报告及相关证明材料。
5. 质量管理体系文件及其他支持材料。
四、评审程序1. 收到申请后,由专门的评审委员会对申请材料进行初步审核。
2. 初审合格的,评审委员会将组织专家对申请机构进行实地考察。
3. 考察合格后,评审委员会将对申请机构的技术能力、管理水平、业绩等方面进行全面评估。
4. 根据评估结果,评审委员会提出是否推荐登记的建议。
五、登记与公示1. 评审委员会的推荐意见经批准后,申请机构将获得工程咨询资格登记证书。
2. 登记信息将在相关平台上公示,接受社会监督。
六、监督管理1. 登记机构应定期向管理部门报送年度报告,包括业绩、人员变动、质量管理体系运行情况等。
2. 管理部门将对登记机构进行不定期的抽查,以确保其持续符合资格条件。
3. 发现登记机构有违法违规行为的,将依法进行处理,情节严重的可撤销其登记资格。
七、附则本制度自发布之日起实施,由管理部门负责解释。
如有变更,将及时更新并公告。
2020年内蒙古工程造价咨询单位资质申报程序2020年内蒙古工程造价咨询单位资质申报程序在我国工程建设行业中,工程造价咨询单位扮演着至关重要的角色。
作为评估和控制工程项目造价的专业机构,工程造价咨询单位的资质申报程序备受重视。
本文将深入探讨2020年内蒙古工程造价咨询单位资质申报的程序和要点,帮助您全面了解该程序的深度和广度。
一、申报条件内蒙古工程造价咨询单位资质申报的首要条件是申请单位必须符合国家和地方相关规定。
具体要求如下:1. 单位注册资本要求。
申请单位应具有一定的注册资本,以保证单位的稳定发展和服务能力。
2. 人员组成要求。
单位应按照相关规定配置一定数量具有相应职称或资质的工程造价专业人员,以确保单位能够提供专业、高质量的咨询服务。
3. 业绩要求。
申请单位需要提供一定数量和质量的工程造价咨询业绩,以证明其在工程造价领域具有实际经验和能力。
4. 财务状况要求。
单位需要提供财务报表等相关材料,以证明其财务状况良好,能够承担各类项目的工程造价咨询服务。
二、申报流程内蒙古工程造价咨询单位资质申报的流程一般包括以下几个步骤:1. 登记备案。
申请单位需要在规定的时间内向相关部门提交资料进行登记备案。
备案材料通常包括单位基本情况、人员组成、财务状况等。
2. 资格初审。
经过登记备案后,相关部门会对申请单位的资格进行初步审查。
初审会着重关注单位是否满足申报条件,包括注册资本、人员资质等。
3. 资格评审。
初审合格的单位将进入资格评审环节。
这一阶段主要对单位的业绩、技术能力等进行评估,并由专家组组成评审委员会进行评审。
4. 发证和备案。
通过资格评审后,符合资质要求的单位将获得工程造价咨询单位资质证书,并完成备案手续。
证书的颁发将有助于单位在市场上树立声誉和信誉。
三、个人观点和理解工程造价咨询单位资质申报程序的深度和广度不仅仅是一项行政程序,更是对单位能力和专业水准的考核。
在我看来,申报程序的重点应放在对单位的综合评估上,包括业绩、技术能力和人员素质等方面。
工程咨询资质申请需要的条件一、丙级工程咨询单位应当具备以下资格标准:1、注册资金不低于50万元(事业单位除外);满足(二)专业技术人员不得少于15人,其中具有高级专业技术、经济职称的人员不得少于30%(5人),注册咨询工程师(投资)不得低于技术人员总数的15%(3人),聘用专职离退休专业技术人员不得高于技术人员总数的10%(2人);以上所有专业技术人员和注册咨询工程师,不能为在职事业单位人员,需要提供所有人员在申请单位的半年社保证明和一年以上劳动合同。
不满足2、每个专业领域配备相应的专业技术人员不少于5人和至少1名注册咨询工程师(投资);不满足3、主要技术负责人应具有中级以上专业技术职称或具有注册咨询工程师(投资)执业资格,从事工程咨询及相关业务不少于5年;不满足4、有固定的办公场所,人均使用面积不少于6平方米;(好像不满足,应该要求办公场所产权为公司所有或法人所有)5、有严格的质量管理制度。
满足6、业绩证明。
凡新申请工程咨询资格的单位,一般应从丙级资格做起。
二、目前最需要注册咨询工程师(投资)3人,路桥专业方向和经济专业方向的共3人,需要咨询工程师注册在我公司。
注册条件(一)初始注册:包括初始注册申请表、人员证明材料和业绩证明材料三部分,分别装订成册。
1.初始注册申请表:(1)行政许可事项申请表(封面);(2)承诺书;(3)基本情况;(4)工作简历;(5)相应专业的工程咨询业绩。
2.人员证明材料:(1)正在生效的执业单位企业法人营业执照或事业单位法人证书(副本)复印件;(2)执业单位的工程咨询资格证书(正本)复印件(注册在拟新申请工程咨询资格的单位无需提供);(3)执业资格证书(编号页、照片及签章页)、身份证、毕业证书和职称证书复印件。
其中,2003年通过考核认定方式取得执业资格证书的,还需提交注册咨询工程师(投资)认定合格人员培训班结业证书的复印件;(4)执业单位出具的正在生效的一年以上申请人被任命文件(或聘用合同)复印件和申请人的职业道德证明;(5)企业法人执业单位为申请人缴纳的社会养老保险证明材料,内容包括:参保单位名称及公章、交费人员姓名及社会保险号、社保部门有效印章;事业法人执业单位需提交申请人的人事证明材料(必须由上级主管单位的人事部门出具并加盖公章)。
工程造价资质办理流程
工程造价资质是指企业承接工程造价咨询业务所必须持有的相关资质证书。
办理工程造价资质的基本流程如下:
一、确定拟申请的资质级别
根据公司实际业务情况和承接能力,选择申请相应级别的造价师资格认定。
我国工程造价资质分为四个级别:级、级、级和级。
级别越高,承接业务范围越广。
二、准备申请材料
主要材料包括:资质申请表、企业法人营业执照复印件、组织机构代码证复印件、经济责任人身份证明、企业资产证明材料、造价人员资格证书复印件等。
三、提交资质申请
向当地建设主管部门提出资质申请,交齐申请材料,并缴纳申请费用。
资质评定部门会组织专家进行评审。
四、取得资质证书
评审通过后,申请企业会取得相应等级的造价师资格证书。
证书有效期为2年,过期需要重新申请。
五、办理相关手续
取得资质后,还需要到工商和税务部门办理相关手续,取得营业执照、开具发票资格等,方可正式开始从事工程造价咨询业务。
六、资质变更和续期
资质有效期满前,需提出变更或续期申请。
企业情况发生重大变化,也需及时申请变更资质等级或类别。
工程造价资质办理流程主要包括确定资质级别、准备材料、申请、取得证书、办理手续以及变更续期六个步骤。
熟悉流程,凭实力申请合适级别资质,是企业开展造价业务的基础。
如何申请工程咨询资质 Company Document number:WUUT-WUUY-WBBGB-BWYTT-1982GT
中国国家发改委2008第52号公告通知,2008年度的注册咨询师工作即日开始,至9月25日前向初审机构提交申请材料。
9月2日,中国工程咨询协会(以下简称中咨协)在吉林长春召开全国注册咨询工程师(投资)注册工作会议。
此前中咨协会的注册咨询师管理系统一直不能注册,估计此次会议后便会开放注册权限。
中国工程咨询协会2004年至2008年的注册咨询师考试情况统计,截止到2008年6月底,全国共有21万人报名了注册咨询工程师(投资)执业资格考试,综合通过率为23%左右,预计全国目前已通过考试的注册咨询师大概为4万名。
2006年国家发改委公布第一批工程咨询单位为1848家,2007年公布第二批工程咨询单位为1861家,2008年国家发改委尚未公开公布,但根据资料审查的数据来看,第三批工程咨询单位大约为1800家。
根据国家发改委2005年第29号令要求,甲级单位至少9个咨询师,乙级单位至少5个咨询师,丙级单位至少3个咨询师,按平均一家单位5个注册咨询师来估计,市场已经容纳了大约27500个咨询师。
目前还有1万多名通过考试的注册咨询师尚未注册。
2005年第一批注册时,市场挂靠费用为300元/月,2008年为500元/月,地区不同,挂靠费不太一样。
所以大家可以根据这个情况,得出目前咨询师挂靠的市场价值,如果碰到有出高价的单位赶紧签合同。
根据笔者的了解和推测,目前70%以上的单位采用咨询师挂靠的方式申请资质。
对于尚未挂靠的咨询师来讲,挂靠证书应该注意些什么呢,在这里提炼出点心得体会,供大家参考。
1、一定要仔细了解工程咨询资质管理办法(国发2005第29号令)和注册咨询工程师注册管理办法(发改投资[2005]983号);注册咨询师材料中关键的是三个方面:1.注册咨询师考试证书的真实性,2.基本情况表,3.该咨询师所做的业绩(需要证明,这点是最关键的)。
企业资质申报关键的有:1.所有申报人员的社保证明是否真实,2.高工、注册人员的比例是否符规,3.单位申报该专业的业绩证明材料是否真实齐全(申报专业的丙级不需要提供该专业的业绩证明。
)2.选准自已要注册的专业,定向选择注册企业;考完证挂靠的同志,一定要把目标搞清楚,是为了挂靠挣点小钱,还是为今后谋条生路。
如果是为了挂靠挣点小钱,那注册比较热的专业,注册完的证书会比较值钱,以后转移注册的时候要价可以高一些。
什么是比较热的专业呢涉及到民生的项目活多,比如基础设施(路、污水处理、垃圾处理等,属于市政公用工程专业)、社会事业(学校、医院、体育场等,属于建筑专业)、生态环境(风沙治理、空气治理等,属于生态专业)、能源、城市规划等。
像核工业、水利工程、冶金等专业是冷门专业。
如果是为今后谋条生路,那就要与所学专业以及自已的兴趣爱好相结合,再去找有这方面专业需求的企业注册。
有的人就问了,我先注册成功再说,以后不是可以转专业注册么根据常理,隔行如隔山,专业的转换岂能那么容易。
当年转专业注册的1000多人中有2个人获得批准。
3、选择平台,将自已希望挂靠的信息发布出去建议大家信息网撒得大一点,每个网站上都发一下。
这些网站分别是:世界咨询师,中国工程咨询网,筑龙网等。
4、先签订合同,再邮寄资料笔者在与想挂靠的注册咨询师沟通的过程中,发现有曾经被骗过的咨询师。
在未签合同前不要把证书的扫描件发给不靠谱的单位。
5、由自已在网上注册,挂靠合同里规定,注册密码修改必须告知从2007年开始,中国工程咨询协会注册咨询师的申报系统由单机版软件改为网络申报系统,初始注册申报流程为:咨询师个人在注册咨询师系统注册→挂靠单位(挂靠单位第一次申报需在系统上注册,由初审机构-地
方协会通过)审核通过→个人提交基本资料及业绩资料→上传证书图片信息→挂靠单位申报资料提交→初审机构审核提交→国家发改委委托中咨协会专家终审→国家发改委公告→个人可登录系统查询审核结果。
转移注册申报流程为:咨询师用原注册密码登录→填写转移注册基本资料→转出单位审核同意→转入单位审核提交→初审机构审核提交→终审单位审核提交→国家发改委公告。
大家看到流程后就明白了为什么要自已注册,为什么要知道密码了吧。
6、挂靠合同约定支付挂靠费的起始时间就目前市场上的挂靠费支付诉起始时间,大概有两种:1.从签订合同后收到考试证书开始计算费用,2.从注册成功开始计算费用。
大家可以根据谈判的情况自主决策。
7、挂靠合同约定社保支付问题工程咨询企业资质申报时,需要提交全体员工的社保证明,注册咨询师挂靠人员是作为员工进行申报的,所以挂靠人员也需要提交社保证明。
社保费用谁来支付的问题需要事先明确写在合同中。
8、挂靠合同约定注册成功后注册证及注册章的保管及使用问题注册咨询师考完试拿到的证叫注册咨询工程师执业证书,注册成功后叫注册咨询工程师注册证书,注册完成后还会发一枚注册咨询工程师执业人名章。
目前工程设计已经是终身责任制了,所以每页施工图上都有注册建筑师或结构师的签名章。
预测今后的工程咨询行业也会实行相应办法,可行性研究报告上都要盖咨询师的执业章。
所以大家要和挂靠单位谈全证书及章的管理及使用问题。
9、挂靠合同约定继续教育的问题改革开放后,从事咨询的人也要与时俱进,所以执业资格人员必续不断学习。
注册咨询师管理办法的文件规定,没有达到继续教育要求的注册咨询师将不矛继续注册。
虽然目前国家发改委还未出台注册咨询师继续教育的细则,但这肯定会在未来的某一天出台,直接关系到咱们注册证书。
10、挂靠合同约定今后转移注册的问题咨询师与挂靠单位很容易在转移注册时发生纠纷,咨询师注册成功后,碰到价格更高的挂靠单位,就希望转移注册。
从转移注册程序上来讲,若原注册单位不同意转移,个人是无法转走的,那家愿意你转入的单位也是没有办法的。
11、注册咨询师每年只办理一次,每年8-10月注意网上公告注册咨询师的注册工作,每年只办理一次。
很多人可能未找到合适的单位而错失了今年的注册时机,或忘记了注册时间而未注册,这些都不要紧,目前没有文字规定注册咨询工程师执业证书在一段时间内不注册就会过期。
所以今年未注册成功明年注也可以的,建议大家提前1-2个月寻找挂靠单位。
注册工作一般在8-10月份开展,请大家多多注册网上的公告。