以太网透明传输协议
- 格式:pdf
- 大小:99.43 KB
- 文档页数:2
HDLC协议简介HDLC(High-Level Data Link Control)协议是一种数据链路层的协议,用于在点对点和多点网络中的数据传输。
它提供了信道复用、错误检测和纠正、流量控制和数据传输确认等功能。
本文将详细介绍HDLC协议的概念、设计原理、工作方式以及在实际应用中的应用场景。
概念HDLC协议是由国际电信联盟(ITU)制定的一种面向比特同步传输的链路层协议。
它定义了帧的结构、传输模式和控制流程。
HDLC协议可以用于各种不同的物理介质,如同轴电缆、光纤和无线电频谱等。
它被广泛应用在广域网(WAN)和局域网(LAN)中,特别是在X.25、ISDN和PPP等网络协议中。
帧结构HDLC协议使用点对点的通信模式,通信双方分别被称为发送方和接收方。
数据在发送方被分成一系列的帧进行传输,接收方对帧进行接收、检测和处理。
HDLC帧由几个字段组成,如下所示: 1. 标志字段:标志字段由16位或8位的特定比特模式组成,用于标识帧的开始和结束。
2. 地址字段:地址字段用于在多点网络中识别接收方。
3. 控制字段:控制字段指定了帧的类型和控制信息,如传输模式和流量控制方式等。
4. 信息字段:信息字段包含数据部分,用于传输数据。
5. 校验字段:校验字段用于检测帧传输过程中的错误。
6. 填充字段:填充字段用于填充数据,使帧长度满足最小要求。
传输模式HDLC协议定义了三种传输模式:同步传输模式、异步传输模式和透明传输模式。
同步传输模式在同步传输模式下,帧的传输速率是固定的,发送方和接收方的时钟是同步的。
发送方按照时钟周期将数据拆分成一系列的比特,并依次传输。
接收方根据时钟周期对比特进行采样,确保数据的正确接收。
同步传输模式适用于相对稳定的传输环境,如同轴电缆和光纤等。
异步传输模式在异步传输模式下,帧的传输速率是可变的,发送方和接收方的时钟是不同步的。
发送方在帧的开始和结束时添加标志字段,接收方通过检测标志字段来确定帧的起始位置。
7号信令的分层功能结构及各层功能第七号信令是通信网络中用于实现用户间通信和网络内协调的一种信令协议。
其分层功能结构是由不同层次的功能组成,每个层次负责一部分的功能。
下面我将详细介绍第七号信令的分层功能结构及各层功能。
第七层:应用层应用层是最高层,负责处理用户应用程序间的数据交换。
它定义了一系列通信协议,如HTTP、FTP、SMTP等,以满足用户不同的通信需求。
应用层的功能包括文件传输、电子邮件发送与接收、远程登录、资源共享等。
第六层:表示层表示层负责处理应用层数据的表达与转换。
它将数据从应用层转换成通用的格式,以便它们可以在不同的系统之间进行共享。
表示层的功能包括数据加密与解密、数据压缩与解压缩、数据格式转换等。
第五层:会话层会话层负责建立、管理和终止两个通信设备之间的会话。
它定义了会话的开始和结束标志,并提供了检测和处理通信中发生的中断、重启等事件的机制。
会话层的功能包括会话的建立与终止、同步机制的实现、协议的选择与转换等。
第四层:传输层传输层负责端到端的数据传输,将数据分割成较小的数据包,并在源和目标之间建立可靠的传输通道。
传输层的功能包括数据包的分割与重组、错误检测与恢复、数据流控制、拥塞控制等。
常见的传输层协议有TCP和UDP。
第三层:网络层网络层负责将数据从源城市传输到目标城市。
它通过寻址和路由选择在网络中找到适当的路径,并将数据包传递给下一跳。
网络层的功能包括IP地址的分配与转换、路由选择、流量控制等。
常见的网络层协议有IP协议。
第二层:数据链路层数据链路层负责管理物理链接,将数据转换成比特流进行传输。
它负责进行数据的分组与组合、错误检测与恢复、帧同步等。
数据链路层的功能包括透明传输、流量控制、误码检测与纠正、链路管理等。
常见的数据链路层协议有以太网协议。
第一层:物理层物理层是最底层,负责管理数据与物理媒介之间的传输。
它将比特流转换成电信号,并通过传输介质将信号传输到目标设备。
物理层的功能包括信号的编码与解码、时钟同步、数据的传输与接收等。
“MSTP专线”业务只需要在网络的接入层配置MSTP设备,网络内部可利用已有的SDH 传送网资源。
由于MSTP对以太网业务的支持是通过GFP、虚级联和LCAS等技术来实现的,而这些技术都需要用SDH的通道开销字节来传送控制信息。
因此必须保证SDH通道开销字节的透明传送,即要求“MSTP专线”业务不能有2M电路的上下和转接,而需要采用STM-N接口进行网络连接。
1、MSTP如何承载和传送以太网业务在MSTP技术的发展演进过程中,针对业务的应用情况,以太网业务在MSTP上的承载和传送目前大致存在以下几种方式:(1)以太网业务的透传方式,这是目前应用较广的一种方式,也是MSTP初期在SDH设备上为了实现对以太网业务的透明传送而采取的方式。
这种方式只是为了实现以太网业务的透明传送,利用某种协议(PPP/LAPS/GFP)将非交换型的以太网业务的帧信号直接进行封装,然后利用PPPOVERSDH、反向复用(将高速数据流分散在多个低速VC中传送以提高传输效率,如采用5*VCl2级联来传送10MB/S以太网业务)等技术实现两点之间的网络互联。
由于各厂商将以太网业务映射进VC的方法不同,采用的协议各异,以太网业务经过透明传送后,必须在同厂商的设备上进行终结。
(2)对以太网业务进行第二层交换处理后再进行封装,然后映射到SDH的VC中再送入线路侧进行传送,这样更好的适应了数据业务动态变化的特点。
这种方式将第二层以太网帧(MAC 帧)交换集成到SDH设备的支路卡上,二层交换机通过学习连接在网上设备的MAC地址,并根据目的地的MAC地址将帧信号交换到正确的端口。
因此MSTP设备可以对以太网业务进行如下处理:①mstp可以对分散在各个地点的多个低速率的以太网业务进行汇聚处理,将其传送到特定地点的单个或多个高速以太网接口上。
②可以实现以太网业务的统计复用,在线路侧有效利用带宽。
MSTP可以将多个以太网接口的以太网业务划分到一个高速带宽的管道中,这样单一的线路侧信道就可以由多个用户使用,既可以保证以太网业务突发时的峰值流量,又能够保证带宽(以太网业务很多时段并没有业务传送)的有效利用。
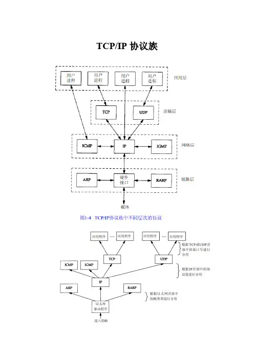
TCP/IP协议族IP/TCPTelnet和R login、FTP以及SMTPIP/UDPDNS 、TFTP、BOOTP、SNMPICMP是IP协议的附属协议、IGMP是Internet组管理协议ARP(地址解析协议)和RARP(逆地址解析协议)是某些网络接口(如以太网和令牌环网)使用的特殊协议,用来转换I P层和网络接口层使用的地址。
1、以太帧类型以太帧有很多种类型。
不同类型的帧具有不同的格式和MTU值。
但在同种物理媒体上都可同时存在。
▪标签协议识别符(Tag Protocal Identifier, TPID): 一组16位元的域其数值被设定在0x8100以用来辨别某个IEEE 802.1Q的帧为已被标签的,而这个域所被标定位置与乙太形式/长度在未标签帧的域相同,这是为了用来区别未标签的帧。
▪优先权代码点(Priority Code Point, PCP): 以一组3位元的域当作IEEE 802.1p 优先权的参考,从0(最低)到7(最高),用来对资料流(音讯、影像、档案等等)作传输的优先级。
▪标准格式指示(Canonical Format Indicator, CFI): 1位元的域。
若是这个域的值为1,则MAC地指则为非标准格式;若为0,则为标准格式;在乙太交换器中他通常默认为0。
在乙太和令牌环中,CFI用来做为两者的相容。
若帧在乙太端中接收资料则CFI的值须设为1,且这个端口不能与未标签的其他端口桥接。
▪虚拟局域网识别符(VLAN Identifier, VID): 12位元的域,用来具体指出帧是属于哪个特定VLAN。
值为0时,表示帧不属于任何一个VLAN;此时,802.1Q标签代表优先权。
16位元的值0x000和0xFFF为保留值,其他的值都可用来做为共4094个VLAN的识别符。
在桥接器上,VLAN1在管理上做为保留值。
这个12位元的域可分为两个6位元的域以延伸目的(Destination)与源(Source)之48位元地址,18位元的三重标记(Triple-Tagging)可和原本的48位元相加成为66位元的地址。
232转网口中的RealCom协议1.232转网口与RealCom的名字由来232转网口ZLAN5103中用到一个称为RealCom的协议,初次使用232转网口的用户对此比较陌生,这里做一个介绍。
232是RS232的简称,是串口的一种,这里realcom的COM也是指串口。
我们在计算机上看到的COM1、COM2对应的就是这种9针的串口,因为在早期计算机之间的通信以串口为主,所以串口就代表了通信,COM来自于英文名“communication”。
目前台式机后面的COM口就是RS232标准的串口。
串口转网口和RealCom中既然COM对应232那么Real是否对应网口。
不完全对,网口就是RJ45或以太网口,Real实际是英文“真实”的意思。
当232串口被转为网口之后,在网口一端来看,如何能够将网口模拟为一个232串口,由于网口和串口在本身协议上的不同,需要有一种网口(即TCP/IP之上的协议)协议将网口映射为串口。
从而能够在将网口几乎真实地“转化”为232串口。
于是RealCom协议就孕育而生。
2.232转网口中的RealCom协议细则RealCom协议是真实反映串口特性的网络协议。
232转为网口后,RealCom协议必须实现串口特性的保留,232串口的特性包括:波特率、数据位、停止位、校验位、第9位串口数据。
RealCom协议中会有相应的命令和数据位将串口的这些参数信息传递到网口的另一端,从而能够让网络端的程序能够识别当前串口使用的波特率等参数。
232转网口中的RealCom协议不同于“以太网透明传输协议”,RealCom协议的TCP应用层数据包的数据并不完全对应于232串口的数据,而是具有一定的帧格式的。
默认情况下卓岚232转网口转换器是使用“以太网透明传输协议”,如果需要选择为RealCom协议,需要将转换器的参数中的高级参数:“转化协议”设置为“RealCom”;选择“以太网透明传输协议”,设置为“无”。
第5章数据透明传输技术数据透明传输技术数据透明技术的基本概念转义字符填充法零比特填充法采用特殊的信号与编码法确定数据长度法5.1数据透明传输技术的概念1 问题的提出2. 所谓数据透明传输就是用户不受协议中的任何限制,可随机地传输任意比特编码的信息。
用户可以完全不必知道协议中所规定的结束段的比特编码或者其他的控制字符。
5.2 转义字符填充法数据链路控制协议数据链路控制协议也称链路通信规程,也就是OSI参考模型中的数据链路层协议。
路控制协议可分为异步协议和同步协议两大类。
同步协议是以许多字符或许多比特组织成的数据块一一帧为传输单位,在帧的起始步,使帧内维持固定的时钟。
由于采用帧为传输单位,所以同步协议能更有效地利用信道,也便于实现差错控制、流量控制等功能。
同步协议又可分为面向字符的同步协议和面向比特的同步协议及面向字节计数的同步协议三种类型。
1. 面向字符的数据链路控制的规程国际标准化组织于1971年发表了*****标准,规定了信息处理中数据通信系统的基本型控制规程。
ISO 1745: ISO标准。
ANSIX3.28 美国国家标准。
ECMA-16: 欧洲计算机制造商协会标准。
IBM BSC:IBM公司标准我们国家于1982年低公布了GB3458-82标准。
2 传输控制字符面向字符的数据传输过程中,规定了10个控制字符作为传输控制用。
传输控制字符的名称及代码如下:SOH(Start of Head):开始,用于表示报文的标题信息或报头的开始。
比特编码:***-***** STX(Start d Text):文始,标志标题信息的结束和报文文本的开始。
***-***** ETX (End of Text):文终,标志报文文本的结束。
EOT(End d Transmission):送毕,用以表示一个或多个文本块的结束,并拆除链路。
ETB (End of Transmission Block):块终或组终,用以表示当报文分成多个数据块时?一个数据块的结束。
计算机网络中的数据链路层与介质访问控制基础在计算机网络中,不同的网络层承担着不同的功能和任务,而数据链路层则是整个网络层次结构中的一个重要组成部分。
数据链路层负责实现数据的可靠传输和透明传输,同时也负责介质访问控制,确保网络中多个设备能够同时使用与共享网络的传输介质。
一、数据链路层的作用与功能数据链路层主要有两个基本功能:可靠传输和透明传输。
可靠传输是指在数据链路层通过添加差错检测与纠正的机制,确保数据在物理传输媒介上的可靠传输。
透明传输是指数据链路层使得从上层接收到的数据对于下层的物理层来说是透明的,即无需对数据进行修改或解释,直接通过物理层进行传输。
数据链路层还通过流量控制和拥塞控制来协调发送端和接收端的数据传输速率。
流量控制是指通过通信双方之间的协商,调整发送方的发送速率,使得接收方能够及时处理接收到的数据,避免数据的丢失或溢出。
拥塞控制则是指在网络中避免过多的数据传输造成网络拥塞的发生,通过调整传输速率、适当地丢弃数据包等手段来维持网络的稳定运行。
二、数据链路层的协议数据链路层的传输通常通过数据帧来完成,而数据帧则是由一部分数据与一些控制信息组成的。
在各种协议中,以太网是最常见和应用最广泛的数据链路层协议。
以太网协议定义了以太网通信中的数据帧的格式、数据传输规则和介质访问控制等。
以太网使用48位的MAC(Media Access Control)地址来唯一标识网络中的每个设备。
当一个设备发送数据帧时,需要先在网络上广播一个包含发送者MAC地址、目标MAC地址以及数据的数据帧。
除了以太网以外,常见的数据链路层协议还包括HDLC(High-level Data Link Control)、PPP(Point-to-Point Protocol)等。
这些协议在不同的网络环境和传输场景中有着各自的特点与应用。
三、介质访问控制介质访问控制是数据链路层的一个重要功能,它负责如何合理、公平地让多个设备同时使用和共享网络的传输介质。
TCP/IP是以太网所使用的高层协议之一以太网/局域网的链路层有自己协议标准,也就是802.3PPP是另外一种链路层协议SLIP同样是一种链路层协议有一个需要纠正的误区就是,并不是使用TCP/IP,UDP/IP,FTP/IP以及其他使用IP协议作为网络层协议就一定要使用以太网/局域网802.3作为链路层协议,完全可以使用其他协议作为链路层协议。
例如L2TP高层协议使用TCP/IP以及UDP/IP,而链路层确使用了PPP其他相关知识参考一下文章tcp/ip协议栈之数据链路协议slip,ppp,802.3网友:nm_0011 发布于: 2008.05.05 21:57 (共有条评论) 查看评论 | 我要评论早期计算机通过安装普通猫进行与internet的连接,普通猫是一种网络接口(与网卡功能类似),猫的一端与计算机的串口连接,另一端与电话线连接,计算机内置的拨号程序实现了ppp协议栈,ip报通过ppp协议封装成ppp祯,然后交给猫发送出去。
两个主机之间通过串行线互连进行通信,数据比较慢后来有以太网卡,这就不需要装猫了。
计算机通过802.3描述的Ethernet协议将ip报封装成以太网祯,然后网卡将祯发送出去。
两个主机通过以太网互连通信,速度快。
然后出现了pppoe。
就是计算机先进行ppp祯的封装,在进行以太祯的封装。
然后将其发送给adsl猫(估计是由isp维护的),adsl猫将其抽出 ppp祯,发送给pstn,然后再转发给局端。
当然之前也要进行ppp祯在另一个adsl猫进行ppp祯封装成以太祯了。
要求计算机具有pppoe 拨号软件和ppp协议。
最后还有带路由功能的adsl猫。
他具有nat转换和ppp链路复用,这样就不需要pppoe了。
slip是ppp协议的前一版本。
主要存在3个缺陷1.每一端必须知道对方的IP地址.2.数据帧中没有类型字段.一条串行线路使用SLIP就不能同时使用其他协议.3.SLIP没有在数据帧中加上检验和.PPP:点对点协议它修改了SLIP中的所有缺陷.1.在串行线路上封装IP数据报的方法.2.建立,配置及测试数据链路的链路控制协议LCP.3.针对不同网络层协议的网络控制协议NCP但是他们接入网的方式都是一样的,拨号上网。
以太网MAC协议1位/字节顺序的表示方法1.1位序严格地讲,以太网对于字节中位的解释是完全不敏感的。
也就是说,以太网并不需要将一个字节看成是一个具有8个比特的数字值。
但是为了使位序更容易描述以及防止不兼容,以太网和多数数据通信系统一样,传输一个字节的顺序是从最低有效位(对应于20的数字位)到最高有效位(对应于27的数字位)。
另外习惯上在书写二进制数字时,最低值位写在最左面,而最高值位写在最右面。
这种写法被称为“小端”形式或正规形式。
一个字节可以写成两个十六进制数字,第一个数字(最左边)是最高位数字,第二个(最右边)是最低位数字。
1.2字节顺序如果所有有定义的数据值都是1字节长,则在介绍完位序后就可以停止了。
但是很不幸事实并非如此,所以我们必须面对长于单个字节的域,这些域是以从左到右排列的,以连接符“-”分隔的字节串表示。
每个字节包含两个十六进制数字。
多字节域的各个字节按第一个到最后一个(即从左到右)的顺序发送,而每个字节采用小端位序传送。
例如,6字节域:08-00-60-01-2C-4A将按以下顺序(从左向右读)串行地发送:0001 0000-0000 0000-0000 0110-1000 0000-0011 0100-0101 00102以太网地址地址是一个指明特定站或一组站的标识。
以太网地址是6字节(48比特)长。
图1说明了以太网地址格式。
图1 以太网地址格式在目的地址中,地址的第1位表明该帧将要发送给单个站点还是一组站点。
在源地址中,第1位必须为0。
站地址要唯一确定是至关重要的,一个帧的目的地不能是模糊的。
地址的唯一性可以是:●局限于本网络内。
保证地址在某个特定LAN中是唯一的,但不能保证在相互连接的LAN中是唯一的。
当使用局部唯一地址时,要求网络管理员对地址进行分配。
●全局的。
保证地址在所有的LAN中,在任何时间,以及对于所有的技术都是唯一的,这是一个强大的机制,因为:(1)使网络管理员不必为地址分配而烦恼;(2)使得站点可以在LAN之间移动,而不必重新分配地址;(3)可以实现数据链路网桥/交换机。
数据链路层协议解析数据链路层是计算机网络体系结构中的一层,负责在物理层和网络层之间传输数据,提供可靠的数据传输服务。
数据链路层协议是实现数据链路层功能的一套规范,它定义了数据的格式、传输过程中的控制流程以及错误检测和纠正等机制。
本文将就常见的数据链路层协议进行解析。
一、以太网协议(Ethernet Protocol)以太网协议是最常用的局域网协议之一,它定义了在局域网中如何传输数据。
以太网帧(Ethernet Frame)是以太网协议中的数据单元,包括目的MAC地址、源MAC地址、长度/类型字段以及数据字段等。
以太网协议使用MAC地址来唯一标识通信设备,在传输数据时可以使用CSMA/CD(Carrier Sense Multiple Access with Collision Detection)技术进行冲突检测和处理。
二、无线局域网协议(Wi-Fi Protocol)无线局域网协议是用于无线网络通信的协议,它基于以太网协议进行了一定的扩展和改进。
无线局域网协议定义了物理层和数据链路层之间的接口,规定了无线信道的分配、帧的格式以及多址接入等机制。
无线局域网协议使用无线AP(Access Point)作为基站,通过无线信道进行数据传输。
三、点对点协议(Point-to-Point Protocol,PPP)点对点协议是一种用于在点对点连接中传输数据的协议。
它可以通过串行线路或光纤等物理介质连接两个节点,为两节点之间的通信提供可靠的数据链路层连接。
PPP协议包括建立链接、认证、网络层协议的配置和终止连接等过程,可以支持像IP、IPv6、IPX等多种网络层协议。
四、高级数据链路层协议(High-Level Data Link Control,HDLC)高级数据链路层协议是一种同步串行数据链路层协议,主要用于在广域网中传输数据。
HDLC协议使用帧格式进行数据封装,包括起始标志、地址域、控制域、信息域、检验序列和结束标志等字段。
L2VPN协议原理精L2VPN协议原理精解随着网络技术的不断发展,L2VPN(Layer 2 Virtual Private Network)协议被广泛应用于企业和服务提供商的网络中。
L2VPN通过在物理网络上创建一个虚拟的二层网络,使得分布在不同地理位置的用户可以像在同一个局域网内一样通信。
本文将深入探讨L2VPN协议的原理和工作机制。
一、L2VPN的基本概念L2VPN是一种将远端用户连接到一个虚拟的二层网络的技术。
它基于虚拟化和封装技术,可以将用户的数据流量封装在隧道中,在物理网络上透明传输。
相比较传统的分组转发技术,L2VPN能够提供更好的网络性能和灵活性。
二、L2VPN的实现方式L2VPN可以通过多种协议来实现,其中最常用的协议有以下几种:1. Pseudowire(伪线)技术Pseudowire技术是L2VPN的基础,它模拟了一条虚拟线路,将远端用户的数据流量封装在这条伪线上进行传输。
Pseudowire可以通过不同的封装方式实现不同的功能,如将以太网封装在MPLS中实现VPLS(Virtual Private LAN Service),或将以太网封装在IP中实现IPVPN。
2. Ethernet over MPLS(EoMPLS)EoMPLS是一种将以太网数据封装在MPLS协议中传输的技术。
在EoMPLS中,以太网帧的MAC头被封装在MPLS标签中,通过MPLS网络进行透明传输。
EoMPLS可以模拟一个以太网连接,将远端用户连接到一个虚拟的二层网络。
3. Virtual Private LAN Service(VPLS)VPLS是一种基于MPLS的L2VPN技术,它可以将多个以太网用户连接在同一个虚拟的二层网络中。
VPLS通过使用MP-BGP (Multiprotocol Border Gateway Protocol)学习和分发用户的MAC地址,实现了用户之间的二层透明传输。
三、L2VPN的工作原理L2VPN的工作原理可以归结为以下几个步骤:1. 封装数据L2VPN将用户数据封装在一个伪线中进行传输。
⽹路七层协议图之每⼀层对应的设备及功能OSI七层协议在⽹络传输中扮演的⾓⾊及功能:7、应⽤层——–电脑的各种数据6、表⽰层 ——– 处理⽤户信息的表⽰问题,如编码、数据格式转换和加密解密5、会话层——–会话管理、会话流量控制、寻址、寻址4、传输层——–各种协议(TCP/IP中的TCP协议、Novell⽹络中的SPX协议和微软的NetBIOS/NetBEUI协议。
)3、⽹络层——–路由器(通过路由选择算法,为报⽂或分组通过通信⼦⽹选择最适当的路径)2、数据链路层—-交换机/⽹桥(负责建⽴和管理节点间的链路,通过各种控制协议,将有差错的物理信道变为⽆差错的、能可靠传输数据帧的数据链路)1、物理层——–集线器/中继器(利⽤传输介质为数据链路层提供物理连接,实现⽐特流的透明传输。
)1、物理层物理层协议:物理层:(典型设备:中继器,集线器、⽹线、HUB) 数据单元:⽐特(Bit)以太⽹物理层、调制解调器、PLC 、SONET/SDH 、G.709 、光导纤维、同轴电缆、双绞线1.1介绍:在OSI参考模型中,物理层(Physical Layer)是参考模型的最低层,也是OSI模型的第⼀层。
物理层的主要功能是:利⽤传输介质为数据链路层提供物理连接,实现⽐特流的透明传输。
物理层的作⽤是实现相邻计算机节点之间⽐特流的透明传送,尽可能屏蔽掉具体传输介质和物理设备的差异。
使其上⾯的数据链路层不必考虑⽹络的具体传输介质是什么。
“透明传送⽐特流”表⽰经实际电路传送后的⽐特流没有发⽣变化,对传送的⽐特流来说,这个电路好像是看不见的。
物理层概述:这⾥写图⽚描述1.2、物理层主要功能:功能⼀:为数据端设备提供传送数据的通路功能⼆:传输数据这⾥写图⽚描述【转】OSI第⼀层物理层介绍集线器/中继器介绍:1.中继器(repeater)中继器是位于第1层(OSI参考模型的物理层)的⽹络设备。
当数据离开源在⽹络上传送时,它是转换为能够沿着⽹络介质传输的电脉冲或光脉冲的——这些脉冲称为信号(signal)。
以太⽹模块是什么,以太⽹模块的功能和特点
以太⽹模块是什么
的主要作⽤就是对以太⽹上的传输信号进⾏调试和解调试,把信号转换成可以让CPU识别和处理的有效数据的模块。
以太⽹上的数据是以⼀种差分的形式传递的。
处理器⽆法识读。
所以需要以太⽹模块,将⽹络线上的信号转换为CPU能够识别的0和1这样的数据。
同时有些以太⽹模块也按照TCP/IP协议,将⽹络上传递的数据进⾏转换。
以太⽹模块的功能
随着物联⽹⾏业的不断发展,⽣产以太⽹模块的⼚家也越来越多,不同的以太⽹模块功能也有所不同,由成都众⼭⽣产的ZS-Ethernet-801嵌⼊式以太⽹模块,采⽤⼯业级设计,拥有超⼩,⽀持TCP/UDP协议双向透明传输,TTL串⼝转以太⽹通讯,采⽤⾼品质元器件配置。
以太网透明传输协议
本文介绍以太网透明传输协议内容,让用户了解在串口转以太网协议上如何实现串口数据内容到以太网数据内容转化。
1.以太网透明传输的概念
通信协议是一种分层结构的,根据ISO的7层模型通信协议分为物理层、数据链路层、网络层、传输层、会话层、表示层、应用层。
如果用户想通过卓岚ZLSN模块的以太网透明传输协议实现串口数据和以太网数据的转发,应用模型如图1所示。
图1. 以太网透明传输演示图
所谓以太网网络透明传输协议(简称为“以太网透传”)是指网络协议的应用层数据和串口协议的用户数据完全一致,不存在格式转化问题,形象地比喻为“透明传输”。
比如网络数据应用层数据内容为字符“a”,那么串口协议的用户层数据也是“a”,用户电路板收到的数据也是字符“a”。
2.如何使用透明传输协议
那么用户数据是如何从计算机传给用户串口板的呢?这首先需要了解网络协议和串口协议的区别。
1.网络(TCP/IP)协议分为以太网层、IP层、TCP或UDP层、用户数据层。
以太网层表示了网络通信介质,例如光纤、无线、有线以太网线。
IP层中的关键点是包含了IP地址,IP地址是每个网络设备的地址。
TCP或者UDP层的关键点是端口,端口用于区分一个IP地址下的多个应用程序。
用户数据层携带用户需要传输的数据。
2.相对而言串口协议,没有IP层和TCP层这两层。
这里有两个问题:
1.串口协议如何弥补网络协议缺失的IP层和TCP层?实际上在ZLSN模块中已经保存了IP层、TCP层的关键点——IP地址和端口。
每个ZLSN模块都具有一个可以设定的IP地址,同时也有一个TCP或者UDP的端口,这样计算机就可以通过这个“IP+端口”将网络数据发送给ZLSN模块。
同样地ZLSN模块也保存了目的计算机的IP和端口,这样也可以将数据发送给计算机。
联网模块内部保存的IP和端口解决了串口协议中没有IP和端口的问题。
2.如何使用透明传输协议?
2.1对于计算机程序设计人员来说调用Socket API函数send()和recv()即可发送网络层数据,例如执行send("a")就可以将字符“a”发送到用户串口电路板。
用户调用recv(buf)即可将串口电路板发送的数据接收到缓冲区buf中。
2.2另外用户也可以使用卓岚网络调试工具——SocketDlgTest。
通过该工具用户可以类似串口调试工具,进行发送和接受应用层数据。
2.3更为简单的方式是用户可以使用虚拟串口技术(ZLVircom程序)将网络端也模拟为一个串口,计算机还是用串口进行收发。
3.其它转化协议
除了“以太网透明传输协议”以外,ZLSN模块也支持更为复杂的协议,例如“Modbus TCP转ModbusRTU协议”,“Realcom协议”等,不同的转化协议在特定的应用中有各自的用途,但是“以太网透明传输协议”是最为简单易用的协议。