招聘部组织架构岗位定编及高管招聘流程图
- 格式:doc
- 大小:29.00 KB
- 文档页数:5
招聘流程图招聘流程图
1. 需求分析
- 确定招聘岗位及职位要求
- 确定招聘数量及时间节点
2. 编制招聘计划
- 制定招聘渠道和方式
- 确定招聘预算
- 设定招聘时间表
3. 招聘广告发布
- 编写招聘广告文案
- 在各大招聘网站和社交媒体发布招聘广告 - 定期更新招聘进展信息
4. 简历筛选
- 对收到的简历进行初步筛选
- 根据招聘要求和岗位需求进行评估
- 选择符合条件的简历进入下一轮面试
5. 面试
- 安排面试时间和地点
- 邀请面试者参加面试
- 进行面试评估和记录
6. 终面及录用决策
- 安排终面并对候选人进行综合评估 - 进行录用决策
- 与候选人沟通并发放录用通知书7. 入职准备
- 安排入职培训计划
- 准备入职材料和办理相关手续
- 安排新员工的工作岗位和工作环境8. 跟踪和反馈
- 跟踪新员工的适应情况
- 收集员工的反馈意见和建议
- 不断改进招聘流程和提高招聘效果。
招聘部组织架构岗位定编及高管招聘流程图招聘部架构图及人员编制情况预案一、组织架构图二、人员编制情况及岗位职责1、招聘经理1人职位概要全面协助董事长做好集团中高层招聘工作,满足公司人才需求工作内容__%对公司招聘的中高层职位进行分析,分析此职位的岗位职责、任职资格及核心要求;__%安排猎头专员通过各种渠道搜索适合职位的候选人及简历;__%和候选人对此职位意向进行沟通,确认候选人简历中有疑问的地方并通过询问候选人以往的工作经历、工作职责及业绩、自我评价、个性特点、管理风格、优势等以确定是否符合该职位;__%甄选候选人,根据职位的需求和特点,按照1:3的比例对候选人进行背景调查(每一个职务对三个以上候选人进行背景调查);__%安排、监督猎头专员进行背景调查,审查猎头专员的背景调查报告;__%按照1:2的比例推荐给董事长并协调安排面试,及时解决面试过程中遇到的问题;__%协调薪酬谈判和录用通知书的签署;__%候选人入职前、中、后的跟踪服务。
2、猎头主管(高级招聘专员)2人岗位概要协助招聘经理做好中高层简历筛选、背景调查工作内容__%参与公司招聘的中高层职位分析,分析此职位的岗位职责、任职资格及核心要求;的比例通过各种渠道搜索适合职位的候选人及简历;1:10按照__%.__%和候选人对此职位进行初步意向沟通,协助招聘经理确认候选人简历中有疑问的地方并通过询问候选人以往的工作经历、工作职责及业绩、自我评价、个性特点、管理风格、优势等以确定是否符合该职位;__%通过电话、实地考察、业内熟人了解等途径,真实掌握候选人工作经历信息(含职务、任职时间、工作业绩、职业操守等),并形成书面背景调查报告;;__%协助招聘经理安排面试,及时解决面试过程中遇到的问题;__%协助招聘经理对候选人进行入职前、中、后的跟踪服务。
任职资格:教育背景:◆人力资源、管理或相关专业大学本科以上学历。
培训经历:◆受过现代人力资源管理技术、劳动法律法规、财务会计基本知识等方面的培训。
..企业招聘流程一、业务流程1.1 工作分析 1.2 拟定用人需求 1.3 审核用人需求 1.4 审批用人需求1.5 招聘服务申请 1.6 审核招聘服务申请1.需求2.3拟定招聘方案2.2 分析招聘渠道、方式 2.1 储备人才查找(含费用预算)2.招募2.4 审批招聘方案 2.5 发布招聘信息 2.6 应聘登记、人才搜索3.4 试操作 3.3 分店面试 3.2 人力面试 3.1 资格审查、初步筛选3.甄选4.1 录用意向洽谈 4.2 确定拟录用人选 4.3 录用审批4.8 入职培训 4.7 职前简介 4.6 录用手续办理 4.5 体检 4.4 录用通知4.录用5.1 制订培训计划 5.2培训与追踪 5.3 规划职业生涯5.试用5.6 考评结果审批 5.5 试用期考评 5.4 试用期总结与自评5.7 转正通知 5.8 办理相关手续二、工作内容及工作依据流程环节部门、岗位1. 1.1 工作分用人部门负责需析求1.2 拟定用用人部门负责人人需求1.3 审核用人力资源部门负责人需求人单位负责人或授权人集团人力资源部门..工作内容工作依据对部门工作进行分析,确定所需岗位、人数、工1、公司与部门目标,部门职作内容、任职要求等。
责;2、人力资源规划/计划,部门人力资源现状1、根据工作分析填写《用人需求申请表》,交人1、工作分析结果。
力资源部门。
2、薪酬福利制度。
2、一般岗位提前 1 个月、重要岗位提前 2 个月、员工异动后补员及时提出。
1、用人需求的必要性;1、人力资源规划、计划。
2、需求表描述的准确性、合理性;3、需求表填2、定岗、定编、工作分析。
写的规范性。
3、薪酬福利制度。
按上栏内容审核部门负责人以上人员的用人需求。
审查本单位部门负责人以下员工用人需求的必1、人力资源规划、计划。
要性、报批程序的规范性,并批示。
2、工作分析结果。
审查各单位部门及以上负责人用人需求的必要性、报批程序的规范性,并批示。
单位负责人或其授权人董事局主席或其授权人2. 2.1 储备人招才查找聘2.2 分析招募渠道与方式2.3 拟定招聘方案(含费用预算)2.4 审批招聘方案2.5 发布招聘信息2.6 应聘登记、人才搜索单位人力资源部门招聘人员集团人力资源部门招聘人员及负责人集团 /单位人力资源部门招聘人员集团 /单位人力资源部门招聘人员集团 /单位人力资源部门招聘人员集团 /单位负责人或其授权人集团 /单位人力资源部门负责人集团 /单位人力资源部门招聘人员集团 /单位人力资源部门招聘人员单位人力资源部门根据集团总部与各单位招聘集团人力资源部门组织招聘职责分工,向集团人力资源部门提交招聘服务申的范围:请。
企业招聘流程一、业务流程1.1工作分析1.2拟定用人需求2.4审批招聘方案1.5招聘服务申请1.3审核用人需求1.4审批用人需求1.6审核招聘服务申请2.1储备人才查找1.需求3.4试操作 2.3拟定招聘方案(含费用预算)3.1资格审查、初步筛选3.3分店面试 2.5发布招聘信息3.2人力面试 2.6应聘登记、人才搜索2.2分析招聘渠道、方式 4.1录用意向洽谈 4.2确定拟录用人选 4.7职前简介 4.3录用审批4.8入职培训5.1制订培训计划4.6录用手续办理 4.5体检 4.4录用通知5.2培训与追踪 5.3规划职业生涯5.4试用期总结与自评5.5试用期考评 5.6考评结果审批5.7转正通知 5.8办理相关手续2.招募3.甄选4.录用5.试用二、工作内容及工作依据流程环节部门、岗位工作内容工作依据1.需求1.1工作分析用人部门负责对部门工作进行分析,确定所需岗位、人数、工作内容、任职要求等。
1、公司与部门目标,部门职责;2、人力资源规划/计划,部门人力资源现状1.2拟定用人需求用人部门负责人1、根据工作分析填写《用人需求申请表》,交人力资源部门。
2、一般岗位提前1个月、重要岗位提前2个月、员工异动后补员及时提出。
1、工作分析结果。
2、薪酬福利制度。
1.3审核用人需求人力资源部门负责人1、用人需求的必要性;2、需求表描述的准确性、合理性;3、需求表填写的规范性。
1、人力资源规划、计划。
2、定岗、定编、工作分析。
3、薪酬福利制度。
单位负责人或授权人按上栏内容审核部门负责人以上人员的用人需求。
集团人力资源部门审查本单位部门负责人以下员工用人需求的必要性、报批程序的规范性,并批示。
1、人力资源规划、计划。
2、工作分析结果。
审查各单位部门及以上负责人用人需求的必要性、报批程序的规范性,并批示。
单位负责人或其授权人单位人力资源部门招聘人员单位人力资源部门根据集团总部与各单位招聘职责分工,向集团人力资源部门提交招聘服务申请。
.. WORD. 格式整理 ..企业招聘流程一、业务流程1.1 工作分析 1.2 拟定用人需求 1.3 审核用人需求 1.4 审批用人需求1.5 招聘服务申请 1.6 审核招聘服务申请1.需求2.3拟定招聘方案2.2 分析招聘渠道、方式 2.1 储备人才查找(含费用预算)2.招募2.4 审批招聘方案 2.5 发布招聘信息 2.6 应聘登记、人才搜索3.4 背景调查 3.3 复试 3.2 初试 3.1 资格审查、初步筛选3.甄选4.1 录用意向洽谈 4.2 确定拟录用人选 4.3 录用审批4.8 入职培训 4.7 入职面谈 4.6 录用手续办理 4.5 体检 4.4 录用通知4.录用5.1 制订试用目标计划 5.2 指导与面谈 5.3 规划职业生涯5.试用5.6 考评结果审批 5.5 试用期考评 5.4 试用期总结与自评5.7 考评结果通知 5.8 办理相关手续.. WORD. 格式整理 ..二、工作内容及工作依据流程环节部门、岗位1. 1.1 工作分用人部门负责需析求1.2 拟定用用人部门负责人人需求1.3 审核用人力资源部门负责人需求人单位负责人或授权人集团人力资源部门工作内容工作依据对部门工作进行分析,确定所需岗位、人数、工1、公司与部门目标,部门职作内容、任职要求等。
责;2、人力资源规划 /计划,部门人力资源现状1、根据工作分析填写《用人需求申请表》,交人1、工作分析结果。
力资源部门。
2、薪酬福利制度。
2、一般岗位提前 1 个月、重要岗位提前 2 个月、员工异动后补员及时提出。
1、用人需求的必要性;1、人力资源规划、计划。
2、需求表描述的准确性、合理性;3、需求表填2、定岗、定编、工作分析。
写的规范性。
3、薪酬福利制度。
按上栏内容审核部门负责人以上人员的用人需求。
审查本单位部门负责人以下员工用人需求的必1、人力资源规划、计划。
要性、报批程序的规范性,并批示。
2、工作分析结果。
审查各单位部门及以上负责人用人需求的必要性、报批程序的规范性,并批示。
二、招聘篇(一)总部人事部招聘工作流程图:(二)人员招聘录用流程图(四)岗位类别序列表(五)招聘录用制度与流程1、招聘目标1.1通过系统化的招聘管理保证公司招聘工作的质量,为公司选拔出合格、优秀的人才;1.2招聘流程规定人员需求的申请、招聘渠道的评估、面试程序及录用程序,以保证招聘工作满足公司需要并有效控制成本。
2、招聘原则2.1计划、精简、效率原则2.1.1人事规划体现机构精简和人员精简原则,确保每一位员工都高效率的工作;2.1.2人事部门按照公司发展目标编制招聘计划,据此进行招聘录用工作。
2.2因岗设人原则2.2.1人事部门按照公司上级部门的要求对相应岗位的工作性质、责任大小、难易程度确定岗位标准,录用适当人选。
2..3公开、平等、竞争、择优原则2.3.1公司内符合招聘职位要求及表现卓越的合适员工,将优先给予选拔、晋升。
其次再考虑面向社会公开招聘;2.3.2公司录用的员工须参加公司的二次以上的面试,通过多次竞争、多次筛选,达到择优目的。
2.4德才兼备原则2.4.1公司录用的员工必须具备符合公司要求的文化知识、专业知识和业务技能;2.4.2公司录用的员工必须具备良好的思想品德。
2.5考用一致原则2.5.1公司对应聘人员的整体素质进行综合评估;2.5.2公司对应聘人员的评估应以招聘岗位的标准和岗位要求为主。
2.6招聘录用原则2.6.1基本资格条件✧户籍要求:户籍不论(财务人员需沪籍);✧学历要求:总监级以上职位需本科以上学历(含本科),经理级、副理级职位需大专以上学历(含大专),一般管理人员需中专以上学历(含中专),专业技术人员与特殊岗位人员须有相关的专业证书;✧年龄要求:按各岗位、职位、工种要求设置年龄,但年龄的范围为16周岁以上(含16周岁)~45周岁以下(含45周岁)。
特殊人才不受上限年龄;✧专柜美容师的年龄上限为35周岁✧健康要求:身体健康,无慢性病史及传染病,无不良嗜好;✧品德要求:遵纪守法,品行端正,有较强的工作责任心,无任何不良记录。
招聘流程的流程图与模板招聘是一个组织内部管理的重要环节,对于公司的发展至关重要。
一个完善的招聘流程可以帮助公司高效地选拔合适的人才,提高公司的竞争力。
本文将介绍招聘流程的流程图和模板,以帮助您更好地组织和管理招聘工作。
一、招聘流程图招聘流程图是一种直观的图示工具,可以清晰地展示整个招聘过程中的各个环节和步骤。
以下是一个常见的招聘流程图示例:1. 确定招聘需求- 分析岗位要求- 确定招聘人数- 制定岗位描述和职责- 设定薪资待遇范围2. 招聘渠道策划- 选择合适的招聘渠道(如招聘网站、社交媒体等)- 确定招聘广告的发布时间和方式- 编写招聘广告内容3. 筛选简历与初步筛选- 收集申请者的简历- 初步筛选符合条件的简历- 通过电话或电子邮件与申请者联系并排定面试时间4. 面试评估- 进行面试与评估- 记录面试结果与评估反馈- 确定候选人名单5. 二面及更多面试- 安排二面和更多面试- 进一步评估候选人的能力和适应性6. 录用及发放offer- 确定最终录用人选- 向录用人发送offer并确保双方达成一致- 安排入职事宜7. 入职准备与跟踪- 提供入职指引和必要的培训计划- 跟踪新员工的入职情况和适应度- 完成相关的入职手续8. 招聘流程反馈与改进- 收集并分析招聘流程中的反馈意见- 针对问题和改进建议进行改进- 持续优化招聘流程二、招聘流程模板招聘流程模板是一个规范化的文档,详细描述了每个招聘环节的步骤和要求。
以下是一个招聘流程模板的示范:1. 招聘需求确定:- 岗位名称:- 招聘人数:- 岗位要求:- 薪资待遇范围:2. 招聘渠道策划:- 招聘渠道:- 招聘广告发布时间和方式:- 招聘广告内容:3. 简历筛选与初步筛选:- 收集简历的方式:- 简历筛选标准:- 与申请者联系的方式及时间要求:4. 面试评估:- 面试形式(例如面对面、电话面试等): - 评估指标和标准:- 面试记录和评估反馈的方法:5. 二面及更多面试:- 安排二面和更多面试的时间和地点:- 进一步评估的重点和方法:6. 录用与发放offer:- 确定最终录用人选的方式和时间:- 发送offer的形式和内容:- 确保录用人与公司达成一致的步骤:7. 入职准备与跟踪:- 提供入职指引和培训计划的方式:- 跟踪新员工的入职情况和适应度的方法:- 完成入职手续的要求:8. 招聘流程反馈与改进:- 收集反馈意见的方式和渠道:- 招聘流程改进的项目和计划:- 改进措施的执行和评估方式:以上是一个简单的招聘流程模板示例,您可以根据公司的具体情况和需求进行相应的调整和完善。
企业招聘流程一、业务流程- -可修编.- -可修编.二、工作容及工作依据- -可修编.- -可修编.- -可修编.- -可修编.- -可修编.三、附注(一)招聘用语规1、集团介绍:对应聘者简单介绍集团时,以以下容为标准:**集团子1993年起步,现已成长为跨地区、跨行业、具规模的企业集群。
现有成员单位及控股、参股企业、分支机构20余家,主营业务保罗轻金属(电解铝、铝板带箔)、电力、基本建设、软件及自动化、新型材料等五大核心产业,总资产40余亿元,年销售收入25余亿元。
集团遵循“致力于社会和国家经济的发展进步,着眼于客户和市场价值的不断提升,立足于企业和股东利益的持续实现”的企业宗旨,在“为社会创造价值、为企业创造效益、为员工创造机会”的企业使命的,坚持不懈的推进经营、管理和研发创新,实现超常规发展,预计到2009年,年销售收入将达到140亿元,利润9亿元。
集团总部坐落于**国家高新技术开发区,拥有占地60余亩的五强科技园,院区办公、生活、健身设施齐全,员工公寓达到三星级酒店标准,工作环境优越。
2、面试同志用语规(1)对在网上或者通过其他途径应聘了解集团职位的应聘者,用于如下:您好,是**先生(女士)吗?我们通过**(渠道)得到了您的简历,通过对您的简历分析,我们认为您与我们正在招聘的**职位的要求相符,我们计划于**月**日组织面试,希望您能参加。
如果对方答应:感您对我们工作的支持。
如果对方拒绝:我们期待着下次能与您合作。
3、面试用语规(1)欢迎词:您好,非常感您的光临。
您好,感您在百忙中抽出时间参加面试。
(2)结束用语:- -可修编.综合性用语:非常感您宝贵的时间,如果有意向,我们将会在**时间通知您,请您走好,。
对比较满意的应聘者:非常感您宝贵的时间,我们今天谈的比较愉快,彼此也有了一定的了解,我们认为您基本符合我们岗位的要求我们将在**时间作出决定并通知您,请您回家后认真考虑下,请您走好,。
公司职位聘用流程图
公司职位聘用流程图
公司职位聘用流程是指公司在招聘新员工时所遵循的一系列步骤和流程。
以下
是一份常见的公司职位聘用流程图,用于解释招聘过程中各个环节的顺序和关联。
1. 确定职位需求:
- 公司管理层和部门负责人确定新职位的需求,包括职位名称、职责和要求等。
2. 编制职位描述:
- 人力资源部门与相关部门合作,编制详细的职位描述,包括工作职责、技能要求和任职资格等。
3. 发布招聘广告:
- 人力资源部门将招聘广告发布到各种渠道,如公司网站、招聘网站或社交媒体等,以吸引潜在候选人。
4. 筛选简历:
- 人力资源部门收集和筛选申请人的简历,根据职位要求和资格进行初步筛选。
5. 面试候选人:
- 人力资源部门与相关部门安排面试,对通过简历筛选的候选人进行面试。
6. 进行背景调查:
- 人力资源部门进行候选人的背景调查,包括教育背景、工作经历和个人背景等。
7. 提供职位:
- 公司向最终候选人提供职位,并与其商讨薪资和福利等细节。
8. 签订合同:
- 公司与候选人签订正式的雇佣合同。
9. 入职安排:
- 人力资源部门与相关部门合作,为新员工安排入职培训和办理入职手续。
10. 跟进入职情况:
- 人力资源部门跟进新员工的入职情况,包括适应度和满意度等。
以上是一份常见的公司职位聘用流程图,不同公司可能会根据自身需求和流程
进行调整和变化。
通过遵循职位聘用流程,公司可以更高效地招聘合适的员工,提高招聘质量和效果。
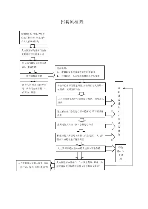
招聘流程图招聘流程1、凡公司招聘人员(新增编人员或编制内缺员)必需由用人部门填写《人员需求申请表》,经主管领导审核,送人力资源部查对是不是符合定编定岗要求,再由人力资源主管报公司总领导批准并列入公司招聘打算。
审批流程:用人部门申请→主管领导审核→人力资源部主管审核→总领导审批。
二、人力资源部主管依照人员需求申请表拟订招聘方案和职位说明,与相适合的媒介统一发布公布招聘信息或从公司人材库里选聘适合的人材。
3、聘用各级员工以道德优秀、学识、外形、能力、体会、体魄适合于所任职位为原那么。
4、*日常招聘:应聘人员由人力资源部接待、预约,指导应聘人员填写求职申请表,调查了解核实应聘人员所提供信息的真实性,初步挑选后,再协同用人部门复试,最后上报总领导指示。
*集中招聘:应聘人员由人力资源部初选,再由用人部门、公司领导成立招聘考核组,由考核组集中面试考评,并将集体研究意见报总领导指示。
*如遇专门优秀人材,人力资源部主管可随时向总领导汇报,采纳简易程序,以幸免错失人材。
五、试用人员到职前应到公司人力资源部报到,经人力资源部进行企业文化教育和岗前公司制度培训合格,并将员工试用通知表送交用人部门后方可上岗。
六、试用人员经试用考核合格者(表现优秀者可建议缩短试用期),在试用期满后由其部门主管及时填报员工转正审批表,由试用者本人填写个人评定及个人总结,经人力资源部主管审核,呈报公司领导批准后办理有关转正员工的手续。
7、在试用期间,假设试用人员表现欠佳者,应由其直属主管建议延长试用或停止试用,并在员工试用通知表上签署意见,由试用者本人签字确认,经人力资源部主管审核后辞退。
八、如各部门未按上述规定流程擅自聘用人员,公司将不予认可,并非予计发工资。
九、公司一样员工由人力资源部及部门面试合格后,上报总领导签字,批准录用;主管以上员工需人力资源部及部门面试完后,由总领导进行最后面试确认方可录用。
在进行薪酬治理时,应结合企业在册员工薪酬和各职位特点平稳考虑,专门是新入职的员工一、新员工起薪的标准▲考察以下几个因素:A、员工的生活费用,若是薪酬不能够让员工维持大体的正常生活,员工可定会另谋前途;B、同地域同行业的市场行情,若是企业的起薪低于其他企业的一样水平,那么会增大招聘的难度;C、新员工的实际工作能力也超级重要,在知足前两个条件的基础上,应该尽可能的与公司一样能力的老员工持平,考虑到工作年限的不同,能够比老员工低一些。
招聘部架构图及人员编制情况预案
一、组织架构图
二、人员编制情况及岗位职责
1、招聘经理1人
职位概要
全面协助董事长做好集团中高层招聘工作,满足公司人才需求
工作内容
__%对公司招聘的中高层职位进行分析,分析此职位的岗位职责、任职资格及核心要求;__%安排猎头专员通过各种渠道搜索适合职位的候选人及简历;
__%和候选人对此职位意向进行沟通,确认候选人简历中有疑问的地方并通过询问候选人以往的工作经历、工作职责及业绩、自我评价、个性特点、管理风格、优势等以确定是否符合该职位;
__%甄选候选人,根据职位的需求和特点,按照1:3的比例对候选人进行背景调查(每一个职务对三个以上候选人进行背景调查);
__%安排、监督猎头专员进行背景调查,审查猎头专员的背景调查报告;
__%按照1:2的比例推荐给董事长并协调安排面试,及时解决面试过程中遇到的问题;__%协调薪酬谈判和录用通知书的签署;
__%候选人入职前、中、后的跟踪服务。
2、猎头主管(高级招聘专员)2人
岗位概要
协助招聘经理做好中高层简历筛选、背景调查
工作内容
__%参与公司招聘的中高层职位分析,分析此职位的岗位职责、任职资格及核心要求;__%按照1:10的比例通过各种渠道搜索适合职位的候选人及简历;
__%和候选人对此职位进行初步意向沟通,协助招聘经理确认候选人简历中有疑问的地方并通过询问候选人以往的工作经历、工作职责及业绩、自我评价、个性特点、管理风格、优势等以确定是否符合该职位;
__%通过电话、实地考察、业内熟人了解等途径,真实掌握候选人工作经历信息(含职务、任职时间、工作业绩、职业操守等),并形成书面背景调查报告;;
__%协助招聘经理安排面试,及时解决面试过程中遇到的问题;
__%协助招聘经理对候选人进行入职前、中、后的跟踪服务。
任职资格:
教育背景:
◆人力资源、管理或相关专业大学本科以上学历。
培训经历:
◆受过现代人力资源管理技术、劳动法律法规、财务会计基本知识等方面的培训。
经验:
◆(3)年以上企业招聘工作经验,有猎头工作经验优先。
技能技巧:
◆对人才的发现与引进等具有丰富的实践经验;
◆对招聘事务性工作有娴熟的处理技巧;
◆熟悉企业的招聘流程及各种招聘渠道;
◆熟悉计算机操作办公软件及相关的人事管理软件;
◆具有较好的英文能力。
态度:
◆人际关系良好,具备很强的责任感和事业心;
◆较高的敏感度及一定的判断能力;
◆性格外向,有良好的职业道德和职业操守,擅于沟通与协调,良好的团队合作意识。
工作条件:
工作场所:办公室。
环境状况:舒适。
危险性:基本无危险,无职业病危险。
3、招聘主管(丁娜负责)
职位概要:
协助招聘经理制定并实施职责范围内各项招聘计划,完成招聘目标。
工作内容:
__%根据现有编制及业务发展需求,协调、统计各部门经理级别以下、专员级别以上岗位的招聘需求,编制招聘计划;
__%协助招聘经理建立和完善公司的招聘流程和招聘体系;
__%利用各种招聘渠道发布招聘广告,寻求招聘机构;
__%进行聘前测试和简历甄别工作;
__%协助招聘经理对一般岗位执行招聘、甄选、初试面试工作;
__%充分利用各种招聘渠道满足公司的人才需求;
__%建立后备人才选拔方案和人才储备机制。
任职资格:
教育背景:
◆人力资源、管理或相关专业大学本科以上学历。
培训经历:
◆受过现代人力资源管理技术、劳动法律法规等方面的培训。
经验:
◆(3)年以上企业招聘工作经验。
技能技巧:
◆对常规岗位招聘具有丰富的实践经验;
◆对招聘事务性工作有娴熟的处理技巧;
◆熟悉企业的招聘流程及各种招聘渠道;
◆熟悉计算机操作办公软件及相关的人事管理软件;
◆具有较好的英文能力。
态度:
◆人际关系良好,具备很强的责任感和事业心;
◆较高的敏感度及一定的判断能力;
◆性格外向,有良好的职业道德和职业操守,擅于沟通与协调,良好的团队合作意识。
工作条件:
工作场所:办公室。
环境状况:舒适。
危险性:基本无危险,无职业病危险。
高管招聘流程图。