大公司的全套管理工作流程图
- 格式:ppt
- 大小:1.30 MB
- 文档页数:158
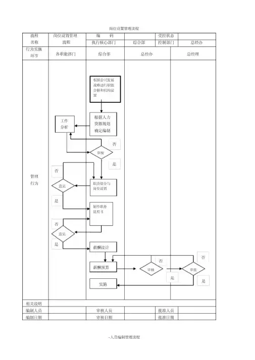
xhminxhmin岗位设置管理流程流程岗位设置管理编码受控状态名称流程履行中心部门行政人力资控制部门总经办源部行为实行环节各职能部门行政人力资源部总经办总经理依据公司发展战略进行职能分解和机构设置依据人力工作资源规划剖析确立编制否审察是否管理行为职责区分与建议岗位设置是制作职务说明书否建议是薪酬设计薪酬估算实行有关说明编制人员审察人员编制日期审察日期否否审察审批是是赞同人员赞同日期流程名称行为实行环节人员编制管理流程各用人部门xhminxhmin· 人员编制管理流程编码受控状态履行中心部门行政人力资控制部门总经办源部行政人力资源部总经理办公会议总经理进行各部门工作量剖析否对本部门编制提出建议提出编制草案拟订详细的人员编制,并编制职位说明审议是管理行为有关说明编制人员编制日期否是审察签批否是履行编制审察人员赞同人员审察日期赞同日期·流程增添编制申请名称流程行为实行环节各用人部门提出增添编制的申请提出增编岗位人员素质要求管理行为有关说明编制人员编制日期编码受控状态履行中心部门各用人部门控制部门总经办行政人力资源部总经理办公会议总经理否否是是审察审议审批否是内部招聘流程内聘决议外聘外部招聘流程审察人员赞同人员审察日期赞同日期·用人申请流程流程名称行为实行环节管理行为用人申请编码流程履行中心部门用人部门部门负责人保持现状不影因调换、流响失等原由出工现职位空缺作报告部门负责人判断影响工作填写用人申请表受控状态用人部门控制部门分管经理分管部门行政人力资源部否是审察核实否是实行招聘流程有关说明编制人员审察人员赞同人员编制日期审察日期赞同日期· 公司内部招聘流程xhminxhmin流程公司内部招聘编码受控状态名称流程履行中心部门行政人力资控制部门源部行为实行用人部门行政人力资源部公司职工环节公司外面招聘用工申请程序流程决定外聘判断决定内聘对内公布招聘报名,填写应启事聘登记表管理行为用人部门面试,人力资源部供给有关支持面试人员挑选通知职员,并办理调换手续有关说明编制人员审察人员赞同人员编制日期审察日期赞同日期总经办职工原到任部门与职工沟通,必需时请人力资源部协调关键人员不能调离判断非关键人员名称流程履行中心部门行政人力资控制部门总经办源部行为实行用人部门行政人力资源部应聘人员分管经理环节总经办公司内部招聘程序用工申请流程决定内聘判断决定外聘对外公布招聘报名,填写应启事聘登记表管理行为用人部门面试,人力资源部供给有关支持面试否人员挑选审察是通知报到报到入职流程有关说明编制人员审察人员赞同人员编制日期审察日期赞同日期·流程新职工入职编码受控状态名称流程履行中心部门行政人力资源控制部门总经办部行为实行行政人力资源部用人部门环节新职工建档工作证办理发放职工手册配合行政部办理后勤工作管理制度培训行为人力资源部和用人部门配合进行岗前培训签署试用合同工作关系介绍工作交接存档试用试用职工转正流程有关说明编制人员审察人员赞同人员编制日期审察日期赞同日期· 劳动合同管理流程名称流程行为实行有关职工环节新职工报到入职试用期满管理合同期满行为能否续签合同否有关说明编制人员编制日期xhminxhmin履行中心部门行政人力资源部部门负责人分管领导不合格查核合格是审察人员审察日期·新职工试用期满转正流程控制部门总经办行政人力资源部签署试用合同解雇流程签校正式合同劳动仲裁机构署名存案存档办理离职手续赞同人员赞同日期行为实行用人部门试用期满新职工行政人力资源部分管经理厂长环节总经办填写转正申请转正查核评估否是是是管理能否审审察行为合格批否是否能否延伸试用期留用否签校正式合同员工解雇流程劳动仲裁机构署名存案存档有关说明编制人员审察人员赞同人员编制日期审察日期赞同日期·部行为实行职工原工作部门公司职工行政人力资源部接收部门环节负责人负责人依据职工职业生涯规对轮换提出划,编制轮对轮换提出建议建议换计划否否能否能否赞同赞同是否是管理征采职工意能否见行为赞同是填写轮换表办理手续做好工作安排,准备接收工作安排向原部门、接收和交接接收部门下达通知报到流程档案记录有关说明编制人员审察人员赞同人员编制日期审察日期赞同日期·名称行为实行环节管理行为流程被调换职工调换申请工作交接xhminxhmin履行中心部门人力资资部控制部门总经办调出部门调入部门行政人力资总经理源部否否否否审批审批审批审批超越是是权限是是下发调动通知职工关系职工接竣工移交作安排薪资关系调整档案记录有关说明编制人员审察人员赞同人员编制日期审察日期赞同日期·职务委任流程流程职务委任编码受控状态名称行为实行环节管理行为流程履行中心部门各职能部门行政人力资源部制定荣膺制度及各级人员任职资格提出任命名单(部门负责人以下职观察位)是否xhminxhmin行政人力资源控制部门部总经理办总经理公会议否否审议审批是是否审议是提请任命主管、财务负责人总经办董事会否签发是委任公司经理下发委任通知否审议否下发任是委任除财务命通知负责人以外审议的部门级管理人员存档存案是有关说明委任权限依据《公司法》而定。
公司十大部门管理流程图大全一.人事部管理流程1.人事管理总流程2.员工招聘与录用管理流程3.员工管理培训流程4.员工考勤管理流程5.员工绩效管理流程6.员工薪酬管理流程7.员工档案管理流程8.员工劳动合同管理流程二.财务管理流程1.财务预算工作流程2.费用报销管理流程3.应付账款管理流程4.应收账款管理流程5.筹资业务管理流程6.记账凭证会计核算流程7.内部财务审计工作流程8.日常税务管理流程三.市场调研部管理流程2.市场预测管理流程3.市场调研方案设计流程4.市场调研问卷设计流程四.产品研发部管理流程2.产品研发立项与策划流程3.产品研发评估流程五.采购管理流程1.采购管理总流程2.采购申请管理流程3.采购询价管理流程4.采购合同管理流程5.采购退货管理流程6.招标采购流程图六.生产部管理流程1.生产订单管理流程2.生产计划管理流程3.生产物料领用流程4.生产作业进度控制流程5.产品检验工作流程6.不合格产品管理工作流程7.生产设备使用管理流程8.安全生产管理流程七.仓储管理流程1.生产型企业物资仓储管理流程2.非生产型企业商品入库管理流程3.物资储位管理流程4.货物成品出库管理流程5.仓库盘点管理流程6.仓库安全管理流程八.销售管理流程1.销售目标与计划管理流程2.客户开发管理流程3.销售拜访管理流程4.订货工作管理流程5.发货工作管理流程6.销售退货管理工作流程7.销售回款工作流程。
公司内部管理流程(大家都说很不错)目录1、行政-01 会议管理工作流程2、行政-02 固定资产管理流程3、行政-03 客户招待管理工作流程4、行政-04 办公用品/物料管理流程5、行政-05 办公设备管理流程6、行政-06 文书档案管理流程7、行政-07 档案借阅管理流程8、行政-08 收文管理工作流程9、行政-09 发文管理工作流程10、行政-10 名片印刷管理流程11、行政-11 宣传物料制作管理流程12、行政-12 宣传品/方案设计工作流程13、行政-13 印章使用管理流程14、储运-01 储运物流管理流程15、储运-02 发货配送工作流程16、人事-01 组织结构设计工作流程17、人事-02 人力资源规划工作流程18、人事-03 事档案管理工作流程19、人事-04 考勤管理工作流程20、人事-05 培训计划管理工作流程21、人事-06 员工招聘管理工作流程22、人事-07 员工录用管理工作流程23、人事-08 员工绩效考核管理工作流程24、人事-09 劳动合同管理工作流程25、人事-10 员工出差管理工作流程1、会议管理流程编号:行政-01-步骤表/流程图编制日期:2011-9-3此处会议性质为:招商会、展会、联谊会、客户答谢会等大型会议。
办公会议流程在“另注”中。
另注:公司内部办公会议流程:具体会议管理工作流程图如下:流程图:相关部门综合部相关领导2、固定资产管理流程编号:行政-02-步骤表/流程图编制日期:2011-9-3流程图:申请部门综合部相关领导3、客户招待管理工作流程编号:行政-03-步骤表/流程图编制日期:2011-08-09流程图:接待部门财务部门相关领导4、办公用品/物料管理流程编号:行政-04-步骤表/流程图编制日期:2011-08-09程图:申请部门综合部相关领导编号:行政-05-步骤表/流程图编制日期:2011-08-11程图:综合部综合部经理总经理编号:行政-06-步骤表/流程图编制日期:2011-08-11总人:综合部行政文员审核人:综合部经理审批人:总经理流程图:相关部门综合部相关领导编号:行政-07-步骤表/流程图编制日期:2011-08-12阅人:各部门申请人审批人:综合部经理、总经理保管人:综合部文员流程图:申请部门综合部相关领导编号:行政-08-流程图编制日期:2011-08-12 流程图:相关部门综合部相关领导编号:行政-09-流程图编制日期:2011-08-12 流程图:相关部门综合部相关领导编号:行政-10-步骤表/流程图编制日期:2011-08-13审批人:总经理制作人:行政文员流程图:申请部门综合部相关领导11、宣传物料制作管理流程编号:行政-11-步骤表/流程图编制日期:2011-08-13流程图:申请部门综合部相关领导12、宣传品/方案设计工作流程编号:行政-12-步骤表/流程图编制日期:2011-08-14流程图:相关部门企划设计部相关领导编号:行政-13-步骤表/流程图编制日期:2011-08-15审批人:总经理、综合部经理制作人:行政文员流程图:用印部门综合部相关领导编号:储运-01-步骤表/流程图编制日期:2011-08-16流程图:相关部门综合部财务部门15、发货配送工作流程编号:储运-02-步骤表/流程图编制日期:2011-08-16流程图:营销中心综合部财务部门16、组织结构设计工作流程编号:人事-01-步骤表/流程图编制日期:2011-08-17流程图:相关部门实施人事部设计公司管理层规划17、人力资源规划工作流程编号:人事-02-步骤表/流程图编制日期:2011-08-17流程图:人力资源现状人力资源规划结果和反馈18、人事档案管理工作流程编号:人事-03-步骤表/流程图编制日期:2011-08-18流程图:员工资料收集建立员工档案档案保管19、考勤管理工作流程编号:人事-04-步骤表/流程图编制日期:2011-08-20流程图:相关部门人事部相关领导编号:人事-05-步骤表/流程图编制日期:2011-08-20流程图:申请部门人事部相关领导编号:人事-06-步骤表/流程图编制日期:2011-08-21流程图:用人部门人事部相关领导编号:人事-07-步骤表/流程图编制日期:2011-08-2123、员工绩效考核管理工作流程编号:人事-08-步骤表/流程图编制日期:2011-08-22编号:人事-09-步骤表/流程图编制日期:2011-08-23流程图:用人部门人事部相关领导编号:人事-10-步骤表/流程图编制日期:2011-08-26流程图:出差部门综合部财务部门相关领导。
岗位设置管理流程增加编制申请流程1存档--------■办理离职手续编制人员审核人员批准人员编制日期审核日期批准日期流程新员工试用期满编码受控状态名称转正流程执行核心部门行政人力资源部控制部门总经办行为实施环节用人部门试用期满新员工行政人力资源部分管经理厂长总经办管理行为新员工报到入职试用期满签订试用合同合同期满员工工作调动流程流程员工工作调动编码受控状态名称流程执行核心部门人力资资部控制部门总经办任命权限根据《公司法》而定。
此处任命范围,不包括股东会、董事会选举人员批准人员 批准日期考勤管理流程流程 考勤管理编 码受控状态名称流程执行核心部门行政人力资源 部 控制部门总经办行为实施 环节各职能部门行政人力资源部总经理办 公会议总经理董事会管理 行为制定晋升 制度及各 级人员任 职资格提 命 ( 负 以 位任命公司经 理下发任命通 知下发任 命通知存档 备案提请任 命主管、 财务负 责人否1 F *任命除财务 负责人之外 的部门级管 理人员相关说明 编制人员 编制日期审核人员 审核日期否否审批审议是 是 否签发是考察否审议 否是出任 名单 部门 责人 下职 是审议审 议-员工加班申请流程流程员工加班申请编码受控状态-员工请假管理流程流程员工请假管理编码受控状态-员工出差管理流程流程员工出差管理编码受控状态-员工绩效考核流程编制人员审核人员批准人员编制日期审核日期批准日期流程 名称薪酬方案审批 流程编 码受控状态执行核心部门行政人力资源 部控制部门总经办行为实施 环节相关部门行政人力资源部 财务部 总经理管理 行为制定考核制度 (含原则、措 施、指标、方法)根据通知 精神,填写 考核表,进 行部门内 考核下达考核 通知否否编制人员审核人员批准人员编制日期审核日期批准日期流程 工资发放流程编码受控状态名称 流程执行核心部门 「行政人力资源部控制部门 总经办 行为实施 环节用人部门行政人力资源部总经办总经理财务部信息支持修正方案t管理 行为否根据预算编 制薪酬草案----- *否执行方案存档档案 *记录流程员工申诉 编 码受控状态名称流程 执行核心部门 行政人力资源部 控制部门 总经办 行为实施 环节各部门员工 部门负责人 分管主管 总经理 行政人力资源部 管理行为 不同意或调整同意实施奖发放奖金相关说明编制人员编制日期审核人员 审核日期 批准人员 批准日期呈报奖励 名单和事 由,提出 奖励方案 同意教学研究设计流程培训计划 编 码 受控状态名称 流程 执行核心部门 行政人力资源 部 控制部门总经办 行为实施 环节各职 能部门 行政人力资源 部 行政人力资源部 负责人总经理 管理行为 提出培训需求 制定公司整体培训目标 培训需求调研制定整体培训计划 相关说明编制人员编制日期审核人员批准人员 审核日期批准日期 否审议批准评审-岗前培训流程流程名称行为实施环节岗前培训流程受训部门编码执行核心部门行政人力资源行政人力资源部受训员工受控状态控制部门总经办行政人力资源部经理修正方案再培训流程名称外派培训管理流程编码受控状态执行核心部门行政人力资源部控制部门总经办行为实施环节相关部门行政人力资源部行政人力资源部经理总经办总经理管理行为提出新员工岗前培训需求否提岀意见否确定培训方案是审核否是审核拟定岗前培训方案审查培训考试上岗培训教材教具师资场所落实实施培训审核效果评估是相关说明编制人员编制日期审核人员审核日期批准人员批准日期联系培训机构编制人员审核人员批准人员编制日期审核日期批准日期流程名称员工辞职审批流程编码受控状态执行核心部门行政人力资源部控制部门总经办行为实施环节辞职员工部门负责人行政人力资源部分管主管总经理部门申请是否计划内管理行为实施外派培训索取培训方案选择培训机构、相关事项洽谈否审核是否否核是审核审核培训效果评估流程编制人员审核人员批准人员编制日期审核日期批准日期流程名称员工离职交接流程编码受控状态执行核心部门各职能部门控制部门总经办行为实施环节离职人员部门负责人行政人力资源部总经理财务部管理行为提出辞退报告原因调查是否,员工离职交接流程同意辞退内部调动。