工程公司质量管理手册图文稿
- 格式:docx
- 大小:47.96 KB
- 文档页数:35
工程质量管理手册范本下面是一个工程质量管理手册的范本:工程质量管理手册版本号:V1.0生效日期:20XX年XX月XX日目录1. 引言1.1 目的1.2 适用范围1.3 定义2. 质量管理体系2.1 质量方针2.2 质量目标2.3 组织结构和职责2.4 质量管理文件2.4.1 质量手册2.4.2 相关程序和指南2.4.3 相关表格和记录3. 质量计划3.1 确定质量目标3.2 制定质量计划3.3 质量控制措施3.4 质量风险管理4. 质量控制4.1 质量控制流程4.2 质量检查和测试4.3 不合格品管理4.4 改进措施5. 内部审核和管理评审5.1 内部审核计划5.2 内部审核流程5.3 管理评审6. 监督和测评6.1 外部监督机构6.2 自我评估7. 文件控制7.1 文件识别和版本控制 7.2 文件存储和保密7.3 文件更新和废弃8. 培训和提高8.1 培训需求分析8.2 培训计划和实施8.3 培训效果评估9. 异常处理和纠正措施9.1 异常处理流程9.2 纠正和预防措施9.3 问题整改和闭环10. 记录管理10.1 记录保留和存档10.2 记录访问和可追溯性11. 术语和缩略语12. 参考文献1. 引言1.1 目的本工程质量管理手册旨在规范工程质量管理活动,确保项目按照质量要求完成,提供满足客户和利益相关方期望的高质量工程。
1.2 适用范围本工程质量管理手册适用于公司内部所有工程项目的质量管理活动。
1.3 定义在本手册中,以下术语的定义如下:- 工程:指公司进行的工程项目,包括设计、施工、测试等阶段。
- 质量:指工程符合相关标准、规范和客户要求的程度。
- 质量管理体系:指公司建立的一套管理流程和制度,用于规范工程质量管理活动。
- 质量目标:指在工程项目中要达到的质量要求和目标。
- 质量控制:指通过各种手段和措施,确保工程质量符合要求的活动。
2. 质量管理体系2.1 质量方针公司的质量方针是:持续改进,满足客户期望,保证工程质量。
目录1.质量管理职责1.1组织领导组织结构图任命书管理手册发布令关于设立质管科的决定质管科职责和权限相关记录1.2质量目标1.3管理职责质量管理制度部门职责、权限及考核办法岗位职责不合格品的控制管理办法相关记录a《不合格报告》b《纠正措施处理单》2.生产资源提供2.1生产场所企业区位图生产布局平面示意图防尘、防鼠、防蝇控制管理办法生产车间卫生管理制度相关记录《卫生检查表》2.2生产设备设施、设备卫生管理制度管道、设备清洗消毒管理制度设备和容器清洁控制程序相关记录a《设施设备清单》b《保养、检修、维护计划》c《保养、检修、维护记录》2.3人员要求岗位人员任职要求人员健康卫生控制管理制度相关记录a《员工登记表》b《人员培训记录》3.技术文件管理3.1技术标准相关记录a《标准清单》3.2工艺文件工艺流程图工艺作业指导书3.3文件管理技术性文件管理制度相关记录a《文件清单》b《文件借阅、发放、回收记录》c《记录清单》4.采购质量控制4.1采购制度采购管理制度4.2采购文件采购原材料的管理办法采购合同食品添加剂的使用规定相关记录a《合格供方名录》b《采购计划》c《采购清单》4.3采购验证相关记录a《原辅材料进货验证记录汇总表》b《原辅材料验证记录》c《原辅材料不合格处理单》d《包装物进货验证记录汇总表》e《包装物验证记录》j《添加剂的验证记录》5.过程质量管理5.1过程管理生产过程质量管理及考核办法相关记录a《过程记录》5.2质量控制生产过程关键质量控制点生产过程关键质量控制点控制程序相关记录a《关键控制点一览表》b《关键工序质量检查表》5.3产品防护产品防护管理办法防止产品污染控制管理办法成品储藏运输卫生管理制度6.产品质量检验6.1检验设备相关记录a《检验设备清单》b《检验设备维护和保养记录》c《校验记录》6.2检验管理检验员任职资格产品质量检验制度检测设备管理制度相关记录6.3过程检验产品过程检验管理制度计量器具的校验、标识、使用管理办法相关记录a《产品质量检验记录》6.4出厂检验相关记录a《出厂检验记录汇总表》b《出厂检验报告》c《不合格的处理记录》1.质量管理职责组织结构图2.质量目标a. 产品出厂检验受检率 100%b. 出厂产品合格率 100%c. 顾客满意率95以上%3.质量目标的分解3.1.办公室:a与质量有关人员岗前培训合格率100% ;b外来文件受控有效率100%;3.2供销科:a主要物资采购合格率98%以上;b合同履约率99% ;c顾客反馈处理率100%以上。
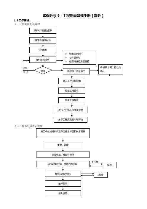
案例分享9:工程质量管理手册(部分)1.2工作流程(一)质量控制总流程(二)装饰材质核定流程(三)装饰工程质量控制程序1.3(一)深化设计的控制1、建筑装饰装修工程必须进行设计,并出具完整的施工图设计文件。
2、承担建筑装饰装修工程设计的单位应具备相应资质,并应建立质量管理体系。
由于设计原因造成的质量问题应由设计单位负责。
3、承担建筑装饰装修工程设计的单位应对建筑物进行必要的了解和实地勘察,设计深度应满足施工要求。
4、建筑装饰装修工程设计必须保证建筑物的结构安全和主要使用功能。
当涉及主体和承重结构改动或增加荷载时,必须由原结构设计单位或具备相应资质的设计单位核查有关原始资料,对既有建筑结构的安全性进行核验、确认。
(二)装饰材料的控制1、装饰材料进场使用前应由施工单位提供样品,确认、封样,作为材料进场验收的依据。
2、建筑装饰装修工程所用材料的品种、规格和质量应符合设计要求和国家现行标准的规定。
当设计无要求时应符合国家现行标准的规定。
严禁使用国家明令淘汰的材料。
3、建筑装饰装修工程所用材料的燃烧性能应符合现行国家标准《建筑内部装修设计防火规范》(GB50222)、《建筑设计防火规范》(GBJ16)和《高层民用建筑设计防火规范》(GB50045)的规定。
4、建筑装饰装修工程所用材料应符合国家有关建筑装饰装修材料有害物质限量标准的规定。
5、所有材料进场时应对品种、规格、外观和尺寸进行报验与验收材料应完好,应有产品合格证书。
中文说明书及相关性能的检测报告;进口产品应按规定进行商品检验。
6、进场后需要进行复验的材料种类及项目应符合《建筑装饰装修质量验收规范》各章的规定。
同一厂家生产的同一品种、同一类型的进场材料应至少抽取一组样品进行复验。
当合同另有约定时应按合同执行。
7、当国家规定或合同约定应对材料进行见证检测时,或对材料的质量发生争议时,应进行见证检测。
承担建筑装饰装修材料检测的单位应具备相应的资质。
(四)施工过程控制要点1、建筑装饰装修工程施工中,严禁违反设计文件擅自改动建筑主体、承重结构或主要使用功能;严禁未经设计确认和有关部门批准擅自拆改水、暖、电、燃气、通讯等配套设施。
兰州军区雁乐家苑职工经济适用住房项目9#10#11#12#楼工程工程质量管理手册编制:审核:审批:陕西建工集团总公司兰州军区雁乐家苑项目部二〇一三年三月1、目的为了更好地贯彻实施GB/T19001-2000《质量管理体系要求》标准、陕西建工集团总公司方针和质量目标,确保工程质量符合设计、施工规范及标准的要求,实现工程的合同目标,保证工程正常的使用功能,提高工程的质量管理水平,使陕建集团质量管理体系运行有序、有效、受控,争创优良工程、名牌工程,树立企业良好的信誉和社会形象。
贯彻执行陕建集团“科学管理、持续创新、诚信守约、构筑精品”的质量方针和实现陕建集团单位工程竣工一次交验合格率100%,优良率为70%”的质量目标。
2、范围适用于陕建集团所属的各项目部、分包方及联营合作单位所承接的工程项目。
3、术语和定义采用GB/T19000-2000《质量管理体系基础和术语》和陕建集团质量手册中有关的术语和定义。
4、工作程序4.1. 质量检查4.1.1. 检查制度严格执行“陕建集团质量、安全、文明施工检查制度”。
4.1.2. 要求a) 质量检查依据陕建集团“程序文件”(第A版)和国家、行业和地方有关规范及标准进行质量检查、评审。
b) 陕建集团所属各项目应按照集团质量管理制度及项目质量保证计划进行质量管理。
c) 对检查出的不合格项或严重下合格项,必须按照《不合格品控制程序》有关规定进行返工或返修,并执行《质量改进控制程序》4.1.3. 质量检查的工作内容:a) 内业资料:施工组织设计或施工方案;定位放线记录;验槽记录;自检、互检记录;技术复核记录;检验和试验资料;材料质保资料;隐蔽验收记录;质量评定;QC小组活动计划及活动记录;质量事故及处理记录等。
b) 现场实地检测:模板:模板的支撑系统,模板的截面尺寸、平整度、垂直度、标高、拼缝等。
钢筋:现场检查钢筋级别、规格、数量、加工形状、焊接、间距、搭接、锚固长度等。
砼:配合比、计量、搅拌、坍落度测试、施工缝留置、砼养护(含现场构件及试块)、结构部位、构(配)件的实测实量。
XX市消防工程XX消防工程质量管理手册依据:GB/T19001-2008GB/T50430-2007第1版编制:受控状态:审核:分发号:批准:修改状态:2012 年1月30日发布2012年1月30日实施发布令为了保证消防工程质量持续稳定地满足顾客和适用法律法规要求;通过管理体系的有效应用和消防工程质量管理体系的持续改进过程和保证符合顾客与适用的法律法规要求而达到使顾客满意,XX市消防工程XX,建立施工质量管理体系,编制了本《消防工程质量管理手册》,现批准发布实施。
本《消防工程质量管理手册》是规定施工质量管理体系的文件,是公司实施工程质量管理的总纲领,是开展施工质量活动的法规和准则,是施工质量管理体系建立和运行的指令性文件,要求各部门和全体员工严格贯彻执行。
为了保证施工质量管理体系有效运行,任命公司管理层苏华为管理者代表,负责建立、实施和保持施工质量管理体系,并授权负责施工质量管理体系日常工作的组织、协调及本《消防工程质量管理手册》的实施。
根据中华人民XX国有关法律、法规,我对本公司的工程质量管理、工程质量和服务质量负全部责任。
总经理:苏华2012年1月30日企业简介XX市消防工程XX是专业进行消防工程施工企业,可以按照顾客要求进行各种工程的消防施工服务。
公司拥有先进的施工设备及工程专业技术人员和优秀的施工人员。
公司的施工设备齐全,施工技术精湛,可以保证为顾客提供优质工程。
本公司成立于是1993年,多年以来,公司以优质的服务,精湛的技术和一流的管理水平,先后负责完成了茂石化30万吨/年乙烯消防工程、XX市明湖商场、国成百货、国际大酒店、XX热电厂、XX石化炼油漆350万吨/年改造消防工程。
近期,又完成了XX 北山岭原油商业储备基地等消防设施工程,形成了一套完整、科学的质量保证体系和经营管理体系,为XX市消防工程建设作出了巨大的贡献!公司秉承“质量第一、顾客至上”的工程质量及经营理念,竭诚为广大顾客提供优质工程及良好的服务。
1、总则为进一步建立、健全中建一局集团项目工程质量管理体系及各项工程质量管理制度,全面提高中建一局集团系统施工企业的工程质量水平,特制定本手册。
本手册依据《中华人民共和国建筑法》、《建设工程质量管理条例》、《建设工程项目质量管理规范》及《中建总公司工程质量管理条例》、《中国建筑股份有限公司施工企业质量管理条例》质量环境职业健康安全管理手册、法规、规范编制。
本手册适用于集团公司所属子公司、分公司、区域公司项目及直营项目经理部。
本手册是集团公司对所属施工企业及工程项目质量管理工作的原则性规定和基本要求,所属子分公司及区域公司应结合实际情况具体实施。
集团公司质量部是中建一局集团质量系统工程质量管理工作的综合管理部门,并负责归口集团公司质量管理工作。
2、项目质量管理体系策划管理质量管理体系建立2.1.1 各施工企业应根据施工项目的规模,和不同的施工阶段配备一定数量及相应专业的专职质量检查员。
北京地区项目质量检查员配备参照北京市住房和城乡建设委员会《关于加强北京市建设工程质量施工现场管理工作的通知》(京建发[2010]111号)文件的相关要求执行,外埠地区结合当地实际情况参照执行。
2.1.2 各企业应明确各级质量管理人员的任职资格,定期或不定期对专职质量管理人员进行继续教育和考核,努力提高工程质量管理人员素质。
2.1.3 主要专业管理人员持证上岗项目人员的素质高低及质量意识的强弱都直接影响到工程产品的优劣。
所以,认真抓好操作人员的素质教育,不断提高操作者的生产技能,严格控制操作者的技术资质、资格与条件,是工程质量管理与控制的重要途径。
下列主要岗位人员应取得相应资格,持证上岗:1)项目经理:从事工程项目施工管理的项目经理,必须经省、自治区、直辖市建设行政主管部门或国务院各有关部门组织培训、考核和注册,具有国家授予的建造师资质,其承担工程规模应符合相应的建造师资质等级,通过全国注册建造师考试,并获得相应的证书,并按时参加年审复查,确保证书有效性。
工程公司质量管理手册 Company number【1089WT-1898YT-1W8CB-9UUT-92108】AAAAAA工程有限公司质量管理手册(版本号:A版修订状态:0)(依据GB/T19001:2000idtISO9001:2000编制)编制:AAAAAAAA审核: AAAAAAAA批准:AAAAAAAA文件编号: LYJQ-QMS-01发布日期: 2002-9-1受控状态:目录前言公司概述颁布令质量方针和目标公司质量管理组织机构图质量管理职责分配范围应用标准术语和定义质量管理体系总要求文件要求4.2.1总则4.2.2质量手册4.2.3文件控制4.2.4记录控制管理承诺管理承诺以顾客为关注焦点质量方针策划5.4.1质量目标5.4.2质量管理体系策划职责、权限与沟通5.5.1 职责和权限5.6.1总则5.6.2评审输入5.6.3评审输出资源管理资源提供人力资源6.2.1总则6.2.2能力、意识和培训基础设施工作环境产品实现产品实现的策划与顾客有关的过程7.2.1与产品有关的要求的确定7.2.2与产品有关的要求的评审7.2.3顾客沟通设计和开发(裁剪)采购7.4.1采购过程7.4.2采购信息7.4.3采购产品的验证生产和服务提供7.5.1生产和服务提供的控制7.5.2生产和服务提供过程的确认7.5.3产品标识和可追溯性7.5.4顾客财产7.5.5产品防护监视和测量装置的控制测量、分析和改进总则监视和测量8.2.1顾客满意8.2.2内部审核8.2.3过程的监视和测量8.2.4产品的监视和测量不合格品控制数据分析改进8.5.1持续改进8.5.2纠正措施8.5.3预防措施前言公司简介AAAAAA工程有限公司成立于1993年,其前身是洛阳涧西涧桥建筑工程公司,经省建设厅批准具有三级资质的建筑企业,注册资金600万元,具有承建14层以下和30米跨度的工业与民用建筑能力。
九年来管理上进,艰苦奋斗,现已形成了一支能吃苦、善经营、技术全面、阵容整齐、领导与职工凝聚力强、作风过硬的建筑队伍。
公司现有技术管理人员35人。
公司设有技术生产经营科、技术质量科、安全管理科、人事劳务科、办公室、总承包项目经理部。
已配备13名二、三级项目经理,大、中型施工机械120余台、具有一定的建筑实力。
公司遵循质量为本、信誉第一的宗旨,近年来先后承建了一拖流水线大型车间(工程造价900万)、嘉碧大厦、中桥花园1#楼等大型建筑项目,受到了建设单位的一致好评,被市建委评为2001年度先进施工企业和安全工作先进单位。
地址: AAAAAAAAAAAA15号电话:传真:邮编:00000000颁发令AAAAAA工程有限公司《质量管理手册》是依据GB/T19001:2000—ISO9001:2000质量管理体系—要求结合企业实际制订的,它阐述了公司的质量方针和目标,对公司质量管理体系作了具体的描述,是指导全公司实施质量管理纲领性文件和行动准则,现予以发布,望全体员工遵照执行。
任命AAAAAAAAA为我公司管理者代表,行使以下权利:⑴负责公司质量管理体系的建立,运行和保持正常运行。
⑵向公司总经理报告质量管理体系运行情况,及时处理质量管理体系运行有关问题。
⑶代表公司就质量管理体系有关事宜与外部各方联络。
总经理(签字):2002年9月1日质量方针和目标质量方针:用户是上帝,质量是生命,安全是保证,诚信于社会。
质量目标:单位工程合格率100%,优良率50%;分项工程合格率100%,优良率65%单位工程顾客满意70%总经理(签字):2002年9月1日公司质量管理组织机构图总经理副经理 生产经营科财务科人事劳务总承包项目一部办公室管理者代表副经理总承包直属项目部总承包项目五部总承包项目六部副经理总承包项目四部总承包项目三部总承包项目二部安全管理科质量技术科质量管理体系职责分配★表示主要负责部门;☆表示相关部门范围总则为满足以下要求公司制定质量管理手册:a) 需要证实其有能力稳定地提供满足顾客和适用的法律法规要求的产品;b) 通过体系的有效应用,包括体系持续改进的过程以及保证符合顾客与适用的法律法规要求,旨在增强顾客满意。
应用本标准规定的所有要求都适用于公司所有部门。
针对我公司实际情况对标准中设计和开发进行了裁剪。
应用标准GB/T 19000-2000 质量管理体系-基础和术语(idtISO9000:2000)GB/T 19001-2000 质量管理体系-要求(idt ISO9001:2000)定义供方——组织——顾客1.供方:提供产品的组织或个人2.组织:职责、权限和相互关系得到安排的一组人员及设施3.顾客:接受产品的组织或个人质量管理体系总要求4.1.1公司对质量管理体系所需的过程应当包括与管理活动、资源提供、产品实现和测量有关的过程制定文件化质量管理体系,以保证公司质量管理实施和持续改进。
组织标准的要求建立质量管理体系,形成文件,加以实施和保持,并持续改进。
公司针对工程施工的特点建立和保持质量管理体系时应:a) 识别质量管理体系所需的过程及其在公司中应用b) 确定过程的顺序和相互作用;c) 确定为确保这些过程的有效运作和控制所需的准则和方法;d) 确保可以获得必要的资源和信息,以支持这些过程的运作和监视;e) 监视、测量和分析这些过程;f) 实施必要的措施,以实现对这些过程所策划的结果和对这些过程的持续改进。
4.1.2凡公司为满足顾客的要求而需要外包的过程,主要劳务,对这些过程按照条款要求进行控制。
4.1.3公司根据公司的实际情况对设计和开发进行了裁剪。
文件要求4.2.1总则公司制定了形成文件的质量方针和质量目标;质量手册;17个程序文件;第三层次文件。
4.2.2质量手册质量手册和程序文件中对标准要求的设计和开发进行了裁剪4.2.3文件控制4.2.3.1质量文件包括:质量手册、程序文件、施工图纸、设计变更、施工组织设计、施工技术措施、工艺标准、工程合同、声像资料以及有关施工及验收规范、工程质量验评标准、各种图纸、法律法规等。
4.2.3.2技术质量科负责制订《文件和资料管理程序》并组织实施。
4.2.3.3文件和资料的审批(1)质量手册和程序文件分别由总经理和管理者代表审批发布。
(2)公司其它同质量有关的文件和资料由相关职能部门、副经理审定签发。
4.2.3.4文件和资料的发放受控文件和资料的发放须填写《文件发放记录》,公司内使用的质量文件为经过编号且加盖红色“受控”印章的有效版本。
外部文件资料作为质量文件下发执行时,亦须加盖“受控”印章且编号履行领用、登记手续,以防误用。
4.2.3.5文件和资料的更改文件和资料的更改按原审批的权限审批,由文件管理人员实施。
4.2.3.6文件的换版文件和资料经一定次数或大篇幅修改后,重新换版印刷,作废文件应及时收回,经审批后或销毁或留存,留存的文件资料应进行标识,以便与有效版本相区别。
4.2.3.7外来文件管理与内部受控文件同等对待,也需要进行编号受控管理。
4.2.4质量记录控制4.2.4.1技术质量科负责制订并组织实施《质量记录管理程序》,严格控制质量记录的准确性、真实性、完善性,以证明质量管理体系的有效运行。
4.2.4.2需要控制的质量记录包括:(1)原材料设备、设备、半成品质量检验记录;(2)施工试验记录;(3)工程质量检查验收记录;(4)工程质量评定记录;(5)技术管理工作记录;(6)质量管理体系运行检查评审记录;4.2.4.3质量记录的归口(1)质量管理体系运行检查评审记录,由技术质量科收集保存;(2)工程质量评定记录由项目经理部收集和保存;(3)各部门和项目经理部对职责范围内的质量记录分别进行收集和保管;(4)待工程完成后,必要的质量记录由项目经理部技术负责组织人整理、组卷、装订,办理交工验收手续后交顾客和技术质量科存档。
4.2.4.4质量记录的保存期限按质量记录清单上的规定执行。
管理承诺管理承诺公司总经理应通过会议等手段向公司全体员工传达满足顾客要求及法律法规要求的重要性。
制定质量方针;确保质量目标的制定;组织进行管理评审;为公司质量管理体系提供必要的资源。
以顾客为关注焦点公司应以增强顾客满意为目的,采取措施确定并满足顾客(甲方)的要求。
质量方针公司总经理制定并向公司全体员工传达公司质量方针:用户是上帝,质量是生命,安全是保证,诚信于社会。
策划5.4.1 质量目标公司总经理制定质量目标并采取措施保证目标的实现;质量目标:单位工程合格率100%,优良率50%;分项工程合格率100%,优良率65% ;单位工程顾客满意70%;5.4.2 质量管理体系策划公司对质量管理体系进行策划,保证质量目标的实现;在对质量管理体系的变更进行策划和实施时,保持质量管理体系的完整性。
职责、权限与沟通根据自身实际的需要,公司实行二级管理,即公司及项目经理部涉及本手册体系的部门和单位有:技术质量科、生产经营科、人事劳务科、安全管理科、人事劳务科及总承包项目经理部。
5.5.1职责和权限(1)总经理①公司的法人代表,主持制定质量方针,颁布公司《质量管理手册》,承担公司质量管理体系的建立、完善、实施和保持决策责任。
②定期主持管理评审,管理质量管理体系持续有效运行。
③组织公司的重大工程质量策划,主持召开公司年度质量工作会议,审批年度工作计划。
(2)副经理①向公司总经理负责,直接向公司总经理汇报工作。
②负责贯彻和实施公司质量方针与质量目标,参与组织建立和完善公司质量管理体系,并使其有效运行。
③负责审定重大质量事故和处理措施方案。
④负责所管辖项目部。
(3)技术质量科①贯彻公司质量方针和目标,制定质量工作计划,指导、协调、监督各质量职能部门执行质量管理职能,负责GB/T19001-ISO9001标准的贯彻,开展质量管理工作。
②负责公司质量管理手册的贯彻、执行、修订、换版工作。
③参与内部质量审核、筹备管理评审工作,负责质量记录的汇总和编制工作。
④负责建筑工程施工技术资料档案以及其它原版文件的收集与管理。
⑤组织编制一般投标施工组织设计,审批一般工程的施工组织设计,审查公司的项目经理部施工技术资料。
组织贯彻技术规程、施工规范、质量标准,负责主持编制审批重点工程施工组织设计以及重要、特殊工程的措施方案。
⑥对新材料设备、新技术、新工艺的推广应用进行指导,负责编制公司内部技术标准、操作规程、质量标准,负责交工技术文件的标准化工作,审查交工验收技术资料的质量。
⑦负责贯彻执行有关法令和质量管理制度,按照检验评定标准对施工全过程实施监督、检查、指导质检系统的业务工作。
⑧负责核验单位工程、结构工程质量,抽检分部、分项工程的质量评定等级,参与重要隐蔽工程质量检查,组织工程质量抽查、联检,参加重大质量问题的调查分析,检查落实整改情况。