档案馆工作流程图
- 格式:pdf
- 大小:96.96 KB
- 文档页数:4
舒城县档案管理流程图↓↓↓↓↓重大安全事故应急救援程序↓↓↓↓↓↓↓安全事故↓↓↓重大事项决策流程图重要干部任免流程图党委会投票决议,形成会议决定试用期一年,党政办进行考核,胜任正式任命,不胜任免去职务大额资金使用流程征兵流程图民兵训练流程图发展党员流程图党组织关系接转本县范围内:本镇范围内:机关、事业单位工作人员考核及奖惩流程图党员干部教育培训被征地养老保险流程↓安全生产监管流程城镇居民养老保险新参保居民:续保居民:每年按时到医保办(街道)登记、缴费即可舒城县新型农村合作医疗办理参合和补偿流程图人民调解流程图农村征地补偿费分配程序社区矫正工作组织实施流程图文化服务站文化市场工作流程图文化经营许可证办理矛盾纠纷排查流程图综治工作检查考核平安创建工作流程图农村土地承包流转管理农村集体资金管理流程图农村集体资产管理流程图农村集体资源管理流程图千人桥镇财政预算编制执行流程图↓ ↓千人桥镇财政所非税收入收缴流程图↓千人桥镇乡财县管业务流图↓↓↓↓↓千人桥镇政府采购流程图千人桥镇财政补贴农民资金以县统一打卡发放工作流程图↓↓↓↓↓↓↓家电下乡申领补贴流程图→→→→→→汽车、摩托车下乡申领补贴流程图→→→→→千人桥镇财政项目资金监督管理操作流程图↓↓↓↓↓↓↓↓一事一议资金管理使用程序千人桥镇村级事业建设一事一议奖补资金监督管理操作流程图↓↓↓↓↓↓↓↓↓奖励实行计划生育手术的公民流程图登记已婚育龄流动人口婚育登记流程图孕环检 反馈身份证2张近期照片《安徽省流动人口婚育证明审批表》(发证) 签证合同上报信息流动人口婚育证明办理流程图惩罚计生工作不达标单位和个人流程图《独生子女父母光荣证》办理流程图表彰计生工作先进单位和个人流程图一胎服务卡办理流程图奖励扶助流程图社会抚养费征收流程图提供避孕节育措施服务流程图开展对已婚育龄妇女孕情检查和技术服务贫困重度残疾人生活特别救助程序五保户申报审批程序救灾、救济款物管理发放流程图农村五保供养工作流程图农村最低生活保障申报、审批程序城乡困难群众医疗救助申报、审批程序(大病救助)村务换届选举程序农作物病虫害防治农业救灾款上报审核流程图综合直补、粮补上报审核流程图。
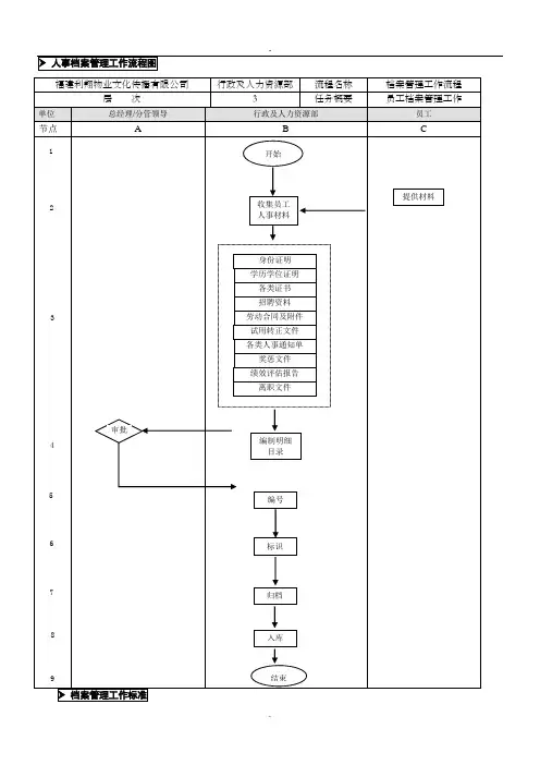
⾏政部档案管理流程、制度、图表,建议收藏阅读导航→01 档案管理⼯作流程02 档案管理制度03 档案管理图表⾏政部档案管理⼯作流程1 档案借阅管理流程档案借阅管理流程图档案借阅管理流程关键点说明表档案管理⼯作流程图档案管理⼯作流程关键点说明表3 档案销毁管理流程档案销毁管理流程图档案销毁管理流程关键点说明表档案管理制度1 公司档案管理制度公司档案管理制度第1章总则第1条⽬的为加强本公司⽂书⽴卷⼯作,规范公司档案管理,特制定本制度。
第2条适⽤范围本公司在⽣产经营活动中形成的各种有保存价值的⽂字材料,均应按规定进⾏管理。
第3条管理部门1.⽂书结案后,原稿由⾏政部部门归档,经办部门根据实际需要留存影本。
如因业务处理需要,原稿须由经办部门保管,应经⽂书管理部门主管同意后妥善保存,⽂书管理部门以影本归档。
2.各分公司档案分类⽬录及编号原则,由公司办公事务部门统⼀制定。
第2章档案管理第4条⽂件点收⽂件结案移送归档时,应根据如下原则进⾏点收。
1.检查⽂件的⽂本及附件是否完整,如有短缺,应⽴即追查归⼊。
2.⽂件如经过抽查,应有管理部门主管的签认。
3.⽂件的处理⼿续必须完备,如有遗漏,应⽴即退回经办部门科室。
4.与本案⽆关的⽂件或不应随案归档的⽂件,应⽴即退回经办部门。
5.有价证券或其他贵重物品,应退回经办部门,经办部门送指定保管部门签收后,将⽂件归档处理。
第5条⽂件整理点收⽂件后,应对⽂件按照以下⽅式进⾏整理。
1.中⽂直写⽂件以右⽅装订为原则,中⽂横写或外⽂⽂件则以左⽅装订为原则。
2.右⽅装订⽂件及其附件均应对准右上⾓,左⽅装订则对准左上⾓、理齐钉牢。
3.⽂件如有皱褶、破损、参差不齐等情形,应先补整、裁切、折叠,使其整齐划⼀。
第6条档案分类1.档案分类应视其内容、部门组织、业务项⽬等因素,按部门]⼤类、⼩类三级分类。
先以部门区分,然后依案件性质分为若⼲⼤类,再在同类中依序分为若⼲⼩类。
2.档案分类应⼒求切合实⽤。
许昌市档案馆查阅利用档案资料工作流程图一、工作流程图二、流程说明1、接待受理。
档案利用者凭合法证件(身份证、工作证、单位介绍信等)到档案馆查阅档案资料,档案利用者向工作人员说明查阅目的。
2、查阅利用。
工作人员根据利用者查阅目的,提供相应的检索工具,利用者从检索工具中查找所需要的档案资料,工作人员根据利用者从检索工具中查找的档号,到库房提取相关的档案资料。
3、出具证明。
利用者确认自己所需要的档案资料后,交工作人员进行复制、扫描、刻录等。
工作人员在复制好的档案资料上加盖档案利用专用章,并依据有关规定收取相关费用。
三、工作依据根据«中华人民共和国档案法»和物价部门的有关规定。
四、利用登记工作人员对档案资料利用情况进行登记,并编写典型利用实例。
许昌市档案馆接收档案资料工作流程图一、工作流程图二、流程说明1、准备阶段。
根据档案法规定,由市档案馆向应该移交本级档案馆的基层单位下达档案资料移交通知单,移交单位接到通知单后,积极准备档案资料移交有关事项。
2、验收阶段。
市档案馆组织有关人员对其需要移交进馆的档案资料进行案卷质量抽查,并检查其年度立卷归档合格证。
3、移交整理阶段。
经检查合格的档案资料、组织沿革、全宗介绍及检索工具一并移交进馆,由市档案馆组织人员对其移交档案资料进行编目、整理、消毒、入库,并编制馆藏档案资料检索工具。
4、入库保管。
把整理好的档案资料分门别类入库,并进行科学安全管理。
三、工作依据根据《中华人民共和国档案法》和《档案馆工作通则》的有关规定。
四、移交备案市档案馆根据移交单位档案资料整理情况,办理移交手续,并进行登记备案。
许昌市档案馆档案鉴定工作流程图一、工作流程图档案处置二、流程说明1、成立机构。
局领导牵头,由经验丰富的档案专业人员组成档案鉴定小组。
2、价值鉴定。
鉴定小组根据国家制定的保管期限表和有关规定,结合立档单位及其档案的具体情况编制出详细鉴定方案,对需要鉴定的档案材料进行具体鉴定,确定文件的存毁及保管期限的长短,填写档案价值鉴定表。
档案馆各业务工作流程图
1、查(借)阅档案流程
借阅原件主管档案的校长签字
填写借阅申请单调卷记归还原件
查阅或复印申请部门主管校长签字
2、各类档案归档流程
移交部门填写档案移交表档案管理员审核双方签字并移交
3、补办学生档案流程
填写学生档案补办申请表所属院系签字盖章主管学生的校领导签字所属院系领取表格到档案馆填表并盖章
4、毕业生档案提取流程
毕业生本人提供毕业证、身份证原件
提取档案并签字
委托人提供委托书、身份证、该生毕业证、身份证复印件
5、参观校史馆办理流程
申请部门填写接待参观申请表申请部门主管校领导签字交档案馆并落实具体参观时间。