购置办公用品及设备流程图
- 格式:docx
- 大小:11.41 KB
- 文档页数:8
采购管理制度第一章总则为了规公司采购业务流程,防采购业务风险,控制采购支出,保证公司正常生产经营活动,降低采购成本和付款风险,特制定本制度。
第二章采购物料分类1、A类(日常办公用品、耗材):中性笔、笔记本、胶带、打印纸等2、B类(劳保用品):卫生纸、拖把、垃圾袋等3、C类(除过A、B类,公司各部门需要的物资):电脑或电脑周边产品、创客耗材、技术部门所需工具等第三章采购申请审批权限1、估算金额在1000元以(含1000元),由部门经理审批。
2、估算金额在1000元至2000元之间(含2000元),先由部门经理审批,再由分管经理审批。
3、估算金额在2000元至5000元之间(5000含元),先由部门经理和分管经理审批后,再由总经理审批。
4、估算金额在5000元以上(大宗采购),由董事长加批。
第四章采购流程一、A类物品采购流程1、A类物品由行政部门人员娇娇负责采购。
2、采购流程:1)、申请信息初步汇总:各部门每月第一个工作日之前汇总部门所需A类物品信息,填写采购申请单1(见附件一),提交给采购人员。
2)、申请信息最终汇总:采购人员汇总全公司A类物品需求信息,填写采购申请单2(见附件二),按照预估价格逐级审批。
3)、采购:采购人员按审批通过的采购申请单采购。
4)、入库:物品采购回来后,采购人员与行政主管核实物品品种及数量,行政主管在采购申请单上确认签字。
采购人员凭采购申请单办理采购物品入库,领取入库单。
5)、报销:采购人员凭采购申请单、入库单、发票、收据按公司报销制度及流程报销。
6)、出库:采购人员按需发放A类物品,登记记录。
每月28号(如遇节假日,顺延至假期结束的第一个工作日)汇总出库信息,提交财务部门,按部门出库。
3、流程图:1、B类物品由行政部门人员武曼负责采购。
2、采购流程:1)、申请审批:采购人员按需汇总全公司B类物品需求信息,填写采购申请单2(见附件二),按照预估价格逐级审批。
2)、采购:采购人员按采购申请单采购。
购置办公用品流程作业 Prepared on 22 November 2020
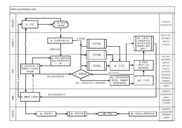
购置办公用品流程作业购置办公用品及设备流程图:
科室人员调动流程图:
固定资产处置流程图:
权利运行监督流程图:
_________职权依据明细表单位(公章):
领导(签字):年月日
县法制办审核人(签字):
县物价局审核人(签字):审核部门(公章):
单位(公章):
_________职权依据明细表单位(公章):
领导(签字):年月日
县法制办审核人(签字):
县物价局审核人(签字):审核部门(公章):
单位(公章):
_________职权依据明细表单位(公章):
领导(签字):年月日
县法制办审核人(签字):
县物价局审核人(签字):审核部门(公章):
单位(公章):
表三_________职权依据明细表
单位(公章):
领导(签字):年月日
县法制办审核人(签字):
县物价局审核人(签字):审核部门(公章):
单位(公章):。
办公用品治理工作标准流程单位部门名称流程名称各部门办公用品治理流程行政办公室行政部任务概述办公用品选购、分发、保管等工作财务部总经理节点 A B C D 1 流程开头2 填写办公用品领用申请表345统计填写办公用品选购申请表选购填写物料入库登记表审批审批通知领用办公6用品填写办公用品7领用登记表签字8领用办公用品910清算办公用品盘点填写选购申请表11审批12流程完毕13办公用品治理工作标准流程名称节点程序流程程序、重点及标准时限相关资料填写办公用品申购单A2 各部门依据实际需要填写办公用品领用申请表重点依据实际需求填写标准确定各部门办公用品实际需求量程序办公室人员查阅月末办公用品申报状况需要时每月 27号之前《办公用品领用申请表》统计审批入库登记发放清算办公用品B2B3B4C4D4B5B6B7B8A8A9B10B11办公室统计汇总用品需求量并列出购置清单依据清算状况和申购状况,填写办公用品选购申请表重点统计需要购置的办公用品清单标准依据各部门的需求与实际用量程序办公室列出的需求打算表,由部门主管审批部门主管同意后,由财务部审批重点批准同意方可选购标准必需由部门主管签字程序价格比较,择优选购用品登记入库重点购置办公用品,入库登记,填好相应信息标准选购批准数量,实物登记备注程序通知各部门领用办公用品办公用品治理人负责填写领用用品有关信息领用人签字各部门领用办公用品重点办公用品分发,领用人必需签字标准依据各部门《办公用品领用申请表》发放程序清算办公用品定期盘点库存重点日清月结标准依据办公用品入库状况和领用状况1 个工作日内1 个工作日内1 个工作日内1 个工作日内每三个月一盘《办公用品选购申请表》《办公用品治理制度》《物料入库登记表》《办公用品领用登记表》附件 1申领人物品名称规格数量行政部登记:申请部门:分管领导:部门物品名称规格数量单价预估价行政部登记:申请部门分管领导总经理财务部办公用品领用申请表日期:年月日附件 2办公用品选购申请单附件 3日期物品名称规格数量来源登记人物料入库登记表附件 4办公用品领用登记表序号部门姓名物品名称规格数量领用日期领用人签字附件 5物料交接表日期物品名称规格数量旧程度转出人接收人。
邯郸县金源矿业有限责任公司采购流程(初稿)二○一三年二月编设备申购、审批、采购、报帐流程图采购工作流程一、需求提交阶段第一步:需求部门领取并填写请购单第二步:需求部门负责人审批二、申请认可阶段第一步:采购部经办人第二步:上报采购部审批第三步:上报总经理审批需求部门上交《请购单》经采购部经办人审批确认,经总经理审批同意后,进入询价阶段;三、询价搜索阶段第一步:找供应商、询价、比价第二步:有权人审批第三步:董事长审核第四步:签订合同1.询价请应认真审阅请购单的品名、规格、数量、名称,了解图纸及其技术要求,遇到问题应及时的与请购部门沟通;2.属于相同类型或属性近似的产品应整理、归类集中打包采购;3.对于紧急请购项目应优先处理;4.所有采购项目上必须向生产厂家或服务商直接询价,原则能不通过其代理或各种中介机构询价就最好的;5.对于请购部门需求的物资或设备如有成本较低的替代品可以推荐采购替代品;6.遇到重要的物资、项目或预估单次采购金额大于10万的采购情况,询价前应先向公司相关领导汇报,按照附表(拟报价)的格式提报公司领导批准方可询价或发放订单;7.询价时对于相同规格和技术要求应对不同品牌进行询价;8.除固定资产外单次采购金额在1万元以下项目可以自行采购;单次采购金额预算金额在5万元以上的所有项目都应要求至少三家上的供应商参与比价,价格在20万元以上的项目由公司相关领导参与监督;单次采购金额预算价格在50万元以上的项目由公司领导决定是否委托第三方机构代理招标;9.比价采购或招标采购所邀请的单位均应具备一定资质和实力,具有提供或完成我公司所需物资和项目的能力;10.比价采购或招标采购应按照附表(材料或设备询价表)的格式或拟定完整的招标文件格式进行询价;11.在询价时遇到特殊情况应书面报请公司领导批示。
12.对厂商的供应能力,交货时间及产品或服务质量进行确认;13.对于合格供应商的价格水平进行市场分析,是否其他厂商的价格最低,所报价格的综合条件更加突出;14.收到供应单位第一次报价或进行开标后应向公司领导汇报情况,设定议价目标或理想中标价格;15.重要项目应通过一定的方法对于目标单位的实力,资质进行验证和审查,如通过进行实地考察了解供应商的各方面的实力等;16.参考目标或理想中标价格与以合作单位或以中标单位进行价格及条件的进一步谈判。
办公用品月度需求、采购、入库、领用流程图各部门办公室采购部财务部办公室主任总经理否否是是否否否是是办公用品月度需求、采购、入库、领用流程说明❑目的✓适用于公司所有固定资产、办公设备、耐用办公用品及低值易耗品的月度需求、采购、入库、领用月度计划、申请编制的审核、下达及实施;保证采购预算对计划实施的指导作用,有效降低不必要的采购成本。
确保计划实施执行能及时满足办公的需求。
❑流程角色✓主导部门:采购部✓配合部门:办公室✓参与部门:总经理办公室财务部采购部各需求部门❑流程说明✓1、各需求部门根据有关规定制定本部门的下月办公用品需求计划,统计填写《办公用品月度需求单》,经本部门主管签字批准后于每月25日前提交办公室,由办公室进行汇总统计。
✓2、办公室会同采购部每月25日定期盘点办公用品,填写《办公用品月度盘点表》(此表一式二份,办公室、采购部各一份),根据实际情况,统计用品缺口。
✓3、办公室根据库存盘点和各部门提交的《办公用品月度需求单》汇总统计结果,检查各部门历史需求及核实实际需求(发现异常申请部门需提交情况说明),填写《办公用品月度需求计划表》(此表一式二份,采购部、办公室各一份),办公室将各部门提交的《办公用品月度需求单》复印件附于《办公用品月度需求计划表》于每月26日提交采购部。
✓4、采购部依据《办公用品月度需求计划表》,制定《办公用品月度采购计划表》(此表一式三份,采购部、办公室、财务部各一份)并填写《办公用品月度采购申请单》(此单一式三份,采购部、办公室、财务部各一份),采购部如需预支采购款项,在提交《办公用品月度采购计划表》、《办公用品月度采购申请单》时一并提交《借支单》于每月28日前报于办公室主任或总经理。
✓5、办公室主任于一个工作日内审批《办公用品月度采购计划表》、《办公用品月度采购申请单》,超过权限(500元以上大宗高价)报总经理审批。
✓6、各部门急缺现用办公用品,可直接将《急需办公用品需求单》并加盖“紧急需求专用章”,提交至采购部制定《急需办公用品采购计划》(此单一式三份,采购部、办公室、财务部各一份)并填写《急需办公用品采购申请单》(此单一式三份,采购部、办公室、财务部各一份))后按流程实施。
办公用品采购、分配、管理流程图
固定资产、办公用品的采购分配流程图
办公用品采购流程说明:
1、各部门在每月25日前做出下个月的办公用品计划,并填写《物料申请单》,经部门经理签字批准后,报综管部;
2、综管部汇总各部门的办公用品计划,报财务经理、分管副总经理审核,报公司董事长审批;
3、采购经办人根据审批后的《物料申请单》进行采购;
4、采购完毕后交由综管部进行入库登记;
5、综管部通知做出计划的部门领取办公用品,并办理出库登记;
6、采购人根据《物料申请单》,到财务部填写费用支出审批单。
经领导签字后,由财务部负责打款;
7、开具发票。
根据购货发票到财务部办理支付手续
综管部验收入库, 实行入库登记并建立台帐综管部通知做出计划的部门领取办公用品,办理
出库登记并建立台帐
各部门负责所领取物品的管理和使用一般物品由综管部审核,报分管副总经理决定大宗物资和设备采购由综管部报分管副总经理审核后,报董事长决定一般物品到定点单位采购实施采购并与供货单位签定购货合同采购经办人编制大宗物资和设备采购计划后报董事长决定综管部请示物资采购项目部门提出
物资采购要求。
机关服务中心办公用品采购工作流程图
机关服务中心董玉本
需要办公用品的科室提出计划,经科室领导
签字后将计划报机关服务中心。
如采购物资设备等大宗商品,需要采购物资
设备的科室提出计划,计划书先由分管领导
提出意见,再提交局长办公会研究决定是否
采购。
机关服务中心负责抽调由财务科、办公室、
机关服务中心、机关党总支等有关人员组成
3人以上采购小组。
需领用办公用品的科室填写领用单,经科室
负责人签字后领取,并办理登记手续。
各科
室不需要的旧办公用品交机关服务中心登记
入库。
各科室提出计划
★
组成采购小组
★
采购
★★
采购小组根据计划到市政府采购中心统一采
购,并在记账联签字确认。
如购买物资设备等大宗商品,市政府采购中
心不能提供时,必须通过招标采购。
将物品
存放到专门的仓库,并做好出入库登记。
发放
★★
结算
★
每半年由机关服务中心审核账单,经分管
领导审批后,由局财务科通过财政网上支
付。
在市政府采购中心以外招标采购的物
资设备,确实不能通过网上支付的,用支
票支付,严禁现金支付。
机关服务中心
车辆维修工作流程图机关服务中心王云军。