企业效能监察工作流程、工作标准、工作手册_图文(精)
- 格式:doc
- 大小:163.00 KB
- 文档页数:6
公司效能监察工作规范第一章总则第一条为进一步规范效能监察工作,完善企业管理,提高企业效能,依据《股份公司效能监察办法》,结合公司生产经营管理、党风建设和反腐倡廉工作实际,制定本规范。
第二条效能监察是效能监察组织针对影响企业效能的有关业务事项或活动过程,监督检查相关经营管理者履行职责行为的正确性,发现管理缺陷,纠正行为偏差,促进企业规范管理和自我完善,提高企业效能的综合性管理监控工作。
第三条效能监察工作坚持以下原则:(一)依法依规监察原则。
严格依据上级政策、法律法规和集团、公司和公司相关规定,照章办事、违规必纠;(二)科学发展原则。
围绕公司生产经营管理中心工作,推进改革发展步伐,保持企业和谐稳定大局;(三)注重实效原则。
堵塞管理漏洞、健全管理制度、提升管理水平;(四)实事求是原则。
重调查、重证据、重事实,客观公正。
(五)与廉洁风险防控相结合原则。
查找苗头性倾向性问题或案件线索,维护公司健康发展环境。
第二章效能监察的任务第四条效能监察的主要任务:(一)检查经营管理者履行职责,执行国家法律法规和企业管理制度,完成经营管理目标任务的情况,促进企业加强执行力,维护指令畅通和企业重大决策目标落实,为企业生产经营中心工作提供保障支持和服务;(二)监督检查经营管理者履职行为,发现行为偏差和管理缺陷,分析存在问题的原因,提出监察建议、监察决定的意见,促进企业加强内部管理,降低管理成本,增加经济效益,维护企业和职工的合法权益;(三)按规定参与调查违反国家法律法规和企业管理制度造成国有资产(企业资产)损失的问题,依照有关规定追究相关责任者的责任,为企业避免或挽回经济损失;(四)督促所属基层单位、机关部室依法经营和经营管理者廉洁从业,按规定将发现的违法违纪线索及时移交有关部门处理;(五)督促落实监察建议、监察决定、监察通报有关要求和有关工作建议,纠正经营管理者行为偏差,总结推广管理经验,健全管理制度,促进企业规范管理,完善企业激励约束机制。
企业效能监察工作流程(3.1操作难度三色分级版再增加绿色的工作内容为高级专业版水平♦■,人<»l I •(■•■♦•■♦A. ■ ■•・• xn>t«itx^<4. ^<Atave tlAi»«He9tetoFDLt«a. ■■ fll•■■■••金•・・Xfl・・.•♦•第野・・・・・・置•艮■・■■・•.■,人:«<R.v««enm<x ,■・■■■•■♦・■.x・♦•・■・《・(!•&■■角・.it*i HX4t«<v<ntfta9号”・MW Us <12 ■ •U ■」・■ ■■■■ ■•・z・\•■令・・!!■,■・•■•■・wwetR■■/.■..6<AY«t»«a. •••□ MQ■的■«.•・. HX■。
皂・,■■命・,R1・•tHI*> f ft •1 •,」, •箱■■9 •»■■・<.<4i4£i•人・,Mt ■•IM a«•• it♦ S・f■♦■・#♦・•,■,x 人・・♦W»L 的♦♦«・••■•旗・・4仃・・, ■・/・・・・•・・••♦•>■-・・<( ・♦■■■*!;・,•■■ ■翻<!••・■・,■•k♦■,•••nit, «♦・・■•■■・・■・・ew*・■■©•■ ♦■■■•"•■It txeae xn 电,1W 4ff«ic n<,e>Kf 4 *J ・iat*< L «V 1 > I R 9•l «• ia«<U/4t ,jk ■•■< ■♦修,, VHIIAf 4・■,.・H,T,个•■*♦・・・■ n >1 4BtSSt•vypiflk ・♦・*«<■色if ,&・•・・♦■♦・♦*■・?♦■♦<U 01/404 ••fSOKVliatff. (1 Bl* J It4€c»10 11 、检蚕指导/仔促5流程管理部门 签发人分级版姓果■ y ■■nB戳 任能逃H 讦价; 任务2.对技 SE 凯察实施. il 虬和促, 液果总结与 统计, 夜-7会'24.3.7-一JH EJ >T^_n 上= ・ 4为E倨顷效ft 工评ft 能作况& L察* :总性1佑报 务笑成衣L ;察合计 汪能拘价冬结旨蝠谊牧祚一监蟆J 作作金记录&仕暮L 在it 过卷皆与斡诚 工作庞果评审包括实尬过 林I 寸扣什原由.评/' F 联值隼#济杜常。
xxxxxx集团有限公司监察部门工程项目效能监察工作手册为有效开展好工程项目效能监察工作,规范项目效能监察工作流程,根据《xxxx监察管理制度》及相关规定,编制本工作手册。
1.工程项目效能监察的职能1.1监督检查项目经营管理人员执行国家法律法规、企业规章制度的情况;1.2查处施工生产经营和管理工作中的违规违纪问题;1.3分析研究影响项目效能的原因,提出解决问题和完善管理的措施及建议;1.4总结、宣传、和推广企业项目效能监察的做法与经验。
2.工程项目效能监察工作的流程2.1立项效能监察项目通过以下三种方式确定:(1)上级主管部门统一组织的效能监察项目。
(2)两级公司主要领导和分管领导直接指定的项目。
(3)两级公司部门经过调查分析、研究拟定并报批的项目。
2.2下达效能监察通知书向被监察工程项目所在单位通报实施效能监察的目的、要求和相关事宜。
2.3开展现场效能监察依据工程项目效能监察实施方案规定的内容,对有关管理流程和履职人员进行监督检查。
监察人员需认真填写《xxxx工程项目效能监察考核记录表》,并按监察内容搜集相关数据、资料等。
2.4对策研究监察部门会同审计、经营、人力等相关职能部门对发现的行为偏差和管理缺陷进行分析,并查找其在体制、机制和制度等方面的原因,研究提出监察建议或决定。
2.5通报通报是指向被监察工程项目的管理人员及其所在单位通报监察情况,听取其意见,并予以确认。
根据监察内容及存在问题的轻重,通报可分为口头通报、下达监察建议书、下达监察决定书三种形式。
《监察建议书》和《监察决定书》须实事求是、客观公正,并经分管领导审批后下达。
对监察中发现的需要追究党纪、政纪处分或者法律责任的问题,按权限报批后,移送上级纪委或有关部门处理。
2.6整改与反馈接受通报的被监察单位要在 15 日内提出采纳整改或执行反馈意见,并书面报送监察部门;对监察决定有异议的,被监察单位可以在收到监察决定书之日起的 15 日内向公司监察部申请复审;公司监察部复审应在收到复审申请之日起的 30 个工作日内完成。
公司效能监察工作制度一、目的和背景为了保障公司运营和发展的高效性,促进各部门协作,及时发现和解决潜在问题,制定公司效能监察工作制度。
二、职责和职能1.监察部门负责制定和执行公司效能监察计划,并根据需要组织相关培训。
2.各部门负责履行效能监察计划,及时汇报工作进展和问题。
3.监察部门定期归纳整理各部门的监察报告,提出改进建议,并向高层汇报。
4.高层负责对监察部门提出的改进建议进行审核和决策,向全体员工沟通相关决策。
三、工作流程1.监察部门根据公司的实际情况和需求,制定年度效能监察计划,并报高层审核批准。
2.各部门按照监察计划,结合岗位职责和需要,开展效能监察工作。
4.各部门汇总监察结果和问题,根据问题的严重程度和影响范围提出解决方案,面向高层进行报告。
5.高层核实监察报告的真实性和准确性,并对解决方案进行评估和决策。
6.高层根据决策结果,通过公司内部平台或会议等形式向全体员工传达决策要点和解决方案。
四、工作措施和方法1.制定明确的监察计划,根据实际情况和重要性确定监察的重点。
2.采用多种手段和方法,包括定期会议、现场调查、访谈等,全面了解各部门的运作情况。
3.监察结果要及时准确,对存在的问题要进行准确的描述和解释,并提出具体的改进建议。
4.高层要及时审核和决策监察结果和改进建议,对于能够实施的建议要给予支持和指导。
5.注意员工的反馈和意见,倾听他们的声音,及时解决他们的问题,提高员工满意度和参与度。
6.建立监察结果的跟踪表,对于通报的问题和解决方案进行持续的跟进和评估,确保问题得到有效解决。
五、制度执行和绩效评估1.各部门要严格按照制度要求进行效能监察工作,确保制度的执行性和可操作性。
2.监察部门要及时记录和汇总各部门的监察结果和问题,并向高层汇报。
3.高层要及时对监察结果和改进建议进行审核和决策,并向全体员工传达决策要点和解决方案。
4.监察部门要定期对制度的执行情况进行评估,提出改进建议,不断完善制度。
1、企业效能监察工作流程(3.1操作难度三色分级版)<i>企业效能监察工作流程(最新3.1版,按照操作难度分为初级、中级、高级专业版,刚开始做效能监察的朋友可以先从初级开始做)</i> 企业能监效察工流程(3作.1作操难三色分级版度)流程名称管领导主适用范围效监察能主控各级察监流程层总部二/ 级流程图用途流程门部部门/三级级述公司总经理描描一个述体立具的项效监能工作全察程及过果成价、评总结统计、、查检导指过。
程持支部公司业管理专门、职部能理部门、业务分管领导管、纪书委、记经理总。
门适用各级公于司的察部门监头牵组织本对单位核心的业流务程开展效监察工作能。
照红色字按内体容展开效能察监效为能察初级监普通,版红在基础上色增加蓝色工作的容为内中级版再增加绿色,工的内作为高级容业版水平专。
作方工综述以流程法监察为对,象按照效能监察程和“序性测四与试评模价”进型检查、行分析,发现题,从制度不断优化和问制执度行不力断高提个角度两续改进持流,不断提程流高程行运能效,以管致效理卓越能工。
考作核标完目、善改进优化、业了流程制度务,提高业了务绩效。
任岗位步责骤编号效能察监组小A 监察主管B 监察对象管主效部能监纪察书委/记上级总监察门\关相专业、导小领组理经主管职管理能部门C DE 工作务任工作录记作工标准FHG1调查究研选题项立任1务年初.本位单效能监察计年确划后进行立定调研项2,3-工个日作调研包,括对所要:察的监务业行运况、组织概人与员设、建前以现的出管理不足、目前任务、1立任务.1行进业务行已经发运现问的题未来、望达到的期理管目标项研报调立调项;研、比较现与目标状之距、差开效展能察的必要监性、告;任2务任务.2成形监察重点与察目标;监任务.2调研告完成后报-2个工1 、能效监能效监立察日形作成立项报,明告确:察对象监、及专业、涉察立监项报项。
察间范时、围监察受部/门位、计单划实时施、立间项告。
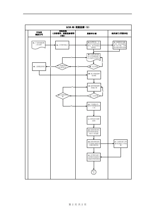
LC19.02流程说明书流程编号:LC19.02流程名称:效能监察一、流程描述(流程内容简要描述)1.某投集团公司下发效能监察工作安排;2.分管领导批办效能监督督办计划;3.监察审计部按照要求,并结合公司业务实际情况,拟定效能监察项目;4.纪检监察管理岗根据要求选题立项,制定效能监察工作计划,上报监审部并组织实施;5.纪检监察岗起草公司效能监察工作计划和立项意见;6.监察审计部主任审核;7.效能监察领导小组审批;8.上报集团审查;9.成立效能监察检查组;10.起草效能监察实施方案;11.主任审核;12.分管领导审批;13.下达通知书,组织开展效能监察工作;14.组织进行监察督查;15.现场收集相关资料和事实陈述,填写工作底稿;16.就检查情况和工作底稿与被检查对象交换意见;17.与相关部门/所属单位确认工作底稿;18.会同相关部门分析检查发现的行为偏差和管理缺陷;19.是否需要立案调查;20.执行案件管理工作流程;21.撰写效能监察报告,研究提出监察建议;22.主任审核;23.效能监察领导小组审批;24.下发监察建议书或决定书;25.监察整改落实情况;26.相关部门/所属单位落实监督建议或决定;27.评估效能监察成果;28.纪检监察岗撰写效能监察工作总结;29.撰写效能监察工作总结,履行审批权限并上报;30.主任审核;31.分管领导审核;32.报公司总经理、党组书记;33.报集团公司;34.组织开展优秀项目评审活动;35.推荐优秀项目,参加优秀项目评审;36.主任审核;37.分管领导审核;38.评审优秀项目,并对优秀项目进行表彰;39.纪检监察岗整理效能监察项目资料;40.相关部门/所属单位整理效能监察项目资料。
二、制度索引1.《中国电力投资集团公司效能监察办法》2.《某投物流有限责任公司效能监察办法》。
企业效能监察工作流程(3。
1操作难度三色分级版再增加绿色的工作内容为高级专业版水平.分级版任务1。
依据立项报告组建,领导小组由监察对象主管领导、分管领导、纪委书记、纪检及监察对象覆盖的相关部门负责人组成; 工作小组人数根据效能监察对象业务范围与分布而定,由相关业务部门与纪检部门共同组成;任务2。
根据立项调研、收集的监察对象相关的各类法规、管理制度、文件、标准等和效能监察流程制度、表格、效能监察作业指引等,由工作小组在熟悉基础上进行编制,编制期间,监察部门应与监察对象涉及的主管部门沟通协调监察实施方案;任务3.根据效能监察立项调研、立项报告、方案、“四性测试与评价模型"进行培训与开准备会,注意监察方案在监察小组内充分讨论,工作组成员比较熟练掌握“四性测试与评价”方法是关键,可以采取模拟演练试填四性测试与评价表来掌握测试评价方法;任务1依据立项调研情况进行评审,均由监察主管组织协调,可以采用:①纸质书面送达;②电子版邮箱送达;③电子化流程送达;④会议形式评审与确认;评审时,注意结合业务部门对业务最近时期的监督检查结果,重点评审“监察内容、监察目的”的正确性。
任务2。
以公司正式文件通知发出,可以在全公司OA 平台发布,注意确认受监察单位是否收到通知,也可以不提前通知而直接去受监察单位开展突击效能监察. 进场召开首次会议,交代监察方案和配合要求,按照监察方案、“四性测试与评价"方法、《制度建设充分性与适宜性、符合性与有效性检查案例》模版进行。
任务1。
依据收集的业务文件制度与表格,用询问法与审阅法,从流程目标、组织、工作步骤、工作任务、控制技术(工作记录、过程工作标准)和工作方法六方面进行制度条文内容的仔细分解,描述现有制度规定流程,找出没有文字规定的方面,并标示证据;任务2。
按照抽样技术进行客观、独立抽样;根据抽取样本的全过程原始记录和效果资料,按穿行测试法,兼用询问法、审阅法,客观描述业务执行PDCA全过程实际步骤和横向每个步骤的实际责任部门与岗位、工作任务、工作记录、过程工作标准和工作方法及实际达到效果;按对比分析法与任务1描述对比分析,发现业务过程偏离制度、实际效果未达目标的情形,并标示证据;事后进行抽样风险评估,如抽样存在时间分布不均匀、或分层分类中不均匀、或违背随机、或偏离重点业务范围,皆属于抽样风险评估不合格,须增加抽样重复执行任务2;任务3.根据任务1描述的制度和业务预期管理目标, 结合任务2判断结果,分析、发现现有制度在业务目标和步骤、责任部门/岗位、工作任务、记录、标准、方法六方面未规定清楚、不合理适宜、影响管理目标实现的地方,并标示证据。
深圳公司效能监察工作和流程[五篇范文]第一篇:深圳公司效能监察工作和流程深圳分公司效能监察主要工作和流程本流程具体分为选题立项、实施准备、组织实施、督促整改、总结归档五个阶段(十个步骤)。
一、选题立项1、选定项目。
紧紧围绕公司中心工作,针对员工关注的热点、生产经营的难点、基础管理的薄弱环节、资产管理的风险因素及其影响管理效能、生产效益、工作效率的主要问题等进行深入调查研究。
本着先易后难、先专项后综合的原则,选定职工反映大、矛盾较突出、单位能解决、容易见效果的问题,作为效能监察项目备选项。
股份公司监察部统一组织的效能监察项目,也应列入到选定项目之中。
2、立项审批:确立备选项目后,由纪检监察办公室填写《效能监察立项表》,呈报公司效能监察领导小组审批,同时报股份公司监察部备案。
效能监察立项工作一般情况下应在每年4月份前完成。
二、实施准备1、制定方案。
成立以监察人员为主体,公司各有关部门派人参与的效能监察项目工作小组。
制定效能监察项目实施方案,对开展效能监察工作的目的、对象、内容、范围、方法、步骤、要求、职责分工、时间进度和评价标准等作出具体的说明和详细的安排。
2、下达通知。
经公司领导签发,向被监察单位发送《效能监察通知书》,通报效能监察工作的相关事宜。
收集相关专业知识及法规制度,效能监察项目工作小组成员提前熟悉相关知识业务。
三、组织实施1、现场监察:通过听取被监察单位工作汇报、查证相关台账资料、列席被监察单位与监察事项有关的会议、现场检查等方式,检查被监察单位履行职责、执行国家法律法规和内部管理制度、完成管理目标的情况,查找被监察单位是否存在违反有关规定的行为、生产经营活动中有无管理漏洞、制度落实中是否存在“盲区”等影响单位效能的问题。
2、通报结果:根据监察中发现的行为偏差、管理缺陷,查找原因,研究提出监察建议的意见,拟定《效能监察建议书》,经单位行政主要领导签发,下达给被监察单位,通报监察结果,听取其意见。
效能监察工作流程下载温馨提示:该文档是我店铺精心编制而成,希望大家下载以后,能够帮助大家解决实际的问题。
文档下载后可定制随意修改,请根据实际需要进行相应的调整和使用,谢谢!并且,本店铺为大家提供各种各样类型的实用资料,如教育随笔、日记赏析、句子摘抄、古诗大全、经典美文、话题作文、工作总结、词语解析、文案摘录、其他资料等等,如想了解不同资料格式和写法,敬请关注!Download tips: This document is carefully compiled by theeditor. I hope that after you download them,they can help yousolve practical problems. The document can be customized andmodified after downloading,please adjust and use it according toactual needs, thank you!In addition, our shop provides you with various types ofpractical materials,such as educational essays, diaryappreciation,sentence excerpts,ancient poems,classic articles,topic composition,work summary,word parsing,copy excerpts,other materials and so on,want to know different data formats andwriting methods,please pay attention!效能监察工作流程一、立项阶段1. 确定项目需求:根据实际情况和需求,确定监察项目的范围和内容,制定监察方案。
效能监察工作制度第一章总则第一条为加强公司效能监察工作,完善企业管理,促进经营管理者正确履行职责,提高企业效能,实现效能监察工作规范化、制度化,根据国务院国资委及集团公司的有关规定,结合企业的实际情况,制定本制度。
第二条效能监察是企业监察机构针对影响企业效能的有关业务事项或活动过程,监督检查相关经营管理者履行职责行为的正确性,发现管理缺陷,纠正行为偏差,促进企业规范管理和自我完善,提高企业效能的综合性管理监控工作。
本办法适用范围:公司各单位及其全资、控股子公司。
第三条检查经营管理者履职行为正确性遵循以下标准:(一)合法性:经营管理者履职行为必须是合法的授权行为,必须符合国家相关法律法规和企业领导人员廉洁从业的相关规定,必须按规定接受监督;(二)合规性:经营管理者履职行为必须符合相关管理程序、业务流程和技术规范;(三)合理性:经营管理者履职行为在职责权限内的合理载量,必须符合降低成本增加效益、持续经营等管理原则;(四)时限性:经营管理者履职行为对有特殊时限要求的管理事项不得擅自延长或者缩短时限。
第四条效能监察工作坚持以下原则:(一)科学发展原则。
围绕企业经营中心,服务企业改革发展大局,促进建立节约型企业,持续发展,不断提高效益;(二)依法监察原则。
有章必循、违章必纠、执纪必严,激励守法合规行为;(三)实事求是原则。
重调查研究、重证据,客观公正;(四)协调统一原则。
监察与纪检、监事会和审计等其他监督部门相协调;监督检查经营管理者履职行为与服务经营管理目标相统一;促进制度建设与提高企业效能相统一;完善企业内部管理控制机制与构建惩治和预防腐败体系相统一;教育与奖惩相统一。
第二章效能监察工作领导体制和责任体系第五条公司按照企业人事管理权限或者企业产权关系,依据“统一要求、分级负责”的原则,建立健全效能监察工作责任体系,形成在企业党政领导下,由主要经营管理者负责、监察机构组织协调和实施、相关部门密切配合、职工群众积极参与的效能监察工作领导体制和工作机制。
企业效能监察工作流程(3.1操作难度三色分级版
再增加绿色的工作内容为高级专业版水平。
分级版
任务1.依据立项报告组建,领导小组由监察对象主管领导、分管领导、纪委书记、纪检及监察对象覆盖的相关部门负责人组成;工作小组人数根据效能监察对象业务范围与分布而定,由相关业务部门与纪检部门共同组成;任务2.根据立项调研、收集的监察对象相关的各类法规、管理制度、文件、标准等和效能监察流程制度、表格、效能监察作业指引等,由工作小组在熟悉基础上进行编制,编制期间,监察部门应与监察对象涉及的主管部门沟通协调监察实施方案;任务3.根据效能监察立项调研、立项报告、方案、“四性测试与评价模型”进行培训与开准备会,注意监察方案在监察小组内充分讨论,工作组成员比较熟练掌握“四性测试与评价”方法是关键,可以采取模拟演练试填四性测试与评价表来掌握测试评价方法;任务1依据立项调研情况进行评审,均由监察主管组织协调,可以采用:①纸质书面送达;②电子版邮箱送达;③电子化流程送达;④会议形式评审与确认;评审时,注意结合业务部门对业务最近时期的监督检查结果,重点评审“监察内容、监察目的”的正确性。
任务2.以公司正式文件通知发出,可以在全公司OA 平台发布,注意确认受监察单位是否收到通知,也可以不提前通知而直接去受监察单位开展突击效能监察。
进场召开首次会议,交代监察方案和配合要求,按照监察方案、“四性测试与评价”方法、《制度建设充分性与适宜性、符合性与有效性检查案例》模版进行。
任务1.依据收集的业务文件制度与表格,用询问法与审阅法,从流程目标、组织、工作步骤、工作任务、控制技术(工作记录、过程工作标准)和工作方法六方面进行制度条文内容的仔细分解,描述现有制度规定流程,找出没有文字规定的方面,并标示证据;任务2.按照抽样技术进行客观、独立抽样;根据抽取样本的全过程原始记录和效果资料,按穿行测试法,兼用询问法、审阅法,客观描述业务执行PDCA全过程实际步骤和横向每个步骤的实际责任部门与岗位、工作任务、工作记录、过程工作标准和工作方法及实际达到效果;按对比分析法与任务1描述对比分析,发现业务过程偏离制度、实际效果未达目标的情形,并标示证据;事后进行抽样风险评估,如抽样存在时间分布不均匀、或分层分类中不均匀、或违背随机、或偏离重点业务范围,皆属于抽样风险评估不合格,须增加抽样重复执行任务2;任务3.根据任务1描述的制度和业务预期管理目标,结合任务2判断结果,分析、发现现有制度在业务目标和步骤、责
任部门/岗位、工作任务、记录、标准、方法六方面未规定清楚、不合理适宜、影响管理目标实现的地方,并标示证据。
事毕即召开末次会,确认发现、建议和整改要求。
以上在小组内分工又协作完成。
任务1.根据步骤5的原始记录,在分析判断记录基础上,填写不合格事实,标注证据,没有证据确认存在疑问的归入待定项,在正式监察报告前须确认;任务2.根据步骤5的原始记录,先按充分性、符合性、有效性和适宜性对发现进行汇总,小组以发现汇总分析会议形式进行讨论,分析不合格产生原因,发现问题规律,组长确认后,建议/决定书依据监察发现事实和汇总分析会结论提出;一般针对充分性、适宜性发现提出监察建议,就事论事必须整改的符合性、有效性发现须提出必须限期整改的监察决定;任务3.依据效能监察方案执行情况写效能监察组织实施情况;依据监察发现汇总统计、发现汇总分析讨论会议结论写监察对象制度体系运行基本特征;依据监察发现报告、建议书、决定书写监察发现、监察建议与决定和复查与验证时间;监察报告注意要能够全面反映效能监察实施概况、监察对象管理情况的基本特征、监察发现的问题和监察整改内容及要求。
任务1和2均依据现场确认的四性检查与评价原始记录、监察发现报告、建议/决定书进行,工作组组长组织协调,可以采用:①纸质书面送达;②电子版邮箱送达;③电子化流程送达。
可以对监察建议、决定做更高要求的建议与决定修改,也可以降低整改要求,把握责任部门/单位适合整改、能够达到整改后的预期效果为原则。
任务1.根据监察建议/决定的整改约定期限编制整改落实计划,在计划编制期间,责任单位可与监察小组人员就整改落实方案进行讨论,监察小组人员提供的“四性测试与评价”原始记录、监察发现报告作为整改方案制订的重要基础性资料;任务2.依据建议/决定内容逐条对照进行复查验证,使用充分性、符合性、有效性和适宜性对应的检查测试方法进行复查与验证。
可以由整改责任单位寄送整改落实计划对应的全部整改落实证据资料异地进行,也可以到责任单位所在地进行。
任务均在小组内分工又协作形式完成。
任务1.按照《效能监察质量自评表》,依据效能监察流程对比实际实施全过程记录结果,效能监察人员实施过程中遇到的“卡壳”现象进行自评,在复查与验证之后自评时,从组织、程序、内容、方法、记录、证据、效果等七方面进行。
在监察报告完成之后自评时,从组
织、程序、内容、方法、记录、证据等六个方面来进行。
可以每个监察人员独自评价后合议统一,或者集体逐项评议;任务2.依据监察实施的形成原始记录、证据收集时间顺序组卷归档。
对于针对某一流程的专项效能监察,可以将监察过程记录与对应证据资料按照监察实施的先后顺序排列,记录在前,对应证据在后,进行合并装订成卷;对于针对跨多业务的多个流程的综合效能监察,可以分流程组成分卷,每分卷全过程记录和证据分开装订。
任务均在小组内分工又协作形式完成。
任务1.依据整理好的效能监察案卷进行,根据《效能监察成果评分标准表》的标准进行逐项评价,可以由公司监察部门组织自行评价,也可以由监察部门请其他外单位效能监察专家评价,本效能监察小组人员回避;任务2.依据效能监察工作综合情况统计结果和效能监察方案写总结,从反映效能监察工作实施情况、整改落实情况和取得的效果角度来写,依据监察发现汇总会议分析结论和成果评价情况,提出下一步的效能监察工作打算。
由工作小组组长来进行总结。
依据效能监察流程制度要求进行,一般由上级监察部门监察主管人员组织进行。
方法技巧上可以采取符合性(穿行测试法、或流程测试法与有效性检查相结合。
工作组织形式说明,以上"责任岗位"如为具体某"岗位","工作方法"中的工作组织形式均为该岗位人员直接经办完成工作任务。