后勤管理工作流程图
- 格式:pdf
- 大小:97.64 KB
- 文档页数:1
后勤服务部维修工作流程维修查房科室报修申请查房及报修申请记录水、电、暖、家电器件损坏正常损坏非正常损坏报维修班报科室主管领导处理意见维修班派人到现场按处理意见执行维修班派人到现场维修班派人到现场无需配件需更换配件报主管领导申领配件按处理意见执行后勤服务部应急突发事件管理工作流程维修接待或总值班人员接到突发事故(件)报告维修人员赶快现场了解情况报科室和上级主管院领导马上通知应急小组到位报告相关政府主管部门应急小组第一时间赶到现场迅速处置或协助相关部门进行处置协调完毕后做好记录解决问题分析、总结、汇总后勤服务部应对恶劣气候及严重灾害处置流程后勤服务部值班人员防汛、方台风地震火灾有毒、化学物品泄漏A:台风、暴雨、风暴潮对电器、人员、财产B:出现风灾和水灾等险情时C:配电间和泵房内入水D:发生漏电、电击损坏设备A:高空坠落伤人B:电击C:人员被困电梯中A:烟尘污染B:蔓延、恶化至燃烧、爆炸C:人员被困D:燃烧物具有有毒性等危险性A:化学危险品事故B:蔓延、扩散C:彼此发生化学反应产生失火、爆炸或危险性物质生成D:有毒气体持续飘散造成人A:立即启动应急预案,第一时间通知全院各部门关闭门窗、收拢置于窗外的悬挂物,做好安全防范措施。
B:通知物业打开地下管道、排水沟排积水保证畅通C:检查院区内电线、电路、电器设备确保电路设施正常,必要时切断配电间周围设备电源,以防漏电、电击损坏设备。
A:立即启动应急预案,组织救援疏散并告知切断电源、关闭门窗防止高空坠落伤人。
B:通知疏散引导,配合组织病房内全体人员安全有序地撤离至应急避险场所集中。
C:搜寻、解救被困电梯内人员,安排撤离至应急避难场所。
A:详细全面了解情况后,第一时间通知班组负责人。
B:配电班切断电源,电梯班搜寻、解救被电梯内人员C:采取措施、组织现场扑救、控制火势、防止蔓延、尽可能挽回损失。
D:协助病区医护人员组织好人员疏散与安置、等待救援。
A:详细全面了解情况后,第一时间通知班组负责人采取相应措施。
一次性医疗用品管理工作流程图
医疗废物回收、处理工作流程图
医疗设备器材购置工作流程图
医疗设备管理工作流程图
医用器材管理流程图
计量管理工作流程图
固定资产及物资购置工作流程图
物资供应管理工作流程图
至账务处理工作流程
物品领取工作流程图
报废工作流程图
固定资产管理工作流程图
工勤维修工作流程图
电梯检修保养工作流程图
中央空调运行工作流程图
洗衣房工作流程图
电梯驾驶员操作工作流程图
安全检查工作流程图
应急突发事件管理工作流程图。
XXXXXXXX有限公司行政后勤管理工作流程图(试行)XXXXXX有限公司行政后勤管理工作流程图(试行)目录一、公司发文管理工作流程图 ................................................................................................... - 3 -公司收文管理工作流程图 ................................................................................................... - 4 -办公设备(用品)领用管理工作流程 ............................................................................... - 5 -办公设备维修管理工作流程 ............................................................................................... - 7 -办公设备(用品)申购管理工作流程 .................................................................................... - 8 -接待管理工作流程............................................................................................................... - 9 -车辆加油管理工作流程 ......................................................................................................- 10 -车辆使用管理工作流程图 ..................................................................................................- 11 -车辆维修(护)管理工作流程 ..........................................................................................- 13 -车辆肇事管理工作流程图 ..................................................................................................- 14 -档案管理工作流程图..........................................................................................................- 15 -档案借阅与归还管理工作流程图 ......................................................................................- 17 -会议管理工作流程图..........................................................................................................- 18 -招待就餐管理工作流程图 ..................................................................................................- 19 -礼品领用管理工作流程 ......................................................................................................- 20 -礼品申购管理工作流程 ......................................................................................................- 21 -宣传品制作管理工作流程 ..................................................................................................- 23 -印章使用管理工作流程 ......................................................................................................- 24 -订餐、订房、订票管理工作流程图 ..................................................................................- 25 -名片印制管理工作流程 ......................................................................................................- 26 -公司发文管理工作流程图公司收文管理工作流程图办公设备(用品)领用管理工作流程附:《办公设备(用品)领用单》办公设备维修管理工作流程办公设备(用品)申购管理工作流程接待管理工作流程车辆加油管理工作流程车辆使用管理工作流程图车辆维修(护)管理工作流程车辆肇事管理工作流程图档案管理工作流程图档案借阅与归还管理工作流程图附:《档案借阅申请单》会议管理工作流程图招待就餐管理工作流程图礼品领用管理工作流程附:《礼品领用单》礼品申购管理工作流程附:《礼品采购单》附:《印章使用单》订餐、订房、订票管理工作流程图名片印制管理工作流程附:《名片印制申请单》。
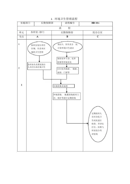
1.环境卫生管理流程实施部门后勤保障部流程编号HB-001流程单元节点123各科室 /部门A按科室划分责任区域,负责本区域的卫生管理各科室负责督促保洁人员打扫本区域卫生后勤保障部院办公室B C保洁人员负责全院日常环境卫生清洁保持室外干净、花草检修等环境美化打扫室内地面、墙面、桌面、门窗等垃圾收集及处理环境消毒,配置消毒液对门诊、病区等进行定期消毒定期组织人员对全院卫生状况进行检查,并评比打分,结果与科室综合考评挂钩2.内部道路、通道安全管理流程实施部门安全保卫部、后勤保障部流程编号HB-002流程各科室 /单元安全保卫部、后勤保障部部门节点A B1专人负责巡视道路畅通情况23救护车道、消防门前路口内部道路停车场通道、楼内通道协助保持通道的畅通性时刻设置定期与当地保持道为老弱负责监内部职保持并检检查公安、路畅残等需督严禁工车辆畅通查警通道城管、通,引要帮助烟火,与外来示、的畅工商部导车的人士定期检车辆分指引通及门建立辆、行给予及查消防开存放,标志相关共建机人有序时帮助器械的确保车是否设施制安全通完好性辆存放完好的完行的有序,备性并按规定收取停车费3. 节能管理流程实施部门后勤保障部流程编号流程单元各科室/部门后勤保障部节点A B12HB-003院办公室C大力宣传节能的重要性和必要性根据国家法律法规及医院实际,制定医院节能具体行为规范34 5响应医院节能管理号召,认真履行节能制度进行科室成本核算,严格控制医疗服务成本积极推广节能新技术、新产品,通过技术和科学管理的进步,不断提高医院能源利用率定期组织人员对科室节能情况进行检查,并评比打分,结果与科室综合考评挂钩4.污水、噪声、医疗废物管理流程实施部门后勤保障部流程编号HB-004流程单元节点1 2 3各科室 /部门后勤保障部A B按照规定,严格控制污水、噪声、医疗废物污水处理噪声处理医疗废物处理严格管理污医院设计上考医疗废物收集水,禁止污水虑减低噪声设直接排放计,电梯、检查清理、消毒、封室、治疗室要考应用过滤、混凝、口,并认真做好虑噪声因素活性炭吸附、离过秤、交接及登子交换等物理化记工作学净化方法使之无害化减少病房噪声:由专车运送至医务人员穿软政府指定的集取样并化验,保底鞋,减少陪护中处理点统一证污水处理复核人员,为病床及集中销毁排放标准,并做各种推车加防好详细记录撞轮,等等4 5爱护各种废水、废物、噪声控制设备,定期维护保养配合做好环保、卫生监督等部门执法检查工作实施部门基建维修管理部单元基建维修管理部节点A1与施工单位签订安全责任书及安全生产协议书2加强建筑施工安全3检查和监督管理发现重大安全隐患4及时上报主管人员流程编号HB-006流程安全保卫部分管副院长B C做出批示协助基建部开展防火防盗事务,协助处理突发事件做出批示5督促相关人员进行整改6记录备案实施部门后勤保障部流程编号HB-007流程单元节点1 2职工食堂总值班及当班院领导A B工作人员严格执行《中华人民共和国食品卫生法》食品采购的卫生安全管理按规定选严格挑选严格管理择供货商食物食物运输3 4 5 6 7 8 9 10食品验收入库,并详细记录按食品卫生要求进行贮存按食物的特性进行烹饪,保证食品的安全按照卫生标准对餐具进行清洗和消毒在制定的地方及容器里销售食品,保证取放食品的卫生安全配合上级部门进行食品卫生检查发现重大食品安全事故时立即上报主管人员按照指示处理事故做出指示11详细记录食品卫生安全情况,并定期汇报实施部门单元节点123456789108.锅炉房安全管理流程后勤保障部流程编号HB-008流程锅炉班当班院领导A B检查锅炉的各设施及部位,确认正常后方可开启锅炉锅炉运行中,确保供水保持正常水位(60%-70% )冲洗水位表和点接点水位计,每班不少于 2 次定期做排汽试验,保持气压稳定运行和压火时,必须严格监控发现重大异常情况时,必须立当班领导即采取紧急措施,并及时上报做出指示按照领导指示抢救保护现场详细记录当班情况,并办好交接班手续定期进行设备安全检验定期更新锅炉及相关设施10.供水排水管理流程实施部门后勤保障部流程编号HB-010流程单元水工班院领导节点A B巡回检修供水排水管道12发现溢漏、堵塞等问题,及时解决3检查供水水质,定期污水排放前进进行水质化验、消毒行无害化处理4 5 6 7 8做好日常供水排水设备的定期检查以及保养、维修工作,并做好记录发现重大故障,应立即采取应急措施,并上报分管副院长做出批示按照院领导批示进行事故处理严格执行交接班制度,做好值班记录,定期汇报9定期更新设备11.卫生被服发放工作流程实施部门物资采供部单元各科室/部门节点A各科室 /部门填写1卫生被服申请单2科室负责人签字同意3科室专人携带院领导批示条到物资采供部领取45科室验货后,使用6流程编号HB-011流程物资采供部院领导B C院领导做出批示库房备货办理出库登记手续定期统计、核算各科室领用情况7申请单、出库单等资料汇总归档保存实施部门单元节点1234567812.卫生被服洗涤工作流程后勤保障部流程编号HB-012流程各科室 /部门洗衣房A B各科室 /部门把需要洗涤的清点数量并登记被单、衣服送洗衣房进行分类,并装入病人专用洗衣机传染性衣物加消毒非传染性衣物加水液初步清洁消毒初步清洁加洗涤剂蒸汽煮沸加洗涤剂搅拌漂洗 3次脱水、晾晒烫干、叠放、入库,注明洗涤日期清点接受,签字清点、返回分账登记913.内环境保洁工作流程实施部门后勤保障部流程编号HB-013流程单元院办公室保洁员节点A B1 2保洁员到岗集合巡视卫生区域,保持卫生清洁传染性病房用消毒液擦拭家具、器械等34 5 6严格区分医疗垃圾和生活垃圾每月评价室内环境质量,评价结果与保洁员个人考核、工资挂钩定期清扫房间、走廊、楼梯的地面墙面、门窗、桌椅等收集处理垃圾经常巡视,随时保洁改进保洁质量7实施部门单元节点1234567814.外环境保洁工作流程后勤保障部流程编号HB-014流程院办公室后勤保障部A B保洁员到岗巡视卫生区域,保持卫生清洁清扫路面,清除烟头、纸屑等杂物院内绿化美化,定期修剪绿化带收集处理垃圾经常巡视,随时保洁每月评价室外环境质量,评价结果与保洁员个人考核、工资挂钩不断改进院内环境18污水处理工作流程实施部门后勤保障部流程编号HB-018流程单元节点1 2污水处理员后勤主任A B医院污水通过总管道污水沉淀池沉淀抽入氧化池氧化34 56 7消毒池加次的氯酸消毒剂 10%至 12%进行消排放前监测排放前记录余PH时设投投污接值氯值间备药药水触班量运量浓处时员行度理间量发现设备运行故障及时并上报主任按指示维修或更新设备,保证污水处理正常运行做出指示污水处理合格后按规定排放基建人员流程实施部门后勤保障部流程编号HB-014流程单元后勤主任基建人员节点A B1 2基建人员到岗检查承包人投入工程项目的人力、材料、主要设备及使用运行情况,并做好检查记录。
公司行政后勤管理工作流程图(2018年版)内部资料注意保管公司行政后勤管理工作流程图XXXXXX有限公司行政后勤管理工作流程图目录一、公司发文管理工作流程图 (4)二、公司收文管理工作流程图 (5)三、办公设备(用品)领用管理工作流程 (6)四、办公设备维修管理工作流程 (7)五、办公设备(用品)申购管理工作流程 (8)六、接待管理工作流程 (9)七、车辆加油管理工作流程 (10)八、车辆使用管理工作流程图 (11)九、车辆维修(护)管理工作流程 (13)十、车辆肇事管理工作流程图 (14)十一、档案管理工作流程图 (15)十二、档案借阅与归还管理工作流程图 (16)十三、会议管理工作流程图 (17)十四、招待就餐管理工作流程图 (18)十五、礼品领用管理工作流程 (19)十六、礼品申购管理工作流程 (20)十七、宣传品制作管理工作流程 (21)十八、印章使用管理工作流程 (22)十九、订餐、订房、订票管理工作流程图 (23)二十、名片印制管理工作流程 (24)办公设备(用品)领用管理工作流程附:《办公设备(用品)领用单》办公设备维修管理工作流程办公设备(用品)申购管理工作流程接待管理工作流程车辆加油管理工作流程车辆使用管理工作流程图车辆维修(护)管理工作流程车辆肇事管理工作流程图档案管理工作流程图档案借阅与归还管理工作流程图附:《档案借阅申请单》会议管理工作流程图招待就餐管理工作流程图礼品领用管理工作流程附:《礼品领用单》礼品申购管理工作流程附:《礼品采购单》宣传品制作管理工作流程印章使用管理工作流程附:《印章使用单》订餐、订房、订票管理工作流程图名片印制管理工作流程。
XXXXXXXX有限公司
行政后勤管理工作流程图(试行)
XXXXXX有限公司
行政后勤管理工作流程图(试行)
目录
一、公司发文管理工作流程图.......................................................................................... - 3 -
公司发文管理工作流程图
公司收文管理工作流程图
办公设备(用品)领用管理工作流程
附:《办公设备(用品)领用单》
办公设备维修管理工作流程
办公设备(用品)申购管理工作流程
接待管理工作流程
车辆加油管理工作流程
车辆使用管理工作流程图
车辆维修(护)管理工作流程
车辆肇事管理工作流程图
档案管理工作流程图
档案借阅与归还管理工作流程图
附:《档案借阅申请单》
会议管理工作流程图
招待就餐管理工作流程图
礼品领用管理工作流程
附:《礼品领用单》
礼品申购管理工作流程
附:《礼品采购单》
宣传品制作管理工作流程
印章使用管理工作流程
附:《印章使用单》
订餐、订房、订票管理工作流程图
名片印制管理工作流程
附:《名片印制申请单》。
目录
目录
后勤管理工作流程
固定资产及物资购置工作流程图
后勤仓库物资管理工作流程图
物品领取工作流程图
报废工作流程图固定资产管理工作流程图工勤维修工作流程图
供氧工作流程图
发电工作流程图中央空调运行工作流程图
冼衣房工作流程图电梯检修保养工作流程图电梯驾驶员操作工作流程图医疗废物回收、处理工作流程图医院卫生管理工作流程图
设备科工作流程图
医疗设备器材购置工作流程图医疗设备管理工作流程图医用耗材采购流程计量管理工作流程图
后勤管理工作流程
固定资产及物资购置工作流程图
后勤仓库物资管理工作流程图
仓管员验收物资入库
仓管员定期对仓库进行整理清点
定期盘点
物品领用申请单
填写盈亏报废汇总表
科室主任、护士长签
仓管员凭出库单出库物资,领取人签字
仓管员定期与财取工作流程图
少量物品领取人带走成批物品下送
后勤物资报废工作流程图
固定资产管理工作流程图
供氧工作流程图。