流程图-整理
- 格式:pptx
- 大小:856.02 KB
- 文档页数:31
程序流程图编写规范_(终极整理版)程序流程图规范1.引⾔国际通⽤的流程图形态和程序:开始(六⾓菱型)、过程(四⽅型)、决策(菱型)、终⽌(椭圆型)。
在作管理业务流程图时,国际通⽤的形态:⽅框是流程的描述;菱形是检查、审批、审核(⼀般要有回路的);椭圆⼀般⽤作⼀个流程的终结;⼩圆是表⽰按顺序数据的流程;竖⽂件框式的⼀般是表⽰原定的程序;两边⽂件框式的⼀般是表⽰留下来的资料数据的存储。
2.符号⽤法程序流程图⽤于描述程序内部各种问题的解决⽅法、思路或算法。
图1-1 标准程序流程图符号1)数据:平⾏四边形表⽰数据,其中可注明数据名、来源、⽤途或其它的⽂字说明。
此符号并不限定数据的媒体。
2)处理:矩形表⽰各种处理功能。
例如,执⾏⼀个或⼀组特定的操作,从⽽使信息的值,信息形式或所在位置发⽣变化,或是确定对某⼀流向的选择。
矩形内可注明处理名或其简要功能。
3)特定处理:带有双纵边线的矩形表⽰已命名的特定处理。
该处理为在另外地⽅已得到详细说明的⼀个操作或⼀组操作,便如⼦例⾏程序,模块。
矩形内可注明特定处理名或其简要功能。
4)准备:六边形符号表⽰准备。
它表⽰修改⼀条指令或⼀组指令以影响随后的活动。
例如,设置开关,修改变址寄存器,初始化例⾏程序。
5)判断:菱形表⽰判断或开关。
菱形内可注明判断的条件。
它只有⼀个⼊⼝,但可以有若⼲个可供选择的出⼝,在对符号内定义各条件求值后,有⼀个且仅有⼀个出⼝被激活,求值结果可在表⽰出⼝路径的流线附近写出。
6)循环界限:循环界限为去上⾓矩形或去下⾓矩形,分别表⽰循环的开始和循环的结束。
⼀对符号内应注明同⼀循环标识符。
可根据检验终⽌循环条件在循环的开始还是在循环的末尾,将其条件分别在上界限符内注明(如:当A>B)或在下界限符内注明(如:直到C图1-2给出了当终⽌条件成⽴时进⼊循环和直到终⽌条件成⽴退出循环的两种不同的表⽰。
图1-2 两种循环表⽰7)连接符:圆表⽰连接符,⽤以表明转向流程图的它处,或从流程图它处转⼊。
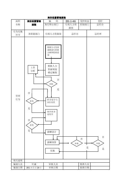
岗位设置管理流程流程 名称 岗位设置管理流程 编 码 DX-11-001 受控状态 受控执行核心部门 行政人力资源部控制部门总经办行为实施环节各职能部门行政人力资源部总经办 总经理管理 行为相关说明编制人员 叶森审核人员 批准人员 否是否否是否根据公司发展战略进行职能分解和机构设置 根据人力资源规划确定编制工作分析审核职责划分与岗位设置意见制作职务说明书意见薪酬设计薪酬预算审核审批实施是是是否人员编制管理流程流程 名称 人员编制管理流程编 码 DX-11-002 受控状态 受控 执行核心部门行政人力资源部控制部门总经办行为实施环节各用人部门行政人力资源部总经理办公会议总经理 管理 行为相关说明编制人员 叶森 审核人员 批准人员 编制日期2011年5月21日审核日期批准日期是否进行各部门工作量分析提出编制草案对本部门编制提出意见审议制定具体的人员编制,并编制职位说明 审核否是签批否是执行编制增加编制申请流程流程 名称 增加编制申请流程 编 码 DX-11-003 受控状态 受控 执行核心部门 各用人部门控制部门总经办行为实施环节各用人部门行政人力资源部总经理办公会议总经理管理 行为相关说明编制人员 叶森 审核人员 批准人员 编制日期2011年5月20日审核日期批准日期否否 提出增加编制的申请审核 审议 审批 提出增编岗位人员素质要求 决策内聘外聘内部招聘流程外部招聘流程是是是否用人申请流程流程 名称 用人申请 流程 编 码 DX-11-004 受控状态 受控 执行核心部门用人部门控制部门分管经理 行为实施环节用人部门 部门负责人分管部门行政人力资源部管理 行为相关说明 编制人员 叶森 审核人员 批准人员 编制日期2011年5月21日审核日期 批准日期是因调动、流失等原因出现职位空缺 报告部门 负责人 判断不影响 工作 维持现状影响 工作 填写用人申请表审核核实是 否 否实施 招聘流程源部行为实施环节用人部门行政人力资源部公司员工员工原就任部门 管理 行为相关说明 编制人员 叶森 审核人员 批准人员 编制日期2011年5月21日审核日期批准日期关键人员不能调离决定内聘决定外聘用工申请 流程 判断对内发布招聘启事报名,填写应聘登记表用人部门面试,人力资源部提供相关支持 面试人员筛选判定与员工沟通,必要时请人力资源部协调 通知职员,并办理调动手续 非 关键人员公司外部招聘程序源部行为实施环节用人部门行政人力资源部应聘人员分管经理总经办 管理 行为相关说明 编制人员 叶森 审核人员 批准人员 编制日期2011年5月21日审核日期批准日期·决定外聘决定内聘用工申请 流程 判断对外发布招聘启事报名,填写应聘登记表用人部门面试,人力资源部提供相关支持 面试人员筛选通知报到报到公司内部招聘程序审核否 是 入职流程新员工入职流程流程 名称 新员工入职 流程编 码 DX-11-007 受控状态 受控 执行核心部门行政人力资源部控制部门总经办行为实施环节行政人力资源部用人部门管理 行为相关说明编制人员 叶森 审核人员 批准人员 编制日期2011年5月21日审核日期批准日期新员工建档工作证办理制度培训发放员工手册工作关系介绍人力资源部和用人部门配合进行岗前培训工作交接试用存档 试用员工转正流程签订试用合同配合行政部办理后勤工作劳动合同管理流程流程 名称 劳动合同管理流程编 码 DX-11-008 受控状态 受控 执行核心部门 行政人力资源部控制部门总经办行为实施环节相关员工部门负责人 分管领导行政人力资源部管理 行为相关说明 编制人员 叶森 审核人员 批准人员 编制日期2011年5月21日审核日期批准日期不合格新员工报到入职签订试用合同 试用期满考核 签订正式 合同辞退流程 合格劳动仲裁机构签字备案合同期满 是否续签合同 存档办理离职手续否是新员工试用期满转正流程00流程 名称 新员工试用期满转正流程 编 码 DX-11-009 受控状态 受控 执行核心部门行政人力资源部控制部门总经办 行为实施环节用人部门试用期满新员工行政人力资源部部门经理总经办管理 行为相关说明编制人员 叶森 审核人员 批准人员 编制日期2011年5月21日审核日期批准日期转正考核评估 是否 合格填写转正申请是否 留用审核 审批延长试用期员工辞退流程签订正式 合同劳动仲裁机构签字备案存档是 否是 否是否否是职务任命流程流程 名称 职务任命 流程 编 码 DX-11-010 受控状态受控 执行核心部门 行政人力资源部控制部门总经办行为实施环节各职能部门行政人力资源部总经理办 公会议总经理 董事会 管理 行为相关说明编制人员 叶森 审核人员 批准人员 编制日期2011年5月21日审核日期批准日期否 否 是否否否否是制定晋升制度及各级人员任职资格审议 审批 提出任命名单(部门负责人以下职位)签发 任命公司经理 下发任命通知提请任命财务负责人审议任命除财务负责人之外的部门级管理人员审议下发任命通知考察审议 存档 备案是是是是是否考勤管理流程流程 名称 考勤管理 流程编 码 DX-11-011 受控状态 受控 执行核心部门行政人力资源部控制部门总经办 行为实施环节各部门行政人力资源部行政人力资源部行政人力资源部经理管理 行为相关说明 目前暂时实行综合办人工考勤制度,程序按照《公司考勤制度》执行 编制人员 叶森审核人员 批准人员 编制日期2011年5月21日审核日期批准日期是是否 否 制定考勤制度,配备考勤刷卡设备各部门员工刷卡接受考勤 月末汇总编制考勤表特殊情况不能刷卡者由部门负责人核实确认 根据考勤及其他依据编制工资表审核 审核工资发放流程行为实施环节加班员工部门负责人行政人力资源部财务部管理 行为相关说明编制人员 叶森 审核人员 批准人员 编制日期2011年5月21日审核日期批准日期是因工作需要加班填写加班申请表 审批 执行加班填写加班记录审核审核加班工资核算是 否 是否否纳入综合考评行为实施环节请假人员部门负责人分管领导总经理人力资源部管理 行为相关说明 各级负责人审批权限(准假时限)可以根据参考《考勤管理制度》 编制人员 叶森 审核人员 批准人员 编制日期2011年5月21日审核日期批准日期不同意1月以上同意超过5天5天内不同意 同意填写请假条审批审批审批不同意审批审批1个月内同意考勤管理流程行为实施环节出差人员部门负责人分管部门主管总经理人力资源部管理 行为相关说明编制人员 叶森 审核人员 批准人员 编制日期2011年5月21日审核日期批准日期同意不同意1月以上同意超过5天5天内时间审批不同意审批审批1个月内填写出差派遣单 制定出差计划考勤备案出差绩效管理工作流程流程 名称 绩效管理工作流程 编 码 DX-11-015 受控状态 受控 执行核心部门 行政人力资源部控制部门总经办 行为实施环节相关部门分管主管行政人力资源部总经办 总经理管理 行为相关说明 编制人员 叶森审核人员 批准人员 编制日期2011年5月21日审核日期批准日期否否 是否否制定绩效管理制度审核审批制定考核指标、方法考核指标分解工作执行与绩效沟通月度工作检查绩效 考评审核审核工资发放流程是是 是员工绩效考核流程流程 名称 员工绩效考核流程编 码 DX-11-016 受控状态 受控 执行核心部门行政人力资源部控制部门总经办行为实施环节各职能部门行政人力资源部总经理办公会议总经理管理 行为相关说明编制人员 叶森 审核人员 批准人员 编制日期2011年5月21日审核日期批准日期否 制定考核制度(含原则、措施、指标、方法)审议 下达考核通知 根据通知精神,填写考核表,进行部门内考核 审查 核实 汇总当期考核结果,制定报告审核 签批执行奖励档案记录是 否是 否是 是否薪酬方案审批流程流程 名称 薪酬方案审批流程编 码 DX-11-017 受控状态 受控 执行核心部门行政人力资源部控制部门总经办行为实施环节相关部门行政人力资源部财务部总经理管理 行为相关说明编制人员 叶森 审核人员 批准人员 编制日期2011年5月21日审核日期批准日期根据预算编制薪酬草案测算 审批修正方案信息支持执行方案存档 是是否否工资发放流程流程 名称 工资发放流程流程 编 码 DX-11-018 受控状态 受控 执行核心部门 行政人力资源部 控制部门 总经办 行为实施环节用人部门行政人力资源部总经办总经理财务部管理 行为相关说明编制人员 叶森 审核人员 批准人员 编制日期2011年5月21日审核日期批准日期否是部门月份考评审核编制工资表 审核审核 复核工资表 发放工资工资核算复核存档是是是否 否否员工奖励(处罚)流程00流程 名称 员工奖励(处罚)流程 编 码 DX-11-019 受控状态 受控 执行核心部门 各职能部门 控制部门 总经办 行为实施环节各职能部门 行政人力资源部分管主管总经理财务部管理 行为相关说明编制人员叶森审核人员 批准人员 编制日期 2011年5月21日审核日期批准日期不同意或调整 不同意或调整呈报奖励(处罚)名单和事由,提出奖励方案审核审核审核 同意同意不同意或调整实施奖励(处罚)发放奖金 (罚款)档案 记录同意培训管理总体流程流程 名称 培训管理总体流程编 码 DX-11-020 受控状态 受控 执行核心部门行政人力资源部控制部门总经办行为实施环节各相关部门行政人力资源部总经理办公会议总经理管理 行为相关说明编制人员 叶森 审核人员 批准人员 编制日期2011年5月21日审核日期批准日期是是否 否制定公司整体培训目标 审议 培训需求调研提出培训需求 制定整体培训计划评审 批准教学研究设计实施培训 培训效果评估总结 确认存档 否 否是是岗前培训流程流程 名称 岗前培训 流程编 码 DX-11-021 受控状态 受控 执行核心部门行政人力资源部控制部门总经办行为实施环节受训部门受训员工行政人力资源部行政人力资源部经理 管理 行为相关说明编制人员 叶森 审核人员 批准人员 编制日期2011年5月21日审核日期 批准日期否是提出新员工岗前培训需求审核 审核 拟定岗前培训方案审查确定培训方案提出 意见培训教材教具师资场所落实实施培训培训考试 效果评估审核上岗修正方案再培训是 是是 是否 否否 否员工辞职审批流程流程 名称 员工辞职审批流程 编 码 DX-11-022 受控状态 受控执行核心部门 行政人力资源部控制部门总经办行为实施环节辞职员工部门负责人行政人力资部分管主管总经理管理 行为相关说明编制人员 审核人员 批准人员 编制日期审核日期批准日期超越权限不同意 不同意 同意正常 不同意 同意 提前30天提出申请审批 审批 辞职原因调查判断做思想工作消除问题办理离职手续 审 批是否接受再申请或申诉或仲裁 结束员工离职交接流程非正常同意是否名称 流程执行核心部门行政人力资源部控制部门总经办行为实施环节各用人部门分管主管 行政人力资源部总经办 总经理 管理 行为否相关说明 编制人员 叶森 审核人员 批准人员 编制日期2011年5月21日审核日期批准日期内部调动是否否否提出辞退报告审批原因调查 审核审批 审批 决策员工工作调动流程员工离职交接流程是是是超越权限同意辞退名称 流程执行核心部门 各职能部门控制部门 总经办 行为实施环节离职人员部门负责人行政人力资源部总经理财务部管理 行为相关说明 编制人员 叶森 审核人员 批准人员 编制日期2011年5月21日审核日期批准日期否 超越权限员工辞职审批流程填写工作交接单 审核 审核 审批 清退办公用具等,结算工资奖金实施工作交接审阅部门与员工签订离职协议是否 补充招聘 流程结束是是是是否 否 否。
整理)上消化道出血抢救流程图精品文档
上消化道出血抢救流程图
1)一般处理
2)输血、输液补充
血容量,纠正休
XXX,保证肾脏灌
1)绝对卧床休息,禁食,保持呼吸道通畅;
2)观察,注意观察呕血、黑便次数、性状及颜色;
3)吸氧,观察生命体征;
4)迅速建立静脉通道
1)输液:酌情补充血容量(葡萄糖盐水、右旋糖酐及
代血浆等);
2)输血指征:收缩压<10.7-12.0KPa(80-90mmHg)。
脉搏>120次/分,血红蛋白<60g/L为出血量大的休
克征象;
3)充分输血、输液后血压仍不能恢复时,应注意有无(3)抗酸,止血
4)肝硬化的上消化
道出血应同时预
防和医治肝昏迷
5)手术医治
1)酌情用下列1-2种止血药,如口服云南白药、三七粉、凝血酶、维生素K制剂、XXX。
需要时选
用抗纤溶制剂,如氨甲苯酸(止血芳酸)0.2-0.4g。
止血敏1.0-3.0g;
2)去甲肾上腺素8mg加生理盐水100ml口服或胃管内注入,需要时1次/8小时;
3)雷尼替丁0.15g加10%葡萄糖浆100ml静滴,1次12小时,好转后改成口服,奥美拉唑(洛赛克)
40mg,1-2次/日静推;
4)门脉高压引发的上消化道大出血可用垂体后叶素10-20U加入50%葡萄糖浆20-40ml缓慢静注,或
生长抑素(善宁)0.1g,皮下注射,1次/12小时。
XXX3mg/日静滴;
5)肝硬化食管下段胃底静脉曲张破裂大出血者应实时采用三腔二囊管压迫止血;
密切观察病情
佳构文档
防止再出血及时评价。
一、服务承诺及响应承诺1工程施工管理流程图1、 市场拓展及开发1、 投标书的编制是否1、 中标通知书领取1、规划性文件编制2、材料设备需求计划编制3、 施工图纸预审和交底4、工程进度计划编制5、相关作业指导书技术1、入场人员合同签订及归纳入档综合部负责1、现有库存数量的清查2、根据材料及设备计划对不足物资进行购买3、提供物资部负责 有无1、现有试验设备及工具的维护及保养2、新入库设备的电气试实验班负责 5、收集相关设备的合格证及说明书6、对需检测物资部负责 1、 现场施工操作2、现场施工进度的控制3、施工质量及安全工作的监督及执行4、分部分项技术部、工程部负责1、 现场施工操作2、现场施工进度的控制3、施工质量及安全工作的监督及执行4、分部技术部、工程部1、检查施工过程中存在的缺陷技术部、工程部1、配合监理单位对已完成工程项目进行初步验收2、 对验收缺陷登记在册技术部、工程部工程自验收缺陷处理业主验没1、施工过程中的后勤保障2、施工综合部负责 物资部负责(施1、对已安装设备进行交接试验实验班负责 1、根据验收缺陷清单处理已发现的缺陷2、最后一轮处理现场存在的各种问题技术部、工程部通电开通土建 目信息收集项目部成立理单位验收电气施工标工作准备施缺陷处理工程验收 1、业主验收,提供相关的技术资料及在现场进行技术说明2、1、开通手续的办理2、关单位的交流沟通通通电土建施工项目信息收集项目部成立监理单位验收电气投标工作准备工前的准备工作缺陷土建分部分项 工程验收4、 配合业主验收,提供相关的技术资料及在现场进行技术说明 5、 提供技术部、工程部4、 送电开通手续的办理 5、 与相关单位的交流沟通 技术部负责 1、 收集相关设备的合格证及说明书2、 对需检技术部负责 技术部负责 1、相关资质文件的准备2、标书综合部负责 中标工作技术部负责。
某公司运营整理流程图XXX运营整体流程图该流程图适用于公司ISO/TS体系运行。
部门:顾客/供应商总经理,相关方总经理授权人,副总经理,市场部硬件组,研发部,软件组,品质部,生产部,工程部,采购部,人事科,综合部,行政科,财务科。
步骤:1.顾客要求、投资方要求、竞争对手状况调查分析。
2.企业战略目标确定,制定企业战略发展规划,企业营运状况分析评审,跨部门参与企业营运状况分析评审。
3.管理评审控制程序,企业战略发展及业务计划控制程序,参与企业发展战略规划编制、研讨。
4.年度计划确定,编制年度业务计划,企业年度计划落实、过程目标设定及完成措施制定,年度计划及措施批准。
5.企业运营整体流程设计,组织机构确定,企业运营整体流程评审,企业运营整体流程批准,企业运营整体流程图,组织机构确定/职责分配。
6.岗位人员能力要求设计,职位说明书,共同参与制定、评审,岗位人员能力要求批准。
7.人力资源需求计划制定,人力资源控制程序,资源需求分析,资源提供管理,人员需求计划批准,人力资源计划实施,人员到岗,职责落实。
8.组织资源需求分析,跨部门制定资源需求计划,资源需求计划批准/提供,资源管理。
9.市场需求分析,市场调研,客户需求分析。
10.产品质量先期策划控制程序,拟定新产品开发申请,项目立项。
明显有问题的段落已被删除。
改写后的每段话更加简洁明了,同时避免了格式错误。
项确认:客户提供样机后,需要进行样机检测和功能试验。
新项目开发:根据项目风险确定评审人员,然后进行立项批准和下达任务,确保开发目标明确。
产品质量先期策划控制程序:识别产品功能要求和差异风险评估,确定项目开发责任人,并成立多功能项目开发小组。
制定项目开发计划和项目开发策划。
设计输入资料整理和设计输入评审:整理客户特殊要求、法律法规和产品标准等资料,并进行评审。
产品/过程特殊特性识别和总体设计方案及评审评审:识别产品和过程的特殊特性,制定总体设计方案,并进行评审。
学习方法—利用流程图整理知识学习是每个人成长和发展的重要环节,而学习方法的选择和运用则直接影响到学习效果的好坏。
在众多学习方法中,利用流程图整理知识是一种高效且实用的方法。
本文将介绍流程图的定义、作用以及如何利用流程图来整理知识,帮助读者提高学习效率和记忆力。
一、流程图的定义和作用流程图是一种用图形符号表示步骤、决策和流程的图表,它能够清晰地展示事物之间的关系和逻辑顺序。
流程图通常由各种图形符号和箭头组成,图形符号代表不同的步骤或决策,箭头则表示流程的方向。
利用流程图可以帮助我们更好地理解和记忆知识,具体作用如下: 1. 清晰展示逻辑关系:流程图能够将复杂的知识和过程以简洁的图形方式展示出来,帮助我们更好地理解和把握知识的逻辑关系。
2. 提高学习效率:通过整理知识并将其转化为流程图,我们可以更快地回顾和复习学习内容,提高学习效率。
3. 增强记忆力:流程图能够将知识以图形化的方式呈现,这种视觉化的学习方式可以帮助我们更好地记忆和理解知识。
二、利用流程图整理知识的步骤下面将介绍如何利用流程图来整理知识,以帮助读者更好地掌握学习内容。
1. 确定主题和目标:首先,我们需要确定整理知识的主题和目标。
主题可以是一个学科、一个概念或者一个过程,目标可以是理解、记忆或者应用。
2. 收集和整理信息:在确定主题和目标后,我们需要收集和整理相关的信息。
可以通过查阅教材、参考书籍、互联网等渠道获取所需信息。
3. 确定关键步骤和决策点:在整理信息的过程中,我们需要确定关键的步骤和决策点。
步骤是指完成一个任务或过程所需的具体行动,决策点是指需要根据不同情况做出选择的地方。
4. 绘制流程图:在确定了关键步骤和决策点后,我们可以开始绘制流程图。
可以使用各种绘图工具,如纸笔、电脑软件等,根据自己的喜好选择合适的工具。
5. 完善和优化流程图:在绘制流程图的过程中,我们可以不断完善和优化图中的内容。
可以添加说明文字、调整图形位置、优化箭头的连接等,使流程图更加清晰和易于理解。
流程图分类大全与画法介绍流程图(Flow Chart)是一种常见的工作图表。
在企业中,流程图主要用于说明某一个过程,该过程可以是生产线上的工艺流程,也可用于表达完成任务所需的步骤。
另外,流程图也常用于表示算法的思路,可以有效解决汇编语言和早期的BASIC语言环境中的逻辑问题。
运用流程图的时候,需要使用一些标准符号代表某些类型的动作。
如用菱形框表示判定,用方框表示流程。
具体的表示方法整理如下:流程图的分类流程图的种类多达10种,归纳整理如下:但是根据使用的场景不同,大致可划分为7个类别,分别是商业流程图、跨职能流程图、数据流程图、事件管理流程图、IDEF图、工作流程图、SDL图。
商业流程图:又叫做业务流程图,是一种描述系统内部各人员与各单位的业务关系、管理信息以及作业顺序.它是一种物理模型,借助于此,分析人员可以找出业务流程中的不合理流向,方便优化。
跨职能流程图:可显示进程中各个步骤之间的相互关系,也能显示执行它们的职能单位。
跨职能流程图按照分布的方向不同,可以分为水平跨职能流程图和垂直跨职能流程图.当跨职能流程图用于UML的时候,又被叫作泳道图。
数据流程图:一种描述系统数据流程的工具,可以将抽象的数据独立出来,通过特定的图形符号来展示信息的来龙去脉和实际流程。
这是一种能全面描绘信息系统逻辑模型的重要工具。
事件管理流程图:这是IT服务管理中重要的流程,当一个事件被输入的时候,服务台的操作人员会依据事件的影响范围和紧急程度,对其进行初步的归类评估。
IDEF图:IDEF,即集成计算机辅助制造,一种用于描述企业内部运作的一套建模方法。
IDEF图是用于表达这种建模方法的图示。
工作流程图:通过适当的符号来记录全部工作事项,能够反映一个组织系统中各项工作之间的逻辑关系。
工作流程图可以帮助管理者了解实际工作活动,并去除工作中多余的工作环节,进而提升工作效率。
SDL图:使用说明和规范的语言(SDL)为通信、电信系统以及网络创建图表。
生产流程图:剪光缆--穿零件--配胶--光纤插入--加热固化--去胶--研磨--端面检查--组装--测试--QA抽检--包装。
1) 裁剪光缆:主要就是用芳纶剪根据需要裁剪光缆的长度,然后简单的盘整。
2) 穿零件:这部分主要就是把各种散件提前穿到光纤上面,方便后面的工序。
穿入线材时,依序为胶护套、热缩管、支持管、弹簧,其方向应注意是否正确。
3) 配胶:主要就是通过辅助工具把353nd胶中的partA和partB按10:1的比例调配均匀,并尽量减少气泡。
4) 光纤插入:首先用剥纤钳把光纤的外皮和涂覆层都剥离,然后把调配好的胶水,用针筒或者点胶机注入插芯的尾柄中,接下来通过手工把光纤穿入注有胶水的插芯中并露出部分光纤。
5) 加热固化:把穿好光纤的插芯放入固化炉上面烘烤,直到353nd胶完全固化6) 去胶:首先把固化好的光纤头用切割刀割掉前面露出的多余光纤,然后把光纤头全部装到研磨夹具上面,再用去胶砂纸打磨,以达到去掉插芯头胶的目的。
7) 研磨:将去完胶后的夹具,在研磨机上研磨,一般工艺9u 3u 1u 0.05u,研磨时间和压力与研磨纸有一定的关系。
8) 端面检测:利用放大400倍的端检仪来检查插芯端面的研磨效果怎么样,一般情况下,有黑斑,较大划痕的端面视为不合格,需要重新研磨处理。
9) 组装:把研磨好的插芯和散件一起组装成连接头,并通过压接钳或者压接机把尾套压接好。
10)测试:利用插回损测试仪测量光纤头的主要数据插入损耗和回波损耗,一般要求单模的插损小于等于0.3dB,回波损耗大于等于50dB.更高要求的光纤跳线就需要做3D干涉测试(主要3个数据为顶点偏移、曲率半径、光纤高度)。
11)QA抽检:质检人员对测试后的合格产品进行抽检,以控制质量。
12) 包装:对合格产品进行最后的封装。
问: 光纤研磨机简介光纤研磨机是一款专门用来研磨光纤产品的研磨设备,在光纤行业被广泛应用。
用途光纤研磨机主要用来加工光纤产品的光纤端面,如光纤跳线,尾纤,能量光纤,塑料光纤,器件的预埋短插芯等等。
医院工作流程图汇集目录1.医院行政管理工作流程图1.1行政会议工作流程图1.1.1院长办公会议流程图1.1.2中层干部例会会议流程图1.1.3大型会议会务组织工作流程图1.2文案管理工作流程图1.2.1职代会行政文件制作流程图1.2.2公文制发工作流程图1.2.3上级文件收发工作流程图1.2.4印章使用管理工作流程图1.2.5报刊收发工作流程图1.2.6图书管理工作流程图1.2.7文书档案管理工作流程图1.2.8复印工作流程图1.2.9打印材料工作流程图1.2.10 报刊征订工作流程图1.3人力资源管理工作流程图1.3.1职工调入(毕业生分配)工作流程图1.3.2员工劳动合同管理工作流程图1.3.3办理退休手续工作流程图1.3.4职称管理工作流程图1.3.5岗前培训工作流程图1.3.6科室考核管理工作流程图1.3.7员工考评管理工作流程图1.3.8医德医风检查工作流程图1.4医院文化工作流程图1.4.1院报制发工作流程图1.4.2 定期报送信息工作流程图1.5接待工作流程图1.5.1外事接待工作流程图1.5.2患者来信、来访处理工作流程图1.5.3出院病人满意度调查工作流程图1.6医务科工作流程图1.6.1医疗行政管理工作流程图1.6.2医务人员业务培训工作流程图1.6.3接收医师实习进修人员管理工作流程图1.6.4外出进修培训工作流程图1.6.5院内临床病历讨论工作流程图1.6.6医疗质量管理工作流程图1.6.7病历质量考核工作流程图1.6.8新技术项目开展工作流程图1.6.9医疗纠纷接待处理工作流程图1.6.10医疗大查房工作流程图1.6.11临床科室危重人会诊工作流程图1.6.12病人转诊工作流程图1.6.13科主任例会流程图1.6.14公共卫生事件应急救援工作流程图1.6.15卫生“三下乡”活动流程图1.7科教管理工作流程1.7.1科研管理工作流程图1.7.2论文、专著、成果登记奖励工作流程图1.8护理工作流程图1.8.1护理质量控制工作流程图1.8.2护士长例会会议流程图1.8.3护理业务查房工作流程图1.8.4护理行政查房工作流程图1.8.5护士长夜查房工作流程图1.8.6护理人员业务培训工作流程图1.8.7护士外出学习、进修管理工作流程图1.8.9接收护理实习生、试用期护理人员管理工作流程图1.9 感染管理工作流程圄1.9.1医院感染控制工作流程图1.9.2医院感染控制质量检查工作流程图1.9.3医院感染病例监测工作流程图1.9.4医院感染暴发应急处理工作流程图1.9.5院感知识继续教育工作流程图1.9.6消毒灭菌效果及环境卫生学监测工作流程图1.9.7医护人员职业暴露处理与报告工作流程图1.9.8一次性医疗用品管理工作流程图1.9.9医疗废物回收、处理工作流程图1.10预防保健工作流程图1.10.1预防保健工作流程图1.10.2传染病管理工流程图1.10.3疫苗管理工作流程图1.11 财务管理工作流程图1.11.1年度预算工作流程图1.11.2年度决算工作流程图1.11.3账务处理工作流程图1.11.4财务报表工作流程图1.11.5收入工作流程图1.11.6银行、出纳付款工作流程图1.11.7薪金发入工作流程图1.11.8固定资产及物资核对工作流程图1.11.9社会保障金及税金的核算缴纳工作流程图1.11.10票据管理工作流程图1.11.11财务审计工作流程图1.11.12收费工作流程图1.11.13退费工作流程图1.11.14患者医疗保险管理工作流程图1.11.15本院职工及家属医疗费审核工作流程图1.11.16效益工资核算工作流程图1.12信息统计工作流程图1.12.1工作量报表工作流程图1.12.2日报表工作流程图1.12.3信息工作流程图1.12.4病案管理工作流程图1.13设备器材科工作流程图1.13.1医疗设备器材购置工作流程图1.13..2医疗设备管理工作流程图1.13.3医用器材管理流程图1.13.4计量管理工作流程图1.14后勤管理工作流程圈1.14.1固定资产及物资购置工作流程图1.14.2物资供应管理工作流程图1.14.3物品领取工作流程图1.14.4报废工作流程图1.14.5工勤维修工作流程图1.14.6电梯检修保养工作流程图1.14.7供汽锅炉运气操作工作流程图1.14.8供氧工作流程图1.14.9发电工作流程图1.14.10中央空调运行工作流程图1.14.11电梯驾驶员操作工作流程图1.15保安管理工作流程图1.15.1安全检查工作流程图1.15.2应急突发事件管理工作流程图1.15.3安全保卫工作流程图2. 门诊工作流程圄2.1门诊咨询工作流程图2.2门诊挂号工作流程图2.3住院病人住院流程图2.4住院病人出院流程图2.5门诊部医师工作流程图2.6门诊部护士工作流程图2.7门诊手术工作流程图3.临床科室工作流程图3.1临床科室主任医疗行政管理工作流程图3.1.1临床科室主任医疗行政管理工作流程图3.1.2 临床科室医师日常医疗工作流程图3.1.3临床科室新入院病人医师工作流程图3.1.4住院手术病人工作流程图3.1.5临床用血工作流程3.1.6住院病人医院医疗工作流程3.2临床科室护理工作流程图3.2.1临床科室入院病人护理工作流程图3.2.2临床科室出院病人护理工作流程图3.2.3危重患者抢救护理工作流程3.2.4临床科室手术病人护理工作流程图3.2.5 护理各班次工作流程图3.2.5.1 早班护士工作流程图3.2.5.2 小夜班护士工作流程图3.2.5.3 大夜班护士工作流程图3.2.5.4 治疗办护士工作流程图3.2.5.5 文秘班护士工作流程图3.3 急诊科工作流程图3.3.1 急诊科院前诊疗工作流程图3.3.2 急诊科院内诊疗工作流程图3.4 麻醉科工作流程图3.4.1麻醉科医师日常工作流程图3.4.2麻醉科护士工作流程图3.4.3 麻醉科值班护士工作流程图3.5放射治疗工作流程图3.6高压氧舱治疗工作流程图4. 抢救工作流程图4.1 危重病人抢救工作流程图4.2 休克抢救流程图4.3 感染性休克抢救流程图4.4 心源性休克抢救流程图4.5 过敏性休克抢救流程图4.6 低血容量性休克抢救流程图4.7代谢性酸中毒抢救流程图4.8高渗性脱水抢救流程图4.9低、等渗性脱水抢救流程图4.10昏迷病人抢救流程图4.11不稳定心绞痛抢救流程图4.12心肌梗死抢救流程图4.13 室性心动过速抢救流程图4.14 心动过缓抢救流程图4.15 心室颤动(室颤)抢救流程图4.16 上消化道出血抢救流程图4.17 糖尿病酮症酸中毒抢救流程图4.18糖尿病高渗性昏迷(HNDC)抢救流程图4.19低血糖症抢救流程图4.20出血性脑血管病抢救流程图4.21 缺血性脑血管病抢救流程图4.22 脑疝抢救路程图5.护理部工作流程5.1护理质量控制工作流程图5.2护士长例会会议流程图5.3护理业务查房工作流程图5.4护理行政查房工作流程图5.5护士长夜查房工作流程图5.6护理人员业务培训工作流程图5.7护士外出学习、进修管理工作流程图5.8接收护理实习生、志愿者护理人员管理工作流程图1.医院行政管理工作流程图1.1行政会议流程图1.1.1院长办公会议流程图1.1.2中层干部例会会议流程图1.1.3大型会议会务组织工作流程图1.2.1职代会行政文件制作流程图1.2.7文书档案管理工作流程图1.2.8复印工作流程图1.3人力资源管理工作流程图1.3.1职工调入(毕业生分配)工作流程图1.3.2员工劳动合同管理工作流程图1.3.3办理退休手续工作流程图1.4医院文化工作流程图1.4.1院报制发工作流程图1.4.2 定期报送信息工作流程图1.5接待工作流程图1.5.1外事接待工作流程图1.5.2患者来信、来访处理工作流程图1.5.3出院病人满意度调查工作流程图1.6医务科工作流程图1.6.1医疗行政管理工作流程图1.6.2医务人员业务培训工作流程图1.6.3接收医师实习进修人员管理工作流程图1.6.4外出进修培训工作流程图1.6.5院内临床病历讨论工作流程图1.6.8新技术项目开展工作流程图1.6.9医疗纠纷接待处理工作流程图1.6.10医疗大查房工作流程图1.6.11临床科室危重人会诊工作流程图1.6.12病人转诊工作流程图1.6.13科主任例会流程图1.6.14公共卫生事件应急救援工作流程图1.6.15卫生“三下乡”活动流程图1.7科教管理工作流程1.7.1科研管理工作流程图1.7.2论文、专著、成果登记奖励工作流程图1.8护理工作流程图1.8.1护理质量控制工作流程图1.8.2护士长例会会议流程图1.8.3护理业务查房工作流程图。
基础行政人力流程图一、行政人事工作流程1、总图2、员工入职程序3、招聘4、绩效管理考核5、绩效管理评估6、薪酬7、社保8、奖惩9、岗位调整10、人才储备11、培训12、劳动合同13、入职14、使用转正15、考勤16、休假17、档案18、离职二、办公设备19、办公设备购买20、办公设备维修21、办公用品领用三、出差22、出差预算23、出差审批四、会议24、会议筹备25、会议流程26、会议组织五、资料27、资料保密及借阅六、考勤28、节假日休息29、考勤统计七、接待30、参观接待31、客户接待32、客户就餐招待八、档案33、意见收集34、文件通知35、文件整理36、档案管理37、存档维护38、档案借阅39、文件借阅九、公章40、刻章制领41、公章领用十、安全42、值班流程43、安全管理44、安全检查45、出入管理46、事故处理47、突发处置48、消防安全49、治安保卫十一、配套50、就餐管理51、宿舍管理52、车辆加油53、用车登记54、车辆维保55、肇事处理十二、卫生56、卫生维护57、卫生检查58、卫生奖惩十三、人事59、招聘计划60、招聘面试61、入职培训62、培训计划63、试用转正64、转正考核65、辞退流程办公设备购买管理工作流程办公设备管理工作流程图办公用品领用管理工作流程图员工出差审批管理工作流程员工出差管理工作流程图会前准备工作管理流程图会议管理工作流程会议组织工作流程技术资料保密管理工作流程图参观接待管理工作流程图客户接待管理工作流程图客户就餐招待管理工作流程提案管理工作流程办公室发文管理工作流程图办公室收文管理工作流程图档案管理工作流程图档案归档与维护管理工作流程图档案借阅与归还管理工作流程文件借阅管理工作流程图值班管理工作流程图人员出入管理工作流程图消防管理工作流程图治安保卫管理工作流程图。
档案归档整理流程图(总3页)本页仅作为文档封面,使用时可以删除This document is for reference only-rar21year.March档案归档整理流程图档案管理规定一、档案管理(一)凡是能准确反映公司各项业务活动的文件、材料、声像、报表,都必须及时归档,确保完整无缺。
(二)文档管理员必须坚持文书随时立卷的归档制度,并分门别类,做好收集、整理、立卷、归档工作。
(三)档案内容包括从成立之日起每年在经营管理工作中形成或公司制发的应归档的文件材料。
二、文书档案管理(一)归档范围1、行政综合类:包括重要的会议材料;制定的内部法规性、政策性文件;组织变革、变迁、大事记、年报等文件材料;发展规划、工作总结汇报;政府机关颁发的重要文件。
2、组织人事\教育培训类:员工变动表、花名册、教育培训卡。
3、会计统计类:年度计划、统计报表、财务会计预算报表及其说明,各种季度报表、月报表,政府主管部门下发的有关文件材料。
4、质量管理类:质量管理方面的制度。
5、技术类:产品及生产方面技术文档。
6、销售纪事类:公司大规模的销售活动纪事。
(二)文书的档案立卷1、归档的文件材料种类、份数以及每份文件页数,均应齐全完整。
2、在归档的文件材料中,应当将每份文件的正本与副本、印件与定稿、请示与批复,分类一起排列,不得分开。
3、不同年度的文件一般不得在一起立卷,但跨年度的请示与批复,放在复文年立卷;没有复文,放在请示年立卷;跨年度的规划,归在文件所针对的第一年立卷;跨年度的总结,放在所针对的最后一年立卷,跨年度的会议文件,归在会议召开的年度立卷。
三、归档时间公司经营管理活动中的各种合同及常规性报表,根据各自不同的时限要求及时上缴总经理和人力资源部;其它各类档案如声像档案、活动档案、工程档案等由各部门暂时保管,月底统一汇总到人力资源部。
会计档案由财务部自行保管。
四、档案的借阅及销毁(一)借阅档案需按规定办理借阅手续,在规定的范围内查阅。