资质办理工作流程图
- 格式:doc
- 大小:222.00 KB
- 文档页数:1
办理装饰工程施工许可证工作流程图
办理燃气供应许可证工作流程图
办理建设工程项目报建手续工作流程图
办理建筑材料备案手续工作流程图
办理工程竣工验收备案工作流程图
办理环境卫生服务资格证工作流程图
办理工程渣土处置许可证工作流程图
3
个
工
作
日
办理道路挖掘手续工作流程图
办理大型户外广告设置手续工作流程图
办理建设项目选址意见书工作流程图
(城区)
5 个 工 作 日 办理建设项目选址意见书工作流程图
(村镇)
办理建设用地规划许可证工作流程图
办理建设工程规划许可证工作流程图
(城区)
办理建设工程规划许可证工作流程图
(村镇)
办理招标方式工作流程图。
办理《乡村建设规划许可证》流程图
依法不予
受理的 依
法应当受理的
《乡村建设规划许可证》受理通知书
( )
本通知书一式两份,规划局、报建单位(个人)各一份。
黄冈市城乡规划局
年月日
黄冈市城乡规划局
《乡村建设规划许可证》申请表
(私建)
《乡村建设规划许可证》申请表
(公建)
《乡村建设规划许可证》审批表
(私建)
《乡村建设规划许可证》审批表
(公建)
《乡村建设规划许可证》准予行政许可决定书
本通知书一式两份,规划局、报建单位各一份。
黄冈市城乡规划局
黄冈市城乡规划局
乡村建设不予行政许可决定书
总编号:分类编号:
本通知书一式两份,规划局、报建单位(个人)各一份。
黄冈市城乡规划局
黄冈市城乡规划局
乡村建设规划行政许可批前公示表
总编号:分类编号:
黄冈市城乡规划局
乡村建设规划行政许可批前公示结果报告单总编号:分类编号:
黄冈市城乡规划局
乡村建设规划行政许可批后公示通知单总编号:分类编号:
规划信息中心:
申报的建设项目,已经审批同意在定点建设,相关情况如下,请依此办理公示事宜:
经办人:分局局长:
日期:。
第1篇甲方:(以下简称“甲方”)地址:____________________联系人:__________________联系电话:__________________乙方:(以下简称“乙方”)地址:____________________联系人:__________________联系电话:__________________鉴于甲方需要办理某项资质证书,而乙方具备相应的资质代办能力,双方本着平等互利、诚实信用的原则,经友好协商,达成如下协议:第一条协议标的1.1 甲方委托乙方代办以下资质证书:- 资质证书名称:____________________- 资质证书等级:____________________- 办理范围:____________________1.2 乙方承诺按照甲方要求,在规定时间内完成资质证书的办理。
第二条乙方义务2.1 乙方应按照甲方提供的资料和实际情况,认真办理资质证书,确保办理过程合法、合规。
2.2 乙方应严格按照甲方的要求,提供必要的协助和支持,包括但不限于提供咨询、指导、办理手续等。
2.3 乙方应确保办理过程中不泄露甲方的商业秘密和个人隐私。
2.4 乙方应承担因自身原因导致的资质证书办理失败的全部责任。
第三条甲方义务3.1 甲方应按照乙方的要求,提供办理资质证书所需的所有资料,并保证资料的准确性和完整性。
3.2 甲方应配合乙方办理相关手续,及时支付乙方约定的服务费用。
3.3 甲方应按照约定的时间支付乙方服务费用,逾期支付的,应按照约定支付滞纳金。
3.4 甲方应承担因自身原因导致的资质证书办理失败的部分责任。
第四条服务费用及支付方式4.1 乙方服务费用总额为人民币____元整(大写:____________________)。
4.2 甲方应按照以下方式支付服务费用:- 首付款:人民币____元整(大写:____________________),甲方在签订本协议之日起____个工作日内支付;- 剩余款项:人民币____元整(大写:____________________),在乙方完成资质证书办理并取得证书后____个工作日内支付。
测绘资质备案制度
一、责任单位和责任人
责任单位:国土资源局测绘管理办公室
责任人:XXX
分管领导:XX
二、权力行使依据
《中华人民共和国测绘法》
《贵州省测绘管理条例》
三、条件和标准
符合下列条件的,可进行测绘资质备案
1、测绘单位测绘资质、营业执照、机构代码证经过年检的
2、并依法纳税,具有合法的税务登记证
四、所需材料
1、测绘单位测绘资质证、营业执照、机构代码证、税务登记证
2、法人证
3、申请备案的相关材料
五、受理
承办人对申请材料进行审查,符合要求,材料齐全的当即予以受理备案,申请材料不全的,当即一次性告知需补齐所需材料方可受理。
六、办理时限
一个工作日即可完成。
年月日
测绘资质备案流程图。
. 建设工程施工许可证办理流程图.半是夕阳余光,半是狰狞血雨。
是的,血,到处都是冷腥的鲜血。
整个皇宫之内,血流成河,白玉理石全被洗涮成黑红之色,到处是断壁残肢,尸横一片,到处是厮杀后的痕迹。
“为什么?”百里冰左手紧捂着胸口,瞪大着眼睛看着对面十米敌对方处,挥手点兵之人。
那是她的未婚夫,她倾尽一生所爱之人。
亦是绝杀她百里一族,将她迫入绝境之人。
她不懂,为何倾尽所有的爱,换来的是百里一族的灭顶之灾。
台下之人仍是一身儒雅白衣,清俊的脸上,就连平日里对她宠溺的笑容都没有变过。
冷逸辰就这样含笑相对,却不肯多说只字片语。
权利?利益?她虽是寒月帝国唯一的继承人,可是她早已与身为寒月帝国帝皇的外公达成协议,她与冷逸辰成婚后,冷逸辰为帝,她为后,她会做好他的贤内助,她从来不是他成功之路上的绊脚石,他为何要如此对她?冷逸辰仍是气定神闲的坐在不远处,手中的白羽扇仍旧轻摇着,完全不惧百里冰眼中的怒意,只是仿佛没有听到她的问话般,仍一派温和之笑,却坚定的吐出一个字,“杀!”百里冰怒上心头。
手中剑气如虹,眼看便要破势而出,却听到远处传来震天动地,撕心裂肺的愤然吼声,“冷逸辰,我百里一族与你不死不休!”“噗!”百里冰同一时刻,一口鲜血狂喷而出,心脏之处传来剧痛。
她突的单腿倒下。
是皇帝外公的声音。
百里冰痛苦的闭上眼睛。
果然,冷逸辰在派人围杀她的同时,也对她的皇帝外公与其他族人动手了,看来百里一族今日恐怕难逃灭族之祸了。
她看着惜日对她呵护倍至的爱人,指甲恨得深入掌心,却感觉不到半丝痛意。
血阳残光,打在百里冰的脸上,映红了她的眼,也血洗了她的心。
“冷逸辰,你借我生辰之名,将我百里一族全部聚此,竟是为了灭我全族。
你可知欺我百里者,杀无赦。
”明明落在下风,却仍是气度非凡,那轩昂之姿,百分不输男儿。
百里冰冷面肃目,冷冷怒视着冷逸辰。
天色瞬间黯然,黑云密布,邪风四起,所有天地剑气从四面八方汇集于百里冰身上,她的剑力更胜之前。
冷逸辰前密密麻麻的高手执剑相护,可他仍然感觉到了百里冰身上所散发的凛冽剑气。
天资认定扩项预备工作事宜流程第一节治理要素第一.治理请求预备成立工作小组制订迎审工作筹划,组织人员培训.编制和组织宣贯质量治理系统文件组织检讨软件.硬件预备情形,控制工作进度和运行情形.第二.确认申请项目及检测才能依据实验室自身的须要,技巧才能和仪器设置装备摆设情形,拟定计量认证申请项目,编制“实验室天资认定项目表”格局拜见评审准则附件或者指南附件,为便利工作进行,实验室要把所有文件材料按照《实验室天资认定评审准则》19要素分门别类存放.个中19要素(1)治理要素请求11个:1.组织2.治理系统3.文件控制4.分包5.办事和供给品倾销6.合同评审7.申述和投诉8.改正措施.预防措施和改良9.记载10.内审11.治理评审(2)技巧要素8个:1.人员2.举措措施和情形前提3.检测和校准办法4.装备和尺度物质5.量值溯源6.抽样和样品处置7.成果质量控制8.成果陈述第三.确立人员:第四.治理系统文件的树立与运行:1.编制.下发.宣贯治理系统文件第五.评审前内审与治理评审:评审前按照评审准则及计量认证请求,尽心一次较为周全的治理系统内审,事先制订实行筹划内容有:检讨内容.检讨部分.检讨人.完成时光,并做好响应的检讨记载,将发明的问题.改正措施及完成情形填写在内审专用表格中,内审检讨出的问题需提交治理评审的,还需一次治理评审,记载保管好,以备检讨.第六.提出申请:提前向发证部分或者评审组提交申请材料:1.《计量认证申请书》7.介入才能验证运动证实材料(近两年)第七.现场评审报告请示材料预备:内容包含:机构的简介.组织构造.人员构造.申请认证的技巧才能范畴及项目数.质量治理系统运行情形.开展才能验证及实验室间比对情形.人员技巧培训情形.仪器装备配备情形以及此次迎接计量认证预备工作情形.(建议做成PPT演示文稿)第二节技巧要素1.制订培训筹划,岁首?年月的培训筹划,培训记载,年关人员培训筹划完成情形.培训记载.培训有用性整顿列出清单.2.计量认证基本常识培训:评审前对全员进行计量认证基本常识培训,并对部分人员进行考察.3.检测人员持证上岗:对检测人员从事的范畴.司法律例.仪器基起源基本理和保护操纵应用.数据处理等方面尽心上岗考察,并有相干记载.1.新开展项目评价确认:①国标办法严厉按照国标办法进行剖析操纵.非国标办法编写功课指点书确认后方可应用.②编制原始记载表格格局和检测陈述格局.③培训检测人员④相干人员负责预备新项目所需尺度材料.仪器.装备和试剂等.⑤倾销部分负责所需物质倾销⑥新仪器的计量检定和树立仪器档案⑦按照尺度规范进行实验并记载,形成检测陈述并审批,同时组织一次比对实验,已验证新开展项目靠得住性.⑧按新尺度开展工作,并证实其成果靠得住性,并相符尺度规范请求3.现场考察项目预备:人员.仪器.试剂.情形前提等.第三.仪器装备的计量与校准.2.仪器的计量检定.校准与验证:(检定的仪器应有检定方供给的天资表和检定后的内部验收记载)3.计量仪器的标识化治理:及格.准用.停用,绿黄红三种色彩标识清晰.4.装配.举措措施标识化治理(状况标识)5.编制仪器检定周期表.如下表参考:6.仪器装备时代核查:在两次证实检定校准时代进行核查,每年岁首?年月要制按时代核查筹划表,每次时代核查要具体记载,现场评审需供给核查筹划表和记载.第四.档案整顿.1.建议完美仪器装备档案:仪器装备名称.型号.制造厂商.购买价钱.出厂编号.本单位固定资产编号.保管人.放置地点.仪器装备今朝状况(在用.停用.报废).解释书.仪器检定校准记载(检定校准日期.周期.证书编号.检定单位及德律风.送检人.有用期.证书原件).购买仪器的申请.仪器装箱单.仪器验收清单.仪器验收日期及验收记载(仪器装备调试陈述).仪器启用日期.仪器装备应用记载.仪器时代核查记载.仪器装备破坏.故障.维修记载.仪器装备保护保养记载.仪器装备存放地位变动记载.仪器装备报废情形记载. 仪器装备档案树立完全后,编制“仪器装备一览表”为规范实验室仪器装备治理也可制造“仪器装备治理卡”可参考下表:2.检测陈述及相干记载归档整顿:按年度编制“检测陈述登记表”,内容包含:序号.陈述编号.项目名称.委托单位.合同金额.项目负责人(假若有).承担人.审批人.陈述发送日期等,归档时,将委托单.合同.检测通知单(或义务通知单).原始记载(监测采样记载.样品交代记载.仪器应用记载.剖析记载等).检测陈述一并归档.3.树立技巧人员事迹档案:人员简历.上岗证.培训情形.获奖情形揭橥技巧论文等等4.现行有用尺度.规范.规程等技巧文件.材料的整顿:已作废的尺度应右上角加盖“作废章”,现行尺度加盖“受控章”1.实验室合理筹划:实验室筹划要合理,测试项目之间不该互相干扰,实验区与办公区有用隔离,实验室样品划分“待检区”“在检区”“检毕区”.2.实验室仪器装备清算:在用.闲置.报废3.明白被评审区域和路线:界线标识区分非检讨区域和待检讨区域.4.安然环保治理检讨:①水电安然放置,留意防水和防爆,放置触电漏电,高压瓶远离火源和振荡.热源.防止暴晒并予以固定,最好隔离.②实验室应设置装备摆设消防器材并在有用期内.③实验室产生废水.废气.废渣等有害物质处理应和有天资单位签署处理协定,并供给协定证实文件.④实验室内应保持安静,一般实验室低于55-60db,无法清除噪声的应设置隔离间.⑤实验室应有安然治理功课程序,并配备相干的安然防护措施和装备,建议按期做相干的安然培训和实战练习训练.5.化学试剂和药品的治理:①剧毒物质须要双人.双锁保管,存放地点应不合错误人员健康造成影响,并应对剧毒试剂应严厉控制盒监管,配备监控装配,和防护防盗等措施,人员领用应有严厉的记载和完美的治理轨制.②化学试剂和治理要有台账,有前提的可以用本单位局域治理信息软件平台进行治理共享查询和地位应用情形等信息确认和跟踪.迎审工作预备流程图:仅供参考。
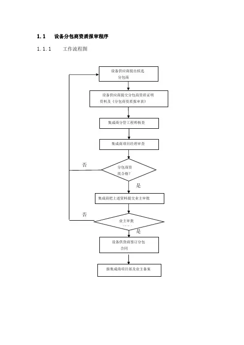
1.1 设备分包商资质报审程序1.1.1 工作流程图
1.1.2 设备供货商按照采购合同的要求提出候选分包商,并提供分包商的
资质证明资料,包括:
营业执照
资质证书
从事特殊专业许可证明(如需要)
企业质量保证体系、技术、财务、业绩状况及说明资料
近几年承担类似工程概况
1.1.3 分包商资格的报审与批准
设备供货商填报《分包商资格报审表》,连同资质资料报集成商,集成商分管工程师(必要时进行实地考察)签署核查意见,经项目经理审查后,报业主批准。
1.1.4 其他说明
在进行分包商资质审查时,集成商参照设备供货商质量体系评审对分包商质量保证体系进行评审,判断是否满足合同内分包的要求,集成商和业主的审查并不减少设备供货商对产品的质量责任。
1.1.5 附表:《分包商资格报审表》
分包商资格报审表
合同名称:合同号:编号:
份。
服务指南编号:RFXK-02发布日期:2017年5月18日实施日期:2017年5月25日人民防空工程设计资质认定服务指南(甲级)国家人民防空办公室发布人民防空工程设计资质(甲级)认定服务指南一、适用范围人防工程和其他人防防护设施设计资质(甲级)认定,包括:资质申请、资质变更、资质延续。
二、事项审查类型先审后批三、审批依据1.《国务院、中央军委关于进一步推进人民防空事业发展的若干意见》(国发〔2008〕4号)第十一条;2.《国务院关于修改〈国务院对确需保留的行政审批项目设定行政许可的决定〉的决定》(2016年,国务院令第671号,修改第499项);3.《关于印发<人防工程设计行政许可资质管理办法>的通知》(国人防〔2013〕417号)第三条。
四、受理机构工程军保处五、决定机构国家人防办六、数量限制无数量限制七、申请条件(一)资质申请申请人防工程和其他人防防护设施设计资质(甲级)认定的单位应具备下列条件:1.基本条件(1)具有独立法人资格。
(2)注册资本不少于300万元人民币。
(3)取得人民防空工程设计乙级资格认定1年以上、住建部工程设计综合甲级资质、住建部建筑行业(人防工程)甲级资质之一的。
2.资历和信誉(1)从事人防工程和其他人防防护设施设计业务3年以上。
(2)参与不少于2项、建筑面积在1万平方米以上、经验收合格的人防工程和其他人防防护设施项目设计。
(3)无设计质量事故。
(4)社会信誉良好,达到行业信用评价规定标准。
3.技术条件(1)专业配备齐全、合理。
单位主要专业技术人员中建筑、结构、防护专业人员分别不少于6人、6人、10人,其中一级注册建筑工程师和一级注册结构工程师均不少于2人,一级人防防护工程师建筑、结构专业各不少于3人;一级人防防护工程师公用设备暖通空调、给水排水、电气专业各不少于2人、防化专业不少于1人。
(2)设计单位技术总负责人或总工程师应具有全日制大学本科以上学历、10年以上设计经历,且主持过建筑面积2万平方米以上的人防工程和其他人防防护设施设计不少于2项,具备执业资格或高级专业技术职称。
目录一、A1级、A2级压力容器制造许可办理流程.............. - 3 - 第一步申请.......................................... - 3 - 第一节基本条件.................................... - 4 - 第二节专项条件.................................... - 6 - 第二步受理.......................................... - 6 - 第三步产品试制...................................... - 7 - 第四步型式试验...................................... - 7 - 第五步鉴定评审...................................... - 7 - 第六步审批发证...................................... - 8 - 第七步复查换证...................................... - 9 - 第八步许可证变更与延期.............................. - 9 - 第九步补证与注销................................... - 10 - 二、A级锅炉制造许可办理流程......................... - 12 - 第一步申请......................................... - 12 - 第一节基本条件.................................. - 12 - 第二节专项条件................................... - 14 - 第二步受理......................................... - 15 - 第三步产品试制..................................... - 15 - 第四步鉴定评审..................................... - 16 - 第五步审批发证..................................... - 17 - 第六步复查换证..................................... - 17 - 第七步许可证变更与延期............................. - 17 - 第八步补证与注销................................... - 19 - 三、附件............................................ - 20 -首先查询《特种设备行政许可分级围》,确定申请特种设备许可的级别和受理审批机关。
建设手续办理指南
工程手续办理流程
图
一、建设项目立项
二、建设项目环境影响评价报告书(表)审批
三、建设项目规划设计条件
四、建设项目土地预审
五、土地出让
六、勘察、设计招标
七、勘察、设计合同备案
八、设计方案报审
九、建设用地规划许可证
十、国有土地使用证
十一、人防审查
十二、建设工程规划许可证
十四、建设工程消防设计审核
十五、施工图审查备案
十七、建设施工合同备案
十八、建设工程监理合同备案
十九、建设规费缴纳
二十、建设工程安全报监
二十二、建设工程施工许可证
二十四、建设工程人防验收
二十六、建设项目环保验收
二十八、建设工程竣工验收
二十九、工程项目竣工档案合格证
三十、建设工程竣工结算备案
三十一、建设工程竣工验收备案
三十二、自建房屋产权登记。
建筑施工总承包三级资质、专业承包三级资质、劳务分包资质许可建筑施工总承包三级资质、专业承包三级资质、劳务分包资质许可(JS130500JS-XK-0005)一.行政权力公开表:编码 JS130500JS-XK-0005建筑施工总承包三级资质、专业承包三级资质、劳务分包名称资质许可依据名称:《中华人民共和国建筑法》发布机关:全国人民代表大会常务委员会发布时间:1997-11-1是否效力最高:是修订情况:具体条款:第十三条从事建筑活动的建筑施工企业、勘察单位、设计单位和工程监理单位~按照其拥有的注册资本、专业技术人员、技术装备和已完成的建筑工程业绩等资质条件~划分为不同的资质等级~经资质审查合格~取得相应等级的资质证书后~方可在其资质等级许可的范围内从事建筑活动。
依据名称:《建筑业企业资质管理规定》法律依据发布机关:中华人民共和国建设部发布时间:2007-6-26是否效力最高:否修订情况:具体条款: 第三条建筑业企业应当按照其拥有的注册资本、专业技术人员、技术装备和已完成的建筑工程业绩等条件申请资质~经审查合格~取得建筑业企业资质证书后~方可在资质许可的范围内从事建筑施工活动。
第十一条下列建筑业企业资质许可~由企业工商注册所在地设区的市人民政府建设主管部门实施:1 / 11,一,施工总承包序列三级资质,不含国务院国有资产管理部门直接监管的企业及其下属一层级的企业的施工总承包三级资质,,,二,专业承包序列三级资质,,三,劳务分包序列资质,依据名称:《建筑业企业资质管理规定实施意见》发布机关:中华人民共和国住房和城乡建设部发布时间:2007-5-28是否效力最高:否修订情况:具体条款:第三条第一款建筑业企业申请资质~应当按照属地管理原则~向企业注册所在地县级以上地方人民政府建设行政主管部门申请。
实施主体性质委托委托机关宿迁市住房和城乡建设局是否多个单位负责否实施共同实施单位权力状态在用生效时间 1998-3-1废止时间新设立的企业申请资质~应当提供下列资料:1、建筑业企业资质申请表,2、企业法人营业执照,3、企业章程,4、企业法定代表人和企业技术、财务、经营负责人的任职文件、职称证书、身份证,5、企业项目经理资格证书、身份证、劳动合同,6、企业工程技术和经济管理受理条件人员的职称证书,7、需要出具的其他有关证件、资料,8、机械设备发票。
资质认定扩项准备工作事宜流程第一.管理要求准备成立工作小组制定迎审工作计划,组织人员培训、编制和组织宣贯质量管理体系文件组织检查软件、硬件准备情况,掌握工作进度和运行情况。
第二.确认申请项目及检测能力根据实验室自身的需要,技术能力和仪器配置情况,拟定计量认证申请项目,编制“实验室资质认定项目表”格式参见评审准则附件或者指南附件,为方便工作进行,实验室要把所有文件材料按照《实验室资质认定评审准则》19要素分门别类存放。
其中19要素(1)管理要素要求11个:1、组织2、管理体系3、文件控制4、分包5、服务和供应品采购6、合同评审7、申诉和投诉8、纠正措施、预防措施和改进9、记录10、内审11、管理评审(2)技术要素8个:1、人员2、设施和环境条件3、检测和校准方法4、设备和标准物质5、量值溯源6、抽样和样品处置7、结果质量控制8、结果报告第三.确立人员:1.明确授权签字人及范围2.明确技术负责人及质量负责人3.任命内审员和质量监督员第四.管理体系文件的建立与运行:1.编制、下发、宣贯管理体系文件2.质量管理体系运行与改进第五.评审前内审与管理评审:评审前按照评审准则及计量认证要求,尽心一次较为全面的管理体系内审,事先制定实施计划内容有:检查内容、检查部门、检查人、完成时间,并做好相应的检查记录,将发现的问题、纠正措施及完成情况填写在内审专用表格中,内审检查出的问题需提交管理评审的,还需一次管理评审,记录保存好,以备检查。
第六.提出申请:提前向发证部门或者评审组提交申请材料:1.《计量认证申请书》2.法人资格证明或者法人授权证明文件3.上级或有关部门批准机构设置的证明文件4.质量手册5.程序文件目录6.典型检测报告1-2份7.参加能力验证活动证明材料(近两年)第七.现场评审汇报材料准备:内容包括:机构的简介、组织结构、人员结构、申请认证的技术能力领域及项目数、质量管理体系运行情况、开展能力验证及实验室间比对情况、人员技术培训情况、仪器设备配备情况以及此次迎接计量认证准备工作情况。
客户预付款
客户付尾款
分配工作任务
业务主管接单 资料员接受任务 开始(签合同)
内勤登记合同
记录合同基本信息、制作成档、分类保存
根据合同的重要性、紧急程度、特殊要求 / 资料员素质能力以及现有工作量多少、繁简难易、紧急程度 / 领导要求等情况合理安排
建筑类 房开类 物业类
将建造师人才注册到客户所在公司 到客户公司注册所在地区申报 相关部门进行审批 发放资质证 取得
安全生产许可证 制作网络资料,审批合格后制作纸质资料
到客户公司注册所
在地区申报
相关部门进行审批
发放资质证
到客户公司注册所
在地区申报
相关部门进行审批
发放资质证
否
业务员催收到账
是否到账
1. 欠缺客户资料,沟通内勤协调客户收集
2. 欠缺建筑人才资质,沟通人事助理提供;
3. 业务主管随时关注、掌控资质办理进程并对资料员工作请求作出及时回应。
是否到账
否
内勤、资料员催收到账
是
结束
提
醒
、催
促
客
户
付款
建筑业办理资质所需资料 1、 营业执照、税务、组织代码正副本——原
件扫描件。
2、 开户许可证/公司章程/股东会决议/任职
书——原件扫描件。
3、 法人手机号 1寸照片5张/工作简历及身
份证/毕业证——原件扫描件。
4、 股东身份证复印件;公司座机/邮编。
5、 办公地点证明(房产证及房租合同)——
原件扫描件。
6、 企业机械设备清单及相应购买发票与图
片。
7、 验资报告原件1份 (未定)。
房地产资质办理定级所需资料
1、营业执照、税务、组织代码正副本——复印件及原件扫描件
2、开户许可证(复印件);公司简介。
3、公司章程,法人、总经理任职书,股东会决议——复印件及原件扫描件。
4、法人身份证、1寸照片5张、手机号、法人工作简历。
5、房产证、租赁合同复印件及原件扫描件,邮编、公司座机。
6、验资报告或者审计报告;购买土地的发票及土地使用证。
7、许可证(建设用地规划、建设工程规划、建设工程施工、预售)。
8、市场行为监督检查表、项目开发手册;原资质证书正副本原件。
9、开发业绩材料(竣工验收备案表或者相应投资额的发票)。
注:若总经理与法人不是同一人,则需总经理身份证原件扫描件,照片5张(或电子版),手机号,工作简历。
物业管理企业办理资质所需资料
1、申请书(注明法人、经理手机、办公电话、电子邮箱)。
2、营业执照;企业章程。
3、办公地址,自有房屋提供产权证,租赁房屋提供房屋租赁备案证明。
4、验资证明,申报当月企业银行存款余额(原件)。
5、物业企业法定代表人身份证明(法人个人简历)。
6、物业企业聘用员工登记表,物业企业聘用员工经劳动局备案的劳动合同;技术人员中级以上职称证书(最少3名)及物业管理专业人员职业资格证书。
(最少6名)。
办理企业资质业务流程图
制作网络资料,审批合格后制作纸质资料
制作网络资料,审批
合格后制作纸质资
料;报ABC 三类人员。