全螺纹灌注桩的施工要点
- 格式:doc
- 大小:17.50 KB
- 文档页数:8
大厂县鲍邱河褚各庄钢坝工程螺纹桩基专项施工方案施工单位:廊坊开发区中达水利工程机械有限公司工程名称:大厂县鲍邱河褚各庄钢坝工程项目负责人:苏新编制人:胡建辉编制日期:2015年04月05日目录1。
编制依据------------------------------------------------------------- 1 2.工程概况-------------------------------------------------------------- 12.1施工现场概况 ----------------------------------------------------------------------------------------------------------12.2工程施工重点、难点 ------------------------------------------------------------------------------------------------23.施工组织机构与职责---------------------------------------------------- 23.1项目组织机构 ----------------------------------------------------------------------------------------------------------33。
2职责与权限 -----------------------------------------------------------------------------------------------------------3 4。
施工部署------------------------------------------------------------- 4 4。
旋挖灌注桩的施工工艺流程一、测量放线、定位1、用全站仪放出桩中心位置,钉上木桩,以桩心为圆心拉线画圆撒白灰,钻机就位(钻机中心对准桩孔中心)钻进;桩位放线允许偏差:群桩20mm,单排桩10mm;2、护筒安装定位:护筒中心与桩位中心允许偏差不得大于50mm;二、埋设护筒1、护筒选用厚度不小于10mm的钢板制作;2、护筒内径宜大于钻头直径200-300mm;3、护筒上部宜开设1-2个溢浆孔;4、护筒顶端应高出地面不小于300mm;5、护筒埋设一般宜为2-4m;6、护筒埋设好后,需对护筒的偏移及垂直度进行校核,护筒中心允许偏差为50mm,垂直度不得大于1%。
三、检查桩中心轴线四、钻机就位1、钻机自带水平调节装置,以调整钻杆的垂直度。
2、钻具类型:旋挖钻斗、筒式钻头、扩底钻头、捞渣筒、取芯钻斗、锥螺旋钻头。
五、钻孔1、旋挖前应通知现场监理工程师及建设单位工程师,核对桩号及设计桩径、桩长与超前钻所对应孔号,并记录冲孔开始时间。
2、采用间隔成桩的施工顺序,刚完成混凝土浇筑的桩与邻桩成孔安全距离不应小于4倍桩径,或间隔时间不应少于36h。
钻斗倒出的土距桩孔口的最小距离应大于6m,并应及时清除。
3、旋挖钻机施工时,应保证机械稳定、安全作业,必要时可在场地铺设能保证其安全行走和操作的钢板或垫层(路基板)。
4、钻进过程中密切观察护筒是否移位,钻杆是否倾斜,一旦发现问题及时进行纠正。
六、清孔清孔分两次进行;第一次清孔应在成孔完成后采用清孔钻头进行清孔;第二次应在安放钢筋笼和导管安放完毕后进行,确保桩底沉渣厚度不大于200mm。
七、吊放钢筋笼1、钢筋吊放时主要钢筋笼垂直缓慢放入,严禁碰撞孔壁,吊点不宜少于4个;2、钢筋笼安装就位后应立即进行固定。
3、钢筋笼制作及安装。
八、安装砼导管1、导管外径至少比钢筋笼内径小100mm,大直径桩导管直径不宜少于300mm;2、导管接头宜采用双螺纹方扣快速连接;3、导管使用前应试拼、试压,试水压力不应少于孔内水深压力的1.3倍,试水压力一般为0.6-1.0Mpa;各节导管应从上到下依次编号,并标识累计长度。
全套管钻孔灌注桩施工工法全套管钻孔灌注桩是一种先进的基础工程施工技术,具有施工精度高、适应性强、对周边环境影响小等优点,在建筑、桥梁、港口等领域得到了广泛应用。
下面将详细介绍全套管钻孔灌注桩的施工工法。
一、施工准备1、场地平整施工前,需要对场地进行平整,清除地表障碍物,确保施工机械能正常行走和作业。
2、测量放线根据设计图纸,使用全站仪等测量仪器进行桩位放线,确定桩的中心位置,并设置好护桩。
3、设备选型根据工程地质条件、桩径、桩长等因素,选择合适的全套管钻孔灌注桩施工设备,如全套管钻机、起重机、混凝土搅拌设备等。
4、材料准备准备好施工所需的钢材、水泥、砂、石等材料,并确保材料的质量符合设计要求。
二、全套管钻进1、安装套管将第一节套管安装在钻机的导向架上,利用钻机的液压系统将套管压入土中,直至入土深度达到一定要求。
2、钻进启动钻机,驱动套管旋转并下压,同时利用抓斗或旋挖钻等工具在套管内取土。
在钻进过程中,要随时注意调整套管的垂直度,确保桩身的垂直度符合要求。
3、接长套管当第一节套管钻进至一定深度后,停止钻进,吊起第二节套管,与第一节套管进行连接,连接方式通常采用螺纹连接或焊接。
连接完成后,继续钻进。
4、穿越障碍物在钻进过程中,如果遇到地下障碍物,如大块孤石、旧基础等,可采用冲抓、爆破等方法清除障碍物,然后继续钻进。
三、钢筋笼制作与安装1、钢筋笼制作根据设计要求,在加工场地制作钢筋笼。
钢筋笼的主筋、箍筋应焊接牢固,保证钢筋笼的整体刚度和稳定性。
2、钢筋笼运输制作好的钢筋笼采用起重机运输至桩位附近,运输过程中要防止钢筋笼变形。
3、钢筋笼安装利用起重机将钢筋笼吊起,缓慢放入套管内。
钢筋笼的下放速度要均匀,防止碰撞套管壁。
钢筋笼下放到位后,采用吊筋将其固定在套管上口。
四、混凝土灌注1、导管安装在钢筋笼内安装灌注混凝土的导管,导管底部距离孔底一般为 0305m 。
导管之间的连接要牢固,密封良好,防止灌注过程中发生漏浆。
第1篇一、工程概况本项目位于XX地区,建筑场地面积为XX平方米,地质条件复杂,地基承载力低。
为确保工程质量和安全,本方案采用长螺旋钻孔灌注桩基础施工技术。
以下为长螺旋钻孔灌注桩施工方案的具体内容。
二、施工准备1. 施工人员准备(1)组织专业施工队伍,确保施工人员具备丰富的长螺旋钻孔灌注桩施工经验。
(2)对施工人员进行安全技术交底,确保施工过程中遵守安全操作规程。
2. 施工材料准备(1)钢筋:按照设计要求准备钢筋,确保钢筋质量符合国家标准。
(2)水泥:选用优质水泥,确保水泥质量符合国家标准。
(3)砂、石:选用优质砂、石,确保其质量符合国家标准。
(4)混凝土:根据设计要求,配制合适配比的混凝土。
3. 施工设备准备(1)长螺旋钻机:选用性能稳定、操作简便的长螺旋钻机。
(2)搅拌机:选用符合国家标准的混凝土搅拌机。
(3)运输车辆:准备足够的运输车辆,确保混凝土和材料及时运输。
(4)其他设备:准备挖掘机、吊车、水准仪、经纬仪等辅助设备。
三、施工工艺1. 施工流程(1)场地平整:对施工场地进行平整,确保场地坚实、平整。
(2)测量放样:根据设计图纸,进行测量放样,确定桩位。
(3)钻孔:采用长螺旋钻机进行钻孔,确保钻孔质量。
(4)清孔:钻孔完成后,进行清孔,清除孔底沉渣。
(5)钢筋笼制作与吊装:根据设计要求制作钢筋笼,并进行吊装。
(6)混凝土浇筑:采用混凝土输送泵进行混凝土浇筑,确保混凝土质量。
(7)养护:混凝土浇筑完成后,进行养护,确保混凝土强度。
2. 施工要点(1)钻孔:采用长螺旋钻机进行钻孔,确保钻孔垂直、孔径符合设计要求。
钻孔过程中,严格控制钻进速度,防止孔壁坍塌。
(2)清孔:钻孔完成后,采用高压水枪进行清孔,清除孔底沉渣,确保孔底沉渣厚度不超过规定值。
(3)钢筋笼制作与吊装:钢筋笼制作应严格按照设计要求进行,确保钢筋笼的尺寸和形状符合设计要求。
吊装过程中,注意钢筋笼的平稳,防止变形。
(4)混凝土浇筑:混凝土浇筑前,对混凝土进行充分搅拌,确保混凝土质量。
螺纹挤密灌注桩施工方案1. 引言螺纹挤密灌注桩是一种常用于土木工程的基础施工技术,它通过挤压注浆的方式,在地下形成坚固的承载层,以支撑建筑物或其他重型结构。
本文档将详细介绍螺纹挤密灌注桩的施工方案,包括施工前的准备工作、施工过程的步骤以及施工后的注意事项。
2. 施工前准备在进行螺纹挤密灌注桩施工前,需要进行一系列的准备工作,以确保施工的顺利进行。
2.1 现场勘察与设计在施工前,需要对施工现场进行详细的勘察,并根据工程设计要求制定相应的施工方案。
勘察包括地质勘察和现场地形勘察,以确定桩基的位置、数量和设计要求。
2.2 材料采购与检验根据设计要求,采购符合规格的螺纹挤密灌注桩施工所需的材料,如钢筋、注浆材料等,并进行必要的材料检验,以确保材料的质量符合要求。
2.3 施工设备及人员组织确定施工所需的设备,如挤浆机、螺纹挤压桩机等,并安排合适的人员组织,包括施工人员、质量检验员和安全监督员等,以确保施工过程的安全和质量。
2.4 施工图纸制定根据设计要求,制定施工图纸,并进行相应的复核和校对,以确保施工的准确性和一致性。
3. 施工过程3.1 地面准备首先,需要对施工现场进行地面准备工作,包括清理垃圾、除草和平整地面。
同时,还需搭建施工现场临时设施,如施工棚和办公室等。
3.2 桩基定位根据施工图纸和勘察结果,在地面上标出桩基的位置和数量,并进行验收确认。
3.3 钢筋制作与安装根据设计要求,制作符合规格的钢筋骨架,并按设计要求进行安装。
其中,需要注意钢筋的排布、连接方式和钢筋与地面的嵌入深度等。
3.4 挤压注浆在钢筋安装完成后,使用螺纹挤压桩机将注浆材料挤压到地下,以形成桩体。
在挤压过程中,需要控制挤压速度和压力,并定期进行注浆质量检验。
3.5 后处理与固化在注浆完成后,对桩体进行后处理与固化。
包括修整桩顶、重复注浆以填实孔隙、桩顶保护等。
4. 施工后事项4.1 质量检验与验收在施工完成后,对施工质量进行检验,并进行质量验收。
长螺旋螺纹灌注桩技术标准一、桩的基本要求。
1. 桩径。
桩径得有个合适的大小呀。
就像是人的鞋子尺码得合适一样。
一般来说,根据不同的工程需求,会有规定好的桩径范围。
比如说,在一些小型的建筑工程中,可能桩径相对小一点,但也得满足基本的承载要求。
这个桩径可是关系到整根桩能承受多大压力的重要因素哦。
如果桩径太小,就像小细腿要支撑很重的东西,肯定不行啦。
2. 桩长。
桩长也是个关键。
它可不是随便定的,得根据地质情况来。
如果地下是软土层比较厚的话,那桩就得打得长一些,就像树根要扎得深才能稳住大树一样。
桩长的确定需要经过详细的地质勘察,这样才能保证桩能稳稳地扎在坚实的地层上,让建筑物稳稳当当的。
二、施工设备的要求。
1. 长螺旋钻机。
长螺旋钻机可是长螺旋螺纹灌注桩施工的主力军呢。
这个钻机得有足够的功率,就像人得有足够的力气干活一样。
功率不足的话,钻进速度慢不说,还可能在钻进过程中出现问题。
而且钻机的钻头也很重要,要锋利又耐磨。
就像刀得锋利才能切菜快一样,锋利的钻头能更顺利地钻进地层。
同时,钻头的形状也得适合不同的地质情况,比如在砂土层和黏土层,可能需要不同形状的钻头来提高钻进效率。
2. 混凝土灌注设备。
混凝土灌注设备也不能马虎。
它得能均匀地灌注混凝土,不能一会儿多一会儿少的。
如果灌注不均匀,桩身的质量就会受到影响。
这就好比做蛋糕,面糊得均匀地倒在模具里,不然蛋糕有的地方厚有的地方薄,就不好吃啦。
而且灌注设备的管道要畅通无阻,不能堵塞,就像人的血管一样,堵塞了就会出大问题。
三、施工工艺要求。
1. 钻孔。
钻孔的时候,要保持钻机的垂直。
这可不容易呢,就像让一个人站得笔直一样难。
如果钻机不垂直,那钻出来的孔就是歪的,桩也就跟着歪了。
这对桩的承载能力影响可大了。
而且在钻进过程中,要根据地层的变化调整钻进速度。
遇到软的地层可以快一点,遇到硬的地层就得慢一点,就像开车一样,路况不同速度就得变。
2. 钢筋笼制作与安装。
钢筋笼就像是桩的骨架一样。
灌注桩施工技术要点
灌注桩是一种常见的基础工程施工技术,它是通过将混凝土灌注到钻孔中形成的一种桩基。
灌注桩施工技术要点包括以下几个方面:
1. 钻孔施工
钻孔是灌注桩施工的第一步,它的质量直接影响到后续施工的质量。
钻孔的直径和深度应根据设计要求进行确定,钻孔的直径一般为0.6-1.2米,深度一般为10-30米。
在钻孔过程中,应注意控制钻孔的偏差和倾斜度,保证钻孔的垂直度和直径精度。
2. 钢筋加工和安装
钢筋是灌注桩的主要承载部分,其质量直接影响到灌注桩的强度和稳定性。
钢筋应按照设计要求进行加工和安装,钢筋的直径和间距应符合设计要求,钢筋的长度应留足余量,以便于后续的连接和加固。
3. 灌注混凝土
灌注混凝土是灌注桩施工的最后一步,其质量直接影响到灌注桩的强度和稳定性。
灌注混凝土应按照设计要求进行配合和搅拌,混凝土的强度等级应符合设计要求,混凝土的灌注应均匀、连续、充实,避免出现空洞和夹杂物。
4. 现场质量控制
现场质量控制是灌注桩施工的关键环节,其目的是保证施工质量符合设计要求。
现场质量控制应包括钻孔质量检查、钢筋加工和安装质量检查、混凝土配合和搅拌质量检查、灌注混凝土质量检查等方面。
同时,应加强现场安全管理,确保施工过程中不发生安全事故。
灌注桩施工技术要点包括钻孔施工、钢筋加工和安装、灌注混凝土和现场质量控制等方面,只有严格按照要求进行施工,才能保证灌注桩的质量和稳定性。
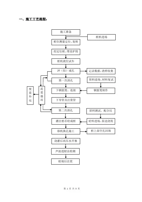
一、施工工艺流程:二、灌注桩施工控制要点:(1)钻孔灌注桩成孔用钻头直径应等于桩的设计直径,成孔施工应一次不间断地完成,不得无故停钻,成孔过程中的泥浆密度一般可控制在1.1~1.3g/cm3,若遇特殊地质,不易成孔时,应采用特制泥浆,确保成孔质量。
(2)每孔测量自然地面标高,钻孔深度达到持力层第○8层卵石层及终孔深度均应通知甲方、监理验收后,方可进入下一道工序,确保桩端进入持力层深度符合设计10m的要求;(3)清孔应分二次进行,第一次清孔在成孔完毕后立即进行,第二次清孔在下放钢筋笼和浇捣混凝土导管安装完毕后进行。
(4)二清后,孔底500mm以内的泥浆相对密度应小于1.25g/cm3。
含砂率不得大于8%,粘度不得大于28S;(5)二清结束后,孔内仍应保持足够的水头高度,并在30min内灌注混凝土。
若遇特殊情况超过30min,则应该在灌注混凝土前,重新测定沉淤厚度,若沉淤厚度超过50mm时,应重新清孔至符合要求。
(6)钢筋笼经中间验收合格后方可安装入孔,在起吊、运输和安装中应采取措施防止变形。
安装时,钢筋笼应保持垂直状态,对准孔位徐徐轻放,避免碰撞孔壁,下笼过程中,遇到阻碍,严禁强冲下放;应吊起查明原因处理后,再继续下笼。
(7)钢筋笼间的连接应重点检查焊缝长度、焊缝高度、饱满度等是否符合规范要求,任一焊接中心至钢筋35D且不少于500mm的区段内,同一钢筋不得有两个接头在该区段,有接头的受力钢筋截面积不得超过受力钢筋总面积的50%;机械连接重点检查套丝是否拧紧,安装时钢筋端头螺纹旋入螺套后,允许外露1~1.5牙。
钢筋笼安装位置确认符合要求后,应采取措施使钢筋笼定位,防止灌注混凝土时钢筋笼上拱,并应注意做好钢筋接头连接取样试验。
(8)超声检测管、注浆管应与钢筋笼可靠固定,D=600、D=800采用两管对称布置,D=900时采用三管正三角形对称布置,特别是空孔部位应固定牢固防止变形和移位。
(9)开始灌注砼时,导管底部至孔底的距离宜为300~500mm,首斗应有足够的混凝土储备量,导管一次埋入混凝土灌注面以下不应少于0.8m,混凝土灌注过程中,导管应始终埋在混凝土中,严禁将导管提出混凝土面。
螺旋钻孔灌注桩施工工艺引言螺旋钻孔灌注桩是一种常用的地基处理技术,适用于各类土层和地质条件。
它通过钻孔、注入浆液和填充灌注料来增加地基的承载能力和稳定性。
本文将介绍螺旋钻孔灌注桩的施工工艺,包括前期准备、钻孔、注浆、填料和灌注桩的成型。
通过遵循正确的施工工艺,可以确保桩基的质量和稳定性。
一、前期准备在进行螺旋钻孔灌注桩施工前,需要进行以下的前期准备工作:1. 桩基设计:根据工程要求和设计规范,确定灌注桩的类型、直径、长度和间距等参数。
2. 确定桩位:根据设计图纸和现场情况,标定桩位并进行测量和标志,确保桩位的准确性。
3. 地下设施检查:在施工前,需要对桩基附近的地下管线、电缆和其他地下设施进行检查,避免损坏。
4. 平整基础:在桩位上进行基础的清理和平整,以便后续施工。
二、钻孔在进行螺旋钻孔灌注桩的施工时,需要进行钻孔工作,以下是具体的步骤:1. 设置钻孔机:根据桩基设计要求,选择合适的钻孔机和螺旋钻具,并进行安装和调试。
2. 开始钻孔:将钻具插入土壤中,开始进行钻孔。
根据地层情况和设计要求确定钻孔的深度。
3. 钻孔过程中,需要不断排泥并保持良好的钻孔润滑,以提高钻孔效率。
4. 钻孔结束后,需要对孔内进行检查和清理,确保孔内没有杂物和障碍物。
三、注浆注浆是螺旋钻孔灌注桩中重要的一步,以下是具体的注浆工艺:1. 安装注浆管:在钻孔过程中,同时安装注浆管,管道与钻孔壁保持紧密联系。
2. 注浆液配制:根据设计要求和地层条件,配制合适的注浆液,包括水泥、砂浆和外加剂等。
3. 注浆方法:根据孔内情况和注浆液的特性,选择适当的注浆方法,可以采用一次注浆或多次注浆的方式。
4. 注浆压力和流量的控制:根据设计要求,控制注浆的压力和流量,确保注浆液均匀分布并充满整个孔洞。
四、填料在完成注浆后,需要进行填料工作,以下是具体的填料工艺:1. 材料选择:根据设计要求,选择适合的填充材料,如碎石、砂石或混凝土。
2. 填充过程:将选定的填充材料倒入孔洞中,并采取适当的振捣或压实措施,确保填充物牢固、均匀并与注浆液紧密结合。
大厂县鲍邱河褚各庄钢坝工程螺纹桩基专项施工方案施工单位:廊坊开发区中达水利工程机械有限公司工程名称:大厂县鲍邱河褚各庄钢坝工程项目负责人:苏新编制人:胡建辉编制日期: 2015 年 04 月 05 日161710.工期保证措施------------------------------------------------------ 17 目录1. --------------------------------------------------------------------------- 编制依据 12. --------------------------------------------------------------------------- 工程概况 12.1 施工现场概况 -- 2.2 工程施工重点、难点3. 施工组织机构与职责 -3.1 项目组织机构 3.2职责与权限4. 施工部署 ----4.1 施工顺序及部署安排 ---------------------------------------------------------- 4 4.2 工期计划安排 ---------------------------------------------------------------- 5 4.3 劳动力组织 ------------------------------------------------------------------ 55. ---------------------------------------------------------------------------------- 基础设施和工作环境 55.1 试化验委托计划 -------------------------------------------------------------- 5 5.2 施工用水、用电计划 ---------------------------------------------------------- 5 5.3 供应计划 -------------------------------------------------------------------- 66. 施工技术措施 -------------------------------------- 66.1 主要施工方法及施工工艺 ------------------------------------------------------ 6 6.2 消除质量通病措施 ------------------------------------------------------------ 97. 施工质量保证措施 ---------------------------------- 98.施工安全、环境卫生、文明施工措施 ------------------------- 138.1 施工安全 ------------------------------------------------------------------ 13 8.2 环境卫生 ------------------------------------------------------------------ 14 8.3 文明施工措施 --------------------------------------------------------------9.雨暑期施工安全技术措施 ------------------------------- 169.1 雨暑期施工技术措施 -------------------------------------------------------- 16 9.2 雨暑期施工安全措施 -------------------------------------------------------- 17 9.3 雨暑期施工后勤保障措施10.1 内部措施 ------------------------------------------------------------------ 17 10.2 外部措施 ------------------------------------------------------------------ 1811. 附表及附图 ------------------------------------- 19附表 1:劳动力组织安排表 ------------------------------------------------------- 19 附表 2 :机械设备投入计划表 ---------------------------------------------------- 21 附表 3 :劳保用品投入计划表 ---------------------------------------------------- 22附表 4 :主要计量设备表 -------------------------------------------------------- 231. 编制依据(1)主要规范、规程、标准,主要图集及法规2. 工程概况2.1工程建设概况大厂回族自治县隶属河北省廊坊市,位于北京东部,地处京津两大直辖市之间,本工程位于鲍邱河上,坝轴线位于鲍邱河与大香线交口上游40m处。
灌注桩大直径钢筋笼直螺纹套筒连接施工工法灌注桩钢筋笼直螺纹连接施工工法随着中国桥梁施工技术的飞速发展,桥梁的跨度越来越大,灌注桩的直径也随之增大,灌注桩钢筋笼所采用的钢筋直径和数量也随之增加。
在一些地质不良或地震多发地带,甚至需要配置双层钢筋笼才能满足受力要求。
这就对灌注桩成孔质量和钢筋笼加工质量、孔口连接速度提出了更高的要求。
针对以上特点,我公司承建的太原市学府景观桥工程采用剥肋直螺纹连接工艺施工。
同时使用钢筋笼加工模具,在保证施工质量和提高施工速度方面有了很大的进步,希望今后对于类似的工程施工能提供一定的经验。
本工法的主要特点是可以提高灌注桩钢筋笼的加工和安装速度,并可以很好的满足施工质量要求,在施工安全、环境保护和职业健康方面也存在较大优势。
本工法适用于钢筋笼长度大于9米,主筋直径大于16mm的灌注桩钢筋笼加工施工。
尤其适用于工期紧、施工在冬季气温低、钢筋笼主筋间距较小、主筋为双层主筋布置、液化砂层地质成孔后孔口接笼时间不易过长的施工环境下,效果十分显著!本工法主要是提出一种灌注桩钢筋笼剥肋直螺纹连接施工的模具。
该模具主要由作业平台、挡板、标准套筒杆、钢圈、立柱、横杆和卡具组成。
其主要作用是在理想的灌注桩钢筋笼空间模型中,将各钢筋关键位置均设置了约束点。
在灌注桩钢筋笼加工过程中,只要操作者按照工艺流程的步骤依次在各约束点装入相应的钢筋,然后焊接固定即可,而此过程却不需要任何测量工具就确保了钢筋的位置。
将繁琐的施工过程转变成了标准化的流程,降低了操作的难度。
施工工艺流程及操作要点:1.钢筋笼加工流程:钢筋笼托架制作、安装下方3根主筋、钢筋下料、焊接加劲箍安装立柱和横杆。
2.操作要点:2.1 施工准备2.1.1 制作钢筋笼模具本工法的优点在于可以提高灌注桩钢筋笼的加工和安装速度,并且可以满足施工质量要求,在施工安全、环境保护和职业健康方面也存在较大优势。
适用于钢筋笼长度大于9米,主筋直径大于16mm的灌注桩钢筋笼加工施工。
全螺纹灌注桩的施工要点全螺纹灌注桩是一种常见的地基处理方法,它在各种土质环境下都有良好的适用性。
其施工过程中需要注意以下要点:1. 桩机的选择和调试全螺纹灌注桩施工需要使用桩机进行钻孔和灌注,因此桩机的选择和调试是前期准备工作中非常关键的一步。
选择桩机时需根据工程要求和实际情况综合考虑,包括桩的直径、深度、桩重、周围环境等因素。
同时,在使用桩机前需要对桩机进行调试,确保其稳定性、精度和安全性。
2. 钻孔施工钻孔是全螺纹灌注桩施工的第一步,也是影响灌注效果的关键步骤。
具体操作流程如下:2.1 确定钻孔位置和深度在对场地进行勘测后,根据设计图纸确定钻孔位置和深度。
同时,需要注意设备的安全距离和周围环境的影响。
2.2 钻孔准备工作钻孔前需将桩机移至钻孔位置,并进行调试和固定。
同时,应使用适当的钻头和辅助设备,为钻孔做好准备。
2.3 钻孔过程控制在钻孔过程中,应注意控制钻孔进度、钻头的状态和孔壁支撑情况。
同时,需定期对钻孔进行清理和检查,确保钻孔质量。
3. 灌注混凝土灌注混凝土是全螺纹灌注桩的最后一步,也是保证桩基质量的关键步骤。
具体操作流程如下:3.1 灌注前准备在灌注混凝土前,需对钻孔进行湿润处理,并在中空钻杆内安装铁管或塑料管,以便于将混凝土灌注至孔底。
3.2 灌注过程控制在灌注混凝土时,需注意浆液的流动性、固化时间和配合比,以及出料口的控制和填充顺序。
同时,在灌注过程中要定期进行振捣和抽气,促进混凝土的均匀分布和密实固化。
3.3 灌注后处理在灌注混凝土后,应及时对出料口进行封堵,并对现场环境进行清理。
同时,需定期进行桩身检查和质量验收,确保全螺纹灌注桩的施工质量和安全性。
全螺纹灌注桩是一种非常重要的地基处理方法,其施工过程中需要注意以上要点,以确保施工质量和工程安全。
同时,在全螺纹灌注桩的施工过程中,还需严格按照国家相关标准和规范进行操作和验收。
灌注桩施工要点及注意事项灌注桩是一种常用的地基处理方式,用于加固土壤和支撑结构。
在施工过程中,需要注意一系列要点和注意事项,以确保施工质量和安全。
下面将详细介绍灌注桩施工的要点和注意事项。
灌注桩施工要点:1. 岩土勘察:在进行灌注桩施工之前,需要对施工地点的岩土情况进行详细勘察。
通过勘察结果可以确定桩的设计参数,包括桩的直径、长度、灌注深度等。
2. 桩基定位:在进行桩基定位时,需要依据设计要求和勘察结果进行精确定位,确保桩基的位置准确无误。
3. 桩基钻孔:进行桩基钻孔时,需要选择合适的钻孔设备和工艺,确保钻孔的直径和深度符合设计要求。
4. 钢筋笼制作:在进行钢筋笼制作时,需要严格按照设计要求制作,确保钢筋的质量和数量符合要求。
5. 灌浆材料选择:选择合适的灌浆材料,确保灌浆质量和强度符合要求。
6. 灌注浆液:灌注浆液时需要控制好浆液的流量和压力,确保浆液填充均匀,灌注质量稳定。
7. 桩基标高控制:在进行桩基施工时,需要严格控制桩基的标高,确保桩基的高度符合设计要求。
8. 环境保护:在施工过程中需要注意环境保护,防止浆液污染土壤和水源。
灌注桩施工注意事项:1. 安全第一:在进行灌注桩施工时,需要严格遵守安全操作规程,做好施工现场的安全防护工作。
2. 施工质量:保证施工质量是灌注桩施工的关键,需要严格按照设计要求和规范进行施工,确保桩基的质量和稳定性。
3. 施工进度:控制好施工进度,合理安排施工计划,确保施工按时完成。
4. 材料选择:选择质量可靠的材料进行施工,确保材料的质量符合要求。
5. 施工现场管理:做好施工现场的管理工作,确保施工现场整洁有序,杜绝事故发生。
6. 随机检查:对施工过程进行随机检查,及时发现和解决施工中的问题,确保施工质量和进度。
7. 环保措施:在施工现场进行环保措施,防止施工对环境造成污染。
总之,灌注桩施工是一项复杂的工程,需要严格按照要点和注意事项进行施工,确保施工质量和安全。
冲孔灌注桩、旋挖桩质量监理控制要点冲孔灌注桩质量监理控制要点1、成孔质量控制桩位控制影响桩位偏差的因素较多,比如测量放线的误差、桩机对位不准确、护筒埋设的偏差、孔斜造成的偏差等,因此必须将每一个施工环节的偏差控制在最小范围内,严格按照质量检验标准对每道工序每个环节进行检查验收。
由于个体桩位放样是随着施工进度阶段性进行的,监理工程师应在每个桩施工前进行检查验收,复核无误方可进行打桩机就位和护筒埋设,冲孔前应复测护筒中心位置。
桩径及垂直度控制桩径控制通过钻头直径、制作钢筋笼检孔器、充盈系数等方面进行。
垂直度控制通过控制桩架垂直度、制作钢筋笼检孔器、钢筋笼下放程序进行。
孔深、孔底沉渣质量控制在工程实际操作中,重锤测量法因其简单、容易操作的特点,广泛用于检查孔深和孔底沉渣厚度。
孔底沉渣厚度的检查方法(示例):测锤为锥形锤,锤底直径约15cm,高度约22cm,重约5kg。
在测量沉渣时,先用一个锤底朝下的测锤慢慢沉入孔底,凭手感判断沉渣的顶面位置并记录下测绳上的读数h;再用一个锥尖朝下的测锤慢慢沉入孔底,凭手感判断穿过沉渣层直达孔底硬土层,记录下测绳上的读数H;计算出沉渣厚度为H-h。
泥浆质量控制泥浆护壁冲孔灌注桩中,泥浆起到保护孔壁、排渣、清孔、冷却钻头的作用,着重从以下几个方面进行控制:①建立泥浆循环系统,建造制浆池、沉淀池,对泥浆进行循环利用,防止泥浆乱排乱放。
②应选高塑性用黏土或膨润土制造泥浆,结合穿越土层情况确定配合比。
③施工过程中,应始终保证护筒内的泥浆面高于地下水位1m以上,受水位涨落影响时,应高出最高水位1.5m以上。
④在冲孔过程中不断向孔内添加新鲜泥浆。
要求每钻进4m~5m进行验孔取岩样,结合地勘报告判定土层情况,在不同土层采取不同的泥浆比重,如遇流砂、松散土层及轻度坍塌时适当加大泥浆密度。
⑤在清孔时,应不断置换泥浆,直至浇筑混凝土。
终孔质量控制在成孔结束后终孔前,应进行桩孔质量检查,包括桩位、桩径、垂直度等内容,当达到设计文件要求的终孔条件后进行终孔验收。
螺纹挤密灌注桩施工方案一、材料采购与检验采购符合设计要求的螺纹钢、水泥、砂、石等原材料,并确保供应稳定。
对所有进场的原材料进行质量检验,确保符合国家相关标准。
对不合格的材料进行退货处理,并做好记录,防止再次采购。
二、施工设备与人员组织根据施工需要,合理配置施工设备,如螺旋钻机、混凝土输送泵等。
组建专业施工队伍,进行技能培训,确保施工质量。
定期对设备进行维护和保养,确保设备在施工过程中的正常运行。
三、施工图纸设计与复核委托专业机构进行施工图纸设计,确保设计合理、符合规范。
对施工图纸进行复核,确保设计无误,满足施工要求。
四、施工现场准备对施工现场进行勘察,了解地质条件、周围环境等。
清理施工现场,确保施工环境整洁。
搭建临时设施,如办公区、材料堆放区等。
五、桩基位置与数量确定根据施工图纸,确定桩基的位置和数量。
使用定位仪器进行定位,确保桩基位置准确。
六、钢筋骨架制作与安装按照设计要求制作钢筋骨架,确保钢筋规格、数量、间距等符合规范。
对钢筋骨架进行质量检验,确保质量合格。
在施工现场进行钢筋骨架的安装,确保安装位置准确、牢固。
七、桩体形成与挤压使用螺旋钻机进行钻孔,确保孔径、孔深符合设计要求。
在钻孔过程中进行挤压,使土壤密实,提高桩基承载力。
八、灌注混凝土成桩按照设计要求配制混凝土,确保混凝土强度等级符合要求。
使用混凝土输送泵进行灌注,确保灌注过程连续、均匀。
对成桩进行质量检验,确保桩身完整、无缺陷。
九、设备调试与安全保障在施工前对设备进行调试,确保设备性能良好。
制定安全施工方案,加强现场安全管理,确保施工过程中无安全事故发生。
十、钻孔过程控制严格控制钻孔速度、进尺等参数,确保钻孔质量。
定期对钻孔设备进行检查和维护,确保设备性能稳定。
十一、扩底处理与加固对需要扩底的桩基进行扩底处理,提高桩基承载力。
对桩基进行加固处理,如注浆、加设钢筋等,确保桩基稳定。
十二、桩身固定与混凝土灌注在桩身安装完毕后进行固定,确保桩身稳定、不位移。
一、长螺旋钻孔混凝土灌注桩(试桩)(一)、试桩目的通过试桩还可以验证桩基施工工艺、注浆工艺和打桩钻孔机具是否合理,以及拌和站混凝土的供应能力,以便在施工中加以改进。
试桩检验和确定本桩基础的施工工艺,包括泥浆配方、钻进工艺、清孔效果以及成桩后质量等.成孔后继续进行注浆工艺试验以确定注浆工艺流程、浆液配方、注浆压力等有关要素,并在注浆后进行承载力试验。
试桩应取得的具体指标:1、对不同地质状况的机具选型。
2、钻进时的参数:进尺、钻压、泥浆性能等。
3、灌注前二次清孔后的泥浆指标及清孔方法。
4、成孔质量控制的措施(孔径、倾斜度、中心偏位等)。
5、地基承载力的检测。
6、为设计提供实际地质情况、优化设计.(二)施工工艺流程1、打桩顺序打桩采用间隔打桩法,先打工程桩、在打锚桩.2、测量定位及复检测量人员根据基线控制点和高程点、桩位平面图及现场基准水准点,使用全站仪测定桩位,并打入明显标记,桩位放线应确保准确无误,定位精度为1cm。
经过监理复核后方可开钻。
基点应做特殊专门保护,不得损坏.3、钻机就位钻进钻机就位时底座必须保持平稳,不发生倾斜移位,钻头中心采用Φ1100mm 桩定位器对准桩位,定位误差不大于20mm。
垂直度采用钻机自身的垂直检测装置控制,并辅以人工量测倾斜量。
孔斜采用自制孔规进行测量,桩垂直度≤1%桩长。
钻进深度采用操作室液晶显示器控制,并辅以人工测量孔深.孔深以超过设计深度30cm为准,并及时通知监理人员进行验证。
4、钻孔钻机对位应以四角桩控制,钻头对准十字线交点,符合要求后开始钻进.(1)在施工时,要慢速运转,掌握地层对钻机的影响情况,以确定在该地层条件下的最优钻进参数。
为工程桩的施工提供依据。
(2)在钻进过程中,不可进尺太快,由于桩径较小,为方便钻头出泥,每次进尺应在50cm左右.(3)在钻进过程中,要经常检查钻斗尺寸。
(4)钻进过程中应注意观察岩性变化,做好施工记录,确保桩端进入持力层满足设计要求.施工过程中如发现地质情况与原钻探资料不符应立即通知相关等部门及时处理。
螺旋灌注桩施工方案螺旋灌注桩施工方案一、工程概述:本工程为螺旋灌注桩施工,旨在加固地基基础,保证工程的稳定性和安全性。
施工范围为建筑物的基础部分,共涉及X个灌注桩。
二、施工准备:1. 确定施工位置:根据工程设计要求和现场情况,确定每个灌注桩的位置及深度。
2. 拆除、清理工地:清理场地上的杂物、破坏物,并清除场地上的水泥块和碎石,确保施工区域的整洁和平整。
3. 测量标定:使用测量工具和设备,对每个灌注桩的位置进行测量标定,并打桩进行固定。
三、材料准备:1. 钢筋:根据设计要求,准备符合规格和质量要求的钢筋。
2. 螺旋灌注桩材料:准备符合质量标准的螺旋灌注桩材料,包括螺旋灌注桩管和桩头。
3. 混凝土:准备符合标准的混凝土原材料,并按设计比例进行配制。
四、施工步骤:1. 钢筋加工:根据设计要求,对钢筋进行切割、弯曲和焊接,制作成预制钢筋笼。
2. 灌注桩管安装:将预制的钢筋笼插入螺旋灌注桩管内,将管子与地面垂直固定,并使用支撑架进行支撑。
3. 钻孔开挖:使用钻机,按照设计要求,开挖孔径和深度。
4. 灌注桩混凝土注入:将配制好的混凝土通过输送管进入桩孔,同时使用振动棒进行振捣,确保混凝土充实。
5. 桩头安装:将预制的桩头安装在灌注桩顶部,并与桩管焊接固定。
6. 后续处理:待混凝土充分凝固后,进行混凝土表面的养护和防止风化。
五、施工方法与要点:1. 灌注桩管的安装和固定必须牢固,确保其与地面垂直。
2. 钻孔开挖过程中,必须避免倾斜和突变,保持孔径和深度的一致性。
3. 混凝土灌注过程中,应控制流量和速度,以确保充实度和密实度。
4. 在安装桩头前,必须确保混凝土充分凝固,避免其移位或变形。
5. 施工过程中,要定期检查和测试灌注桩的质量和强度,确保其符合设计要求。
六、安全措施:1. 施工现场必须设置明显的安全警示标志,禁止无关人员进入施工区域。
2. 操作人员必须佩戴好安全帽、手套等个人防护装备,并接受相关安全培训。
全螺纹灌注桩的施工要点- 结构理论
基于专利工艺自身特点,介绍了全螺纹灌注桩的施工要点,为该新型桩基工艺的应用和发展提供了可以借鉴的依据。
【关键词】全螺纹灌注桩;施工工艺;质量控制
1 工艺简介
全螺纹灌注桩为一种新型桩基工艺,简称“螺纹桩”又称“螺丝桩”或“螺杆桩”,是用带有自控装置的螺纹桩桩机,特制的螺纹钻杆钻进至设计深度,提升的同时灌注混凝土,从而在土体中形成带螺纹的桩体。
该工艺综合了
长螺纹灌注桩和钢纤维混凝土全螺纹预制桩的优点,与传统的混凝土灌注桩(钻孔灌注桩及夯扩桩)相比较桩身质量可靠、噪音小、环境污染少,且不易出现缩径、断桩等质量问题;与预制桩相比较,制作工艺简单,工程
造价低。
全螺纹灌注桩适用于粉土、粘土、粉质粘土等均匀或软硬交互的土层,以及中细沙和粒径小于20mm的卵砾石层、黄土、膨胀土、残积土、回填土、强风化岩等其它可形成桩孔的岩土层,且不受地下水位的限制。
一般
可用于建(构)筑物抗压桩、抗拔桩、水平受荷桩、复合受荷桩,还
可根据桩体材料的变化,形成CFG桩(带螺纹)、钻孔压浆桩(带螺纹)以及相应由全螺纹桩组合的复合地基。
2 质量控制要点
通过多项该工艺工程的施工,该施工工艺质量控制要点简要总结如下:
1、设备及工艺
该工艺的特点就在于桩身带有螺纹,为使桩身形成较为理想的螺纹,在下钻(提钻)过程中,必须严格控制螺纹钻杆的下降(提升)速度和纹转速度,使二者同步,即螺纹钻杆纹转一圈的同时下降(提升)一个螺距。
拥有专利的全螺纹桩机本身带有自控装置,但由于各地区场地地层情况不同,每一工程施工前应打试孔进行调试。
由于该工艺的这一特点,桩机操作人员应根据钻杆的提升速度来控制混凝土的泵送量及速度,保证孔内混凝
土始终处于压灌状态,若混凝土泵送速度过慢易导致缩径甚至断桩,泵送量过大易造成泵送管路堵塞或充盈系数过大。
2、桩位及施工顺序
以成桩方法的分类来讲,此桩型属挤土桩,施工过程种应充分考虑对未施工桩位及已施工桩的影响。
为保证桩位的准确性,在施放桩位验收合格后,应引测控制桩,施工过程中及时校核桩位。
施工顺序应从建筑物的中
间向外围施工,并根据场地的具体情况看是否需要跳打,一般来讲,土层较软弱时所需的施工间距要大一些。
3、桩机就位:
桩机就位时钻头中心对准桩位点,桩机底座支放水平,桩机立杆及钻具垂直。
钻杆、钻具垂直入土(根据桩机立杆上的指针控制垂直度),入土时活门挡板应闭好,防止下钻时进水或进泥土,以免提钻泵送混凝土时钻
头堵塞。
4、制备、压灌混凝土
制备和压灌混凝土是成桩施工的关键,施工前应按设计要求进行混凝土配合比试验,混凝土制作严格按照配合比执行。
如需现场搅拌,需使用强制式搅拌机进行拌制,并严格控制水泥、砂、石子、粉煤灰、外加剂等原
材料的质量及数量。
施工过程中要随机抽检搅拌混凝土时各种原材料的使用数量,严格控制混凝土的和易性及坍落度,因为该工艺为管内泵压混凝土成桩,对混凝土质量要求较高:坍落度太大、和易性较差时,易产生泌
水、离析,在泵压作用下骨料与砂浆分离,导致堵管,即使能成桩,桩顶浮浆易过多,桩体混凝土强度会降低,桩顶混凝土质量难以保证;坍落度太小、和易性较差时,混凝土流动性差,也容易造成堵管,即使能成桩,桩
身混凝土密实较差,难以保证桩身混凝土的质量。
若采用商品混凝土,首先应选择合格的商品混凝土供应商,共同明确出厂混凝土和进场混凝土的验收标准和验收办法。
每车商品混凝土进场后,应先快速搅拌3~5min,然
后对混凝土质量进行检验,主要检查混凝土的坍落度、和易性,并要求司机提供发货单和混凝土实际配合比清单,以检查混凝土的实际配合比、搅拌时间和运输时间。
采用商品混凝土,其供应量应与现场的灌注速度相适
应,混凝土的进场时间间隔应大致均匀,避免在较短时间全部混凝土进场或长时间没有混凝土进场的问题出现。
当施工钻进至设计桩底标高开始提钻时,要准确把握泵送混凝土的时间,前面提到由于该工艺自身的特点,钻机下钻和提钻的速度是确定的,只能据此来控制泵送混凝土的时间。
一般来讲,自桩底标高
提钻30~50cm
时开始泵送混凝土较为合适,若泵送混凝土过早,则钻头挡板活门不易打开,易造成钻头或管路堵塞;泵送过晚,易造成桩端存在缩孔的虚土或桩端混凝土离析,均会造成桩端承载力减小。
在提钻过程中,应连续泵送混凝
土且孔内混凝土应始终处于压灌状态,若混凝土泵送速度过慢易造成缩径甚至断桩,泵送量过大易造成输送管路堵塞或充盈系数过大。
特别是在饱和砂土、粉土土层中,不得停泵待料,以免造成混凝土离析或桩身缩径甚至
断桩。
若基桩需要下插钢筋笼,混凝土一般灌注至地面下300mm左右,若灌注紧满足桩顶混凝土保护层厚度要求,提钻至地面后空孔易缩孔、积土,无法下插钢筋笼或难以保证桩身混凝土质量;灌料过多又会导致材料的
浪费。
即使不需下插钢筋笼,施工桩顶标高亦应比设计标高高,一般高出1.0~1.5m较为适宜,此保护桩长的设置基于以下几个因素:1、成桩时桩顶不可能与设计标高完全一致,一般要高出桩顶设计标高一段距离;2、桩
顶一般由于混凝土自重压力较小,该工艺要求的混凝土坍落度又较大,受浮浆影响,桩顶一段桩体混凝土强度较差,难以保证满足设计要求;3、已打桩尚未结硬时,施打新桩可能导致已打桩受振动挤压,再加上设备对场
地碾压,会导致混凝土上涌使桩径缩小。
设置足够长的保护桩长长度
即增加了混凝土自重压力,可提高抵抗周围土挤压的能力,保证桩顶混凝土的质量。
5、钢筋笼制作及下插
钢筋笼制作人员须持有电焊工上岗证,严格按照设计及《钢筋焊接及验收规程》(JGJ18-96)要求制作。
由于该工艺桩身形状的特殊性,相对于传统的灌注桩,钢筋笼外径较小,制作时应严格控制外径尺寸及钢筋笼
的直度。
混凝土压灌至施工标高,移开钻具后应立即吊放钢筋笼入孔,钢筋笼入孔时要垂直,用人力将钢筋笼下插至设计标高(一般用辅助的叉子和水准仪来控制钢筋笼的标高)。
由于混凝土的坍落度较大,下插至设计标
高后,在钢筋笼两侧应用铁丝加以固定,防止其下坠。
6、成品保护
桩基施工完成后,对施工现场应进行封闭,防止重型车辆对桩头碾压,以免对桩头质量造成影响。
基坑开挖时应提醒和监督建设、施工单位,尽量避免采用机械开挖,以免造成断桩造成不必要的麻烦和损失。
3 结束语
从静载实验和工程实践来看,螺纹桩不仅有效地提高了桩的承载力,还具有施工工艺简单,施工速度快,成桩质量好,施工产生的震动、噪音及环境污染很小,用料少,承载力高等特点。
全螺纹桩已在工程实际中得到
应用,并在此基础上有发展出多种类型的复合地基处理方式。
由于螺纹桩是一种新型桩,受限于当前设备制造水平等限制,目前国内最大直径可做到800mm,大部分做到400mm和500mm,深度最大达到30m左右,这些
在一定程度上影响了在工程实践中的使用,但并不妨碍其成为一种极具竞争力的桩型。
从国家产业发展方向来看,符合绿色环保的理念,应大力提倡。
同时应积累各种相关资料,为今后的规程编制和确定计算模型提供翔实
的资料,加快这项新技术的应用和发展。
参考文献
[1]李波扬,吴敏:一种新型的全螺纹灌注桩—螺纹桩,《建筑结构》〔2004.8〕
[2]建筑地基基础设计规范〔GB50007-2002〕
[3]建筑桩基技术规范〔JGJ94-2008〕;
[4]建筑地基处理技术规范〔JGJ79-2002〕;
[5]全螺纹灌注桩技术规定(企业标准)〔SQQBJI-2003GI〕。